Устройство монолитных железобетонных конструкций

  • Вид работы:
    Курсовая работа (т)
  • Предмет:
    Строительство
  • Язык:
    Русский
    ,
    Формат файла:
    MS Word
    717,12 Кб
  • Опубликовано:
    2013-10-18
Вы можете узнать стоимость помощи в написании студенческой работы.
Помощь в написании работы, которую точно примут!

Устройство монолитных железобетонных конструкций

Оглавление

Введение    3

1.      Проектирование состава бетона    5

1.1    Теоретические основы проектирования состава бетона    5

1.2    Расчет ориентировочного состава бетона.      7

1.3    Корректирование состава бетона с учетом влажности заполнителей 10

1.4    Подбор состава бетона химическими добавками     11

2.      Технология монолитного и приобъектного бетонирования       14

2.1    Технология возведения монолитных конструкций  14

2.1.1 Опалубочные работы  14

2.1.2 Арматурные работы   15

2.1.3 Бетонирование конструкции          16

2.1.4 Технологические схемы производства работ  20

2.2    Определение трудоёмкости, механоёмкости производства монолитных бетонных работ         1

2.2.1 Калькуляция затрат    1

2.2.2 Расчет технических параметров крана   1

2.2.3 Выбор технологической оснастки 3

3.      Интенсификация бетонных работ при отрицательной температуре    4

3.1    Выбор метода    4

3.2    Технологические расчёты    5

3.2.1 Предварительный электроразогрев бетонной смеси с последующим термосным твердением конструкции      5

3.2.2 Метод «термоса»         9

4.      Статистический контроль прочности бетона   17

4.1    Анализ прочности изделий в партии.     17

4.2    Оценка достоверности повышения прочности бетона при применении разного вида заполнителей      18

4.3    Оценка изменчивости прочности легкого и тяжелого бетона     20

4.4    Определение количества образцов (наблюдений)    21

4.5    Статистическая обработка результатов испытаний бетона на сжатие 22

5.      Охрана труда и техника безопасности в технологии производства железобетонных изделий      25

Приложение А    30

Литература         31

Введение


Основным направлением развития массового жилищного строительства является сборное, панельное домостроение. Однако более 35% объемов жилищного строительства осуществляется еще недостаточно индустриальными методами. Поэтому индустриальные методы монолитного домостроения рассматриваются как резерв повышения общего уровня дальнейшей индустриализации строительства. Производственный эксперимент по применению различных конструктивно-технологических методов монолитного домостроения позволил сформировать теоретические основы рациональных сфер применения монолитного бетона, технических решений конструкций зданий и опалубок, а также разработать ряд нормативных и методических документов по проектированию, строительству и сравнительной технико-экономической оценке гражданских зданий из монолитного бетона.

Возведенные жилые и гражданские здания, как правило отличавшиеся высоким качеством архитектурных решений. Наибольшее распространение по Беларуси монолитное домостроение получило в Минске. Анализ показал, что монолитное домостроение по большинству технико-экономических показателей имеет преимущества по сравнению с кирпичным домостроением, а в ряде случаев и с крупнопанельным: единовременные затраты на создание производственной базы меньше, чем в кирпичном на 35% и чем в крупнопанельном на 40-45%; расход стали в конструкциях снижается на 7-25% по сравнению с крупнопанельным (экономия увеличивается по мере повышения этажности); расход стали на опалубку с учетом оборачиваемости форм снижается на 1,5 кг на 1м2 общей площади в сборных конструкциях до 1 кг в монолитных. Энергетические затраты на изготовление и возведение монолитных конструкций уменьшается на 25-35% по сравнению со сборными и кирпичными: трудовые затраты снижаются в среднем на 25-30%, а продолжительность строительства сокращается на 10-15% по сравнению с кирпичным. Стоимость строительства с учетом зданий по этажности, архитектурно-планировочным решением и действующих чем на материалы и конструкции в среднем на 10% ниже, чем кирпичного, и на 5%, чем крупнопанельного.

К достоинствам монолитного домостроения следует также отнести возможность с минимальными затратами получить разнообразные объемопространственные решения, повысить эксплуатационные качества зданий. При этом сокращается инвестиционный цикл (проектирование зданий и производственной базы - создание базы - строительства).

Недостатками монолитного домостроения являются более высокая по сравнению с крупнопанельным продолжительность строительства (20%) и трудоемкость на строительной площадке (25-30%) при одинаковых показателях суммарных трудовых затрат, удорожание бетонных работ при отрицательных температурах.

1. 
Проектирование состава бетона


1.1 Теоретические основы проектирования состава бетона

монолитная железобетонная конструкция арматурная

Подбор состава бетона следует производить в соответствии с требованиями СТБ 1182-99 [1] с целью получения бетона в конструкциях с прочностью и другими показателями качества, установленными государственными стандартами, техническими условиями или проектной документацией на эти конструкции, при минимальном расходе цемента или другого вяжущего.

Подбор состава бетона включает: определение номинального состава, расчет и корректировку рабочего состава, расчет и передачу в производство рабочих дозировок.

Подбор номинального состава бетона производят при организации производства новых видов конструкций, изменении нормируемых показателей качества бетона или бетонной смеси, технологии производства, поставщиков, вида или марок применяемых материалов, а также при разработке и пересмотре производственных норм расхода материалов.

Рабочие составы бетона назначают при переходе на новый номинальный состав и далее при поступлении новых партий материалов тех же видов и марок, которые принимались при подборе номинального состава, с учетом их фактического качества. При назначении рабочих составов их проверяют в лабораторных или производственных условиях.

В дальнейшем по результатам операционного контроля качества материалов данных партий и получаемой из них бетонной смеси, а также приемочного контроля качества бетона производят корректировку рабочих составов.Рабочую дозировку назначают по рабочему составу бетонной смеси с учетом объема приготовляемого замеса.

Подбор состава бетона должен выполняться лабораторией предприятия-изготовителя бетонной смеси по утвержденному заданию, разработанному технологической службой этого предприятия.

Результаты подбора номинального состава бетона, отвечающего требованиям утвержденного задания, должны быть оформлены в журнале подбора состава бетона и утверждены главным инженером предприятия-изготовителя бетонной смеси. Рабочие составы и дозировки подписываются начальником лаборатории или другим лицом, ответственным за подбор состава бетона.

Задание, журнал подбора номинального состава бетона, ведомости рабочих составов и листы рабочих дозировок вместе с дубликатами документов о качестве на соответствующие партии бетонной смеси или конструкций следует хранить на предприятии-изготовителе.

Подбор номинального состава бетона производят по следующим этапам:

· выбор и определение характеристик исходных материалов для бетона;

·        расчет начального состава;

·        расчет дополнительных составов бетона с параметрами составов, отличающихся от принятых в начальном составе в большую и меньшую сторону;

·        изготовление пробных замесов начального и дополнительных составов, отбор проб, испытание бетонной смеси, изготовление образцов и их испытание по всем нормируемым показателям качества;

·        обработка полученных результатов с установлением зависимостей, отражающих влияние параметров состава на нормируемые показатели качества бетонной смеси и бетона и предназначенных для назначения номинального, а также назначения и корректировки рабочих составов бетона;

·        назначение номинального состава бетона, обеспечивающего получение бетонной смеси и бетона требуемого качества при минимальном расходе вяжущего [1].

1.2 Расчет ориентировочного состава бетона


Исходные данные для проектирования состава бетонной смеси:

Тяжелый бетон М200; ρб=2440 кг/м3

Фракция 5-20мм;

ОК=1-4 см;

Качество заполнителей среднее;

Песок: ρН=1500 кг/м3; ρИ=2500 кг/м3;

Цемент: ρН=1100 кг/м3; ρИ=3100 кг/м3;

Щебень: ρН=1600 кг/м3; ρИ=2700 кг/м3;ц=42 МПа; Rb=20 МПа; Мк=1,4 мм.

Расчет состава бетона выполняют в следующей последовательности:

1. Определяют водоцементное отношение В/Ц - отношение массы воды к массе цемента из условий получения требуемого класса бетона в зависимости от активности цемента и качества материалов по формулам:

 при В/Ц0,4 (1);

 при В/Ц0,4 (2),

где А1 и A2 - коэффициенты, учитывающие качество материалов (А1=0,60); Rц - активность цемента, МПа; Rb - предел прочности бетона на сжатие, МПа.

=0,61

2. Определяют расход воды В, кг/м3, в зависимости от удобоукладываемости бетонной смеси, вида и крупности заполнителя ориентировочно или на основании предварительных испытаний В=190 кг/м3.

3. Определяют расход цемента Ц, кг/м3, по известному В/Ц и водопотребности бетонной смеси:

 (2.3)

где В=190 кг/м3 - расход воды; В/Ц - отношение массы воды к массе цемента.

Нормы расхода цемента не должны превышать типовые по СНиП 5.01.23-83. Для неармированных сборных изделий минимальная норма расхода цемента должна быть не менее 200 кг/м3, для железобетонных изделий - не менее 220 кг/м3.

 кг.

4. Определяют расход крупного заполнителя Щ, кг/м3, по формуле:

, (4)

где VПУСТ - пустотность щебня в рыхлонасыпанном состоянии, подставляется в формулу в виде коэффициента, определяемого по формуле (5); рн.щ - насыпная плотность щебня , кг/м3; rщ - истинная плотность щебня , кг/м3; a - коэффициент раздвижки зерен щебня.

, (5)

.

 кг.

5. Определяют расход песка П, кг/м3, по формуле:

, (6)

где Ц, В, Щ- расход цемента, воды, щебня в килограммах на 1 м3 бетонной смеси; rц, rв, rщ, rп - истинная плотность материалов, кг/м3.

 кг.

В результате проведенных расчетов получаем следующий ориентировочный номинальный состав бетона, кг/м3:

Цемент…..........................................................311 кг;

Вода………......................................................190 кг;

Песок…………………………………………482 кг;

Щебень……………………………………….1395 кг.

Плотность бетона:  кг/м3.

6. Корректировка плотности бетона.

Для получения проектной плотности бетона, сохраняя водоцементное отношение, увеличиваем расход щебня до 1441 кг, песка до 498 кг.

В итоге получаем:

Цемент…..........................................................311 кг;

Вода………......................................................190 кг;

Песок…………………………………………498 кг;

Щебень……………………………………….1441 кг.

Плотность бетона:  кг/м3.

1.3
Корректирование состава бетона с учетом влажности заполнителей


Влажность заполнителей составляет:

·      песка     3%;

·        щебня        4%.

Содержание воды в щебне:

;  кг.

Содержание воды в песке:

;  кг.

Необходимое количество воды затворения:

; кг.

Содержание воды в заполнителях не является избыточным, по сему необходимости в их подсушки нету.

Итого:

Цемент…..........................................................311 кг;

Вода………......................................................117,5 кг;

Песок 4988……………………………..512,9 кг;

Щебень1441………...…………………1498,6 кг.

Плотность бетона:  кг/м3.

1.4 Подбор состава бетона химическими добавками


Бетоны с противоморозными химическими добавками целесообразно применять до расчетной температуры твердения бетона -25°С. Количество безводной добавки в процентах по массе цемента применяют в соответствии с руководством, но с учетом максимального количества не более 3-5% по массе цемента [2, с. 142].

Требуется определить состав бетона класса В15 с добавкой нитрит-нитрат-хлорид кальция (ННХК). Температура наружного воздуха -25°С, скорость ветра 10м/с, расход стали 120 к/м3. Состав бетона в летних условиях в расчете на 1 м3:

Цемент       311 кг/м3;

Вода 190 кг/м3;

Песок         498 кг/м3;

Щебень      1441 кг/м3;

Осадка конуса    1-4 см.

. Согласно данным таблицы 6.5 [2, с. 142] при указанных исходных данных и использовании не отогретых заполнителей количество добавки ННХК должно составлять 4% от массы цемента или (311×0,04)=12,44 кг при максимальной концентрацией.

. Согласно таблице 6.7 [2, с. 145] один литр 24% концентрации раствора ННХК с плотностью r=1,210 г/см3 содержит 0,290 кг соли. Для обеспечения в бетоне требуемого количества добавки необходимо следующее количество концентрированного раствора добавки:

ННХК=12,44/0,336=37,02 л.

. В этом объеме раствора содержится воды в количестве:

1,210337,02=44,79 л

. С учетом 3,0% влажности песка (49830,03=14,94 л) и с учетом 4% влажности щебня (144130,04=57,64 л) суммарное количество воды в заполнителях и концентрированном растворе добавки будет равно:

В=44,79+14,94+57,64=117,37 л.

. Расход материала на 1 м3 бетона при дозировке составит:

цемент        311 кг;

песок 498×1,03=512,9 кг;

щебень       1441×1,04=1498,6 кг.

. Оставшаяся часть воды затворения в количестве 190-117,37=72,63 л используется для разбавления концентрированного раствора добавки ННХК.

. Количество добавки после разбавления концентрированного раствора составит (в рабочей концентрации):

%.

. Согласно таблице 6.7 [2] плотность рабочего раствора при контроле её ареометром должна составить:

t=d-15,1-A×(t-20),

где dt, d-15,1 - плотность раствора, соответственно, при фактической температуре и -15,1°С;

А - температурный коэффициент плотности раствора (г×°С/м3);- фактическая температура бетона,°С.

d25=1,210-0,00045×(-25-20)=1,230 г/см3.

Содержание соли в растворе:


По таблице 6.7 [2, с. 145] температура замерзания раствора добавки в 190 л воды -48°С, что меньше -25°С - следовательно можно уменьшить содержание ННХК.

2. 
Т
ехнология монолитного и приобъектного бетонирования


2.1 Технология возведения монолитных конструкций


Комплекс работ по возведению монолитных бетонных и железобетонных конструкций состоит из заготовительных, транспортных и монолитно-укладочных процессов.

Заготовительные и транспортные процессы - изготовление опалубки, заготовку арматуры, подбор состава бетона, сборку арматурно-опалубочных блоков и приготовление бетонной смеси осуществляют, как правило, в специально оснащенных цехах, участках. Опалубку, арматуру, арматурно-опалубочные блоки и бетонную смесь к строительным объектам доставляют обычным или специальными технологическими транспортными средствами.

Способы бетонирования выбирают с учетом конструкций зданий, объема монолитного укладываемого бетона, необходимой интенсивности возведения монолитных зданий, повторяемости монолитных конструкций и серий зданий.

Выбор тех или иных средств механизации во многом зависит от применяемой системы опалубки. При высоких темпах строительства и больших объемах бетона целесообразно применять крупноразмерные индустриальные типы опалубки, высокомеханизированные средства подачи, распределения и укладки бетонной смеси.

2.1.1  Опалубочные работы

Перед тем как преступить к бетонным работам устанавливаются в проектное положение разборно-перестановочные мелкощитовые металлические опалубочные щиты марки ЩС-1,2-0,6.

Опалубка должна отвечать следующим требованиям:

быть прочной, устойчивой;

не изменять формы под воздействием нагрузок, возникающих в процессе производства работ;

палубка (обшивка) опалубочного щита должна быть достаточно плотной, в ней не должно быть щелей;

обеспечивать высокое качество поверхностей, исключающее появление наплывов, раковин, искривлений;

быть технологичной;

обладать высокой оборачиваемостью;

Под опалубку должны устанавливаться поддерживающие леса, состоящие из стоек, прогонов (расшивин), раскосов и лаг. При возведении здании используются поэтажные леса. Для устройства поэтажных лесов применяются телескоскопические стальные стойки марки СТА-68.

Место установки опалубочных форм и лесов должно быть очищено от мусора, снега и наледи. При установке опалубки особое внимание обращать на вертикальность и горизонтальность элементов, жесткость и неизменяемость всех конструкций в целом [4].

2.1.2  Арматурные работы

Порядок арматурных работ:

1. До начала армирования краном подаются пакеты арматурных сеток и каркасов на смонтированную опалубку к месту армирования;

2.      Арматурщики укладывают нижнюю арматурную сетку так, чтобы она ячейками наделась на выпуски арматуры стен. При необходимости по месту подрезают ножницами или рихтуют сетку ломами. Сетки укладывают внахлёстку и вяжут их в шахматном порядке одну к другой, а также к выпускам арматуры.

.        Арматурщики подносят и устанавливают на ребро поверх нижних сеток арматурные каркасы параллельно открытой секции опалубки. Затем устанавливают П-образный гнутый каркас по центру двух закрытых секций короба опалубки. Через каждые две-три ячейки арматурные каркасы привязывают вязальной проволокой к нижней сетке. При необходимости каркасы рихтуют кувалдами.

.        Арматурщики приносят и укладывают верхнюю арматурную сетку и каркасы. Следующую сетку сетку укладывают внахлёстку в две-три ячейки. Верхние сетки надевают на арматуру выпусков стен и вяжут их одну к другой к каркасам перекрытия и пояса жёсткости, а также к выпускам арматуры стен [3, с. 41].

2.1.3 Бетонирование конструкции

До начала бетонирования на захватке должны быть выполнены следующие работы:

-  приготовлены инструменты и инвентарь;

-        установлены леса, поддерживающие опалубку;

         смонтированы все элементы опалубки;

         проверена правильность установки и надежность крепления элементов опалубки;

         проверено наличие смазки на щитах;

         установлена вся арматура и закладные детали;

         увлажнена поверхность, на которую будут устраиваться монолитные перекрытия.

Бетонная смесь доставляется самосвалом ЗИЛ-655, выгружается в бадью для электроразогрева (при зимнем бетонировании), после чего башенным краном доставляется к месту бетонирования (рисунок 2.1.3.1).


Последовательность бетонирования конструкции:

1.   Заполненная бетонной смесью бадья доставляется краном к месту бетонирования.

2.      Устанавливают фиксирующие стержни, смазанные солидолом и обёрнутые бумагой.

.        Двое бетонщиков принимают бадью с бетонной смесью. Первый бетонщик открывает затвор бадьи и небольшими порциями выгружает бетонную смесь. Второй бетонщик при необходимости включает вибратор, установленный на бадье, после чего для равномерной выгрузки посредством крана бадья перемещается по всей бетонируемой поверхности.

.        Первый бетонщик глубинным вибратором уплотняет бетонную смесь по периметру комнаты и над внутренними стенами, в это время второй бетонщик лопатой подбрасывает бетонную смесь к вибратору по мере её оседания. После этого первый бетонщик включает поверхностный вибратор, а второй уплотняет уложенную смесь полосами, причём каждая полоса должна перекрывать предыдущую на 10-15 см [3, с. 45].

При укладке и разравнивании бетонной смеси с помощью виброрейки необходимо сначала установить направляющие под виброрейку на уровне нулевой отметки и тщательно выставить их по горизонту. В процессе работы нужно следить за тем, чтобы направляющие не были сбиты. После этого на направляющие монтируется виброрейка. Бетонная смесь заливается на подготовленное основание и разравнивается с таким расчетом, чтобы ее верх был немного выше уровня виброрейки (это зависит от степени уплотняемости бетонной смеси виброрейкой). После виброрейку тянут по направляющим. Бетонная смесь под действием вибрации оседает до нужного уровня и разравнивается. При этом нужно следить, чтобы виброрейка постоянно скользила по поверхности бетона. В тех местах, где бетонная смесь оседает ниже уровня виброрейки, бетонную смесь добавляют лопатой в необходимых количествах.

Признаками окончательного уплотнения являются: прекращение оседания бетонной смеси, появление бетонного молока на ее поверхности и прекращение выделения пузырьков воздуха.

Особенно тщательно следует уплотнять бетонную смесь непосредственно у стенок опалубки.

Бетонирование перекрытий сопровождается записями в журнале, куда заносят следующие данные:

-  даты начала и окончания бетонирования по захваткам;

-        заданные марки бетона, рабочие составы бетонной смеси и показатели ее подвижности (жесткости);

         даты изготовления контрольных образцов бетона, их число, маркировка, сроки и результаты испытаний образцов;

         температура наружного воздуха и бетонной смеси при укладки в зимних условиях;

         тип опалубки и дата распалубливания конструкции;

         объемная масса уложенной бетонной смеси в уплотненном состоянии для бетонной смеси с заполнителем.

При выдерживании уложенного бетона в начальный период его твердения необходимо:

-  поддерживать температурно-влажностный режим, обеспечивающий нарастание прочности бетона;

-        осуществлять при необходимости тепловую обработку уложенного бетона в целях ускорения его твердения и оборачиваемости опалубки;

         предохранять твердый бетон от ударов, сотрясений и других механических действий;

         производить периодическую поливку бетона водой в течение первых дней твердения.

При производстве железобетонных работ в зимнее время должны быть разработаны специальные технологические карты, в которых должны быть приведены:

-  способ и температурно-влажностный режим выдерживания бетона;

-        данные о материале опалубки с учетом требуемых теплоизоляционных показателей;

         данные о пароизоляционном и теплоизоляционном укрытии неопалубленных поверхностей;

         схема размещения точек, в которых следует измерять температуру бетона, и наименование приборов ее измерения;

         ожидаемые величины прочности бетона;

         сроки и порядок распалубливания и загружения конструкции;

         схемы размещения и подключения электропроводов или электронагревателей;

         требуемая электрическая мощность, напряжение, сила тока;

         тип понижающего трансформатора, сечения, длины проводов [4].

Операционный контроль качества работ по устройству монолитных перекрытий выполняют в соответствии со СНиП 3.03.01-87 «Несущие и ограждающие конструкции».

Отклонение в размерах и положении выполненных монолитных железобетонных перекрытий не должны превышать отклонений, указанных в таблице II [5].

На бетонирование перекрытий должен быть составлен акт освидетельствования скрытых работ в соответствии с установленной формой.

Схема операционного контроля качества работ приведена в приложении А.

2.1.4 Технологические схемы производства работ



Рисунок 2.1.4.1 - Схема производства опалубочных работ.

 

Рисунок 2.1.4.2 - Схема производства арматурных работ.

Рисунок 2.1.4.3 - Схема производства бетонных работ.

1.1   2.2      Определение трудоёмкости, механоёмкости производства монолитных бетонных работ


2.2.1 Калькуляция затрат

 

Таблица 2.2.1.1 - Определение трудоёмкости, механоёмкости производства монолитных бетонных работ и их продолжительности [6].

Наименование работ

Объем работ

§ в ЕНиР

Норма времени

Трудоемкость

Состав звена

Продолжительность работ, дни


Ед. изм.

Кол.


ТК, ч·час

по ЕНиР, ч·час

ТК, чел·дни

по ЕНиР, чел·дни

Профессия, разряд

Кол


1

2

3

4

5

6

7

8

9

10

11

Опалубочные работы

Монтаж опалубки

1 м2

486

Е4-1-37

0,24

0,24

14,14

14,14

Слесарь строительный IV -//- III

 1 2

4,71

Демонтаж опалубки

1 м2

486

Е4-1-37

0,069

0,14

4,04

8,24

Слесарь строительный III -//- II

 1 2

2,75

Арматурные работы

Установка арматурных сеток и каркасов вручную

1 шт.

162

Е4-1-44

0,073

0,17

1,44

3,36

Арматурщик III Арматурщик II

 1 2

1,12

Бетонные работы

Прием бетонной смеси из кузова автомобиля-самосвала и подача к месту бетонирования

1 м3

116

Е4-1-48

0,28

0,38

3,93

5,37

Бетонщик II

1

5,37

Укладка бетонной смеси в перекрытие

1 м3

116

Е4-1-49

0,28

0,81

3,93

11,45

Бетонщик IV Бетонщик II

1 1

5,73


1.1.1 2.2.2 Расчет технических параметров крана

Основными рабочими параметрами подъемных кранов, по которым производится подбор машины, являются: грузоподъемность Q, высота подъема крюка Нкр и вылет крюка Lкр.

Требуемая грузоподъемность определяется из условия:

, 10,4 + 0,62 = 11,02 т,

где  - масса монтируемого (поднимаемого) груза,

- масса приспособлений, используемых для подъема.

Требуемая высота подъема крана  определяется по формуле:

, =0,5+3,0+9,0+4,2=16,7 м,

где  - превышение опоры монтируемого элемента над уровнем стоянки крана,

 - запас по высоте (не менее 0,5 м),

 - высота элемента в монтажном положении,

 - высота строповки.

Требуемый вылет крюка определяется по формуле:

, = (6,0/2)+5,0+ 18,0=26,0 м,

где - ширина кранового пути,

 - расстояние от кранового пути до проекции наиболее выступающей части стены,

 - расстояние от центра тяжести наиболее удаленного элемента от крана до выступающей части стены со стороны крана [7, с. 353].

Таблица 2.2.2.1 - Выбор строительного крана [8].

Наименование элементов или материалов

Технические характеристики

Марка крана на выполнение процесса


Q, т

Нкр, м

Lкр, м





кран

кран и бетононасос

кран

кран и бетононасос

1

2

3

4

5

6

7

Щит основной стальной ЩС-1,2-0,6, 28,8 кг, по 100 шт. (h=0,6 м)

1,452

5,2

28,7

28,7

КБ-504.1

КБ-504.1 и бетононасос

Арматурные стержни по 2 т.

2,012

39





Ферма безраскосная ФБ18IV-9AIIIв

10,4

16,7





Арматурные сетки, 220 кг, по 10 шт. (h=3 м)

1,112

42





Бетонная смесь (h=1,1 м)

1,415

47,4






Рисунок 2.2.2.1 - Принципиальная схема к определению основных параметров башенных кранов.

Наименование конструктивного элемента или груза

Масса, т

Наименование технологической оснастки (тип, марка)

Хар-ка оснастки

Эскиз приспособлений




Грузо-подъем-ность, т

Масса, кг

Расчетная высота, м


1

2

3

4

5

6

7

Щит основной стальной ЩС-1,2-0,6, 28,8 кг, по 50 шт.

1,44

строп 2-х ветвевой ГОСТ 19144-73 тип 2СК-2,5

2,5

12

2

 рис. 1

Ферма безраскосная ФБ18IV-9AIIIв

10,4

Траверса ПИ Промстальконструкция № 4234-24

15

620

3,6

Арматурные стержни по 2 т.

2

строп 2-х ветвевой ГОСТ 19144-73 тип 2СК-2,5

2,5

12

2

см. рис. 1

Арматурные сетки, 220 кг, по 5 шт.

1,1

строп 2-х ветвевой ГОСТ 19144-73 тип 2СК-2,5

2,5

12

2

см. рис. 1

Бетонная смесь

1,2

бадья для бетонной смеси

2,9

700

1,1



строп 4-х ветвевой ПИ Промстальконструкция (Ленинградский отдел)

5

215

9,3



3.   Интенсификация бетонных работ при отрицательной температуре


3.1 Выбор метода


Существующие методы зимнего бетонирования подразделяют на две основные группы: с безобогревным выдерживанием бетона и с искусственным прогревом бетона монолитных конструкций. Методы бетонирования с искусственным прогревом позволяют не только непрерывно вести работы в зимних условиях, но и интенсифицировать процесс набора прочности бетоном, сократить сроки строительства и увеличить темпы оборачиваемости опалубки.

К методам зимнего бетонирования с безобогревным выдерживанием бетона относят метод «термоса» и его разновидности: с применением противоморозных добавок и с предварительным разогревом бетонной смеси.

К методам бетонирования с искусственным прогревом бетона конструкций относят электротермическую обработку (электропрогрев сквозной и периферийный, индукционный электропрогрев, греющие опалубки), прогрев бетона паром, горячим воздухом и в тепляках, обогрев инфракрасными лучами.

При выборе и проектировании методов зимнего бетонирования исходят из реальных условий, которые существуют или могут быть созданы на конкретном объекте.

В общем случае выбор метода зимнего бетонирования зависит от размеров и назначения конструкции, от возможности изготовления их на заводах и полигонах, от ожидаемых наружных температур, применяемых цементов, наличия на строительстве источников тепла, химических добавок, теплоодежд и др.

Именно все эти факторы сведены во едино и нашло отражение в СНиПе III-15-76 (п.5.3) в качестве рекомендаций, согласно которым предпочтение следует отдавать методу термоса - как обычному, так и кратковременному электропрогреву бетонной смеси в бункере с последующим термосным остыванием бетона в конструкции.

Сущность метода термоса заключается в том, что бетон вследствие предварительного нагрева и энергии гидратации цемента при надлежащем утеплении способен продолжительное время сохранять продолжительную температуру, набирать необходимую по проекту прочность до того, как наступает замерзание.

При проектировании бетонных работ с выдерживанием бетона по методу «термоса» выполняют теплотехнический расчёт.

3.2    Технологические расчёты


3.2.1 Предварительный электроразогрев бетонной смеси с последующим термосным твердением конструкции

Сущность данного метода состоит в том, что бетонная смесь непосредственно перед укладкой кратковременно прогревается в бадье путём пропускания электрического тока промышленной частоты. Затем смесь укладывается в горячем состоянии и в дальнейшем приобретает заданную прочность в процессе медленного остывания в утеплённой опалубке.

Для предварительного электроразогрева бетонной смеси необходимо рассчитать основные параметры бункера, подобрать тип трансформатора, силового кабеля и разводящих проводов.

Бетон перевозится самосвалом ЗИЛ-655 грузоподъёмностью до 6 т., объёмом привозимой смеси 1,8-2,0 м3. Состав бетонной смеси по весу Ц:В:П:Щ = 1:0,61:1,60:4,63. Удельная теплоёмкость материалов: цемента Сц=0,2; воды Св=1,0; песка кварцевого Сп=0,22; щебня Сщ=0,20. Влажность крупного заполнителя Wщ=4%. Объёмная масса бетонной смеси γ1=2440 кг/м3. Начальная температура бетонной смеси - t1=5 ºС; средняя конечная температура разогрева бетонной смеси - tз=35ºС. Время разогрева смеси - τ1=15мин=0,25 ч. Коэффициент потери тепла в период разогрева при корости ветра в 10 м/с α =1,5.

Определяем объём и число бункеров для самосвала ЗИЛ-655 по таблице 3 [9, стр 14?9-655, м объём и число бункеров для самосвала ной смеси δεηλμμρка кварцевого Сп=0,22; щебня Сщпри разогреве ао остывания в уте]: число бункеров - 3, объём каждого - 0,75 м3 (V1=3·0,75).

Находим удельную теплоёмкость щебня и песка с учётом их влажности:

Сзапол. = Ссух + 0,01·ω;

Сп = 0,20 + 0,01·1 = 0,21 ккал/кг·ºС.

Вычисляем приведенную теплоёмкость бетонной смеси:

,

где Ci - удельные теплоёмкости составляющих бетонную смесь компонентов, ккал/кг·ºС (кДж/кг·ºС);

pi - весовые части составляющих бетонной смеси (цемента, воды и заполнителя).

 ккал/кг·ºС.

Рассчитываем потребную мощность:

; =137,25 кВт.

Определяем расстояние между электродами:

,

где    b - расстояние между соседними электродами, м;

U - напряжение на электродах, В (220 или 380 В);

ρрасч - расчётное удельное сопротивление разогреваемой смеси, равное 8 Ом·м.

м.

Находим максимальную электрическую мощность для разогрева:

; кВт.

Определяем расчётную электрическую мощность:

,

где    η, cos - соответственно КПД и коэффициент трансформатора (η·cosφ = 0,9);

К4 - коэффициент кратковременной допустимой перегрузки трансформатора (может быть принят 1,3÷1,5).

кВт.

По величине расчётной мощности равной 232 кВт подбираем трансформатор ТМН-250/10, номинальная его мощность 250 кВ·А (таблица 1 приложения 2 [9, стр. 31]).

Вычисляем силу тока по фазам:

; А.

Определяем допускаемые токовые нагрузки, тип и сечение кабеля, идущего от щита до бункера разогрева смеси (таблица 3 приложение 2 [9, стр. 31-32]). Выбираем медный трёхжильный кабель с сечением токопроводящей жилы 70 мм.

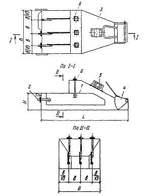
Электропрогрев бетонной смеси осуществляется в стандартной бадье вместимостью до 1,0 м3, с геометрическими размерами, мм - L×B×H = 3512×1232×1040. Принципиальная схема приведена на рисунке 3.2.1.1.

Рисунок 3.2.1.1 - Принципиальная схема бадьи для электроразогрева бетонной смеси.

3.2.2 Метод «термоса»

Теплотехнический расчёт по методу термоса выполняется в следующей последовательности.

Определяем объём бетона в конструкции (рис3.2.1) по формуле:

общ= VI+ VII+ VIII;I=2100×1800×300= 1,134 м3; II=1500×900×300=0405 м3; III=600×600×1200=0,432 м3;общ=1,971 м3.

Определяем поверхность охлаждения конструкции:

;

=300×2100=0,63 м2 =300×1500=0,45 м2 =1200×600=0,72 м2

=300×1800=0,54 м2 =300×900=0,27 м2   =1200×600=0,72 м2

=2100×1800=3,78 м2         =1500×900=1,35 м2 =600×600=0,36 м2

=2·0,63+2·0,54+(3,78-1,35)+2·0,45+2·0,27+(1,35-0,36)+2·0,72+2·0,72+0,36=10,44 м2.

Рисунок 3.2.1 - Общий вид столбчатого фундамента под колонну.

Находим модуль поверхности конструкции:

;  м-1

Определяем начальную температуру бетона с учётом нагрева арматуры:

,

где - удельная теплоёмкость арматуры, кДж/(кг·ºС);

 - расход арматуры, кг/м3.

=1,047Вт/м3; =0,48 Вт/м3; =120 кг/м3; γ12=2440 кг/м3; tб.н=35 ºС; tВ=-25 ºС.

=33,7 ºС.,

При марке бетона М400 и марке цемента М500 по графикам [9, стр. 12] определяем =18 ºС, при которой бетон набирает прочность 70% в течение 5 суток.

Ориентировочно определяем коэффициент теплопередачи опалубки:

;

=2,80

кДж/(м2·ч·ºС)=0,78 Вт/(м2·ºС).

По таблице 4 [9, стр. 27, 28] ориентировочно назначаем следующую конструкцию опалубки:

Рисунок 3.2.2 - Схема опалубки фундамента.

Для данной конструкции опалубки при скорости ветра 15 м/с к=0,82 Вт/(м2·ºС).

Определяем удельный тепловой поток через опалубку:

; =45,79 Вт/м2.

По графику (рис. 2) [9, стр. 12] получаем, что коэффициент теплоотдачи конвекции при скорости ветра 10 м/с равен αК=33,15 Вт/(м2·ºС). При коэффициенте излучения наружного слоя опалубки (фанеры) равеном примерно 4,44 Вт/(м2·ºС) принимаем температуру наружной поверхности наружной стенки опалубки равной =-24 ºC, тогда коэффициент теплоотдачи излучением αЛ=0.

Проверяем правильность заданной температуры на наружной стороне опалубки:

; =-23,6 ºС.

Определим процент ошибки:

;

Процент ошибки в пределах допуска.

Определим среднюю температуру нагрева опалубки:

; =28,7 ºС

Вычисляем количество тепла, идущее на нагрев опалубки:

,

где , ,  и  - соответственно удельная теплоёмкость, площадь, толщина и объёмная масса материала опалубки.

Q=(28,7-(-25))·(2,52·10,71·0,025·550+1,34·11,47·0,030·100+2,52·11,57·0,004·600)=26162 кДж

  С=2,52 кДж/(кг·ºС);=2·(2150+1850)×325 + 2·(1550+950)×300 + 2·(650+650)×1175 + ((2150×1850)-(650×650)) = 10,71 м2;

δ=0,025 м; γ=550кг/ м3

Доска хвойная

W0=20%


Рисунок 3.2.3 - Схема деревянной опалубки фундамента.

С=1,34 кДж/(кг·ºС);=2·(2210+1910)×355 + 2·(1610+1010)×300 + 2·(710+710)×1145 + ((2210×1910)-(710×710)) = 11,47 м2;

δ=0,030 м;

γ=100кг/ м3

Пенопласт марки ПС-1

СТУ 9-91-61

W0=10%

Рисунок 3.2.4 - Схема опалубки фундамента выполненной из слоя деревянной доски и пенопласта.

С=2,52 кДж/(кг·ºС);=2·(2218+1918)×359 + 2·(1618+1018)×300 + 2·(718+718)×1141 + ((2218×1918)-(718×718)) = 11,57 м2;

δ=0,004 м;

γ=600кг/ м3

Фанера ГОСТ 3916-69

W0=13%

Рисунок 3.2.5 - Схема опалубки фундамента выполненной из слоя деревянной доски, пенопласта и фанеры.

Находим температуру бетона с учётом потерь тепла, затраченных на нагрев арматуры и опалубки:

;

=26,1 ºС.

Уточняем значение коэффициента теплопередачи:

;

=1,45 кДж/(м2·ч·ºС)=0,40 Вт/(м2·ºС).

Для оптимизации расходов материалов на оборудование опалубки пересчитаем толщину утеплителя и других составляющих опалубки, теплопроводность которых составит:

,

Где λ0 - коэффициент теплопроводности материалов опалубки при 0ºС (таблица 5) [9, стр. 29-31].

Для сосновой доски    =0,812 Вт/(м2·ºС);

Для пенопласта  =0,046 Вт/(м2·ºС);

Для фанеры        =0,812 Вт/(м2·ºС).

Толщина теплоизоляционного слоя составит:

,

где λиз и λi - коэффициент теплопроводности соответственно теплоизоляции и соответствующих материалов.

=0,11 м.

Уточнённый тепловой поток составит:

; =20,44 Вт/м2.

Окончательно определим температуру на наружной поверхности:

; =-24,4 ºС.

Уточняем процент ошибки:

;

Ошибка составила менее 5%, что говорит о правильно выбранной опалубке.

Определим температуру бетона к концу выдерживания:

; =31,45 ºС.

Проверяем продолжительность остывания бетона:

;  = 143,5 ч = 5,98 суток

Вывод: окончательный срок остывания составил 6 суток, что не соответствует условию задачи. Следовательно нужно увеличить толщину пенопласта: доска 25 мм, пенопласт <30 мм, фанера 4 мм.

4. Статистический контроль прочности бетона


4.1   Анализ прочности изделий в партии

Среднеарифметическое значение. В результате экспериментальных данных измерений определяют различные значения изучаемого состава материала, каждое из которых в отдельности не является характерным, поэтому используется среднеарифметическое значения.

Среднеарифметическое значение чисел х1, х2, …, хn, характеризующих количественно одно и тоже свойство материала, определяют по формуле:

,

где хi - вариационный ряд наблюдений;- количество наблюдений.

Среднеквадратичным отклонением называется показатель, характеризующий среднюю изменчивость, изучаемого свойства материала и вычисляется по формуле:

при n>25 ;

при n≤25 ;

,

где х0 - сомнительное значение свойства материала.

Путем сопоставления расчетного значения t с табличными критическими значениями t, устанавливают достоверность сомнительного наблюдения.

Из таблицы процентного распределения количества вариантов определяем, что в пределах М60,7s находится 52% общего числа вариантов. Последнее означает, что погрешность истинного значения изучаемого свойства материала относительно к среднеарифметическому не превышает трехкратного значения среднеквадратического отклонения. Это обстоятельство именуется законом 3s.

Требуется определить количество изделий с пределом прочности при сжатии 30±3,5 МПа в общем объеме партии железобетонных изделий, выпущенной в течении рабочей смены и равной 400 шт. Известно, что М=30 МПа, s=±5 МПа.

Находим z=3,5/5=0,7. По таблице в пределах М±0,7s находится 52% общего числа вариантов. Таким образом, становится известным, что 52% из общего числа (400 шт.), т.е. 208 изделий имеют предел прочности при сжатии 30±3,5 МПа. Одновременно можно констатировать, что 100% изделий этой партии имеют предел прочности при сжатии в интервале (30±3,5) МПа, т.е. от 26,5 до 34,1 МПа.

4.2 Оценка достоверности повышения прочности бетона при применении разного вида заполнителей

 

Коэффициент вариации характеризует изменчивость изучаемого свойства материала. Этот коэффициент показывает, сколько процентов составляет среднеквадратичное отклонение от среднеквадратичного значения изучаемого свойства материала, и вычисляется по формуле:

.

Средняя ошибка среднеарифметического значения вычисляется по формуле:


С помощью средней ошибки можно оценить достоверность в различии двух сравнимых величин, которые характеризуют свойства материала:

 при n³5 ,  (1)

 при n³25.         (2)

Изготовлены две серии бетонных образцов: 7 шт. и 10 шт. Серии отличаются между собой видом крупного заполнителя. Для первой серии образцов М=28 МПа, m= ±0,9 МПа; для второй серии образцов М=26 МПа, m= ±1,0 МПа. Требуется оценить достоверность повышения прочности бетона в случае применения второго вида крупного заполнителя.

С помощью средней ошибки оцениваем достоверность сравниваемых величин, воспользовавшись формулой (1), так как количество образцов не превышает 25 штук:

.

В данном случае возникает необходимость определения степени достоверности в различии прочностей указанных составов. Для этого используем табличные данные процентного распределения количества вариантов, где значению 1,49 соответствует 87%. Это означает, что в 87 случаях из 100 с применением первого вида заполнителей наблюдается повышение прочности бетона от 26 МПа до 28 МПа (т.е. на 2 МПа).

4.3 Оценка изменчивости прочности легкого и тяжелого бетона


Среднюю ошибку среднеквадратичного отклонения вычисляют по формуле:

.

Достоверность в различии двух значений s1 и s2 среднеквадратического отклонения проверяют по формуле:

.

Среднюю ошибку коэффициента вариации вычисляют по формуле:

.

Достоверность в различии двух значений коэффициента вариации (V1 и V2) проверяют по следующей формуле:

 при n³5.

По результатам испытаний 17 образцов кубов:

·    тяжелый бетон М1=44 МПа, s1=±4,3 МПа, n1=7 шт.;

·        легкий бетон       М2=23 МПа, s2=62,9 МПа, n2=10 шт.

При первом сравнении кажется, что изменчивость прочности тяжелого бетона выше, чем у легкого бетона (по абсолютным значениям s). Однако вычисления для каждого случая коэффициента вариации показывают обратное:

%

%

Значит в данном случае изменчивость прочности легкого бетона на 2,84% больше чем тяжёлого. Для проверки достоверности этого используем формулу:

;

;

.

Как видно из проверки превышение изменчивости прочности легкого бетона по сравнению с изменчивостью тяжёлого бетона подтвердилось.

4.4   Определение количества образцов (наблюдений)


Правильность полученных результатов в значительной мере зависит от количества испытанных образцов. При недостаточном количестве образцов полученные результаты не могут считаться достоверными. Чем больше количество образцов, тем ближе к истине результат эксперимента. Но испытание большого количества образцов требует много времени и приводит к перерасходу материалов. Поэтому необходимо заранее рассчитать необходимое количество образцов, так как оно зависит от изменчивости показателя, точности и показателя достоверности изучаемого свойства материала.

,

где    n - количество образцов;- коэффициент вариации;

t - показатель достоверности;- показатель точности.

Допустим известно, что коэффициент вариации составляет V=4,1. Требуется определить необходимое количество проб для установления его плотности. Если показатель достоверности равен t=2,33, а вероятность примем p=0,980, то получаем:

 , следовательно, n=10 проб.

Экономически выгодно просчитать оптимальное количество проб, в данном случае их количество составляет 10 штук.

4.5   Статистическая обработка результатов испытаний бетона на сжатие


При испытании на сжатие 24 бетонных образцов-кубов размерами 10310310 см получены следующие результаты, МПа:

,3; 44,7; 37,0; 40,3; 39,7; 37,1; 41,6; 45,0; 37,0; 40,3; 40,2; 40,2; 42,3; 44,1; 37,0; 43,0; 43,0; 44,1; 41,0; 43,0; 42,1; 37,4; 40,2; 40,4.

Требуется статистическая обработка результатов.

Результат 45,0 вызывает сомнение. Проверим его пригодность:

 МПа;

 МПа;


Из таблицы при n=23 принимаем вероятность результата Рэ=0,95 и находим tп=2. При этом соблюдается неравенство: t=1,780<t=2, что позволяет судить о пригодности полученного результата - 45,0 МПа.

По условиям перечисления результатов эксперимента в порядке увеличения их значения, а также по записям повторяющихся результатов составим таблицу 4.5.1.

Таблица 4.5..1 - Результаты экспериментов.

Результаты испытания образцов, х

Количество повторяющихся результатов

Сумма повторяющихся результатов

(х-М)

(х-М)2

å(х-М)2

37,0 37,1 37,4 39,7 40,2 40,3 40,4 41,0 41,6 42,1 42,3 43,0 44,1 44,7 45,0

3 1 1 1 3 3 1 1 1 1 1 3 2 1 1

111,0 37,1 37,4 39,7 120,6 120,9 40,4 41,0 41,6 42,1 42,3 129,0 88,2 44,7 45,0

-3,88 -3,78 -3,48 -1,18 -0,67 -0,58 -0,48 0,13 0,73 1,23 1,43 2,13 3,23 3,83 4,13

15,0156 14,2506 12,0756 1,3806 0,4556 0,3306 0,2256 0,0156 0,5256 1,5006 2,0306 4,5156 10,4006 14,6306 17,0156

45,0469 14,2506 12,0756 1,3806 1,3669 0,9919 0,2256 0,0156 0,5256 1,5006 2,0306 13,5469 20,8013 14,6306 17,0156

Сумма

24

981,0



145,4050

Среднеарифметическое значение:

 МПа.

Среднеквадратическое отклонение:

 МПа.

Средняя ошибка среднеарифметического значения:

 МПа.

Максимальная ошибка результатов:

 МПа.

Коэффициент вариации:

%.

Показатель точности:

 %

5.  
Охрана труда и техника безопасности в технологии производства железобетонных изделий

При бетонировании в зимних условиях рабочие чаще всего получают в стесненных условиях тепляков ожоги паром, нередки случаи электротравматизма и отравления хлористым кальцием.

К бетонированию в зимних условиях допускают рабочих, получивших специальный инструктаж и обеспеченных необходимой спецодеждой и средствами индивидуальной защиты. К обслуживанию паровых сетей, электроустановок и контролю за режимами термообработки допускают только специально подготовленных рабочих (электриков, операторов, лаборантов).

При бетонировании в тепляках между рабочими, которые на-'одятся там, и машинистами кранов бетононасосов ил.и транспор-юв должны быть установлены зрительная, звуковая или радио-язь.

В случае приготовления бетонной смеси с добавкой хлористого льция необходимо исключить попадание его раствора или паров помещение операторской.

При предварительном электроразогреве бетонной смеси запре-гтся подавать напряжение на электроды без предварительного >мления бадей или кузова автосамосвала и выхода обслуживало персонала за пределы огражденной опасной зоны. Входить

При производстве опалубочных, арматурных, бетонных и распалубочных работ необходимо следить за закреплением лесов и подмостей, их устойчивостью, правильным устройством настилов, лестниц, перил и ограждений. Монтаж укрупненных элементов надо вести при помощи кранов. Устанавливая крупноблочные элементы опалубки в несколько ярусов, нужно следить, чтобы каждый последующий ярус монтировался только после окончательного закрепления предыдущего.

Щитовую опалубку колонн, ригелей и балок с передвижных лестниц-стремянок допускается устанавливать при высоте над уровнем земли или нижележащим перекрытием не более 5,5 м. Работать на высоте от 5,5 до 8 м разрешается только с передвижных подмостей, имеющих наверху площадку с ограждениями.

На высоте более 8 м от уровня земли или перекрытия опалубку монтируют с рабочих настилов, уложенных на поддерживающих лесах и обеспеченных ограждениями. Ширина настилов должна быть не менее 0,7 м. При возведении железобетонных стен для безопасной работы строителей-опалубочников с обеих сторон стены необходимо устанавливать настилы с ограждениями через каждые 1,8 м по высоте. Ограждения представляют собой перила высотой 1 м с бортовыми досками - шириной 15 см.

При устройстве опалубки железобетонных сводов и куполов рабочие настилы с ограждениями следует располагать на гори» зонтальных схватках стоек поддерживающих лесов. При наклонной опалубке рабочие настилы делают уступами шириной не менее 40 см.

Скользящую опалубку и все ее элементы (домкратные рамы, кружала, подвесные леса и пр.) возводят в соответствии с утвержденными ППР и рабочими чертежами. При передвижке кату-чей опалубки и катучих лесов надо обеспечивать безопасность работающих.

К выполнению сварочных работ допускаются лица, имеющие соответствующую квалификацию сварщика и разрешение на производство сварочных работ. Все части электросварочных установок, находящиеся под напряжением, должны быть закрыты кожухами. Металлические части установок, не находящиеся под напряжением во время работы (корпуса сварочных трансформаторов, генераторов и др.), а также свариваемые конструкции и изделия необходимо заземлять. Наладку и настройку электросварочных установок до начала работы выполняют электромонтеры.

Бетоносмесительные и другие установки можно чистить и исправлять только при выключенном рубильнике. В случае подачи бетонной смеси к месту укладки при помощи кранов, бетононасосов, подъемников и других механизмов необходимо выполнять требования СНиП «Установка и эксплуатация строительных машин и механизмов». До начала подачи смеси бетононасосами бетоновод проверяют гидравлическим давлением (не менее 3 МПа).

Вокруг бетононасосов устраивают проходы шириной не менее 1 м. В теплое время бетоновод прочищают водой или пыжами и банниками. При очистке бетоновода сжатым воздухом в зимнее время рабочие должны находиться от выходного отверстия бетоновода на расстоянии не менее 10 м.

При укладке бетонной смеси в конструкции с уклоном 30 ° и более рабочих-бетонщиков снабжают предохранительными поясами.

Корпус вибратора необходимо заземлять до начала работ. Вибраторы подключаются к сети через понижающие трансформаторы, преобразующие напряжение с 220 или 380 до 36 В. Рукоятки вибраторов должны иметь амортизаторы. Работать с вибраторами разрешается только в резиновых перчатках и резиновых сапогах. Вибраторы надо выключать при перерывах в работе, а также при переходах бетонщиков с одного рабочего места на другое.

В процессе работы цемент-пушкой необходимо постоянно наблюдать за манометром, не допуская повышения давления сверх предусмотренного инструкцией. Бетонщик, наносящий торкрет на поверхность, должен работать в спецодежде с капюшоном и в предохранительных очках.

Во время грозы и при ветре силой б баллов и более (т. е. при скорости ветра свыше 9,9 м/с) выполнять бетонные и железобетонные работы с наружных лесов запрещается.

Специфика мероприятий по охране труда при производстве бетонных и железобетонных работ в зимних условиях и условиях жаркого климата обусловлена самой технологией производства работ, свойствами применяемых материалов, характеристиками используемых машин, механизмов, оборудования, инструментов, а также воздействием климатических факторов.

По сравнению с производством бетонных работ в обычных условиях, при бетонировании в зимних условиях и условиях жаркого климата имеют место дополнительные факторы, вызванные спецификой производства работ в этих условиях и представляющие опасность для труда рабочих. К таким факторам относят:

·    повышенное, по сравнению с обычными условиями, напряжение тока, подающегося на строительную площадку к месту бетонирования конструкций (до 380 В);

·        использование на строительной площадке пара;

·        наличие различных химических добавок в составе бетонной смеси;

·        образование снежных заносов на территории строительной площадки и наледей на трапах, лесах и других вспомогательных конструкциях в зимних условиях;

·        ухудшение видимости на строительной площадке из-за короткого светового дня и при осадках в виде снега;

·        дополнительные нагрузки на леса, подмости из-за образования на них наледей и действия повышенных ветровых нагрузок;

·        низкие температуры воздуха в зимних условиях;

·        высокие температуры воздуха и низкая влажность воздуха в сочетании с солнечной радиацией в условиях жаркого климата.

При использовании в качестве противоморозной добавки поташа приготовлять и хранить концентрированный раствор следует в отапливаемом помещении в деревянных емкостях. Для усиленного воздухообмена в помещении должна быть устроена приточно-вытяжная вентиляция. Рабочие, приготовляющие концентрированные растворы поташа, должны быть обеспечены комбинезонами, резиновыми сапогами и перчатками.

При электроразогреве бетонной смеси корпуса бункеров, бадей и кузовов бетоноводов должны заземляться. Площадки, где осуществляется электроразогрев бетонной смеси, ограждаются. Пользоваться током напряжением более 380 В для электропрогрева бетона запрещается. В пределах зоны электропрогрева следует устанавливать сигнальные лампочки, загорающиеся при подаче напряжения на линию.

Приложение А


Таблица А.1 - Схема операционного контроля качества работ.

Наименование операций надлежащих контролю

Контроль качества выполнения операций

Производителем работ

Мастером

Состав контроля

Способы

Время

Привлекаемые службы

Установка опалубки и арматуры.


Правильность установки и надежность крепления опалубки. Состояние арматуры. Акты приемки опалубки, арматуры. Соответствие проекту отметки верха опалубки.

Визуально. Нивелиром.

До бетонирования



Установка опалубки и арматуры.

Качество основания (очистка от грязи, наледи, снега). Обработка рабочих швов.

Визуально.

До бетонирования


Укладка бетонной смеси.

-

Качество бетонной смеси (подвижность, кубиковая прочность).

Конусом. Прессом.

До бетонирования

Лаборатория


Укладка бетонной смеси.

Правильность технической укладки бетонной смеси. Правильность выполнения рабочих швов.

Визуально.

В процессе укладки



Уплотнение бетонной смеси.

Шаг перестановки и места установки поверхностного вибратора. Толщина бетонируемого слоя.

Визуально.

В процессе уплотнения



Уход за бетоном.

Соблюдение влажностнотемпературного режима.

Термометром.

В процессе твердения




Литература


1.   СТБ 1182-99 «Бетоны. Правила подбора состава». Мн., 2000 г.

2.      Справочник строителя. Бетонные и железобетонные работы. / Под ред. Топчия В.Д. - М.: Стройиздат, 1987. - 320 с.

.        Возведение монолитных железобетонных зданий. Карты трудовых процессов строительного производства 4.1-25. М., Стройиздат - 1982. - 64 с.

.        Совалов И.Г. Бетонные и железобетонные работы. М.: Стройиздат, 1988 - 336 с.

.        СНиП 3.03.01-87 «Несущие и ограждающие конструкции».

.        ЕНиР. Сборник Е4. Монтаж сборных и устройство монолитных железобетонных конструкций. Вып. 1. Здания и промышленные сооружения / Госстрой СССР. - М.: Стройиздат, 1987 - 64 с.

.        Технология строительного производства. / Под ред. Бадьина Г.М., Мещаникова А.В. - Л.: Стройиздат, 1987. - 606 с.

.        Строительные краны: Справочник. / Под общей редакцией В.П. Станевского. Киев: Будивэльнык, 1989 - 296 с.

.        Сергеева О.Г. «Производство работ в зимних условиях» Часть 1. Гомель: БелИИЖТ, 1981 - 35 с.

.        Афанасьев А.А. «Возведение зданий и сооружений из монолитного железобетона». - М.: Стройиздат, 1990. - 384 с.

.        Баженов Ю.М. «Технология бетона». - М.: Издательство Ассоциации строительных ВУЗов, 2003 - 500с.

.        Кириллов А.Ф. «Чертежи строительные». - М.: Стройиздат, 1984. - 312 с.

Похожие работы на - Устройство монолитных железобетонных конструкций

 

Не нашли материал для своей работы?
Поможем написать уникальную работу
Без плагиата!
Без нейросетей!