|
Тип обделки
|
Пролет выработки, м
|
Высота выработки, м
|
|
1
|
17,222
|
11,71
|
|
2
|
16,282
|
10,339
|
1.4.2 Конструкции
порталов
Переход от тоннеля в предпортальной выемке осуществляется при помощи
портала для обеспечения устойчивости лобового и боковых откосов выемки, отвода
воды с лобового откоса и архитектурного оформления входа в тоннель. В данном
проекте выбран прямой портал с выносной искусственной засыпкой. Место
расположения портала назначается исходя из минимальных нарушений естественного
равновесия горных склонов. Для слабых грунтов глубина предпортальной выемки
достигает 12-15 м для скальных 15-20 м.
Для устройства портала предусмотрена срезка и укрепление лобового откоса.
Торцевая стена связывается с первым кольцом обделки с помощью отрезков
прокатных профилей и опирается на боковые откосы выемки. Уклон откосов 1:0,5
для западного портала выбран по причине достаточной устойчивости грунтов в этом
месте.
В верхней части лобовой стенки устраивают парапет с козырьком,
возвышающийся не менее чем на 2 м над верхом головного звена обделки. Между
задней гранью парапета и горным склоном оставлено пространство шириной не менее
1,5 м, заполняемое амортизирующей засыпкой из песка и крупнообломочных
материалов (высотой не менее 1,5 м) для смягчения ударов падающих камней. По
верху засыпки устраивается водоотводной лоток с уклоном 2 ‰ в обе стороны от
оси тоннеля, по которому вода сбрасывается в кюветы подходной выемки.
1.4.3 Конструкции
камер и ниш
Согласно действующим нормам в проектируемом тоннеле необходимо устройство
камер и ниш.
Камеры служат для укрытия людей, хранения материалов и размещения
эксплуатационного оборудования. Их располагают в шахматном порядке по обеим
сторонам тоннеля через 300 м.
Ниши также служат для укрытия людей и расположения в них различного
эксплуатационного оборудования. Они несколько меньше по размерам, чем камеры и
располагаются в шахматном порядке между ними через каждые 60 м.
1.5 Статический
расчет обделки тип 1
1.5.1 Определение
нагрузок на тоннельную обделку
Расчет необходимо выполнять с учетом наиболее неблагоприятных сочетаний
нагрузок. В курсовом проекте рассмотрено сочетание, когда на конструкцию
действует ее собственный вес и горное давление.
Нагрузка от горного давления .
Пролет свода давления:
L = B + 2H * tg(45 - jo / 2), (3.4.1)
L =
17,220+2*11,710 * tg( 45 - 72 / 2 )
=20,931 м .
Высота вывала:
h1 = L / 2fкр, (3.4.2)
где fкр - коэффициент крепости грунта (в
задании);
h1 =20,931/(2*4,5)=2,30 м.
Вертикальная нормативная нагрузка от горного давления определяется по
формуле :
gгрн = gгр * h1 (3.4.3)
где gгр - удельный вес грунта (в задании );
Кр - коэффициент работы горного массива для данного грунта
равный 1,2
g
=9,81 м/с2 ;
gгр=g*r=9,81*23=23 кН/м3.
qгрн =
23*2,3257=53,491 кН/м3 .
Горизонтальная
нормативная нагрузка от горного давления определяется по формуле :
Pгрн = (gгр*H + gгр*h1/2 )*tg2( 45-jo/2
), ( 3.4.4 )
Ргрн
= 23*(11,710+2,3257)*tg (45-72/2)=8,0983 кН
Вертикальная
расчетная нагрузка от горного давления :
q гр р = g1 p = gгрн * n1 , ( 3.4.5 )
где n1 - коэффициент надежности равный 1,4;
gгр
р = 53,491*1,4=74,8874 кН/м3
.
Горизонтальная расчетная нагрузка от горного давления определяется по
формул :
Ргр р = Ргрн * n2 , ( 3.4.6 )
где n2 = 1,2 ; (более невыгодное загружение конструкции)
Ргр р = 1,2*8,0983=9,718 кН .
Нагрузка от собственного веса конструкции .
Нагрузка от собственного веса определяется по проектному очертания и
материалу обделки .
Нормативная нагрузка от собственного веса :
gсвн =V*gБЕТ / B , ( 3.4.9 )
gсвн = 14,13*23/17,222=18,87 кН/м3 .
Расчетная нагрузка от собственного веса :
gсв р = gсвн
* n3 , ( 3.4.10 )
где n3 - коэффициент надежности равный 1,2 ;
gсв р = 1,2*18,87=22,645 кН/м3
1.5.2 Определение
усилий в обделке тоннеля с помощью программы TAN_2
При выборе расчетной схемы необходимо стремиться к тому, чтобы она
максимально точно отражала условия работы конструкции, инженерно-геологические
особенности и особенности материала обделки. Для расчета из сложной
пространственной конструкции обделки выделяют плоскую систему размером 1 м
вдоль продольной оси тоннеля.
В расчетной схеме по методу конечных элементов обделка представлена в
виде стержневой системы. Криволинейное очертание обделки заменяют вписанным
многоугольником, сплошная нагрузка сосредоточенными силами, а упругий отпор
грунта упругими опорами расположенными во всех вершинах многоугольника, кроме
зоны отлипания. Расчет ведется методом перемещений.
К расчету принимается половина обделки, а действие отброшенной части
заменяется постановкой ползунов.
В расчетной схеме учитываем наличие обратного свода при заданном
коэффициенте крепости грунта (f=4,5). Очертание обделки делим на четыре
элемента (по количеству кривых и прямых во внешнем очертании обделки). Каждый
элемент делим на 10-20 частей.
После получения результатов (эпюры M,N,R) выполняем их анализ. Здесь особое
внимание следует обратить на знаки эпюр М и N. В обделке подковообразного сочетания положительные моменты
обычно возникают в замковой части, отрицательные в области условных пят свода;
продольные силы во всех сечениях должны быть сжимающими.
1.5.3 Проверка
прочности сечений обделки
К опасным относятся сечения с максимальными по абсолютной величине
изгибающими моментами. В данном проекте выполняется проверка в трех сечениях.
Расчеты выполняются по предельным состояниям первой группы как для
внецентренно сжатых элементов в соответствии с нормами [3]. В расчет вводят
следующие коэффициенты условия работы бетона, учитывающие:
гb6 = 0,85 - попеременное замораживание и оттаивание (по
табл. 4.2 [1]);
гb9 = 0,9 - отсутствие рабочей арматуры;
гd1 =0,9 - отклонение расчетной модели от реальных
условий монолитных бетонных обделок;
гd3 = 0,9 - понижение прочности бетона в обделках без
наружной гидроизоляции на обводненных участках.
.5.3.1 Проверка прочности сечений обделки
К опасным относятся сечения с максимальными по абсолютной величине
изгибающими моментами. В данном проекте выполняется проверка в трех сечениях.
Расчеты выполняются по предельным состояниям первой группы как для
внецентренно сжатых элементов в соответствии с нормами [1]. в расчет вводят
следующие коэффициенты условия работы бетона, учитывающие:
гb6 = 0,9 - попеременное замораживание и оттаивание (по
табл. 4.2 [3]).;
гb9 = 0,9 - отсутствие рабочей арматуры;
гd1 =0,9 - отклонение расчетной модели от реальных
условий монолитных бетонных обделок;
гd3 = 0,9 - понижение прочности бетона в обделках без
наружной гидроизоляции на обводненных участках.
Расчет:
. Первое сечение. Замок.
Эксцентриситет приложения продольной силы, м.
зe0 = M/N (3.7)
Где M=119,098 кНм, - момент в
рассматриваемом сечении
N=395,6541
кН продольная сила в рассматриваемом сечении
з - коэффициент влияния прогиба конструкции на эксцентриситет
(для обделок з =1)
зe0 = 119,098 / 395,6541 = 0,301 м.
Проверка выполнения условия:
зe0 ≤ 0,225h (3.8)
где h - толщина обделки, м
,225h = 0,225∙0,6= 0,135.
Проверка не проходит.
е условие:
,225h<зe0 ≤ 0,45h
,45h=0,45∙0,6 =0,27м.
Проверка не проходит.
Применение бетонной конструкции недопустимо, требуется применять ж/б
обделку.
2. Второе сечение. Стена.
Эксцентриситет приложения продольной силы, м.
зe0 = M/N (3.9)
Где M=53,397 кНм, - момент в
рассматриваемом сечении
N=702,2139
кН продольная сила в рассматриваемом сечении
з - коэффициент влияния прогиба конструкции на эксцентриситет
(для обделок з =1)
зe0 = 53,397 / 702,2139 = 0,076 м.
Проверка выполнения условия:
зe0 ≤ 0,225h
где h - толщина обделки, м
,225h = 0,225∙0,9= 0,2025.
Проверка выполняется.
N ≤ Nпред = гb6 гb9 гd1 гd3 Rb bh /(1+2e0 з/h) (5.9)
где Nпред - предельно допустимая продольная
сила в данном сечении, кН
Rb - расчетное сопротивление бетона осевому сжатию для предельных состояний
первой группы, кН/м2 (см. табл. 3.1);
b = 1
м - расчетная ширина проверяемого сечения.
Проверка прочности.
Nпред = (0,85*0,9*0,9*0,9*8,5*106*1*0,6)/(1+2*0,076/0,9)=4055
кН
Величина продольной силы в данном сечении равна N = 702,2139 кН, что меньше предельного значения,
следовательно, проверка прочности в данном сечении удовлетворяется.
3. Третье сечение. Условная пята.
Эксцентриситет приложения продольной силы, м.
зe0 = M/N (3.7)
Где M=197,057 кНм, - момент в
рассматриваемом сечении
N=635,6732
кН продольная сила в рассматриваемом сечении
з - коэффициент влияния прогиба конструкции на эксцентриситет
(для обделок з =1)
зe0 = 197,057 / 635,6732 = 0,309 м.
Проверка выполнения условия:
зe0 ≤ 0,225h (3.8)
где h - толщина обделки, м
,225h = 0,225∙0,78= 0,1755.
Проверка не проходит.
е условие:
,225h<зe0 ≤ 0,45h
,45h=0,45∙0,78 =0,351м.
Проверка выполняется.
N ≤ Nпред = гb6 гb9 гd1 гd3 Rb bh (1-2e0 з/h)
Nпред = (0,85
0,9
0,9
0,9
8,5
106
1
0,78)/(1-2
0,309/0,78)=853,3 кН
Величина продольной силы в данном сечении равна N = 635,6732 кН, что меньше предельного значения,
следовательно, проверка прочности в данном сечении удовлетворяется.
Таблица 1.8 Проверка прочности сечений обделки №1.
|
Сечение
|
Продольная сила N, кН
|
Изгибающий момент M, кНм
|
Эксцентриситет приложения продольной силы e0, м
|
Предельно допустимая продольная сила Nпред, кН
|
Выводы и принятые решения
|
|
1.Замок
|
395,6541
|
119,098
|
0,301
|
-----
|
Проверка не проходит
|
|
2.Условная пята свода
|
635,6732
|
197,057
|
0,309
|
853,3
|
Проверка выполняется
|
|
3.Стена
|
702,2139
|
53,397
|
0,076
|
4055
|
Проверка выполняется
|
Расчёт рабочей арматуры в опасном сечение.
Из расчётов на прочность очевидно, что нужно принимать ж/б обделку.
Подбор рабочей арматуры выполняем рассматривая опасное сечение, в нашем случае
это замок.
Где M=119,098 кНм, - момент в
рассматриваемом сечении
N=395,6541
кН продольная сила в рассматриваемом сечении
e0 = 119,098 / 395,6541 = 0,301 м.
Величина
сжатой зоны:
(3.9)
Принимаем
что площадь конструктивной арматуры равна площади рабочей арматуры. Тогда:
(3.10)
Т.к
min процент армирования для этого сечения равен A0.5%=0,00175м2 принимаем его.
Количество
стержней на 1 метр:
(3.11)
В проекте мы принимаем: Рабочая арматура - стальная горячекатаная
периодического профиля класса АII d=16мм.
Расчетное
сопротивление при растяжении и сжатии:
Принимаем
9 стержней на 1 метр.
Расчёт
произведён по формулам указанным в [10].
1.6 Постоянные
сооружения
В данном разделе в сжатом виде характеризуются основные и функциональные
параметры принимаемых постоянных устройств в соответствии с требованиями [3].
1.6.1 Проезжая
часть
Материалы и конструкции дорожной одежды в проектируемом автодорожном
тоннеле должны соответствовать требованиям СНиП 2.05.02 для открытых участков
автомобильных дорог, установленным для опасных условий движения. Дорожная
одежда должна иметь деформационные швы в местах деформационных швов обделки тоннеля
и на выходах у порталов. Поперечный уклон проезжей части проектируется равным
20 ‰. Пространство под проезжей частью заполняется дренирующим грунтом.
1.6.2 Водоотведение
Согласно требованиям [3] в проектируемом тоннеле отвод воды, в том числе
от промывки тоннеля и пожаротушения, осуществляется с помощью чугунных
колодцев-трапов, расположенным по краям проезжей части через каждые 100 м. Из
них вода по чугунным трубам диаметром 150 мм отводится в центральный дренаж -
перфорированную керамическую трубу диаметром 150 мм, уложенную в траншее,
заполненной гранитным щебнем. Отвод воды осуществляется самотеком. Уклон дна
трубы соответствует продольному уклону тоннеля. По тем же требованиям в тоннеле
предусматриваются смотровые колодцы с отстойниками объемом 0,04 м3 и
размерами в плане 60x100 см, через
каждые 50 м. Для исключения распространения горящих нефтепродуктов по тоннелю
смотровые колодцы через 280 м имеют гидрозатворы (перепуски сифонного типа) с
отстойниками 0,2 м3. Такие же затворы предусмотрены в местах сброса
воды в сервисную штольню.
1.6.3 Вентиляция
тоннеля при его эксплуатации
Вентиляция тоннеля проектируется в соответствии с нормами [3] и должна
обеспечивать безопасную концентрацию вредных веществ, хорошую видимость,
температуру и влажность воздуха, уровень шума в тоннеле.
При данной длине тоннеля наиболее эффективна поперечная система
вентиляции с подачей и вытяжкой воздуха (со скоростью до 15-20 м/с) по
продольным каналам, расположенным за пределами габарита приближения строений и
оборудования. Воздух из приточного канала поступает со скоростью 3-5 м/с по
поперечным каналам и удаляется через вытяжные отверстия в вентиляционной
перегородке. Данная система дорогостоящая, однако, обеспечивает равномерное
проветривание, не подвержена действию естественной тяги воздуха, способствует
локализации возможных пожаров.
1.6.4 Электроснабжение,
электрооборудование, автоматика, сигнализация, связь
Питание электрической энергией силовых, осветительных и технологических
потребителей осуществляется на переменном токе промышленной частоты на
напряжение 380/220В от собственных трансформаторных подстанций с общими
трансформаторами для питания силовых и осветительных нагрузок.
Силовые и осветительные кабели прокладываются по одной стороне тоннеля, а
кабели слабого тока по другой.
Для защиты людей от поражения электрической энергией при повреждении
изоляции сетей и электроустановок применяется заземление, и устанавливаются
реле от утечек тока.
Для подключения ремонтных и других механизмов к электрической сети
напряжением 380/220 В устанавливаются шкафы через 120 м по длине тоннеля на
высоте 500-700 мм от ВПЧ по обеим сторонам.
Все электрооборудование должно быть выполнено в соответствии с «Правилами
устройства электроустановок».
Сигнализация о работе оборудования в тоннеле и притоннельных сооружениях
осуществляется автоматически, а управление им дистанционно.
У порталов для регулирования движения предусматриваются светофоры,
управляемые дистанционно. Предусмотрена также заградительная сигнализация,
запрещающая въезд в тоннель на случай аварийной ситуации и параллельное
автоматическое включение запрещающих сигналов от датчиков пожарной
сигнализации.
Также необходимо устройство телефонной связи. Телефонные аппараты
размещаются в камерах и нишах по обеим сторонам тоннеля.
Устраивается громкоговорящее оповещение с динамиками через каждые 120 м.
Также устанавливаются устройства теленаблюдения - мониторы через каждые
300 м.
1.6.5 Противопожарная
защита
Условия безопасной эвакуации людей при пожаре должны соответствовать ГОСТ
12.1.004.
Пожарные посты в тоннеле располагаются в камерах, нишах и у обоих
порталов. Запас пожарных материалов устраивают из расчета времени тушения
пожара - 3 часа. Напор в трубопроводах определяется из расчета добегания струи
до наиболее удаленного крана не более чем за 5 мин.
2.
Производство работ
Здесь и далее рассматривается технология работ при сооружении тоннеля на
участке тоннеля с вторым типом обделки.
2.1 Выбор и
обоснование способа сооружения тоннеля
При выборе способа сооружения тоннеля необходимо учитывать
инженерно-геологические особенности места строительства, длину тоннеля, его
размеры и конструкцию обделки согласно требованиям [3]. В данном проекте было
принято решение использовать при проходке способ нижнего уступа, так как высота
выработки более 10м, а коэффициент крепости более 4. Сначала разрабатывается
каллота высотой 8,5 м, затем нижняя штросса. Проходка верхнего уступа
осуществляется также как и при способе сплошного забоя. Грунт в забое
разрабатывается буровзрывным способом.
2.2
Разработка грунта
Разработка грунта ведется буровзрывным способом, как наиболее эффективным
в скальных грунтах по экономии и скорости проходки.
Бурение
шпуров
Для бурения шпуров в забое решено использовать буровую каретку на
пневмоколесном ходу УБШ - 532Д. Проектом предусматривается наличие двух таких
буровых установок из условия необходимости 1 бурильной машины на 10 м2
выработки.
Таблица 2.1 Техническая характеристика УБШ-662ДК
|
Показатели
|
Значения показателей
|
|
Зона бурения, м
|
Ширина
|
13
|
|
Высота
|
12
|
|
Количество бурильных машин (станков), шт
|
6
|
|
Диаметр шпуров (скважин), мм
|
46-50
|
|
Глубина бурения, м
|
4,0
|
|
Размеры, м
|
Ширина
|
3,5
|
|
Высота
|
4,2
|
|
Длина
|
13,56
|
|
Расход сжатого воздуха м3/мин
|
36
|
|
Масса, т
|
50
|
|
|
|
|
После выбора буровых установок необходимо определить количество шпуров в
забое, схему их расположения, расход взрывчатых материалов и составить паспорт
БВР.
Шпуровые
заряды и вруб
Шпуровые заряды делят на врубовые, отбойные, контурные и подошвенные.
Врубовые заряды взрываются первыми с целью образования в тоннеле вруба
облегчающего работу последующих зарядов. Вруб размещается в центральной части
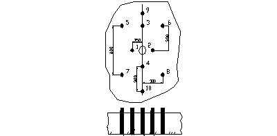
забоя. В данном проекте применяется прямой с центральной скважиной вруб. Его
схема дана на рисунке 2.1.
Таблица 2.2 Характеристики вруба.
|
Число шпуров и скважин
|
10+1 скв. 105 мм.
|
|
Глубина шпура, не менее, м
|
2,5
|
|
Площадь вруба. кв. м
|
0,5
|
|
Число степеней замедления при взрыве
|
3
|
Рис 2.1 Конструкция прямого вруба с центральной скважиной.
2.3
Взрывчатые вещества и средства инициирования
Для разработки грунта в проекте используются патронированные взрывчатые
вещества (ВВ). В данных геологических условиях (f = 12,5) для контурных шпуров применяется аммонит № 6ЖВ, для
остальных - скальный аммонит № 1.
Таблица 2.3 Характеристики используемых ВВ.
|
Наименование ВВ
|
Расстояние передачи детонации, см
|
Плотность, кг/м3
|
Характеристики патронов ВВ
|
Коэффициент работоспос
|
|
|
|
Диаметр, мм
|
Масса, г
|
Длина, мм
|
|
|
Аммонит скальный №1
|
5-12
|
1500
|
36
|
250
|
250
|
0,8
|
|
Аммонит № 6ЖВ
|
5-9
|
1100
|
32
|
200
|
240
|
1,0
|
При проходке используется электрический способ инициирования. Для
врубовых зарядов применяются электродетонаторы мгновенного действия, для
остальных - электродетонаторы коротко замедленного действия ЭДКЗ с интервалами
замедления 25;50;75;100;150;250 мс или ЭДКЗ-ПМ (15,30,45,60,80,100,120 мс).
Схема соединения зарядов - последовательная. В качестве источников тока
используют сетевые или конденсаторные взрывные приборы КПМ-3.
При контурном взрывании для врубовых и отбойных шпуров применяют сплошные
шпуровые заряды с установкой патрона-боевика в устье шпура (прямое
инициирование).
Для контурных шпуров применяют заряды специальной конструкции: в донной
части шпура размещают два патрона ВВ повышенной бризантности, остальные патроны
с ВВ пониженной бризантности - и иногда уменьшенной до 100 г массы - отделяются
друг от друга деревянными прокладками; длину забойки уменьшают до 0,15-0,2
длины шпура. Если толщина прокладок больше расстояния передачи детонации, все
патроны соединяют детонирующим шнуром (ДШ).
2.4 Расчет
параметров БВР для контурного взрывания
Цель данного расчета - определение глубины и количества шпуров, массы
зарядов, установление схемы расположения шпуров. Окончательное количество
шпуров и массы зарядов устанавливаются после 2-3 пробных взрывов.
1. Назначаем
глубину заходки
= 3 м, так как
>6
. Определяем
глубину комплекта шпуров
,
где
- коэффициент использования шпура
=0.85
lk =
3 / 0.85 = 3.529 м
. Определяем
средний удельный расход ВВ, кг/м
, по
формуле ЦНИИСа:
,
где
- площадь забоя, м
;
-
коэффициент работоспособности ВВ;
-
коэффициент влияния плотности заряжения (для патронированных ВВ
=1,1);
-
коэффициент учета структуры и трещиноватости скальных грунтов,
= 1.0.
S = 81.2м
q0
= (0.3√ 12,5+ 2 / √110 )*1*1.1*1.0 = 1,38
кг/м
4. Определяем линию наименьшего сопротивления (ЛНС) отбойных зарядов, м:
,
где
- коэффициент зажима
=0,7;
-
диаметр заряда ВВ, м
=0,032 м;
-
плотность ВВ,
=1500 кг/м
;
-
плотность грунта, кг/м
=2700 кг/м
.
.
Количество контурных шпуров определяется по формуле:
Nk = Pk +1
ak
где Рк = 25,1 м - периметр выработки по линии шпуров ;
ак = 0.3 м - расстояние между контурными шпурами .
Масса контурного заряда :
qк = lк * Kк ,
где lк = 3.529 м - линейная длина контурного заряда ;
Кк = 0.2 кг/м - линейная масса заряда .
qк = 3.529 * 0.2 = 0.706 кг .
Количество подошвенных шпуров :
Nп = Pп + 1 ,
aп
где Рп =15,682 - ширина подошвы выработки ;
ап = 0.696 - расстояние между подошвенными шпурами .
Nп =15,682/0.696+1 = 24
Масса подошвенного заряда :
qnод = qотб ,
Количество отбойных шпуров :
Nотб = 1,27*g*Sотб ,
d2*kзап*D*kD
где kзап = 0,8 - коэффициент заполнения шпура
;
kD = 1 - коэффициент уплотнения при заряжении
для патронированных зарядов ;
Sотб = S - ( Pк*aк + W * Pп + Sвр ) = 77.08 м2 ;
mc
Sотб = 109,8 - (25*0.3 +0,87 *15,682+0.5) = 79 м2
;
0,6
Sвр = 0.5 м2 - площадь
сечения вруба ;
q
=1.2*q
;
q
=1.2*2.086 =2.59 кг.
т
= 0,8 - коэффициент сближения контурных
зарядов
, учитывающий крепость грунта .
Nотб = 1,27*1,38* 79 = 113
0,0322*0,8*1500*1
Масса отбойного заряда :
qотб = q*S*lзах - qк*Nк
N - Nк
qотб = 1,8*110*3 - 0.706*84 = 4,21
кг
211-84
Общее количество ВВ сплошного забоя на заходку находится по формуле :
N = Nк + Nп + Nотб + Nвр ,
N =
64+24+113+10= 211
Таблица 2.4 Таблица шпуровых зарядов для забоя калотты.
|
Виды шпуров:
|
Количество шпуров n, шт:
|
Угол наклона шпура к оси тоннеля, град.
|
Масса заряда в одном шпуре, кг.
|
Масса заряда в n шпурах, кг.
|
|
Контурные
|
64
|
7
|
0,71
|
45,44
|
|
Подошвенные
|
24
|
7
|
4,21
|
101,04
|
|
Отбойные
|
113
|
0
|
4,21
|
475,73
|
|
Врубовые
|
10
|
0
|
2,59
|
25,9
|
|
Всего:
|
211
|
-
|
-
|
648,11
|
Расчет
параметров БВР штроссы
1) Применяем метод нисходящих скважин;
Тип ВВ - Аммонит 6ЖВ;
)Определяем линию наименьшего сопротивления (ЛНС) отбойных зарядов, м:
, (2.5)
где dc - диаметр скважины, для Н<4м dc=0,05м; сс - плотность ВВ
в скважинах, кг/м3; б - угол наклона скважины к горизонту, б=70°.
м.
)Определяем
количество скважин и массу зарядов по формулам (таблица14).
Таблица
14 - Формулы для расчета параметров БВР нижнего уступа
|
Виды скважин
|
Количество скважин
|
Масса заряда
|
Расстояние между
скважинами
|
|
Основные
|
 
|
|
|
|
Контурные
|
 
|
|
|
|
Всего
|
N = Nк + Nп
|
|
|
В этих формулах приняты следующие обозначения:
В - ширина уступа,
В=7,122м;
Lз=(3…6)Wc - глубина заходки,
Lз=11,16м;
lз=(lскв-lзаб)(1,15…1,35) - длина заряда
ВВ, lз=3,76м; lскв=(H+lпер)/sinб - длина скважины,
lскв=5,49м;
lзаб=Wc -длина забойки,
lзаб=2,48м; lпер=(0,3…0,4)Wc - глубина переруба,
lпер=0,744м; гк - линейная
масса ВВ в контурных зарядах, для слабых грунтов гк=0,2кг/м; mc=1 - коэффициент сближения скважин.
Таблица 2.5 Таблица шпуровых зарядов для уступа.
|
Виды скважин:
|
Количество скважин
|
Масса заряда в одном шпуре, кг.
|
Расстояния между скважинами в ряду, м
|
|
Основные
|
27
|
1.97
|
1.76
|
|
Контурные
|
12
|
1.008
|
1.056
|
|
Всего:
|
39
|
65.3
|
-
|
Схема расположения шпуров по площади забоя показана на чертеже (Лист 3).
2.5 Паспорт
БВР
В проекте разрабатывается упрощенный паспорт БВР, включающий схему
расположения шпуров в трех проекциях, конструкции зарядов ВВ и таблицы
показателей взрывания.
Таблица 2.6 Условия и показатели взрывания забоя
|
Наименования показателя
|
Величина
|
|
1. Сечение выработки, м2.
|
110
|
|
2. Крепость грунта f
|
12,5
|
|
3. Глубина заходки, м
|
3
|
|
4. К.И.Ш. h
|
0,8
|
|
5. Глубина комплекта шпуров, м
|
3,53
|
|
6. Общее кол-во шпуров, шт.
|
113
|
|
7. Тип ВВ: -на заходку, кг. -удельный расход, кг/м3.
|
Аммонит №6ЖВ 648,11 0,68
|
Скальный аммонит №1 65,3 0,55
|
|
8. Выход грунта за взрыв, м3.
|
330
|
|
9. Тип СВ и кол-во шт.
|
КПМ-3 - 1шт.
|
|
10. Буровые механизмы и инструмент.
|
УБШ-662ДК
|
Рис 2.2 Конструкция отбойных и врубовых зарядов.
Рис 2.3 Конструкция контурного заряда.
Таблица 2.7 Условия и показатели взрывания уступа
|
Наименования показателя
|
Величина
|
|
1. Площадь уступа, м2.
|
30
|
|
2. Длина заходки, м
|
5,3
|
|
3. Объем взорванного грунта, м3
|
108
|
|
4. Коэффициент крепости, f
|
6
|
|
5. Высота уступа, м
|
1,84
|
|
6. Длина, м / диаметр, мм, скважины
|
2,25 / 32
|
|
7. Угол наклона, град
|
70
|
|
8. Удельный расход ВВ, кг/м3
|
0,6
|
|
9. Удельный расход бурения, м/м3
|
1.83
|
|
10. Время проветривания, мин
|
30
|
Временная
крепь
Для временного крепления выработки в проекте решено применить анкерную
крепь. Согласно нормам данный вид крепи подходит к заданным
инженерно-геологическим условиям, т.е. для трещиноватых и слабо обводненных
грунтов с коэффициентом крепости f =
12,5 (кварцит).
Вид анкера также определяется исходя из геологии места строительства. В
проекте применяются цельнометаллические клинощелевые анкеры, имеющие наибольшее
распространение, простые и дешевые в изготовлении. Клинощелевой анкер с
вставленным в прорезь на 20-30 мм клином вводят в шпур и для создания
предварительной расклинки досылают до конца шпура резким движением. Затем анкер
забивается, после чего на выступающий конец надевается опорная шайба 100x100x8 мм с сеткой и завинчивается гайка. Анкер забивается
отбойным молотком снабженным специальной насадкой. Время забивки 5 -10 с. Сразу
после установки анкер натягивается для предотвращения расслоений и частичного
расслоения и частичного восстановления первоначального напряженного состояния
грунта. Величина натяжения не менее 40 кН. Для затяжки используется ключ длиной
0,7 м. Анкера применяются в сочетании с металлической сеткой из проволоки
диаметром 4 мм с ячейками 50x50
мм.
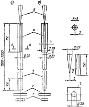
Рис. 2.4 Конструкция клинощелевых анкеров:а-сплошной; б-составной;
1-гайка; 2-опорная шайба; 3-стержень;4- прорезь; 5-клин; 6-контактная сварка
В курсовом проекте производится расчет анкерной крепи в сводчатой части
выработки по расчетной схеме для массивных, сложенных слаботрещиноватыми
скальными грунтами, в которых непосредственно прилегающая к выработке
неустойчивая часть грунта подвешивается анкерами к более прочной и устойчивой
части массива.
. Рабочая длина анкера Lp.
Lp = 0,75 ( B / f ) кт (2.1)
кn - коэффициент учитывающий
трещиноватость грунта, принят равным 1.
Lp = 0,75 * (16/12,5) = 0,96 м.
Принимаем Lp = 1
м.
. Длина заделки анкера Lз.
Lз = 0,25 Lp (2.2)
Lз = 0,25 * 1 = 0,25 м.
. Шаг анкеров a.
a = (Na / 1,5 г Lр )1/2 (2.3)
Na - несущая способность анкера, 90 кН.
г - плотность грунта, 2,7 т/м3.
a =
(90 / 1,5 *2,7*1)1/2 = 4,71 м.
Согласно теории расчета, если шаг анкеров получился больше его рабочей
длины, то принимаем не более Lp.
Принимаем шаг анкеров равным 1 м.
. Расчетная нагрузка на анкер.
p =
1,5 г a2 Lp (2.4)
p =
1,5 * 2,7 * 12 * 2 = 4,05
. Минимальный диаметр стержня.
da = 2 (p/рRa)1/2 (2.5)
Ra - расчетное сопротивление стали на растяжение, 210 МПа.
d = 2
* (4,05/ 3,14 * 210*103)1/2 = 0,005 м = 5 мм.
Принимаем диаметр анкера 25 мм.
Анкеры устанавливают радиально поверхности свода. Это обеспечивает
образование над выработкой грунтового свода, способного воспринять давление
вышележащих грунтов и надежно закрепить выработку.
Расстояние между рядами анкеров увязывается с продвижением забоя и
принимается равным от Lзах/ 3 до Lзах/ 2. В проекте оно принято равным 1 м.
Анкер устанавливают в шпур диаметром 32 + 1 мм. Для его бурения
также используется буровая каретка УБШ-532Д.
Следует также заметить, что после проходки установленная анкерная крепь
выполняет функцию постоянной крепи совместно со слоем набрызгбетона.
2.6 Погрузка
и транспорт грунта
Погрузка грунта производится после взрывания грунта и по
продолжительности одна из наиболее длительных операций. Поэтому при выборе
породопогрузочной машины необходимо обеспечить уборку грунта в минимальные
сроки с минимальной трудоемкостью.
Согласно рекомендациям [2] в выработках пролетом более 6 м рекомендуется
применять погрузочные машины на гусеничном или пневмоколесном ходу, имеющие
неограниченный фронт погрузки.
Этим требованиям удовлетворяет породопогрузочная машина непрерывного
действия ПНБ-3Д, лишенная недостатка цикличности работы и обладающая достаточно
высокой производительностью и маневренностью.
Таблица 2.8 Технические характеристики ПНБ-3Д
|
Минимальные размеры выработки. М: ширина высота
|
3,7 2,5
|
|
Производительность, м3/ч
|
240
|
|
Фронт погрузки
|
Не ограничен
|
|
Ходовая часть
|
Гусеничная
|
|
Емкость двигателя, кВт
|
94
|
|
Высота разгрузки, мм
|
2600
|
|
Габариты, мм длина ширина высота (с поднятым ковшом)
|
9600 2700 1900
|
|
Масса, т
|
25,84
|
Для транспорта грунта решено применять автосамосвал КамАЗ-5511
оборудованный газонейтрализатором. При данной длине тоннеля такой выбор
наиболее предпочтителен. Выбор КамАЗа обусловлен относительной дешевизной
данного автомобиля и высокими техническими характеристиками.
Таблица 2.9 Технические характеристики МоАЗ-6401-9585
|
Грузоподъемность, т
|
20,0
|
|
Вместимость кузова, м3
|
11,0
|
|
Собственная масса. Т
|
18,0
|
|
Полная масса, т
|
38,0
|
|
Радиус поворота, м
|
7,3
|
|
Максимальная скорость, км/ч
|
40
|
|
Мощность двигателя, кВт
|
139,7,4
|
2.7
Производительность проходческого оборудования
Буровое
оборудование
Породопогрузочные
машины
Транспортные
средства
Время оборота автосамосвала, мин:
,
где
- время погрузки, мин
=1.41*11.0*0,9=13.95
мин;
- время движения самосвала, мин, здесь
- расстояние от породопогрузочной машины до места
разгрузки, м;
- скорость движения груженого автотранспортного
средства
=225 м/мин;
-
скорость движения порожного автотранспортного средства
=250 м/мин;
Tдв = 2*2200/(200+250) = 9,78 мин;
Tразгр =3 мин - время разгрузки самосвала;
Tман = 10 мин - время на маневры в течении рейса;
Tобор = 7,67+9,78+3+10=30,45 мин
Необходимое
количество самосвалов
,
Nc
=30,45 / 7,67 = 4
Учитывая
необходимый резерв на случай задержки разгрузки, ремонта и т. д., принимаем
количество самосвалов на 1 штуку больше, то есть Nc =
5.
Окончательное
количество транспортных средств принимается с учетом необходимого резерва на
случай задержки разгрузки, ремонта и т.д.
2.8
Возведение тоннельной обделки
Набрызгбетон наносится на поверхность выработки слоями по 5-6 см, под
давлением 0,4-0,5 МПа действием сжатого воздуха, при этом покрытие следует
наносить горизонтальными полосами последовательно снизу вверх, равномерно
перемещая сопло по спирали вдоль полосы. Длина участка бетонирования и
соответственно длина и ширина горизонтальных полос на этом участке принимаются
в зависимости от организации проходческих работ, технических параметров и
возможностей манипулятора. В данном проекте используется «сухая технология»,
когда увлажнение смеси, состоящей из цемента, крупного и мелкого заполнителя,
происходит только при вылете из сопла нагнетательной машины.
Оборудование для его нанесения состоит из следующих устройств:
- смесителя, обеспечивающего приготовление и перемешивание
сухой смеси;
- машины для нанесения набрызгбетона «Алива-600»;
- пневмобетононагнетателя;
- устройства для механизации и обеспечения безопасности ведения
работ;
- вспомогательной тележки на рельсовом ходу.
Для приготовления и перевозки сухой смеси до места производства работ
используется специальный транспорт на базе КамАЗ-5511.
Передвижение бетонной смеси к машине для нанесения набрызгбетона
осуществляется при помощи пневмобетононагнетателя ПБН-3.
Таблица 2.6 Технические пневмобетононагнетателя ПБН-3
|
Вместимость сосуда, м3
|
3
|
|
Расстояние нагнетания, м: по горизонтали по вертикали
|
160 15
|
|
Расход сжатого воздуха, м3/мин
|
0,8-1,5
|
|
Время выгрузки бетона, мин
|
5
|
|
Ширина колеи, мм
|
600
|
|
Мощность. кВт
|
11,65
|
|
Масса, т
|
6,58
|
Нанесение набрызгбетона осуществляется при помощи специальной машины со
шлюзовым барабаном Алива-600. Это наиболее современная из существующих машин
для нанесения набрызгбетона.
Машина устанавливается на вспомогательную тележку на рельсовом ходу.
Следует заметить, что данная схема нанесения набрызгбетона дорогостояща и
требует устройства в тоннеле рельсовой колеи, но она значительно оправдывает
себя с точки зрения качества выполняемых работ. Поэтому был сделан такой выбор.
Перед нанесением набрызгбетона поверхность выработки обрабатывается,
продувается сжатым воздухом (возможно использование песка). Для этой цели
используется машина для нанесения набрызгбетона. Набрызгбетон наносится в
направлении снизу вверх отдельными полосами, при этом сопло находится на
расстоянии 0,9-1,2 м от поверхности выработки.
В процессе нанесения струя набрызгбетона должна быть направлена
перпендикулярно к бетонируемой поверхности, а расстояние от сопла до этой
поверхности-в пределах 0,7-1,5 м. Толщину набрызгбетонного покрытия следует
контролировать с помощью специальных маяков (из цементного теста либо в виде
металлических штырей), устанавливаемых в наиболее характерных точках сечения
тоннеля, или с помощью передвижных лекал, а также маркшейдерскими замерами. При
нанесении покрытия следует обеспечивать перекрытие свежим слоем ранее
уложенного покрытия на величину не менее 20 см.
Набрызгбетон в период схватывания и твердения должен быть предохранен от
замораживания, высыхания, сотрясений, механических повреждений и химических
воздействий до набора прочности не менее 0,1 МПа.
Набрызгбетон через сутки после нанесения необходимо увлажнять распыленной
струёй воды не менее 2 раз в сутки в течение 7 дней. При относительной
влажности воздуха в тоннеле более 90% допускается поливать набрызгбетон 1 раз в
сутки. При снижении температуры воздуха ниже плюс 5°С увлажнять набрызгбетон не
требуется. Для предохранения поверхности набрызгбетона от высыхания рекомендуется
покрыть ее раствором эмульсии или лака (поливинилацетатной эмульсией ПВА,
поливинилхлоридной эмульсией ПВХ, этиленовым лаком и т. п.), наносимыми методом
распыления.
Качество набрызг-бетона и работ по его нанесению контролируется главным
инженером.
2.9
Циклограмма проходки тоннельной выработки
Циклограмма проходки тоннельной выработки является документом отражающим
последовательность выполнения операций проходческого цикла, продолжительность
этих операций, необходимое число рабочих. При составлении циклограммы
использовались данные сооружения тоннелей в соответствующих условиях [6] и
расчеты производительности проходческого оборудования. Работы ведутся
непрерывно в 4 смены по 6 часов на протяжении 6 дней в неделю.
2.10
Вспомогательные работы
Кроме основных работ предусмотренных при сооружении тоннеля существуют
вспомогательные работы, обеспечивающие их производство, а также безопасность.
Вентиляция
выработки в период строительства.
Объем проветривания определяется исходя из наибольшего количества людей,
одновременно находящихся в подземной выработке, включая бригаду проходчиков;
минимальной скорости движения воздуха; объема ядовитых газов, образующихся при
взрывных работах; объема вредных газов, выделяемых двигателями внутреннего
сгорания.
Таблица 2.7 Формулы для определения объемов проветривания Q, м3/с.
|
Фактор вредности
|
Расчетная формула
|
|
Количество людей
|
Q = 1.1 q z / 60
|
|
Минимальная скорость воздуха
|
Q = vmin S
|
|
Газы взрывания
|
Q = 4.1 lст S / t lg(a lk г/ S1/2
)
|
|
Газы двигателей внутреннего сгорания
|
Q = k1k2 / Ck (mqг Сог + (qг Сог + qп Cоп )(L/Tпогрv + 0.25))
|
В этих формулах:
q = 6
м3/мин - норма подачи воздуха на 1 чел.;
z -
расчетное количество людей (6 человек);
vmin = 0.1 м/с - минимальная скорость движения воздуха для
выработки S>25 м2;
lст = 18.7 S1/2(w/S)1/3 - длина свободной
струи, м;
w -
площадь сечения вентиляционной трубы (диаметр трубы примем 1.2 м);
t =
1800 c - время проветривания после взрыва;
a = 48
- коэффициент учета площади сечения;
lk = 3.53 м - длина комплекта шпуров;
г = 2,7 т/м3 - плотность взрываемого грунта;
k1 = 1.7 - коэффициент концентрации
выхлопных газов при длине выработки менее 2 км;
k2 = 0.75 - коэффициент поглощения
выхлопных газов в увлажненных грунтах;
Cк = 1.6*10-5 - объемная
предельно допустимая концентрация окиси углерода ;
m = 2
- число автомашин одновременно находящихся в забое;
qг = qг = 8.6*10-2 - расчетное выделение выхлопных газов
гружеными и порожними машинами;
Cог = 1.4*10-3 и Cоп = 1.2*10-3 - начальные
концентрации окиси углерода в выхлопных газах груженых и порожних автомашин с
нейтрализаторами;
L =
429 м - длина выработки
Tпогр = 767 с - время погрузки одной
машины.
v = 4
м/с - скорость движения автомашины по выработке.
. Количество людей
Q
=1,1*6*6/60 = 2,2 м3/с
. Минимальная скорость воздуха
Q
=0,1*130 = 13 м3/с
. Газы взрывания
lст =18,7*1301/2 *((3,14*1,22
/ 4) / 130)1/3 = 43,8 м
Q
=4,1*43,8*130/1800* lg(48*3,53*2,7/1301/2)
= 17,5 м3/с
. Газы двигателей внутреннего сгорания
Q
=1,3*0, 5/1,6*10-5 *(2* 8,6*10-2 * 1,4*10-3
+ (8,6*10-2 * 1,4*10-3 + 8,6*10-2
* 1,2*10-3 )* (3200/ (767*4) + 0,25) = 30,4 м3/с
В качестве расчетного проветривания принимаем величину
Qp = KQ (2.7)
K =
1,2 - коэффициент учитывающий систему вентиляции (в данном случае для вытяжной)
Q =
17,5 м3/с - максимальное из посчитанных значений.
Qp = 1,2* 17,5 = 21 м3/с.
Необходимая производительность вентилятора:
Qв = pQp (2.8)
где p = 1+ 0,5 L - коэффициент потерь по длине трубы;
L =
3,2 км - длина вентиляционной трубы.
p = 1
+ 0,5 * 3,2 = 2,6
Qв =21* 2,6 = 65,52 м3/с.
На основании полученного значения выбираем тип вентилятора по прил. 18
[2]. Данной производительности удовлетворяет центробежный вентилятор ВЦД - 16.
Таблица 2.8 Технические характеристики вентилятора ВЦД-16
|
Диаметр рабочего колеса, мм
|
1600
|
|
Производительность, м3/с
|
22-80
|
|
Давление, даПа
|
380-140
|
|
Мощность электродвигателя, кВт
|
240
|
|
Габаритные размеры, мм: длина ширина высота
|
8630 7070 6860
|
|
Масса, т (без электродвигателя)
|
2.11
Освещение, энергоснабжение
Подземная выработка оснащается установками общего освещения в
соответствии с требованиями соответствующих нормативных документов.
Электрическое освещение подразделяется на рабочее и аварийное (не менее 3 лк,
для продолжения работы при отключении рабочего освещения), эвакуационное (не
менее 0,5 лк, для эвакуации людей при отключении рабочего освещения) и охранное
(вдоль границ территорий, охраняемых в ночное время).
Сети рабочего и аварийного освещения раздельные.
Освещение рабочих мест на проходческих машинах и механизмах, применяемых
в подземной выработке, создается стационарными светильниками, встроенными в
корпус машин и механизмов или закрепленными на них. Для освещения забоя и
других рабочих поверхностей используются стационарные и переносные, а также
ручные осветительные приборы. Светильники общего освещения устанавливаются на
высоте не менее 2,5 м.
Водоотлив
При проходке выработки на подъем как в случае данного проекта водоотлив
осуществляется самотеком по водоотводной канавке, располагаемой вдоль стены
выработки.
3.Охрана
окружающей природной среды
При сооружении тоннеля предусматривается охрана сооружений и окружающей
природной среды от вредного влияния горных работ.
Основные охранные мероприятия:
1. Наблюдение за проявлением горного давления и сдвижением горных
пород с определением опасных зон.
2. Уточнение гидрогеологических данных для повышения эффективности
осушения выработки.
. Запрещение ведения работ в границах опасных зон прорыва воды,
глины, пульпы, вредных газов.
. Обеспечение здоровья и безопасности жизни населения. Охрана атмосферного
воздуха, земель, лесов, объектов окружающей среды. Очистка сточных вод в
специальных очистных сооружениях.
. Мероприятия, препятствующие эрозии почв. Безопасный отвал
грунта.
Список
использованной литературы
1. Проектирование тоннелей сооружаемых горным способом.
Методические указания по курсовому проектированию для студентов факультета
«Мосты и тоннели» / Сост. А.К. Поправко, Б.Е. Славин, Ю.Н. Третьяков, Г.Н.
Полянкин, Ю.Н. Савельев. Часть 1. Новосибирск, 1999. 26 с.
2. Производство работ при строительстве тоннелей,
сооружаемых горным способом. Методические указания по курсовому проектированию
для студентов факультета «Мосты и тоннели» / Сост. А.К. Поправко, Б.Е. Славин,
Ю.Н. Третьяков, Г.Н. Полянкин, Ю.Н. Савельев. Часть 2. Новосибирск, 1999. 26 с.
. СНиП 32-04-97. Нормы проектирования. Тоннели
железнодорожные и автодорожные.
. Тоннели и метрополитены / Под ред. В.Г. Храпова. М.,
1989. 383 с.
. Справочник инженера-тоннельщика / Под. ред. В.Е.
Меркина, С.Н. Власова, О.Н. Макарова. М., 1993. 389 с.
. Технологические карты-схемы сооружения горных
транспортных тоннелей / Минтрансстрой СССР. М., 1985. 266 с.
. Пособие по производству и приемке работ при
сооружении горных транспортных тоннелей / Под. ред. В.Е. Меркина, С.Н. Власова.
Минтрансстрой СССР. М., 1989. 232 с.
. Л.В. Маковский. Проектирование автодорожных и
городских тоннелей. М.: Транспорт, 1993. 352 с.
. Методические указания по оформлению курсовых и
дипломных проектов по тоннелям и метрополитенам / Сост. А.К. Поправко, Ю.Н.
Третьяков, В.С. Молчанов. Новосибирск, 1983. 43 с.
. ВСН 126-90. Крепление выработок набрызг-бетоном и
анкерами при строительстве транспортных тоннелей и метрополитенов.
Приложение А
Результаты расчета поперечного сечения обделки в программе TUN_2.
Таблица усилий в стержнях.
Приложение Б
Результаты расчета поперечного сечения обделки в программе TUN_2.
Общий вид эпюр внутренних усилий.
Эп М
Эп N
Приложение В

Приложение Г