Сооружение тоннеля горным способом

  • Вид работы:
    Курсовая работа (т)
  • Предмет:
    Другое
  • Язык:
    Русский
    ,
    Формат файла:
    MS Word
    109,5 Кб
  • Опубликовано:
    2012-10-29
Вы можете узнать стоимость помощи в написании студенческой работы.
Помощь в написании работы, которую точно примут!

Сооружение тоннеля горным способом

Содержание

Введение

Часть I. Элементы тоннеля

.1 Исходные данные к проекту

.2 Трассирование линии. Обоснование продольного профиля

.3 Определение длины тоннеля

.4 Расчет искусственной вентиляция тоннеля

.5 Обоснование конструктивного решения порталов

.6 Проектирование тоннельных конструкций. Выбор и технико-экономическое обоснование конструктивных решений обделок

.7 Дополнительные устройства в тоннеле

.8 Определение несущей способности обделки на участке с крепостью грунта f=4

Часть II. Производство работ по сооружению тоннеля

.1 Выбор способа производства работ

.2 Буровзрывные работы

.2.1 Определение параметров буровзрывных работ

.2.2 Буровое оборудование

.3 Временное крепление выработки

.4 Погрузка и транспорт породы

.5 Организация работ в забое, определение параметров проходческого цикла

.6 Расчёт объёма работ, определение стоимости тоннеля

.7 Мероприятия по охране труда и технике безопасности

Список используемой литературы

Введение

Тоннели в течение всего срока службы (по ГОСТ 27.002) должны удовлетворять требованиям бесперебойности и безопасности движения транспортных средств, экономичности и наименьшей трудоемкости содержания строительных конструкций и постоянных устройств, обеспечения здоровья и безопасных условий труда обслуживающего персонала, а также требованиям охраны окружающей среды.

Железнодорожные тоннели следует отнести к I повышенному уровню ответственности сооружений, отказы которых могут привести к тяжелым экономическим, социальным и экологическим последствиям.

Сооружение тоннелей осуществляется по утвержденным проектам организации строительства и производства работ, разработанным в соответствии с требованиями СНиП 3.01.01. Проекты предусматривают механизацию основных наиболее трудоемких строительно-монтажных работ и содержат планы ликвидации возможных аварий.

Часть I. Элементы тоннеля

.1 Исходные данные к проекту

В данной курсовой работе разрабатывается проект однопутного железнодорожного тоннеля, сооружаемого горным способом. В состав проекта входит разработка тоннельных конструкций и способов производства работ. Поведенные в работе расчеты выполнены в соответствии с указаниями СНиП 32-04-97 «Тоннели железнодорожные и автодорожные».

Основные физико-механические свойства грунтов, составляющих горный массив, приведены в таблице.

Наименование пород и грунтов

Коэффициент крепости, f

Объемная масса, т/м3

Кажущийся угол внутреннего трения

Коэффициент удельного отпора, Ко, кг/см3

Сланцы, крепкие, трещиноватые

4

2,8

70

200

Анезит, трещиноватый

8

2,5

80

400

Сланцы глинистые, сильно трещиноватые

2

2,4

65

100


Тоннель железнодорожный однопутный;

Радиус кривой -1100 м;

Руководящий уклон - 11‰ .

1.2 Трассирование линии. Обоснование продольного профиля

Применение тоннелей на высокогорных участках железнодорожных и автодорожных линий расширяет возможности их трассирования и улучшает условия эксплуатации. План и профиль пути в тоннеле проектируют по нормам, установленным для открытых участков трассы с учетом особенностей, связанных с расположением линий в подземной выработке.

Рекомендуется располагать тоннели на прямых участках пути, так как тоннели, расположенные на кривых, имеют существенные недостатки. К ним относятся: необходимые уширения габаритов приближения строений на кривых, вызывающих увеличение размеров выработки и объема работ по сооружению тоннельной обделки; усложнение подземной разбивки оси тоннеля, увеличение износа рельсов (особенно на кривых малых радиусов), находящихся во влажном воздухе тоннеля в неблагоприятных условиях; ухудшение условий вентиляции. Однако в ряде случаев расположение тоннелей на кривых является неизбежным.

Для сокращения длины тоннеля, уклоны на подходах к нему принимаются максимально допустимые. Внутри горного массива уклоны применяются минимальными с целью улучшения условий эксплуатации. По условию отвода воды из тоннеля imin=3 ‰.

Максимальный уклон в железнодорожном тоннеле назначается смягченным по сравнению с максимальным уклоном открытой трассы. Это связано с уменьшением сцепления подвижного состава с рельсом из-за повышенной влажности в тоннеле и большого сопротивления воздуха подвижному составу.

Коэффициент смягчения уклона m зависит от длины тоннеля. При длине тоннеля от 1 до 3 километров коэффициент смягчения m=0,85.

Уклон в тоннеле определяется как:

iт = m · iр - iэкв

гдеiр- руководящий уклон;

iэкв - уклон, эквивалентный сопротивлению движения на кривой; в курсовом проекте iэкв=1‰.

В нашем случае:

• Уклон на подходах к тоннелю

iт = т· iр - iэк = 0,85·11-1=8,35 ‰

Принимаем смягчённый уклон на подходе к тоннелю iт=8 ‰;

• Уклоны в тоннеле принимаем равными 3 ‰ (смягчение на кривой не требуется).

.3 Определение длины тоннеля

Окончательная длина тоннеля определяется из места нахождения порталов. Она определяется исходя из равенства стоимости 1п.м. выемки 1 п.м. тоннеля.

Опыт проектирования и эксплуатации тоннеля показывает, что максимальная глубина выемки, которая принимается в грунтах с коэффициентом крепости f=0,5-3 составляет Hmax=10-15 метров, а в грунтах с коэффициентом крепости f>3 составляет Hmax=15-25 метров.

С учётом всех этих требований западный портал тоннеля устраиваем на пикете ПК1804+10,00, а восточный портал - на пикете ПК1817+40,00. Полная длина тоннеля составляет Lт=1330,00метров.

.4 Расчет искусственной вентиляция тоннеля

Целью проектирования вентиляции тоннелей является разработка мероприятий, обеспечивающих подачу в тоннель чистого воздуха в таком количестве, при котором вредные газовые примеси разбавляются до безопасных предельно допустимых концентраций(ПДК).

Система вентиляции тоннеля зависит от длины тоннеля, площади поперечного сечения, величины уклонов и радиусов кривых, вида транспорта и других условий. В процессе эксплуатации тоннеля, в воздух транспортной зоны попадают различные вредные вещества. Это выхлопные газы, газы, выделяемые окружающими породами. Кроме того, качество воздуха ухудшается также за счет повышения температуры, влажности и других факторов.

Расчет воздухообмена по содержанию вредных веществ в воздухе транспортной зоны тоннеля производится по окиси углерода (СО).

Проверка продольной системы вентиляции.

. При движении в одном направлении.

. Скорость движения на подъеме

. Скорость движения на спуске

. Время нахождения в тоннеле

. Количество сгораемого топлива

. Количество выделяемого газа

. Моменту выхода локомотива из тоннеля соответствует следующая концентрация

. Количество воздуха, необходимое для разбавления СО до ПДЗ

, где

V - Объем воздуха в тоннеле

t - расчетное время, за которое необходимо разбавить (t=15мин=900с)

. Скорость воздуха в тоннеле

. При движении в противоположенном направлении.

. Скорость движения на подъеме

. Скорость движения на спуске

. Время нахождения в тоннеле

. Количество сгораемого топлива

. Количество выделяемого газа

. Моменту выхода локомотива из тоннеля соответствует следующая концентрация

. Количество воздуха, необходимое для разбавления СО до ПДЗ

, где

V - Объем воздуха в тоннеле

t - расчетное время, за которое необходимо разбавить (t=15мин=900с)

. Скорость воздуха в тоннеле

Следовательно, допустима продольная система вентиляции, при которой воздуховодом служит тоннель, вдоль которого перемещается воздух.

Эффективность продольной вентиляции в значительной степени зависит от направления и силы естественной тяги, а также от поршневого эффекта подвижного состава. Для приспособления к этим факторам обычно применяют вентиляционные установки реверсивного типа, позволяющие изменять направление подачи воздуха в соответствии с конкретной обстановкой в тоннеле.

Для усиления эффективности искусственной вентиляции наиболее целесообразна подача воздуха в тоннель в направлении движения подвижного состава с использованием его поршневого эффекта. Однако в однопутных железнодорожных тоннелях с тепловозной тягой рекомендуется подавать воздух навстречу поезду, в особенности при его движении на крутой подъем.

.5 Обоснование конструктивного решения порталов

Переход от тоннеля к выемке осуществляется при помощи портала, который служит для обеспечения устойчивости лобового и боковых откосов выемки, отвода воды с лобового откоса и архитектурного оформления входа в тоннель.

В состав портала входит торцевая стена с входным отверстием, водоотводная канавка и первое кольцо обделки. Торцевая стена сваривается с первым кольцом обделки с помощью арматуры или обрезков прокатных профилей и опирается непосредственно на боковые откосы выемки, в которые заделывается на необходимую глубину.

Подошвы торцевой и боковых стен заглубляются относительно низа кюветов в соответствии с глубиной промерзания грунтов в их основании.

Вода, стекающая с лобового откоса, перехватывается поперечной водоотводной канавкой, расположенной за торцевой стеной, и отводится с уклоном 2‰ канавкой, устроенной по верху откосов выемки, или, в условиях теплого климата, в кюветы по чугунным трубам, заложенным за торцевой стеной.

Дно канавки располагается не ниже чем на 1,5м от верха тоннельной обделки для обеспечения слоя породы, достаточной для амортизации возможных ударов камней, скатывающихся с лобового откоса. Расстояния от низа лобового откоса до портальной стены принимают не менее 1,5 м, а парапет стены не менее чем на 0,5 м выше канавки.

Конструкция портала показана на первом листе чертежей.

.6 Проектирование тоннельных конструкций

Выбор и технико-экономическое обоснование конструктивных решений обделок.

Конструкции тоннельных обделок должны удовлетворять следующим требованиям: эксплуатационным, технологическим, экономическим. Для выполнения этих условий обделки проектируются следующим образом.

В слабых породах, в которых может появиться всестороннее горное давление, очертание конструкций должно приближаться к круговому. В породах, где появляется вертикальное и горизонтальное давление, свод и стены выполняются выпуклыми в сторону действия давления. В породах с вертикальным горным давлением, ось свода обделки выполняется криволинейной, а ось стены вертикальными. В слабых грунтах отступление от углов габарита может достигать 100-200 мм в связи с возможными осадками конструкции и особенностями технологии сооружения.

В устойчивых крепких грунтах отступление 5-10 мм, в слабых - 15-20 мм. Для всех случаев обделок материал - монолитный бетон В25.

На железных дорогах принят габарит "С": высота Н= 6250 мм, ширина В = 2450 мм. На кривых габарит необходимо увеличивать, т.к. при движении по ним происходит вынос концов и середины вагона и наклон его из-за возвышения наружного рельса.

Для прочности породы f=2 принимается подковообразное очертание обделки с обратным сводом. hсв=550 мм,L=485м.

Для прочности породы f=4 принимается так же подковообразное очертание обделки без обратного свода, но с более тонкими стенками.hсв=400мм L=510м.

Для прочности породы f=8 принимается обделка с вертикальными стенами и круговым очертанием свода,опирающегося на уступы грунта h=300мм L=335м. Все типы обделок представлены на первом листе чертежей.

1.7 Дополнительные устройства в тоннеле

В целях безопасности обслуживающего персонала в железнодорожном тоннеле предусматриваются ниши 200x200x100 см, располагающихся в шахматном порядке через 60 м. Для хранения ремонтного оборудования через каждые 300 м по обоим сторонам железнодорожного тоннеля вместо ниш сооружаются камеры 250х200х200.

.8 Определение несущей способности обделки на участке с крепостью грунта f=4.

Исходные данные:

На участке с крепостью f=4 обделка подковообразного очертания без обратного свода.

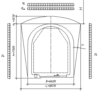
Основные геометрические размеры: высота H=7,92 м, толщина свода меняется от 0,400 до 0,560 м, ширина B=6,62 м.

Марка бетона 300( класс В25), расчетное сопротивление: на растяжение -10 кгс/см2, на сжатие - 135 кгс/см2.

Основные физико-механические характеристики горной породы: коэффициент прочности f=4, кажущийся угол внутреннего трения φ=70º, коэффициент упругого отпора к0=200 кгс/см 2, объемная масса грунта γ=2,8 т/м3.

Определение нормативных и расчетных нагрузок.

Величину горного давления в зависимости от степени трещиноватости массива и коэффициента крепости рекомендуется принимать от массы грунта в объеме свода обрушения в соответствии с гипотезой М.М. Протодьяконова (см. рис. 1);

Рис. 1. Схема нормативных и расчетных нагрузок.

где В - пролет выработки;

h - высота выработки;

L - пролет свода естественного равновесия ;

h1 - высота свода;

H - глубина залегания выработки;

qн - нормативное вертикальное горное давление;

Pн - нормативное горизонтальное горное давление.

Тогда справедливы следующие формулы:


Собственный вес обделки определится по формуле:


гдеG-вес сводчатой части обделки;

Определим расчётные нагрузки посредством умножения нормативных на коэффициенты перегрузки:


Коэффициент упругого отпора в сводчатой части выработки:

;

Коэффициент упругого отпора под пятой:

;

ко =200 - коэффициент удельного отпора.

Статический расчет обделки.

Статический расчет обделки выполняется на ЭВМ по методу Метрогипротранса (программа ПК-6). Этот метод предназначен для расчета конструкции произвольного очертания, расчетную схему которой можно представить в виде плоской стержневой системы.

В основу расчетной схемы положены следующие допущения:

А). Плавное очертание оси обделки заменяются вписанным стержневым многоугольником переменной жесткости.

Б). Распределенные внешние нагрузки заменяются сосредоточенными в узлах многоугольника усилиями.

В). Сплошная грунтовая среда заменяется отдельными упругими опорами, расположенными в вершинах многоугольника, перпендикулярно наружной поверхности обделки.

Г). Силы трения, возникающие в пятах разомкнутой обделки, в расчетной схеме заменяются запретом перемещения узлов пяты по горизонтали.

Рис. 2. Схема к статическому расчету обделки на ЭВМ

РАСЧЕТ КОНСТРУКЦИИ ТИПА Лист 1

КОНСТРУКЦИЯ СИММЕТРИЧНА 15 узлов, 14 стержней

ИСХОДНЫЕ ДАННЫЕ Вариант 1

ОПИСАНИЕ УЗЛОВ В ПРЯМОУГОЛЬНЫХ КООРДИНАТАХ Таблица 1

-------------------------------------------------------------------------

: : : Координаты, м : Сосредоточенные нагрузки :Запр.перем.:

: N :Расч:--------------------------------------------------------------:

:Узла: N : Х : У : Р верт : Р гориз : Момент :по-: Х : У :

: : : : : т : т : тм :вор: : :

-------------------------------------------------------------------------

: 1: 0: .000: 7.383: .000 : .000 : .000 : : : :

: 2: 0: .722: 7.293: .000 : .000 : .000 : : : :

: 3: 0: 1.463: 7.018: .000 : .000 : .000 : : : :

: 4: 0: 2.111: 6.582: .000 : .000 : .000 : : : :

: 5: 0: 2.587: 6.032: .000 : .000 : .000 : : : :

: 6: 0: 2.930: 5.281: .000 : .000 : .000 : : : :

: 7: 0: 3.030: 4.433: .000 : .000 : .000 : : : :

: 8: 0: 3.030: 3.576: .000 : .000 : .000 : : : :

: 9: 0: 3.030: 2.822: .000 : .000 : .000 : : : :

: 10: 0: 3.030: 1.992: .000 : .000 : .000 : : : :

: 11: 0: 3.030: 1.205: .000 : .000 : .000 : : : :

: 12: 0: 3.030: .444: .000 : .000 : .000 : : : :

: 13: 0: 3.030: .000: .000 : .000 : .000 : : : :

: 14: 0: 3.310: .000: .000 : .000 : .000 : : : :

: 15: 0: 2.450: .000: .000 : .000 : .000 : : * : :

-------------------------------------------------------------------------

ИСХОДНЫЕ ДАННЫЕ Вариант 1

ОПИСАНИЕ СТЕРЖНЕЙ Таблица 2

--------------------------------------------------------------------------

:Номера :Распределен. нагрузки: Коэффиц.:Шар:Площадь: Момент : Модуль :

:узлов :---------------------: упругого:нир:сечения: инерции :упругости :

:-------: Q верт : Q гориз : отпора :---: : сечения :конструкц.:

:Нач:Кон: т/м2 : т/м2 : К ,т/м3 :Н:К: F ,м2 : J ,м4 : Е ,т/м2 :

--------------------------------------------------------------------------

: 1 : 2 : 5.880 : .122 : 60423: : : .400 : .0053300: 3060000 :

: 2 : 3 : 5.880 : .122 : 60423: : : .406 : .0055800: 3060000 :

: 3 : 4 : 5.880 : .122 : 60423: : : .487 : .0096300: 3060000 :

: 4 : 5 : 5.880 : .122 : 60423: : : .558 : .0144400: 3060000 :

: 5 : 6 : 5.880 : .122 : 60423: : : .600 : .0179900: 3060000 :

: 6 : 7 : 5.880 : .122 : 60423: : : .569 : .0153500: 3600000 :

: 7 : 8 : .000 : .122 : 60423: : : .560 : .0146000: 3060000 :

: 8 : 9 : .000 : .122 : 60423: : : .560 : .0146000: 3060000 :

: 9 :10 : .000 : .122 : 60423: : : .560 : .0146000: 3060000 :

:10 :11 : .000 : .122 : 60423: : : .560 : .0146000: 3060000 :

:11 :12 : .000 : .122 : 60423: : : .560 : .0146000: 3060000 :

:12 :13 : .000 : .122 : 60423: : : .560 : .0146000: 3060000 :

:13 :14 : .000 : .000 : 247930: : : .250 : .0013020: 3060000 :

:14 :15 : .000 : .000 : 247930: : : .250 : .0013020: 3060000 :

--------------------------------------------------------------------------

^L

РЕЗУЛЬТАТЫ РАСЧЕТА

==========================================

: : Перемещения в системе Х У :

: Номера:--------------------------------:

: узлов : Угол : Горизонт.: Вертик. :

: : поворота : смещение : смещение :

: : (рад) : (м) : (м) :

==========================================

: 1 .00000 .00000 .00051 :

: 2 -.00011 .00000 .00047 :

: 3 -.00015 -.00003 .00037 :

: 4 -.00011 -.00008 .00027 :

: 5 -.00004 -.00012 .00023 :

: 6 .00002 -.00012 .00022 :

: 7 .00006 -.00008 .00022 :

: 8 .00006 -.00003 .00021 :

: 9 .00005 .00002 .00020 :

: 10 .00002 .00005 .00019 :

: 11 -.00001 .00005 .00019 :

: 12 -.00005 .00003 .00018 :

: 13 -.00007 .00000 .00017 :

: 14 -.00006 .00000 .00014 :

: 15 .00023 .00000 .00003 :

-----------------------------------------

РЕЗУЛЬТАТЫ РАСЧЕТА

=============================================================================

: : Зона : : : : :

: : взаимо- : Момент :Нормальная:Поперечная: Эксцентриситет :

: НН- :действия : (тм) : : : (м) :

: :с грунтом: : сила : сила : :

: -НК :---------:-------------------: : :----------------:

: :Нач.: Кон:В начале : В конце :в элементе:от момента:В начале:В конце:

: :стер:стер: стержня : стержня : (т) : (т) :стержня :стержня:

=============================================================================

: 1- 2 2.764 -2.048 -9.266 -.984 -.2983 -.2210:

: 2- 3 2.048 .223 -10.721 -2.873 -.1911 .0208:

: 3- 4 -.223 3.104 -13.339 -3.689 .0167 .2327:

: 4- 5 -3.104 4.758 -16.299 -2.273 .1905 .2919:

: 5- 6 ** ** -4.758 3.920 -18.438 1.014 .2580 .2126:

: 6- 7 ** ** -3.920 .968 -18.667 3.457 .2100 .0519:

: 7- 8 ** ** -.968 -.732 -18.594 1.983 .0521 -.0393:

: 8- 9 ** .732 -1.227 -18.594 .657 -.0393 -.0660:

: 9-10 1.227 -1.692 -18.594 .560 -.0660 -.0910:

:10-11 1.692 -2.056 -18.594 .462 -.0910 -.1105:

:11-12 2.056 -2.335 -18.594 .367 -.1105 -.1256:

:12-13 ** 2.335 -2.466 -18.594 .294 -.1256 -.1326:

:13-14 2.466 2.741 -.262 -18.594 -9.4280 10.4804:

:14-15 ** ** -2.741 .000 .262 3.187 -10.4804 .0000:

Проверка прочности обделки.

После определения внутренних усилий (изгибающих моментов и нормальных сил) проверяют прочность бетонных сечений. Для этого вычисляют величину предельной нормальной силы NП, которую может воспринять данное сечение, и сравнивают её с величиной нормативной силы N, полученной при статическом расчете для этого же сечения. При этом должно соблюдаться условие NП > N.

Проверку прочности тоннельной обделки проводим для наиболее загруженных сечений 1 и 5 .

Для сечения 1. Проверяем эксцентриситет:

е0=0,2983 м = 29,83 см ≤ 0,9*у=0,9*0,2=0,18 м 18 см;

гдеy - расстояние от центра тяжести сечения до наиболее сжатого слоя бетона обделки.

Условие не выполняется, в этом случае работа сечения обделки приближается к работе изгибаемых элементов.

В этом случае проверка прочности сечения производится по формуле:

;

гдеm - коэффициент условия работы (m=0,9);- коэффициент, учитывающий вид бетона ( k=1 );р - расчетное сопротивление бетона растяжению ( Rр=10кгс/см2 ).- ширина сечения ( b=100 см );- высота сечения ( см ).

Производим проверку: M=2,764 тс*м ≤ Мп=4,11 тс*м. Проверка выполняется, прочность обделки обеспечена.

Для сечения 5. Проверяем эксцентриситет:

е0=0,2919 м = 29,19 см ≤ 0,9*у =0,9* 0,279=0,25 м = 25,11 см;

Условие не выполняется, в этом случае работа сечения обделки приближается к работе изгибаемых элементов.

В этом случае проверка прочности сечения производится по формуле:

;

Производим проверку: M=4,758 тс*м ≤ Мп=8,00 тс*м. Проверка выполняется, прочность обделки обеспечена.В дальнейшем увеличении толщины обделки нет необходимости, так как при принятых толщинах свода и стен прочность обделки обеспечена.

Часть II. Производство работ по сооружению тоннеля

2.1 Выбор способа производства работ

Участок тоннеля №1: грунт - сланец крепкий,трещиноватый, f = 4.

Для проходки выработок в трещиноватых и сильнотрещиноватых грунтах с коэффициентом крепости от 2 до 4 при сооружении однопутного железнодорожного тоннеля применяется уступный способ( см.рис. 6).

Рис.3. Схема сооружения тоннеля уступным способом

В курсовом проекте одновременно с проходкой колотты(1) на определённом расстоянии от её забоя производим разработку уступа на ширину пролёта выработки(2) и затем по всему периметру выработки за один приём бетонируем обделку(3). Длину уступа принимаем равной 130 м.

Участок тоннеля №2: грунт - анезит трещиноватый, f = 8.

При постройке тоннеля в крепком грунте отпадает необходимость в немедленной после разработки грунта установки временной крепи, которую в этих условиях принимаем менее громоздкой, так как её назначение сводится к предотвращению образования отдельных мелких вывалов и обрушения одиночных кусков грунта с кровли. При проходке данного участка тоннеля будем использовать способ сплошного забоя, для которого характерно наличие одной плоскости забоя, что упрощает использование для бурения шпуров буровых рам с тяжёлыми высокопроизводительными перфораторами, снабжёнными автоматическим управлением.

Основные работы при этом способе включают только два процесса (см. рис.5):

Рис. 4. Проходка тоннеля в крепком грунте способом сплошного забоя

Разработку грунта 1 с последующей уборкой её и кладку бетонной обделки 2.

Участок тоннеля №3: грунт - сланец глинистый, сильно трещиноватый, f = 2.

Для проходки выработоки используем уступный способ( см.рис. 6),аналогично участку тоннеля №1.

.2 Буровзрывные работы

Разработка полускальных и скальных грунтов с коэффициентом крепости более 2 осуществляется буровзрывным способом. В курсовом проекте необходима детальная проработка проекта организации работ на участке с крепостью грунта f = 4. Как видно, грунт разрабатываем буровзрывным способом.

.2.1 Определение параметров буровзрывных работ

В соответствии с геологическими условиями в качестве ВВ выбираем аммонит №6 прессованный со следующими характеристиками:

· плотность, ∆=1,25 г/см3=1250 кг/м3;

· коэффициент работоспособности, е=0,9;

· диаметр патрона, dп = 34 мм.

Определим удельный расход ВВ с учётом его работоспособности по формуле:

;

Где - коэффициент работоспособности ВВ;

ψ- коэффициент влияния плотности заряжения;

ω- коэффициент структуры и трещиноватости грунтового массива;

S- площадь сечения забоя.

Определим линию наименьшего сопротивления (ЛНС) отбойных шпуров по формуле:

;

Где к- коэффициент зажима;

d- диаметр шпура, м;

γ- объёмная масса грунта, кг/м3.

Так как при обуривании забоя будем применять мощные бурильные установки и тяжёлые бурильные машины, вруб принимаем прямым призматическим с расстоянием между врубовыми зарядами 25 см с устройством незаряженной скважины в центре.

Расстояние между отбойными шпурами принимаем равным 0,8 м ((0,8-0,95)*W0), между подошвенными - ап=0,8 м ((0,7-0,9)*W0), между контурными - ак=0,58 м (0,6W0).

Вычисляем количество шпуров на забой по формуле:

,

где- количество контурных шпуров;

- количество подошвенных шпуров;

- количество отбойных

Вычисляем количество шпуров на забой по формуле:

,

где- количество контурных шпуров;

- количество подошвенных шпуров;

- количество отбойных шпуров; по конструктивным соображениям принимаем N0 = 21;

- площадь сечения забоя, взрываемая отбойными шпурами;

- площадь сечения забоя, взрываемая контурными шпурами;

m- коэффициент сближения контурных зарядов;

- площадь сечения забоя, взрываемая подошвен-ными шпурами;

Sвр- площадь сечения забоя, взрываемая врубовыми зарядами;

кз- коэффициент заполнения шпура;

к∆- коэффициент уплотнения, для патронированных ВВ равен 1,0.

.

С учётом устойчивости кровли выработки длину комплекта шпуров назначаем равной l=1,8 м. Тогда глубина заходки определяется по формуле:

;

гдеη- коэффициент использования шпура.

Объём взрываемой породы равен:

.

Ориентировочно расход ВВ на взрыв равен:

.


;

Где к- концентрация заряда контурного шпура.

Средняя масса зарядов остальных шпуров

 .

Масса зарядов врубовых, отбойных и подошвенных шпуров равна

;

;

.

.2.2 Буровое оборудование

Для бурения шпуров в забое выработки будем применять бурильные машины БУ-1 на базе самоходной бурильной установки СБУ-2к. Количество одновременно работающих бурильных машин принимаем равным четырём из расчёта 8 м2 площади обуриваемого забоя на одну бурильную машину, находящуюся на установке( две СБУ-2к).

Бурение вертикальных шпуров уступа осуществляем самоходными бурильными установками СБУ-2к, так как высота уступа (3,8 метра) не превышает максимального хода подачи бура установки (4,0 метра).

.3 Временное крепление выработки

Расчет анкерной крепи.

1.       Определение рабочей длины анкера


f =4 - коэффициент крепости грунта;

В=6,62 м - пролет выработки.

.        Определение длины заделки анкера

 - для набивного ж\б анкера

.        Длина анкера

.        Шаг расстановки по прочности в закреплении их в шпуре

, где

 - объемная масса грунта,

N - несущая способность анкера

 - диаметр анкера,

 (>).

Принимаем шаг а=1,24м.

5.       Расчетная нагрузка на анкер.

Проверка проходит.

6.       Проверка диаметра стержня


Проверка выполнена.

Шаг анкера в продольном направлении равен а=3 м

.4 Погрузка и транспорт породы

Для выработок средних сечений (20-50 м2) рекомендуется применять для погрузки породы погрузочные машины типа ПНБ непрерывного действия. В курсовом проекте применяем машину ПНБ-3Д.

Вывозку породы будем производить автомобильным транспортом. Тогда для разминовки встречных транспортных средств и для поворота автотранспорта необходимо будет устраивать специальные ниши.

Транспортировку породы из забоя колоты до разрабатываемого нижнего уступа будем производить с помощью самоходных тележек на пневмоходу (тип 1ВС20АРЕ с ёмкостью кузова 12 м3).

.5 Организация работ в забое, определение параметров проходческого цикла

Проходческие работы ведутся обычно по циклической схеме, т.е путем последовательного повторения определенного комплекса операций, занимающего тот или иной промежуток времени.

Так как основными операциями проходческого цикла являются бурение шпуров в забое и погрузка взорванной породы, продолжительность цикла определяется по формуле:

,

Где Тб, Тп, Твсп- продолжительность операций бурения, погрузки и вспомогательных операций.

Продолжительность бурения определяется по формуле:

;

гдеN- число шпуров в забое;

l- средняя длина шпура;

φ- коэффициент использования бурильных машин во времени;

β- коэффициент одновременности работы бурильных машин;

n- число бурильных машин;

vб- чистая скорость бурения шпура, пог. м шпура в ч.

Чистая скорость бурения шпура определяется по формуле:

 пог. м в час;

гдек1- коэффициент, зависящий от типа бурильной машины;

к2- коэффициент, учитывающий влияние сжатого воздуха;

к3- коэффициент, учитывающий влияние диаметра головки бура;

к4- коэффициент, учитывающий глубину шпура.

Продолжительность погрузки взорванной массы грунта определится по формуле:

;

гдеW3- глубина заходки за цикл, м;

S- проектная площадь сечения выработки, м2;

кп- коэффициент перебора;

кр- коэффициент разрыхления грунта;

Рэ- эксплутационная производительность погрузочной машины;

n- число погрузочных машин в забое;

β- коэффициент одновременности работы погрузочных машин.

Эксплутационная производительность определяется по формуле:

м3/ч;

гдеφ- коэффициент использования машины;

Рт- техническая производительность погрузочной машины;

t1, t3- продолжительность простоя машины и различные потери времени, отнесённые к 1 м3 породы;

v- объём самосвала;

η-коэффициент заполнения самосвала.

Время на вспомогательные операции, ч

;

гдеТ1- время на подготовительные операции,при бурении равное 0,5ч.;


время на заряжение шпуров ( N - число шпуров, l - средняя длина шпура, n - число заряжающих);

Т3- время на взрывание и проветривание, равное 0,5ч.;

Т4- время на прочие работы, равное 0,5ч;

Тогда ч.

Продолжительность цикла

=2+2+3,26=7,26ч.

Скорость проходки тоннеля за сутки м/сут.

Скорость проходки тоннеля за месяц м/мес.

На базе полученных данных построена циклограмма - графическое изображение последовательности работ. Полученная циклограмма представлена на втором листе чертежей.

Правила построения циклограммы:

1. Организация работ должна проектироваться таким образом, чтобы в смену или сутки выполнять целое число циклов.

2. Необходимо стремиться к сокращению времени на обслуживание и вспомогательные работы. Этого можно добиться за счет увеличения глубины заходки и уменьшения числа циклов в сутки.

3. Увеличение скорости проходки может быть достигнута за счет хотя бы частичного совмещения во времени некоторых операций цикла.

4. Необходимо стремиться

ТЦ = ТСМ , где

ТЦ - время цикла

ТСМ - время смены

5. Продолжительность цикла складывается из продолжительности основных операций.

ТЦ = ТБ + ТПОГ + ТВСП

Цикличная организация работ по бетонированию обделки

При параллельной схеме бетонирования скорость бетонирования принимается равной скорости ведения проходческих работ.

,

 - участок бетонирования,

 - время бетонирования,

 - величина заходки за цикл,

 - время цикла.

Значит, время бетонирования участка тоннеля определяется по схеме:

Определение длины комплекта опалубки

Применена передвижная жесткая опалубка.


 - суточная скорость проходки тоннеля,

 -время монтажа секционной опалубки,торцевых секций и укладки бетонной смеси

 = 4 сут - время выдержки бетона в опалубке до набора прочности.

Вентиляция подземных выработок.

Важнейшим условием безопасной и производительной работы по проходке является вентиляция, обеспечивающая нормальный состав, температуру и влажность воздуха.

При проходке взрывным способом на выбор схемы вентиляции влияет вид транспорта, применяемого в выработке.

При электровозной откачке основной задачей вентиляции является разбавление газов взрывания. Целесообразно предотвратить их распространение по выработке и как можно скорее удалить от забоя. Для этого применяют вытяжное проветривание, которое обеспечивает возможность допуска рабочих в забой, с последующим переходом к приточному проветриванию с подачей свежего воздуха в призабойное пространство - место наиболее интенсивной работы.


При вытяжном проветривании воздух, проходя от портала вдоль выработки, загрязняется, увлажняется, нагревается и поступает к забою неполноценным. Поэтому после допуска рабочих в забой обычно переходят на приточное проветривание, обеспечивающее поступление в забой свежего воздуха.

Конец приточной вентиляционной трубы должен находиться от забоя на расстоянии, не превышающем длины зоны действия свободной струи:

, где

F - Площадь сечения выработки.

 - площадь сечения вентиляционной трубы.

.

Определение объема проветривания.

Объем воздуха (по разбавлению газов), подаваемого через приточный воздуховод или от вентилятора-побудителя

,

 - длина комплекта шпуров.

 - время проветривания.

a - коэффициент, равный 48.

 - удельный вес грунта.

.

Объем воздуха, отсасываемого воздховодом:

.

Вентиляционные трубы. Потери.

Воздух перемещается по металлическим трубам, подвешанным к элементам временной крепи или постоянной обделке.

Диаметр стальной трубы 1000мм, толщина стенки 2мм. Соединение фланцевое на болтах с уплотнением, предотвращающим утечки воздуха. Для цилиндрической трубы они равны:


 - аэродинамический коэффициент, имеющий размерность плотности, и зависящий от диаметра трубы.

L - длина трубы. Рассчитаем для 100 метров.

d - внутренний диаметр трубы.

Коэффициент потерь или подсоса воздуха через стыки определяют по формуле:

.

По нормам потери воздуха в воздуховоде не должны превышать 5% на 100м его длины. Поэтому допустимое значение коэффициента потерь воздуха

.7 Расчёт объёма работ, определение стоимости тоннеля

Для определения стоимости сооружения тоннеля необходимо определить стоимость различных участков тоннеля с учётом их конструкции, способа производства работ по проходке тоннеля в различных грунтах. Данные о расценках на строительные работы берём из «Единых норм и расценок на строительные, монтажные и ремонтно-строительные работы». Расчёт стоимости ведём в ценах 1984 года.

Результаты определения стоимости тоннеля удобно привести в табличной форме:

Таблица 1

Определение стоимости тоннеля

Наименование основных работ по сооружению тоннеля

Ед. изм.

Стоим. на ед. изм.,руб

Тип I

Тип II

Тип III




Кол-во

Стоимость, руб

Кол-во

Стоимость, руб

Кол-во

Стоимость, руб

Разработка грунта f=2 f=4 f=8

м3

 8,0 8,0 12,0

  59,75 

  478 

 39,41

 473

47,26

378

Бетонирование монолитной обделки f=2 f=4 f=8

м3

   35 35 30

   19,11

   669

   2,5

   75

   11,74

   411

Набрызг бетонной обделки f=2 f=4 f=8

м2

   2,80

   -

   -

   9,0

   25

   -

   -

Нагнетание раствора за обделку.

м2

2,11

29,3

62

15,0

32

26,0

55

руб


1329


605


844

 

тыс.руб


566,15


343,64


519,91

 

тыс.руб

1429,7

 


.6 Мероприятия по охране труда и технике безопасности

.На время выполнения взрывных работ бригада и механизмы располагаются в надежном укрытии на расстоянии 150-200 метров от забоя при наличии вытяжной вентиляции, в противном случае, удаляются из тоннеля.

.Взрывник выполняет взрыв из укрытия на расстоянии не мене 75 метров от забоя.

.Пост охраны располагается в месте размещения бригады.

.Продолжение работ в забое допускается после его проветривания в течение 30-40 минут и осмотра места взрыва взрывником.

.Образовавшиеся продукты взрыва могут служить причиной отравления людей. Для взрывных работ в подземных условиях гостехнадзором допущены к применению взрывчатые вещества, при взрыве 1 кг. которого выделяется не более 40 кубических метров ядовитого газа. Борьбу с газами ведут тщательным проветриванием выработки с целью разбавления ядовитых газов до ПДК. Я довитые газы могут задерживаться в массе взорванной породы и не устраняться проветриванием. Поэтому перед началом работ по уборке породы из выработки, породу тщательно продувают сжатым воздухом, а также обрызгивают водой. Тогда окислы азота переходят в азотную и азотистые кислоты. Водой обрызгивают забой и выработку, прилегающую к нему на расстоянии до 20м.

.Воздух подземной выработки должен содержать по объему не менее 20 % кислорода и не более 1,5 % углекислого газа, и иметь температуру не менее + 2оС зимой и не более 25оС летом.

.Правилами безопасности требуется не реже одного раза в неделю делать лабораторный анализ воздуха выработки на содержание кислорода, углекислого газа, окиси углерода и метана.

.При использовании в выработке оборудования с двигателями внутреннего сгорания обязательно применение нейтрализаторов отработанных газов.

.При отсутствии взрывных работ и действующих двигателей внутреннего сгорания в выработку следует подавать в 1 минуту не менее 6 кубических метров сжатого воздуха на каждого рабочего, находящегося под землей.

.Допуск рабочих в забой разрешается по достижении концентрации условной окиси углерода 0,008 % по объему, но не ранее чем через 15 минут после взрывания. Эта концентрация в 5 раз превышает ПДК при продолжительном пребывании (0,0016%). Поэтому после допуска рабочих в забой необходимо непрерывное проветривание в объеме не менее 60% от первоначального.

.Производительность труда и безопасность работ зависит от освещенности рабочих мест и длины откаточных путей, которая должна составлять не менее 15 метров. Все подземные выработки обеспечивают стационарным электрическим освещением, не требующим усиления вентиляции и безопасности при выделении газов. В выработках высотой более 4 метров допускается применять прожекторы с матовыми стеклами так, чтобы была исключена возможность их ослепляющего действия. В виду опасности поражения электрическим током, напряжение в сети освещения принимают равным 42 В. Лишь в готовой части сухих тоннелей допускается напряжение 220 В с осветительной проводкой, выполняемой изолированным проводом на фарфоровых изоляторах или роликах с высотой подвески не менее 2,5 метров от УГР. Для перехода от напряжения наружной сети к напряжению принятому в выработках все пределов рабочей зоны устанавливают трансформаторы с низковольтными распределительными подстанциями.

тоннель проектирование забой

Список используемой литературы

1. “Проектирование тоннелей, сооружаемых горным способом.” Методические указания. Ю.С Фролов, ЛИИЖТ, 1983.

2. “Мосты и тоннели на железных дорогах” под редакцией В.О.Осипова, М., Транспорт,1988;

3. “Тоннели и метрополитены” под редакцией В.Г. Храпова и д.р. М., Транспорт,1989;

4. СНиП 32-04-97 “Тоннели железнодорожные и автодорожные” (Государственный комитет РФ по жилищной и строительной политике (Госстрой России)) М., 1997.

Похожие работы на - Сооружение тоннеля горным способом

 

Не нашли материал для своей работы?
Поможем написать уникальную работу
Без плагиата!
Без нейросетей!