Проект системи обігріву житлового будинку
МІНІСТЕРСТВО
АГРАРНОЇ ПОЛІТИКИ УКРАЇНИ
ЛЬВІВСЬКИЙ
НАЦІОНАЛЬНИЙ АГРАРНИЙ УНІВЕРСИТЕТ
Факультет
механіки Кафедра електротехнічних та енергетики систем
КУРСОВИЙ
ПРОЕКТ
на
тему:
«Проект
системи обігріву житлового будинку»
Виконав:
ст. групи Ен-62 Вітрух
П.І.
Перевірив:
к.т.н., доцент
Паранюк В.О.
Дубляни
- 2011
Вихідні данні
Місто з режимом експлуатації конструкцій
приміщень - Львів
Розрахункова температура повітря в місті -
=
-34,
,
Тривалість опалювального періоду - n =205
Швидкість повітря - w = 5,9 м/с
Додаткові вихідні данні
Джерелом теплопостачання проектного будинку
приймається міська теплова мережа з параметрами теплоносія Тг = 150 оС (в
подаючій магістралі) і tо = 70 оС (в зворотній магістралі).
Всі проектні будинки трьохповерхові з
неопалювальним підвалом, висота поверху - 3м, підлоги східних клітин на ґрунті.
По останній цифрі залікової книжки вибираю план
типового поверху - дитячий садок. Орієнтація фасадів будинку вказана в плані.
Система опалення проектується з нижньою
розводкою.
Розміри вікон - 1,8Ч1,5, вхідних дверей східних
клітин 2,1Ч1,8.
Коефіцієнт теплопередачі вікон - 0,4, вхідних
дверей - 1,32 Вт/м2 оС.
Зміст
обігрів будинок тепловитрата
вентиляційний
Вступ
.
Аналіз стану і характеристика технологічного процесу
. Опалення
.1 Теплотехнічний
розрахунок потрібної товщини огороджуючої конструкції
.2 Визначення
тепловитрат приміщеннями запроектованої будівлі
.3
Визначення тепловтрат приміщеннями і будівлею в цілому
.4 Конструювання
та вибір обладнання теплового пункту
.
Вентиляція
.1 Визначення
повітрообмінів та розмірів вентиляційних каналів
. Електричний
розрахунок та вибір апарату для підігріву води
Висновок
Бібліографічний
список
Вступ
Теплотехніка - галузь науки і техніки, що
займається питаннями отримання і використання теплоти. Розрізняють два види
використання теплоти - енергетичне і технологічне. Енергетичне використання
теплоти грунтується на процесах, що перетворюють теплоту в механічну роботу. Ці
процеси вивчаються технічною термодинамікою. Енергетичні пристрої, в яких
здійснюється перетворення теплоти в роботу, називають тепловими двигунами.
Технологічне використання теплоти грунтується на
реалізації теплоти для цілеспрямованої зміни фізико-хімічних властивостей при
здійсненні різних технологічних процесів. До пристроїв, в яких безпосереднє
підведення теплоти використовується для технологічних цілей, відносяться різні
печі, сушарки, опалювальні прилади, калорифери і т.д.
Наука, що вивчає закономірності теплообміну між
тілами, називається теорією теплопередачі. Технічна термодинаміка і теорія
теплопередачі складають теоретичну частину теплотехнічної науки.
Людина більше 80% проводить в приміщенні: вдома,
на роботі, в громадських будівлях. Її здоров'я, самопочуття, працездатність
багато в чому визначаються рівнем комфорту приміщень. Крім того, знання основ
теплотехніки і вентиляції дасть можливість проводити заходи, спрямовані на економію
паливно-енергетичних ресурсів і охорони довкілля.
При розробці проекту будівлі або його реалізації
інженер - енергетик повинен знати весь комплекс вимог, які пред'являють до
споруд і опалювально - вентиляційних пристроїв.
1. Аналіз стану і характеристика технологічного
процесу
Необхідність створення комфортних умов в
літньому садовому будиночку і в зимовий час зобов'язала хазяїв використовувати
різні варіанти опалювання, причому як теплогенераторов використовуються в
основному печі на твердому паливі. Окрім печей і камінів можуть бути
рекомендовані також электро-нагреватели (ТЕНи, рефлектори, електрокаміни і
т.д.). У цих випадках не слід використовувати водя-ные системи опалювання,
оскільки при отрицатель-ных температурах треба зливати воду з системи, а потім
знову заповнювати її водою - заняття, пов'язане з певними незручностями.
Що стосується теплопостачання будинків з
цілорічним проживанням мешканців, то їх пристрої повинні забезпечувати увесь
комплекс зручностей : опалювання, гаряче водопостачання, можливість
приготування їжі. В той же час основні теплоспоживаючі елементи будинків -
системи опалювання і гарячого водопостачання - мають деякі особливості
порівняно з системами опалювання і гарячого водопостачання міських житлових
будівель. Вони складають в наступному:
Для опалювання малоповерхових будівель нині
застосовують пічне, водяне, електричне і повітряне опалювання.
Найбільш застосовуване електричне опалювання,
зручністю регулювання теплового навантаження, відсутністю громіздких
опалювальних приладів, високою гігієнічністю. Єдиний, але часто вирішальний
недолік електричного опалювання - його вартість. Вартість одиниці відпущеного
тепла при електричному опалюванні в кілька разів вище, чим при виробленні тепла
в печах або котлах.
Найбільшого поширення набули водяні і повітряні
системи опалювання. При оцінці теплотехнічних властивостей теплоносіїв
вирішальними показниками є вагова і об'ємна теплова місткість і температура.
2. Опалення
.1 Теплотехнічний розрахунок потрібної товщини
огороджуючої конструкції
Для вирішення поставленої задачі необхідно
визначити число градус-днів отоплюючого періоду (DD) :
= (tв - tоп)Чn = (18-(-10,1)Ч205 =5760,5
градус-днів
де tв - розрахункова температура внутрішнього
повітря.оп - середня температура опалювального періоду.- тривалість
опалювального періоду.
По значенню DD та різновиді конструкції по (Д.3)
знаходимо нормативний опір теплопередачі Rнор, (м2 оС/Вт) = 2,2 м2 оС/Вт
Матеріал зовнішніх стін - керамзитобетон на
керамзитовому піску. Щільність - 1800 кг/м3.
Утеплювач перекриття - плити мінеральної вати
підвищеної жорсткості. Щільність - 200 кг/м3.
Товщину стіни приймаємо кратною 50 мм, але не
менше 300мм. утеплювач стіни - кратним 20 мм, але не більше 250 мм.
Визначаємо товщину утеплювача конструкції:
дx= (Rнор - (1/бв + д1/л1+ д3/л3+ д4/л4 +
1/бн))Чл2 = (2,2 - (1/8,7+0,03/0,93+0,3/0,92+0,03/0,81))Ч0,09 = 0,152 м.
де бв - коефіцієнт теплопровідності на
внутрішній поверхні огороджень (Вт/м2 оС)
бн - коефіцієнт теплообміну на зовнішній
поверхні (Вт/м2 оС)
л1, л2, л3, л4 - коефіцієнти теплопровідності
матеріалів огороджуючих конструкцій (Вт/м оС) д1, дх, д3, д4 - товщина шарів
огороджень, м.
Рис. 1 - Параметри шарів огороджуючої
конструкції
л1=0,93 Вт/м оС, д1 =0,03 м;
л2 = 0,09 Вт/м оС, д2 = х;
л3 = 0,92 Вт/м оС, д3 = 0,3 м;
л4 =0,81 Вт/м оС, д4 = 0,03 м.
В додатку № 3 знаходимо Rнор=2,2, виходячи із
значень DD.
бв=8,7, бн =23.
Приймаємо товщину утеплювача кратною 1 см =>
д2=0,16 м.
Знайдемо Rфакт. - фактичний опір конструкції:
м2 оС/Вт
факт.> Rнор.. Знаходимо коефіцієнт
теплопередачі конструкції:
Кст=
= 0,43 Вт/м2 оС
Рис.2 - Розрахунок перекриття
Параметри шарів перекриття
Руберойд л1=0,17 Вт/м оС, д1 =0,01 м;
стяжка л2 = 0,93 Вт/м оС, д2 = 0,05 м;
утеплювач л3 = 0,09 Вт/м оС, д3 = х м;
залізобетонна плита л4 =2,04 Вт/м оС, д4 = 0,2
м.
Знайдемо товщину утеплювача в перекритті
кратного 5 см:
дx= (Rнор - (1/бв + д1/л1+ д2/л2+ д4/л4 +
1/бн))Чл3=(2,5 -(1/8,7+0,01/0,17+0,2/2,04+1/23))Ч0,09 = 0,2 м.
(м2 оС/Вт)
факт.> Rнор..
Знаходимо коефіцієнт теплопередачі перекриття:
Кпер..=
=
0,39 Вт/м2 оС
Коефіцієнт теплопередачі вікон Квк=0,4 Вт/м2 оС.
Коефіцієнт теплопередачі вхідних дверей Кдв
=1,32 Вт/м2 оС.
Коефіцієнт теплопередачі зовнішньої стіни Кст.=
0,43 Вт/м2 оС
.2 Визначення тепловитрат приміщеннями
запроектованої будівлі
Необхідно визначити тепловитрати кутових і
середніх приміщень проектованої будівлі по одному на кожному поверсі і
тепловитрати однієї з сходових кліток.
В тепловитрати кожної з кімнат включаються і
тепловитрати через огороджувальні конструкції, різниця температур перевищує
3оС.
Для приміщень першого поверху - це зовнішні
стіни і двері, вікна, підлога. Другий поверх - теж, крім підлоги, третій -
додаткові втрати через покриття .
Тепловитрати обчислюють з точністю до 10 Вт по
формулі:
де А - розрахункова площа огороджуючої
конструкції, м2;
К - коефіцієнт теплопередачі конструкції, Вт/(м2
оС);
- температура
повітря в приміщенні, оС;
- температура
холодної п’ятиденки, оС;
- коефіцієнт
врахування конструкції в просторі;
- додаткові
тепловитрати в долях від основних.
Додаткові втрати тепла,
приймаються
слідуючими:
при розрахунковій швидкості повітря до 5 м/с
=0,05
при швидкості повітря більш ніж 5 м/с
.
Витрата тепла повинна враховувати витрати на
підігрів зовнішнього інфільтрованого повітря, що поступає в будову через щілини
в вікнах внаслідок різниці тисків усередині приміщення та ззовні.
В приміщенні житлових та громадських будинків
витрати тепла на підігрів повітря інфільтрації Qu, Вт, знаходять за формулою:
=0,337ЧAЧhЧ
де А - площа пола кімнати, м3;- висота
кімнати, м. Якщо в кімнаті немає ні вікон, ні зовнішніх дверей, тоді Qu =0. Для
зручності розрахунків результати обчислень зводять у таблицю1.1. До таблиці
заносимо розрахунки тепловитрат для кутової і середньої кімнати трьох поверхів.
Таблиця 1.1. Тепловитрати обчислювальних
приміщень
|
№,
tн
|
НОК
|
Розміри
і Площа огороджень
|
К
|
|
|
1+∑𝛃
|
Qt
|
Qи
|
Qб
|
|
оС
|
|
aЧв,
м
|
А,
м2
|
Вт/м2оС
|
оС
|
|
|
Вт
|
Вт
|
Вт
|
|
1
|
2
|
3
|
4
|
5
|
6
|
7
|
8
|
9
|
10
|
11
|
|
101
+18
|
Н.С.-З.
|
3Ч4,5
|
13,5-2,7=
10,8
|
0,43
|
18-(-31)=49
|
1
|
1,15
|
260
|
1670
|
13970
|
|
ОК-З
|
1,8Ч
1,5
|
2,7
|
0,4
|
49
|
1
|
1,15
|
60
|
|
|
|
Н.С.-Ю
|
7,5Ч3
|
22.5-2,7=19,8
|
0,43
|
49
|
1
|
1,05
|
440
|
|
|
|
ОК-Ю
|
1,8
|
2,7
|
0,43
|
49
|
1
|
1,05
|
60
|
|
|
|
ПОЛ
|
4,5Ч
3
|
13,5
|
7,6
|
49
|
1
|
-
|
5030
|
|
|
|
|
4,5
|
20,25
|
6,5
|
49
|
1
|
-
|
6450
|
|
|
|
102
+18
|
Н.С.-З
|
2,1Ч
3,6
|
7,56-2,7=
4,86
|
0,43
|
49
|
1
|
1,1
|
110
|
370
|
1760
|
|
ОК-З
|
1,8Ч
1,5
|
2,7
|
0,4
|
49
|
1
|
1,1
|
60
|
|
|
|
ПОЛ
|
2,1Ч
3,6
|
7.56
|
3,3
|
49
|
1
|
-
|
1220
|
|
|
|
201
+18
|
Н.С.-З.
|
3Ч4,5
|
13,5-2,7=
10,8
|
0,43
|
49
|
1
|
1,15
|
260
|
1670
|
2490
|
|
ОК-З
|
1,8Ч
1,5
|
2,7
|
0,4
|
49
|
1
|
1,15
|
60
|
|
|
|
Н.С.-Ю
|
7,5Ч3
|
22.5-2,7=19,8
|
0,43
|
49
|
1
|
1,05
|
440
|
|
|
|
ОК-Ю
|
1,8
|
2,7
|
0,43
|
49
|
1
|
1,05
|
60
|
|
|
|
202
+18
|
Н.С.-З
|
2,1Ч
3,6
|
7,56-2,7=
4,86
|
0,43
|
49
|
1
|
1,1
|
110
|
370
|
540
|
|
ОК-З
|
1,8Ч
1,5
|
2,7
|
0,4
|
49
|
1
|
1,1
|
60
|
|
|
|
|
|
|
|
|
|
|
|
|
|
|
|
301
+18
|
Н.С.-З.
|
3Ч4,5
|
13,5-2,7=
10,8
|
0,43
|
49
|
1
|
1,15
|
260
|
1670
|
3130
|
|
ОК-З
|
1,8Ч
1,5
|
2,7
|
0,4
|
49
|
1
|
1,15
|
60
|
|
|
|
Н.С.-Ю
|
7,5Ч3
|
22.5-2,7=19,8
|
0,43
|
49
|
1
|
1,05
|
440
|
|
|
|
ОК-Ю
|
1,8
|
2,7
|
0,43
|
49
|
1
|
1,05
|
60
|
|
|
|
КРОВ
|
4,5Ч
7,5
|
33,75
|
0,39
|
49
|
1
|
-
|
640
|
|
|
|
302
+18
|
Н.С.-З
|
2,1Ч
3,6
|
7,56-2,7=
4,86
|
0,43
|
49
|
1
|
1,1
|
110
|
370
|
680
|
|
ОК-З
|
1,8Ч
1,5
|
2,7
|
0,4
|
49
|
1
|
1,1
|
60
|
|
|
|
КРОВ
|
2,1Ч
3,6
|
7.56
|
0,39
|
49
|
1
|
-
|
140
|
|
|
|
|
|
|
|
|
|
|
|
|
|
|
Визначаємо питомі тепловтрати

По питомих втратах тепла, визначених для кутових
і середніх приміщень кожного поверху,
Вт/м
легко обчислити тепловтрати будь-яким приміщенням кожного поверху. Для цього
треба визначити периметр зовнішніх стін і компоненти його на питому втрату
одним погонним метром стіни відповідного приміщення. Результати обчислення
зручно оформити в табличній формі. Для правильного розміщення опалювальних
приладів доцільно попередньо визначити орієнтовану кількість секцій чавунних
радіаторів, як зазначено в графі 5 таблиці 1.2.
Таблиця 1.2. Тепловтрати приміщеннями і будовою
в цілому
|
№
приміщення
|
∑l,м
|
, Вт/м
|
Q,Вт
|
N=Q/178
|
|
101
|
12
|
1165
|
13970
|
79
|
|
102
|
3,6
|
489
|
1760
|
10
|
|
103
|
3
|
489
|
1467
|
9
|
|
104
|
4
|
489
|
1956
|
11
|
|
105
|
4
|
489
|
1956
|
11
|
|
106
|
3
|
489
|
1467
|
9
|
|
107
|
3,6
|
489
|
1760
|
10
|
|
108
|
12
|
1165
|
13970
|
79
|
|
109
|
12
|
1165
|
13970
|
79
|
|
110
|
2,8
|
489
|
1369
|
8
|
|
111
|
3,8
|
489
|
1858
|
11
|
|
112
|
3,8
|
489
|
1858
|
11
|
|
113
|
3,2
|
489
|
1564
|
9
|
|
114
|
3,2
|
489
|
1564
|
9
|
|
115
|
3,8
|
489
|
1858
|
11
|
|
116
|
3,8
|
489
|
1858
|
11
|
|
117
|
2,8
|
489
|
1369
|
8
|
|
118
|
12
|
1165
|
13970
|
79
|
|
201
|
12
|
208
|
2490
|
14
|
|
202
|
3,6
|
150
|
540
|
3
|
|
203
|
3
|
150
|
450
|
3
|
|
204
|
4
|
150
|
600
|
4
|
|
205
|
4
|
150
|
600
|
4
|
|
206
|
3
|
150
|
450
|
3
|
|
207
|
3,6
|
150
|
540
|
3
|
|
208
|
12
|
208
|
2490
|
14
|
|
209
|
12
|
208
|
2490
|
14
|
|
210
|
2,8
|
150
|
420
|
3
|
|
211
|
3,8
|
150
|
570
|
4
|
|
212
|
3,8
|
150
|
570
|
4
|
|
213
|
3,2
|
150
|
480
|
3
|
|
214
|
3,2
|
150
|
480
|
3
|
|
215
|
3,8
|
150
|
570
|
4
|
|
216
|
3,8
|
150
|
570
|
4
|
|
217
|
2,8
|
150
|
420
|
3
|
|
218
|
12
|
208
|
2490
|
14
|
|
301
|
12
|
261
|
3130
|
18
|
|
302
|
3,6
|
189
|
680
|
4
|
|
303
|
3
|
189
|
567
|
4
|
|
304
|
4
|
189
|
756
|
5
|
|
305
|
4
|
189
|
756
|
5
|
|
306
|
3
|
189
|
567
|
4
|
|
307
|
3,6
|
189
|
680
|
4
|
|
308
|
12
|
261
|
3130
|
18
|
|
309
|
12
|
261
|
3130
|
18
|
|
310
|
2,8
|
189
|
529
|
3
|
|
311
|
3,8
|
189
|
718
|
4
|
|
312
|
3,8
|
189
|
718
|
4
|
|
313
|
3,2
|
189
|
605
|
4
|
|
314
|
3,2
|
189
|
605
|
4
|
|
315
|
3,8
|
189
|
718
|
4
|
|
316
|
3,8
|
189
|
718
|
4
|
|
317
|
2,8
|
189
|
529
|
3
|
|
318
|
12
|
261
|
3130
|
18
|
Сума тепловтрат усіма приміщеннями ∑Q =
118430Вт.
.4 Конструювання та вибір обладнання теплового
пункту
Так як параметри теплоносія теплової мережі не
відповідають допустимим для житлових і адміністративних будівель, а тиск на
вході достатній для роботи елеватора, система опалення підключається до
тепломережі по залежній схемі, через елеваторний вузол. Теплова потужність QC,
Вт, яку повинен забезпечити елеватор, визначається як:
де
-
коефіцієнт для опалювальних приладів М140
коефіцієнт, що
враховує додаткові втрати тепла трубами через зовнішні огородження,
- тепловтрати
будови, Вт.
Витрати води. що проходять через горловину G,
т/ч, обчислюються по залежності:
де
и
-
температура води відповідно в подаючій та зворотній магістралях системи
опалення (знаходиться в залежності від призначення будівлі), оС.
Перепад тисків після елеватора, кПа
де
-
перепад тисків до елеватора (по завданню
);
- коефіцієнт
змішення води в елеваторі;
Тг - температура води в тепломережі:
для лікарень, ясел, дитсадків
оС,
оС.
Діаметр горловини елеватора, м обчислюється як:
По обчисленому діаметру горловини з таблиці
підбирають найближчий менший діаметр горловини стандартного елеватора і його
номер, згідно таблиці 1.3. вибираємо елеватор ВТІ МосЕнерго N2.
Діаметр сопла елеватора dC, м , знаходять по
формулі:
3. Вентиляція
.1 Визначення повітрообмінів та розмірів
вентиляційних каналів
Витрати повітря L, м3/ч., що виводиться з кожній
із шести розрахункових приміщень (по 2 на кожному поверсі)шляхом природної
втяжної системи, розраховують по наступній залежності:
де
-
об’єм обчислювального приміщення, м3;
- кратність
повітрообміну за годину, для гуртової кімнати (Д.6).
де
-
об’єм обчислювального приміщення, м3;
- кратність
повітрообміну за годину, для процедурної (Д.6).
Необхідна площа перерізу каналів Fk ,
м2визаначається по формулі:
де
-
рекомендована швидкість повітря в вентиляційному каналі, м/с., приймається 0,5
- 1,0 м/с в залежності від поверху (1 пов. - 0,6; 2 пов. - 0,7; 3 пов. - 0,8
м/с).
В залежності від товщини стін,їх матеріалу та
розташування задаються стандартними розмірами каналів. Кількість каналів n,
шт., для кожного приміщення визначається з подальшим округленням даних по
формулі:
де
-
площа перерізу стандартного каналу, м2.
Живий переріз вентиляційних решіток кожного
каналу обчислюють наступним чином:
де
-
рекомендована швидкість, м/с, повітря біля входу в жалюзійну решітку, (Д.13).
де
-
витрати повітря через вертикальний канал, м3/ч.
В кожному обчислювальному приміщенні на плані
будови наносяться витяжні канали, а на горищі, або на плані другого поверху
пунктиром показують горизонтальні короби і вентиляційну шахту системи природної
витяжної вентиляції обчислювальних приміщень. Розрахунок повітрообміну заносять
в таблицю 2.1.
Таблиця 2.1 - Розрахунок повітрообміну в
приміщенні
|
№
кімнати, призначення
|
Об’єм
приміщення м3
|
Кількість
повітрообміну, К
|
Витрати
повітря L, м3/час
|
Сумарна
площа каналу м2
|
Розмір
стандартного каналу, а
|
Число
каналів , шт.
|
Швидкість,
м/с
|
|
101
гуртова
|
90,312
|
1
|
90,312
|
0,042
|

|
0,66
|
|
102
процедурна
|
20
|
5
|
100
|
0,046
|
|
1
|
0,75
|
|
201
гуртова
|
90,312
|
1
|
90,312
|
0,036
|
|
1
|
0,66
|
|
202
процедурна
|
20
|
5
|
100
|
0,04
|
|
1
|
0,75
|
|
301
гуртова
|
90,312
|
1
|
90,312
|
0,031
|
|
1
|
0,66
|
|
302
процедурна
|
20
|
5
|
100
|
0,035
|
|
1
|
0,75
|
.2 Вимоги до техніки безпеки по газопостачанню
житлового будинку
При виконанні роботи слід користуватись
нормативами [13-15]. газопровід вводять в житлові і громадські будинки через
нежитлові помешкання (сходові клітки, коридори, чи в помешканнях де є газові
прибори). Не дозволяється ввід газопроводу в підвали, ліфти, вентиляційні
камери. Замикаюча арматура газопроводу розміщується на сходових клітках, в
тамбурах, коридорах. Розводящі труби газопроводів прокладають по верху стін
першого поверху. Газові стояки прокладають в кухнях, на сходових клітках чи
коридорах. Їх не можна прокладати в житлових кімнатах, ванних та санвузлах.
Якщо від одного вводу в житловий будинок газ подають до кількох стояків, то на
кожному з них ставиться кран чи засув.
В будинках до п’яти поверхів вимикаючі пристрої
на стояках не встановлюють. Перед кожним газовим приладом встановлюють кран.
Труби з’єднуються на зварюванні. В місцях перетину з фундаментами,
перекриттями, сходовими площадками, стінами, а також у входу та виходу з-під
землі газопровід замикають в стальні футляри. Відстань між відкрито
прокладеними електропроводами та стінкою газопроводу повинна бути не менш, ніж
0,1м.
Установку газових плит в житлових будинках треба
передбачити в приміщеннях кухонь висотою не менш, ніж 2,2 м, які мають вікна з
кватирками. При цьому внутрішній об’єм приміщення повинен бути не менш ніж 8 м3
- для газових плит з двома пальниками; 12 м3 - для плит з трьома та 15 м3 - для
плит з чотирма пальниками.
4. Електричний розрахунок та вибір апарату для
підігріву води
Виходячи з даних ми бачимо, що на наш будинок
припадає 28557,35 Вт. За цим значенням ми вибираємо електродний котел ЭПЗ-60И6,
технічна характеристика якого приведена в таблиці 3.1.
Таблиця 3.1. Технічна характеристика
електродного котла ЭПЗ-60И6
|
Параметр
|
Значення
|
|
Номінальна
потужність, кВт
|
60
|
|
Номінальна
напруга, В
|
380/220
|
|
Кількість
фаз
|
3
|
|
Номінальна
частота, Гц
|
50
|
|
Номінальний
струм, А
|
91
|
|
Продуктивність
при номінальній температурі t, м3/год
|
2,04
|
|
ККД,
%
|
99
|
|
Діапазон
регулювання потужності, у % від номінального значення
|
від
100 до 25
|
|
Маса,
кг котла ящика керування шафи керування
|
93
- 55
|
|
Площа
приміщення, яке обігрівається, м2
|
600
|
|
Габарити,
мм висота котла зовнішній діаметр шафа керування ящик керування
|
855
320 675х340х1100 -
|
Переваги котлів ЭПЗ :
Тривалий термін експлуатації;
Надійність;
Простота в експлуатації і обслуговуванні;
Високий ККД: електроенергія відразу
перетворюється в теплову при проходженні струму через воду;
Автоматичне підтримання температурного режиму
електроводонагрівника;
Пожежна і аварійна безпека : при відсутності
води в корпусі електроводонагрівника котел не працює;
Малі розміри котла.
Загальний вигляд котла ЭПЗ-60И6 показаний на
рис.1.
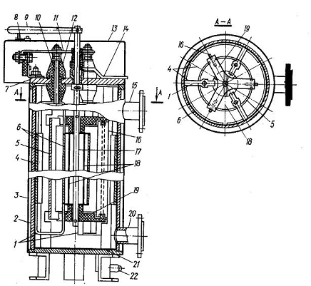
Рис. 1. Електродний котел ЭПЗ-60И6:
- скоби, 2 - корпус, 3 і 13 - кожухи, 4 і 18 -
ізоляційні екрани, 5 - регулювальний електрод, 6 - фазні електроди, 7 - кришка,
8 - шкала, 9 - ручка, 10 - ввід струму, 11 - шипи, 12 - ізолятор, 14 і 22 -
дренажі, 15 і 20 - патрубки, 16 - ізоляційна пластина, 17 - поворотна вісь, 19
- траверса, 21- ізолятор дна
Котел має циліндричний сталевий корпус 2,
покритий зверху теплоізоляцією і металевим кожухом. Корпус має верхній 15 і
нижній 20 патрубки відповідно для підведення і відведення води. Електродна
група змонтована на кришці 7 за допомогою прохідних ізоляторів 12 і складається
з блоків регулювальних 5 і фазних 6 електродів. Потужність котла регулюється
повертанням за допомогою ручки 9 у горизонтальній площині електродів на кут від
0 до 60º.
В електродному прямоточному котлі ЭПЗ-60И6
потужність регулюють у межах від 100 до 25 % введенням між електродами і
антиелектродами (нульовими електродами) ізоляційних циліндрів. Номінальний
режим роботи котла розрахований на нагрівання води від 70 до 95 ºС
з питомим електричним опором 3000 Ом · см при температурі 20 ºС.
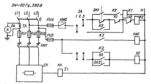
На рис. 2 зображено принципіальну електричну
схему електрокотла ЭПЗ-60И6.
Рис. 2. Принципіальна електрична схема котла
ЭПЗ-60И6
Схема забезпечує два режими роботи: ручний і
автоматичний. При автоматичному керуванні перемикач SA встановлюють у положення
3. Керування здійснюють за температурою води на виході, яка підтримується в
межах +70...+95 °С. Температурний режим задається манометричними термометрами
SK1 і SK2. Максимальна уставка манометричного термометра SK1 повинна
відповідати температурі води на виході, а мінімальна - бути на 5-10°С нижчою.
Манометричний термометр SK2 призначений для
вимикання котла при виході з ладу манометричного термометра SK1 і недопустимому
підвищенні температури. Уставка манометричного термометра SK2 повинна бути на
5-10 °С вищою за максимальну уставку манометричного термометра SK1.
Коло керування живиться через замикаючий контакт
КМ2 електромагнітного пускача циркуляційного насоса, тому останній потрібно
ввімкнути перед вмиканням котла.
При вмиканні рубильника Q і температурі води,
нижчій за мінімальну уставку, одержить живлення котушка реле КЗ. Реле КЗ
спрацює і замкне свій замикаючий контакт КЗ у колі живлення котушки контактора
КМ1. Останній спрацює і ввімкне котел в електричну мережу. Вода почне
нагріватись. Спочатку розімкнеться розмикаючий контакт манометричного
термометра SK1. Однак це не вплине на роботу схеми, бо розмикаючий контакт
манометричного термометра SK1 вже заблокований замикаючим контактом реле КЗ.
При підвищенні температури води до верхньої межі замкнеться контакт
манометричного термометра SK1. Спрацює реле K1 і розімкне свої розмикаючі
контакти в колі живлення котушки реле КЗ, що приведе до вимикання котла.
Повторне вмикання котла відбудеться тільки при
замиканні розмикаючого контакту манометричного термометра SK1 у колі живлення
реле К3.
При ручному керуванні перемикач SA встановлюють
у положення 1. Автоматичне вимкнення котла при цьому можливе лише в аварійному
режимі, коли спрацює реле К2, або при спрацюванні реле максимального струму КА,
яке захищає котел від роботи в неповнофазному режимі.
Висновок
У цьому курсовому проекті запроектована
двотрубна система опалювання з природною циркуляцією теплоносія, верхньою
розводкою трубопроводів. Система опалювання по параметрах теплоносія
відноситься до водяних низькотемпературних t = 95 ºС.
Перепад тиску в системі 8540 Па, сумарні втрати тиску 7822,18 Па, таким чином,
запас тиску в системі складає 8,41%. Орієнтовні середні питомі втрати тиску на
тертя в циркуляційному кільці складають 26,72 Па. За результатами теплового
розрахунку приміщень сумарні втрати через огороджувальні конструкції складають
28557,35 Вт. По цих результатах вибраний і запропонований електродний проточний
котел ЭПЗ-60И6, на номінальну потужність 60 кВт.
В результаті теплового розрахунку нагрівальних
приладів було підібрано кількість секцій радіаторів в кожному приміщенні. В
якості нагрівальних приладіви прийняті чавунні радіатори МС- 140-98.
Максимальне число секцій в одному радіаторі для цієї будівлі 7 шт, мінімальне 4
шт.
Бібліографічний список
.
ГОСТ 2.105-95. Текстові документи.
.
СНиП 23-02-2003. Тепловий захист будівель. - М.: Держбуд Росії, 2004.- 25с.
.
СП 23-101-2004. Проектування теплового захисту будівель. - М.: НИИСФ РААСН,
Держбуд Росії, 2004. - 240с.
.
СНиП 23-01-99. Будівельна кліматологія. - М.: Держбуд Росії, 2000. - 67с. 5.
СНиП 2.04.05-91*. Будівельних норм і правила. Опалювання, вентиляція і
кондиціонування. - М.: Держбуд Росії, 2004. - 71с.
.
Довідник проектувальника : в 3-х частинах. Внутрішні санітарно-технічні устрої.
- Ч. 1. Опалювання, водопровід і каналізація/ під ред. И.Г. Староверова. - М.:
Стройиздат, 1990. - 450с.
.
Тихомиров К.В. Теплотехніка, теплогазоснабжение і вентиляція/ К.В.Тихомиров,
Э.С. Сергеенко. - М.: Стройиздат, 1991. - 480с.
.
Сканави А.Н. Опалювання/ А.Н.Сканави, Л.М. Махов. - М.: АСВ, 2006.- 576с.