|
Наименование данных
|
Номер варианта
|
|
1
|
2
|
3
|
4
|
5
|
6
|
7
|
8
|
9
|
0
|
|
Номер профиля мостового
перехода
|
1
|
2
|
3
|
4
|
5
|
1
|
2
|
3
|
4
|
5
|
|
Отверстие моста, м
|
40
|
41
|
42
|
43
|
44
|
45
|
46
|
47
|
48
|
49
|
|
Коэффициент размыва русла
|
1.
|
1.
|
1.
|
1,2
|
1.
|
1,4
|
1,2
|
1,4
|
1,2
|
1.
|
|
Толщина льда, см
|
60
|
50
|
40
|
30
|
20
|
60
|
50
|
40
|
30
|
20
|
Номер варианта
|
|
1
|
2
|
3
|
4
|
5
|
6
|
7
|
8
|
9
|
0
|
|
Разность отметок ПР и УМВ,
м
|
6
|
7
|
6
|
6,5
|
6
|
6,5
|
5,5
|
6,8
|
6,3
|
6
|
|
№ грунта 1-го слоя
|
1
|
2
|
3
|
4
|
5
|
1
|
2
|
3
|
4
|
5
|
|
№ грунта 2-го слоя
|
6
|
6
|
7
|
7
|
8
|
8
|
9
|
9
|
0
|
0
|
|
Класс врем. нагрузки
|
14
|
12
|
14
|
12
|
14
|
12
|
14
|
12
|
14
|
12
|
|
Наименование характеристик
грунта
|
Номер грунта
|
|
1
|
2
|
3
|
4
|
5
|
6
|
7
|
8
|
9
|
0
|
|
Вид грунта
|
Песок пылева- тый
|
Песок мелкий
|
Суглинок
|
Глина
|
|
К-т пористости грунта Степень
влажности К-т консистенции Объемная масса, тс/м3 Угол внутреннего трения,
град.
|
0,7 0,9 - 1,8 30
|
0,5 0,7 - 1,9 36
|
0,6 0,8 - 1,8 32
|
0,7 0,6 - 1,9 38
|
0,6 - 0,2 1,9 24
|
0,5 - 0,1 2,0 30
|
0,7 - 0,2 1,8 22
|
0,6 - 0,1 1,9 26
|
0,5 - 0,2 1,8 20
|
0,7 - 0,1 1,9 24
|
оглавление
Исходные данные
. Краткие сведения о системах деревянных мостов
. Общая компоновка моста и методика разработки вариантов
. Технико-экономический расчёт вариантов
. Особенности расчета автодорожных мостов
.1 Проезжая часть
.2 Пролетные строении
.3 Расчет опор
ВВЕДЕНИЕ
Применение метода вариантного проектирования заключается в
целенаправленной последовательной разработке вариантов решения с критическим
анализом каждого очередного варианта. Цель анализа - выявить достоинства и
недостатки каждого варианта и найти пути, позволяющие избавиться от
недостатков, сохранить и по возможности развить положительные стороны решения.
Так обычно приходят не к одному, а к нескольким различающимся, но
конкурентоспособным вариантам. На основании детального технико-экономического
сравнения этих вариантов и выбирается окончательное решение.
То, что при проектировании моста обычно обнаруживается не одно лучшее, а
несколько конкурентоспособных решений, объективно обусловлено противоречивостью
требований, которые предъявляются к сооружению, а также отсутствием единого
критерия оценки. Например, трудно одновременно обеспечить требуемые по условиям
судоходства большие пролеты моста с высоким подмостовым габаритом и малую
высоту насыпей на подходах, что, например, важно для городских мостов.
Повышенные архитектурные требования часто вступают в противоречие с условием
минимума затрат. Более дешевый мост может оказаться менее долговечным. Поэтому
выбор окончательного решения часто становится трудным и ответственным шагом
[1-3].
На первом этапе разработки курсового проекта деревянного моста,
трудоемкость которого составляет около 30% всего объема работы, необходимо
выбрать оптимальный вариант моста, используя следующие критерии:
) стоимость строительства моста, рассчитываемую по укрупненным единичным
расценкам, приведенным в Приложении 2;
) технические достоинства, определяющие условия строительства и
эксплуатационные качества сооружения (возможность заводского изготовления,
сложность производства работ, надежность и долговечность конструкции, условия
содержания моста, в частности, условия пропуска льда, что очень важно для
деревянных мостов, и др.).
1. КРАТКИЕ СВЕДЕНИЯ О СИСТЕМАХ ДЕРЕВЯННЫХ МОСТОВ
Системы деревянных мостов под автомобильную дорогу.
Мосты балочной системы
Наиболее простой является система балочного моста, состоящая из плоских
опор и пролетных строений в виде одноярусных рассредоточенных прогонов (рис.
8,а). Эта система применяется при пролетах до 6м. Максимальная длина пролетов
ограничена стандартной длиной бревен или брусьев 6,5м. Прогоны укладывают на
расстоянии 0,5-0,6м друг от друга.
Стойки
плоской опоры располагаются на расстоянии
м.
Опирание рассредоточенных прогонов вызывает изгиб насадки между стойками,
поэтому при подборе сечения насадки необходима проверка ее на прочность при
изгибе. В зависимости от ширины и высоты опоры меняется схема размещения
диагональных схваток, обеспечивающих геометрическую неизменяемость опоры. Как
правило, вследствие большой ширины опоры применяются V-образные
диагональные схватки. При увеличении высоты диагональные схватки ставятся в
несколько ярусов, разделенных горизонтальными схватками (рис. 8,б). При высоте
опоры, превосходящей ее ширину, рекомендуется снабжать опору укосинами для
увеличения поперечной устойчивости и жесткости.
Проезжая
часть на мостах под автомобильную дорогу устраивается в виде двойного дощатого
настыла или деревоплиты. Двойной дощатый настил состоит из защитного и рабочего
настилов, уложенных на поперечины. Расстояние между поперечинами назначается
0,4-0,6м, диаметр поперечин 16-24см, в зависимости от расстояния между
прогонами. Верхний слой досок подвержен истиранию колесами автомобилей и как
несущая конструкция не рассматривается. Толщина досок верхнего настила 5-7см.
Толщину досок нижнего настила, работающего на поперечный изгиб, назначают
6-10см.
Рис.
8
деревянный мост автомобильный дорога
Пешеходные
тротуары моста располагают на консолях поперечин, выпущенных на 0,5-1,0м за
крайние бревна (пакеты) прогонов. Тротуары отделяют от проезжей части
колесоотбойным брусом.
Деревоплита
набирается в виде сплошного слоя досок, поставленных на ребро и опирающихся
непосредственно на сосредоточенные прогоны. Поверх деревоплиты укладывается
слой асфальта толщиной 4-6см.
Расстояние
между сосредоточенными прогонами принимается при двойном дощатом настиле на
поперечинах 1,2-1,6м, а при деревоплите 1,4-2,0м. Расстояния между стойками
опор соответствуют расстояниям между сосредоточенными прогонами (рис. 8,в).
Для
перекрытия пролетов более 6 м в мостах балочной системы применяют
сосредоточенные составные прогоны на шпонках, клееные балки и дощато-гвоздевые
фермы.
Клееные
балки автодорожных пролетных строений мостов применяют при пролетах 6-20м.
Высота балок принимается в пределах 1/9-1/13 расчетного пролета. При пролетах
6-12м балки имеют прямоугольную форму поперечного сечения, что упрощает их
конструкцию. При больших пролетах предпочтительна более экономичная двутавровая
форма. Для обеспечения поперечной устойчивости и горизонтальной жесткости
пролетного строения балки объединяются поперечными и продольными связями в
уровне верхнего пояса. Проезжую часть по клееным балкам целесообразно
устраивать в виде клееной деревоплиты.
Дощато-гвоздевые
фермы являются разновидностью сквозных ферм. Они изготавливаются из досок с
соединением элементов гвоздями без применения врубок. Доски, расположенные
вплотную друг к другу под углом 45°, образуют непрерывную систему раскосов,
связанных с верхним и нижним поясом. В автодорожных мостах дощато-гвоздевыми
фермами перекрываются пролеты от 6 до 24м. Высота ферм назначается в пределах
1/9-1/10 расчетного пролета. Вследствие незначительной горизонтальной жесткости
ферм необходимо их объединение продольными и поперечными связями. Расстояние
между фермами или клееными балками составляет 1,2-2,0м.
Дощато-гвоздевые
фермы являются экономичными конструкциями, приспособленными к условиям
заводского изготовления. К недостаткам конструкции относится податливость
гвоздевых соединений, которая может вызвать появление заметных остаточных
прогибов. Плотное расположение досок в несколько рядов препятствует хорошему
проветриванию конструкции и создает опасность загнивания древесины. Своевременное
обнаружение мест гниения связано с проведением постоянных и тщательных
осмотров, что значительно усложняет эксплуатацию. В связи с отмеченными
недостатками дощато-гвоздевые фермы не применяются в мостах под железную
дорогу.
Вследствие
большой ширины автодорожных мостов усложняется разработка конструкций сборных
опор. Примером сборных опор являются рамно-свайные опоры (рис. 9,а). На свайные
фундаменты устанавливаются готовые рамные надстройки, имеющие верхнюю и нижнюю
насадки.
Для
упрощения конструкции опирания между рамами и свайным фундаментом укладываются
прокладные брусья. Такой тип сборной рамно-свайной опоры применяется в том
случае, если изготовление широких рам ведется непосредственно на месте
строительства моста. Если же рамные надстройки изготавливаются в заводских
условиях, то необходимо уменьшить их ширину по условиям транспортирования. Для
этого каждая плоская рама может члениться на две полурамы, которые
изготавливаются и устанавливаются на место порознь (рис. 9,б). Объединение
полурам производится дополнительными горизонтальными и диагональными схватками.
Членение
пространственных опор на поперечные рамы не всегда оправдано, так как рамы
получаются широкими и тяжелыми, и, следовательно, плохо приспособленными к
условиям транспортирования и монтажа. Можно членить пространственную опору не
на поперечные, а на продольные плоские рамы (рис. 9,в). Количество таких рам в
опоре равно количеству стоек по ширине моста. Узкая плоская рама состоит из
двух стоек, коротких верхней и нижней насадок, горизонтальных и диагональных
схваток. Диагональные схватки могут быть заменены подкосами, расположенными в
плоскости рамы, и металлическими тяжами. Нижней насадкой рама опирается
непосредственно на насадку свайного фундамента. Поверх насадок рам укладывается
прокладной брус для опирания прогонов.
Рис.
9
Узкая
плоская рама состоит из двух стоек, коротких верхней и нижней насадок, а также
горизонтальных и диагональных схваток. Диагональные схватки рамы могут быть
заменены подкосами, расположенными в плоскости рамы, и металлическими тяжами.
Нижней насадкой рама опирается непосредственно на насадку свайного фундамента.
По верхним насадкам рам укладывается прокладной брус для опирания прогонов
(рис. 9,г).
Другой
вариант конструкции сборных пространственных опор предусматривает членение рам
по высоте (рис. 10,а,б). Высота таких рам по условиям транспортирования
назначается 2,0-3,0м. Рама состоит из нескольких коротких стоек, а также
верхней и нижней насадок. Диагональные связи выполнены в виде коротких
подкосов, упирающихся в углы между насадкой и стойками. Опоры состоят из
нескольких ярусов рам, опирающихся своими насадками непосредственно друг на
друга. Между собой насадки стягивают металлическими болтами. В зависимости от
опорного давления под опорным узлом тяжелого пролетного строения устанавливают
сдвоенные стойки, либо две стандартные рамы, которые обязательно стягивают
металлическими болтами.
Мосты
подкосных систем
Мосты
подкосных систем под автомобильную дорогу применяются при пролетах более 6-7 м,
когда необходимо увеличить перекрываемый пролет при сохранении сравнительно
простой конструкции прогонов. Схемы мостов показаны на рис. 10.
В
мостах треугольно-подкосной системы (рис. 10,а) перекрываются пролеты длиной
6-8м. Высота подкосных систем составляет 1/2-1/3 пролета. Затяжки пролетного
строения воспринимают распор и освобождают опоры от его воздействия.
Пространственные опоры подкосного моста состоят из двух плоских однорядных
полуопор и проектируются аналогично свайным опорам балочного моста с
сосредоточенными прогонами. При сопряжении моста треугольно-подкосной системы с
насыпью необходимо нижние узлы примыкания подкосов расположить вне конуса
насыпи во избежание их загнивания. Расстояние от поверхности конуса до нижнего
узла должно быть по вертикали не менее 0,5м. Чтобы выполнить это требование,
приходится искусственно удлинять устои моста за счет устройства нескольких
балочных пролетов. Длина пролетов в пределах устоя принимается равной длине
панели d треугольно-подкосного пролетного строения.
Трапецеидально-подкосная
система (рис. 10,б) применяется при пролетах длиной 6-9м. Подкосы, упирающиеся
под прогонами в подбалку, создают дополнительные точки опирания для прогонов.
Угол наклона подкосов
назначается в пределах 45-50°. При расположении
временной нагрузки в пролете опоры моста работают на изгиб. Поэтому в
трапецеидально-подкосных мостах рекомендуется применение жестких
пространственных опор.
На
рис.10,в показана схема моста ригельно-подкосной системы. Пролетное строение
представляет собой распорную систему, составленную из двух подкосов и ригеля,
на которые опираются прогоны. Угол наклона подкосов составляет 40-45°. Подкосы
и ригель образуют шарнирную геометрически изменяемую систему. Ее геометрическая
неизменяемость зависит от способности прогонов сопротивляться изгибу. Поэтому
не допускается устраивать стыки прогонов в пролете. Этим требованием
определяется наибольшая длина перекрываемого пролета, которая не может
превышать длины бревен, т. е. 9-12м.
При
перекрытии пролетов длиной 12-16м применяются подкосные мосты комбинированной
системы, которая получается при объединении в одном пролетном строении
трапецеидально-подкосных и ригельно-подкосных систем. Конструкция отличается
особой сложностью узлов. Применение комбинированных систем оправдывается в
случае, когда возникает необходимость перекрывать большие пролеты при
отсутствии конструкций индустриального изготовления и брусьев большого
диаметра.
Прогоны
в мостах подкосных систем располагаются в одной вертикальной плоскости с
подкосами и стойками. Расстояние между сосредоточенными прогонами принимают в
пределах 1,2-1,6 м.
В
мостах подкосных систем, не имеющих затяжек (рис.10,б,в), распор передается на
опоры. Это вызывает работу опор на изгиб и требует повышения их жесткости. В
таких случаях рекомендуется применение пространственных опор. При большой
высоте моста условия работы опор становятся особенно тяжелыми, и эти системы
оказываются неэкономичными. Серьезным недостатком подкосной системы является
сложность конструкции, требующая высокой квалификации исполнителей, особенно
при устройстве узлов соединения элементов между собой.
Рис.
10
Устои
деревянных мостов
Устои
мостов под автомобильную дорогу
В
автодорожных мостах конструкция устоев проще, расход древесины и трудоемкость
возведения устоев меньше. Это связано с меньшей интенсивностью временной
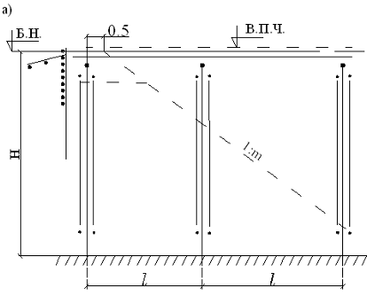
вертикальной нагрузки и тормозных сил. При незначительной высоте насыпи H=2-3м
устои выполняются в виде плоской однорядной опоры (рис.13,а).
В
некоторых случаях однорядную опору усиливают подкосами, которые упираются в
стойки соседней опоры. При более значительной высоте насыпи H>3м
устой автодорожного моста представляет собой пространственную опору из двух
рядов стоек, связанных подкосами и горизонтальными схватками (рис.13,б).
Расстояние между рядами стоек не превышает 2-3м.

Рис.
13
Устой
с насыпью сопрягаются с помощью так называемого закладного щита. Перед устоем
на насыпи устраивается «мягкий» въезд в виде наклонного деревянного щита, засыпанного
грунтом. Щит препятствует оседанию и разрушению дорожного покрытия перед
устоем.
В
автодорожных мостах при сопряжении устоев с большими пролетами часто используют
решение, показанное на рис.13,в. Для опирания прогонов устоя устраивают
дополнительный третий ряд стоек на расстоянии 1,0-1,2м.
2.
ОБЩАЯ КОМПОНОВКА МОСТА И МЕТОДИКА РАЗРАБОТКИ ВАРИАНТОВ
При
компоновке моста прежде всего определяются его генеральные размеры: длина,
высота; выбирается система моста; производится разбивка на пролеты, затем более
детально прорабатываются схемы опор, пролетных строений.
Длина
моста, проектируемого через водоток, зависит от необходимой величины отверстия,
числа и размеров опор, стесняющих отверстие, высоты насыпи и уклонов откосов
конусов.
При
компоновке опор следует обращать внимание на увязку их конструкции с
конструкцией пролетных строений и прежде всего с размещением балок или прогонов
пролетных строений в направлении поперек оси моста. Последнее определяется
положением рельсов, заданными габаритами проезжей части, шириной тротуаров.
Соответствующие указания имеются в разделе 1. При компоновке моста необходимо
вычерчивать фасад и поперечники одновременно, взаимно согласуя их.
Для
опор моста под автомобильную дорогу рекомендуется найти оптимальное расстояние
между стойками в направлении поперек оси моста. При рассредоточенных прогонах
этим расстоянием определяется пролет насадки, работающей на изгиб. При
рассредоточенных прогонах расстоянием между стойками определяется количество
прогонов и пролеты поперечин. Оптимальное расстояние можно найти путем
сравнения вариантов с различным количеством стоек в опоре, подсчитывая при этом
расход лесоматериалов.
Глубина
забивки свай зависит от характера грунтов основания, но должна быть не менее
4м, считая от линии размыва дна. При наличии твердых грунтов глубина забивки
может быть уменьшена до 2,5м. В целях безопасности и устойчивости моста
назначаю глубину забивки 4 метра.
Размеры
диаметра бревна считаю принять 28см.
Все
варианты представлены на чертеже 1.
3.
ТЕХНИКО-ЭКОНОМИЧЕСКИЙ РАСЧЕТ ВАРИАНТОВ
Стоимость
моста по варианту № 1
|
Наименование частей моста
|
Количество однотипных
частей
|
Стоимость, руб.
|
|
|
единицы
|
Общая
|
|
Устои Плоские опоры
однорядные двухрядные Пространственные опоры Межпролетные заполнения
Пролетные строения lр lр
|
2 14 18 14 6м
|
2000 6.86 7.3 25.38
|
20000 6м 60025 9м 63875
88830 60025
|
|
Итого:
Ьщ--
|
292755
|
|
Прочие затраты 35%:
|
102464.25
|
|
Всего:
|
395219.25
|
Стоимость моста по варианту № 2
|
Наименование частей моста
|
Количество однотипных
частей
|
Стоимость, руб.
|
|
|
единицы
|
Общая
|
|
Устои Плоские опоры
однорядные двухрядные Пространственные опоры Межпролетные заполнения
Пролетные строения lр lр
|
2 14 20 14 6м
|
2000 6.86 8 25.38
|
20000 6м 60025 9м 63875
100000 60025
|
|
Итого:
|
303925
|
|
Прочие затраты 35%:
|
110000
|
|
Всего:
|
420975
|
Стоимость моста по варианту № 3
|
Наименование частей моста
|
Количество однотипных
частей
|
Стоимость, руб.
|
|
|
единицы
|
Общая
|
|
Устои Плоские опоры
однорядные двухрядные Пространственные опоры Межпролетные заполнения
Пролетные строения lр lр
|
2 14 19 14 6м
|
2000 6.86 7.3 25.38
|
20000 6м 60025 9м 63875
90000 60025
|
|
Итого:
|
300950
|
|
Прочие затраты 35%:
|
107750
|
|
Всего:
|
405985
|
В целях экономии и более выразительного архитектурного облика я склоняюсь
к выбору первого варианта моста.
4. ДОПОЛНИТЕЛЬНЫЕ РАСЧЕТЫ ДЛЯ АВТОДОРОЖНЫХ МОСТОВ
4.1 Проезжая часть
Рассматриваются две конструкции проезжей части, получившие наибольшее
распространение: двойной дощатый настил, опирающийся на поперечины, и
деревоплита, покрытая асфальтобетоном.
Расчет
элементов проезжей части производится на давление одиночной оси
кН (рис. 23).
Деревоплиту,
состоящую из досок толщиной
= 4-5см,
рассчитывают как разрезную балку с расчетным пролетом а, равным расстоянию
между осями прогонов или клееных балок.
Нормативные
постоянные нагрузки на 1 п.м. участка деревоплиты:
от
веса дорожного покрытия
=0.05*22.6=1.13
кН/м;
от
собственного веса деревоплиты
=0.12*6.9=0.83
кН/м;
где t=
0,05 ... 0,10м - толщина дорожного покрытия (асфальтобетона);
= 0,11...0,14м - средняя высота деревоплиты;
= 22,6 кН/м3;
=6,9
кН/м3 - объемный вес соответственно асфальтобетона и дерева.
,
вдоль
оси моста:
для
клееной деревоплиты
=0.775
Здесь
м - длина площадки контакта колеса с покрытием
проезжей части вдоль движения;
м -
ширина ската колеса.
Расчетный
изгибающий момент в середине пролета деревоплиты от нагрузки постоянной и
временной:
при
=19.57кНм
где
и
-
коэффициенты надежности по нагрузке для постоянной нагрузки.
Требуемый
момент сопротивления
=1.84
Откуда
4.2 Пролетные строения
Прогоны
рассчитывают как разрезные балки с пролетом
, равным
расстоянию между осями насадок или опорных брусьев (рис. 17). Определение
расчетных усилий в прогонах (балках) производится с учетом особенностей
конструкции пролетного строения (сосредоточенные прогоны, сближенные
(разбросные) прогоны, клееные (клеефанерные) балки.
Нормативные
постоянные нагрузки на 1 п.м длины прогона, кН/м:
от
собственного веса деревянных конструкций пролетного строения, включая элементы
проезжей части и тротуаров
=0.1127кН
от
веса дорожного покрытия
=1.32кН
где
- объем деревянных конструкций пролетного строения;
- полная
длина пролетного строения;
м -
средняя толщина дорожного покрытия;
-
количество прогонов в поперечном сечении;
- ширина
моста, м.
Коэффициенты
надежности по нагрузке принимаются: для собственного веса деревянных
конструкций
; для веса дорожного покрытия
Коэффициенты
надежности по нагрузке принимаются: для собственного веса деревянных
конструкций
; для веса дорожного покрытия
.
Нормативная
временная вертикальная нагрузка для автодорожных деревянных мостов общего
пользования на дорогах IV и V категорий и на внутрихозяйственных дорогах задается
от автотранспортных средств в виде полос АК (К=8), в виде одиночной гусеничной
нагрузки НГ-60 и пешеходной нагрузки на тротуарах. В рамках эскизного проекта
можно ограничиться расчетом прогонов (балок) на нагрузку А8 (рис. 23).
При
расчетах прогонов на прочность рассмотрим случай установки нагрузки АК в
пределах проезжей части без учета полос безопасности. Нагрузку с одной полосы
движения принимают с коэффициентом
; при
одновременном загружении моста несколькими полосами нагрузку от тележек
принимают с коэффициентом
, а распределенную нагрузку
со второй и последующих полос с коэффициентом
.
При
рассредоточенных прогонах КПУ определяют по способу "упругого
распределения" нагрузки между прогонами. Для этого предварительно задаются
сечением прогонов и поперечин и вычисляют коэффициент упругой передачи
=0.6
где
- расстояние между прогонами;
-
расчетный пролет прогона;
- момент
инерции прогона в середине пролета;
- момент
инерции поперечин (обычно в расчет вводят две поперечины).
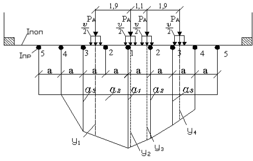
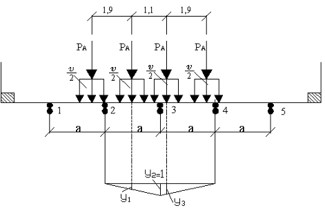
При
давление распределяется на три прогона. Ординаты
линии влияния давления определяются по формулам
=0.5
0.22
.
Коэффициенты
надежности по нагрузке к временным нагрузкам принимаются:
для
тележки
при
;
при
м;
для
равномерно распределенной нагрузки
.
Здесь
- длина линии влияния; промежуточные значения
принимаются по интерполяции.
Загружение
линий влияния
и
постоянными
и временными нагрузками показано на рисунке
Максимальный
изгибающий момент в середине пролета (сеч. 1) прогона (балки)
184.5кН/м
Максимальная
поперечная сила в опорном сечении (сеч. 0) прогона (балки)
=495кН
4.3 Расчет опор
Для
определения давления, передаваемого прогонами на стойки опоры автодорожного
моста, загружают постоянной и временной нагрузками линию влияния давления, вид
которой зависит от особенностей конструкции прогонов и опоры (рис. 28).
Расчетная
величина давления на одну стойку опоры:
=7.6
где
и
-
нормативные нагрузки от собственного веса дорожного покрытия и прогонов,
определяемые по формулам
-
расстояние между стойками опоры поперек моста;
-
расстояние между прогонами;
-
площадь линии влияния опорного давления (рис.28);
и
-
ординаты линии влияния под осями тележки;
и
- КПУ соответственно временной распределенной нагрузки
и тележки, определяемые путем загружения линии влияния поперечного
распределения нагрузки между стойками по формулам
- число
рядов стоек опоры по фасаду, воспринимающих давление
.
Стойка
опоры проверяется на сжатие с учетом продольного изгиба по формуле, в которой
слагаемое
заменяется на
.
При
рассредоточенных прогонах насадка опоры должна быть дополнительно рассчитана на
изгиб между стойками. Наиболее невыгодное загружение насадки достигается
установкой временной нагрузки поперек моста так, чтобы один ряд колес находился
в середине пролета насадки (рис. 29,а). В этом случае можно допустить, что
насадка будет загружена равномерно распределенной нагрузкой от собственного
веса прогонов и проезжей части и давлением от одного ряда колес временной
нагрузки (рис. 29,б).
Равномерно
распределенное давление на насадку от собственного веса прогонов:
=5.3
а
суммарное давление от временной распределенной нагрузки
и колес тележки -
71.83=70.53
Изгибающий момент в середине пролета насадки равен
=1.6кН/м
Библиографический
список
1. Проектирование
деревянных и железобетонных мостов Под ред. А.А. Петропавловского. - М.:
«Транспорт», 1978.- 360 с.
2. Гибшман
Е. Е. Проектирование деревянных мостов. - М.: «Транспорт», 1976.- 272с.