Технология очистки промышленных газообразных отходов от пыли и золы

  • Вид работы:
    Реферат
  • Предмет:
    Экология
  • Язык:
    Русский
    ,
    Формат файла:
    MS Word
    521,11 Кб
  • Опубликовано:
    2013-08-26
Вы можете узнать стоимость помощи в написании студенческой работы.
Помощь в написании работы, которую точно примут!

Технология очистки промышленных газообразных отходов от пыли и золы















Реферат

Технология очистки промышленных газообразных отходов от пыли и золы

1. Характеристика и основные физико-химические свойства золы и пыли

пылеуловитель очистка газ

Эффективность работы газоочистных устройств зависит от физико-химических свойств золы и пылей, поступающих в аппарат очистки газов. Основными характеристиками золы и пыли являются плотность, дисперсный состав, электрическое сопротивление, слипаемость. В технике пыле- и золоулавливания принято различать истинную, кажущуюся и насыпную плотность твердых частиц. Истинная плотность твердой частицы определяется как отношение массы ее вещества к занимаемому ею объему за вычетом объема пор и газовых включений, которые может иметь частица.

Кажущаяся плотность определяется как отношение массы частицы к занимаемому ею объему, включая объемы пор и газовых включений.

Для расчетов, связанных с выбором или оценкой работы пыле- и золоулавливающих аппаратов, необходимы данные о кажущейся плотности частиц. Насыпная плотность определяется отношением массы свеженасыпных твердых частиц к занимаемому ими объему, при этом учитывается наличие воздушных промежутков между частицами. Дисперсный состав золы и пыли имеет большое значение для выбора и расчета систем пыле- и золоулавливания. Дисперсный состав - это распределение частиц по размерам. О величине частицы судят по размерам наименьшего отверстия сита, через которое частица диаметром d проходит при просеивании. Просеивая частицы через ряд сит с различным размером ячеек, получают кривую остатков на сите Rd. Каждая точка кривой показывает относительное содержание частиц с размерами больше или меньше данного размера.

Рис. 1.1 Графическое изображение дисперсного состава золь!

Наименьший размер отверстий в ситах составляет 44мкм. Для определения дисперсного состава фракций меньшего размера применяют другие методы - воздушной сепарации, жидкостной седиментации и микроскопического анализа.

Эксплуатационная надежность систем пыле- и золоулавливаниязависит от свойств сцепления частиц друг с другом. В техникегазоочистки это свойство получило термин «слипаемость». Одной израспространенных неполадок систем газоочистки является частичноеили полное забивание отдельных аппаратов и других элементовулавливаемым продуктом. Поэтому для многих газоочистныхаппаратов установлены определенные границы применяемости взависимости от слипаемости подлежащих улавливанию частиц золы ипыли. Для установления таких границ используется условноеразделение золы и пылей по степени слипаемости на четыре группы:неслипающиеся, слабослипающиеся, среднеслипающиеся, сильнослипающиеся.

Интенсивность абразивного износа пыле- и золоулавливающих установок при прочих равных условиях зависит от твердости, размера и плотности частиц. Частицы, имеющие острые грани, при прочих равных условиях более чем в 10 раз быстрее разрушают металл, чем частицы округлой формы. Максимальный износ металла вызывают частицы золы с размерами 90 + 2мкм. Истирающее действие частиц золы или пыли должно учитываться при выборе скоростей запыленных испокон толщины металла для изготовления газоходов и газоочистпых установок или выборе для них облицовочных материалов. В связи с разработкой метода расчета эолового износа экономайзерных труб паровых котлов предложена методика определения безразмерного коэффициента абразивности a для золы различных видов топлив. Коэффициент a определяет утонение стенки поперечно обтекаемой трубы из стали 20 в местах ее максимального износа при концентрации частиц 1 г/м3 и скорости потока 1м/с. при равномерном распределении поля скоростей и концентраций при комнатной температуре в течении 1ч.

Таблица 1.1 Коэффициенты абразивности золы некоторых видов топлив


При электрической очистке газов существенное влияние на работу электрофильтров оказывает величина удельного электрического сопротивления р. По этому признаку частицы золы можно разделить на три группы:

1.      р<102 Ом×м. Отличается высокой электропроводностью и прикасании осадительного электрода частицы золы быстро теряютотрицательный заряд и получают положительный. Частицыотталкиваются от электрода и снова попадают в газовый поток;

. 10 <р<10 Ом×м. Эта группа наиболее полно улавливается вэлектрофильтрах;

3. р>108 Ом×м. Группа является электрическим изолятором и уменьшает напряженность электрического поля в пространстве. Может возникнуть явление обратной короны и вторичный унос осевшей золы.

Смачиваемость частиц водой оказывает влияние на работу мокрых пыле- и золоулавливающих аппаратов. При соприкосновении плохо смачиваемой частицы с поверхностью жидкости частица захватывается этой поверхностью, но в противоположность легко смачиваемой частице, не погружается в жидкость или не обволакивается каплей жидкости, а остается на ее поверхности. После того как поверхность жидкости оказывается в значительной мере покрытой захваченными ею частицами, очистка газов ухудшается, т.к. вновь подводимые к поверхности жидкости частицы в результате упругих соударений с ранее захваченными могут возвратиться в поток и оказаться неуловленными. Для определения смачиваемости частиц применяется метод пленочной флотации. По смачиваемости, определенной методом пленочной флотации промышленная пыль классифицируется на три группы: плохо смачиваемая - от 0 до 30%, средне смачиваемая - от 30 до 80%, хорошо смачиваемая - от 80 до 100%.

2. Методы определения запыленности газов

В технике пыле- и золоулавливания под запыленностью понимают выраженную в граммах (при очень низких концентрациях - в миллиграммах) массу частиц, содержащихся в 1м3 газа при нормальных условиях.

Запыленность газов может быть определена прямым или косвенным методами. Прямой метод заключается в отборе пробы запыленного газа и взвешивании осажденных из нее частиц. Затем определяется отношение массы частиц к единице объема газа.

Для определения запыленности газов косвенными методами используется зависимость физических свойств запыленного потока (степени поглощения световых и тепловых лучей, цвета, способности воспринимать электростатический заряд и т.п.) от концентрации пыли. При этом в большинстве случаев требуется произвести предварительную тарировку используемого для определения запыленности устройства по прямому методу. При проведении испытаний пылеулавливающих установок для определения запыленности газов всегда используется прямой метод, дающий наиболее достоверные результаты. Косвенные методы могут быть использованы для эксплуатационного контроля.

Прямой метод запылённости газов

Отбору проб при определении запыленности газов прямым методом предшествует снятие поля скоростей. Обе операции осуществляются в одном и том же сечении участка газохода. Пробы отбирают в тех же точках в которых определялась скорость газов. Это делается для учета неравномерности распределения концентрации частиц по сечению газохода. Средняя по сечению запыленность газов:

(1.1)

где с1, с2, сп - средние значения запыленности газов в отдельных участках газохода, г/м3;

w1, w2, wn - средние скорости там же, м/с

Подобное определение запыленности газа трудоемко. Поэтому в тех случаях, когда можно предположить более или менее постоянным распределение концентрации частиц по сечению газохода, средняя запыленность газа при последующих определениях может быть найдена путем отбора проб в одной точке сечения газохода и умножением полученных значений запыленности в этой точке на так называемый коэффициент поля запыленности.

(1.2)

где с0 - запыленность газов в выбранной основной точке (обычно в геометрическом центре), r/м3.

Это же соотношение используется в дальнейшем при повторных замерах для нахождения средней запыленности по замеренной величине с0 .

сРn × с0                                                   (1.3)

На точность результатов определения запыленности влияет скорость газов во входном отверстии используемого пробоотборника, которая должна быть равна скорости запыленного потока в данной точке сечения газохода.

3 Оценка эффективности систем пыле- и золоулавливания

Коэффициент очистки является основным показателем характеризующим работу пыле- и золоулавливающих аппаратов в тех или иных конкретных случаях их применения, %

(1.4)

где Мвх, Mул; Мвых - масса частиц, содержащихся в газах до их поступления в аппарат, уловленных в аппарате и содержащихся в газах после выхода из аппарата;

свх, свых - средние концентрации частиц в газах на входе в аппарат и на выходе из него;

Qвх, Qвых - количество газов, поступающих в аппарат и выходящих из него.

Если Qвх = Овых, что имеет место при отсутствии присосов воздуха или утечке газов из аппарата, а также сильного увлажнения газов, то справедливо соотношение

(1.5)

В тех случаях, когда необходимо оценить конечную запыленность или сравнить относительную запыленность газов на выходе из различных аппаратов, удобно пользоваться коэффициентом проскока (%), который связан с коэффициентом очистки соотношением

e=100 - h.                                            (1.6)

Значения коэффициентов очистки, которые могут быть получены с помощью тех или иных пыле- и золоулавливающих аппаратов, зависит от условий их эксплуатации, от дисперсного состава улавливаемых частиц.

4. Аппараты сухой очистки газов

К аппаратам сухой инерционной очистки газов относятся пылеосадительные камеры и некоторые из простейших по конструкции пыле- и золоуловители инерционного действия, жалюзийные аппараты, циклоны в одиночном и групповом исполнении, прямоточные циклоны, батарейные циклоны, ротационные пылеуловители, дымососы -пылеуловители.

Основным достоинством этих аппаратов является простота конструкции. Но эффективность очистки газов оказывается недостаточной. Поэтому многие из аппаратов применяются главным образом в качестве первой ступени очистки газа перед более эффективными пыле- и золоуловителями.

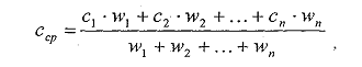
Пылеосадительные камеры и простейшие инерционные пылеосадители

Рис. 1.2 Простейшая пылеосадительная камера

В пылеосадительных камерах используется гравитационное осаждение частиц из потока газов. Для достижения приемлемой эффективности очистки газов необходимо, чтобы частицы находились в пылеосадительной камере возможно более продолжительное время. Поэтому пылеосадительные камеры рассчитанные на осаждение даже относительно крупных частиц являются громоздкими сооружениями.

Рис. 1.3 Пылеосадительная камера с перегородками

Пылеосадительные камеры занимают много места и в качестве самостоятельных элементов систем пыле- и золоулавливания почти не применяются. Но упрощенные варианты пылеосадительных камер находят применение в качестве элементов основного технологического оборудования. Например разгрузочные головки ряда вращающихся печей и сушильных барабанов снабжаются пылеосадительными камерами, позволяющими улавливать наиболее крупные частицы. Это делается для разгрузки основного газоочистного оборудования и предупреждения осаждения частиц в соединительных газоходах. В пылеосадительных камерах осаждаются частицы крупнее 40-50 мкм. Эффективность очистки составляет 40-50 %.

Рис.1.6 Пылеосадитель с отражаюсаей перегородкой

Рис. 1.5 Пылевой мешок с боковым подводом газа

Рис. 1.4 Пылевой мешок с центральным подводом газа

Простейшие пылеосадипели

В пылеосадитслях наряду с действием сил тяжести используются инерционные силы, благодаря которым пылевые частицы стремясь сохранить направление своего движения после поворота потока газов, выпадают в бункер. Инерционные пылеуловители нашли распространение в черной и цветной металлургии под названием пылевого мешка. Скорость газа в пылеуловителях составляет 5-15м/с. Улавливаются частицы размером 25 - 30мкм.

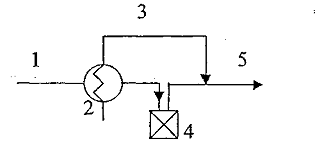
Жалюзийные пыле- и золоуловители

Жалюзийные аппараты благодаря простоте конструкции, дешевизне и малому гидравлическому сопротивлению нашли широкое применение как для очистки отходящих газов предприятий различных отраслей промышленности, так и в качестве золоуловителей для очистки дымовых газов электростанций и промышленных котельных.

Жалюзийный пылеуловитель состоит из жалюзийной решетки и пылеуловителя, обычно циклона. Гидравлическое сопротивление от 100 до 400Па. Скорость газов составляет 12-25 м/с.

Рис. 1.7 Схема работы жалюзийного аппарата

Назначение жалюзийной решетки - разделить газовый поток на две части: одну в значительной степени освобожденную от пыли и составляющую 80-90% всего количества газа, и другую (10-20%), в которой сосредоточена основная масса содержащейся в газе пыли. Эта пыль затем улавливается в циклоне или другом эффективном пылеуловителе. Очищенный в циклоне газ, возвращается в основной поток газов, очищенных с помощью жалюзийной решетки.

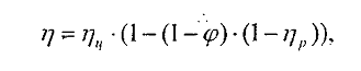
Эффективность улавливания частиц в жалюзийном пылеуловителе зависит от эффективности самой решетки, эффективности отсосного пылезолоуловителя и доли отсасываемого в него газа.


 (1.7)

где h ц - степень очистки газов в отсосном циклоне;

h р - степень очистки газов в решетке;

j - относительная доля газа направляемая с пылевым концентратом

В жалюзийном пылеуловителе происходит улавливание частиц пыли крупнее 20мкм.

Циклоны

В циклонах используется центробежная сила, развивающаяся при вращательно-поступательном движении газового потока.

Рис. 1.8 Схема осевых и радиальных течений в корпусе и бункере циклона 1- входной патрубок; 2- корпус циклопа; 3- пылевой бункер; 4- отводящий патрубок

Под действием центробежной силы частицы золы подводятся к

стенке циклона и вместе с частью газов попадают в бункер. Часть газов, попавших в бункер и освободившихся от пыли, возвращается в циклон через центральную часть пыдеотводящего отверстия, давая начало внутреннему вихрю очищенного газа покидающего аппарат. Отделение частиц от попавших в бункер газов происходит при перемене направления движения газов на 180°, под действием сил инерции. По мере движения этой части газов в сторону выхлопной трубы к ним постепенно попадают порции газов, не попавших в бункер. Это не вызывает значительного увеличения выноса пыли в выхлопную трубу, т.к. распределенное по значительному отрезку длины циклона перетекание газов происходит со скоростью, недостаточной для противодействия движению частиц к периферии циклона.

На эффективность очистки газов в циклоне влияют следующие факторы:

1. с повышением скорости потока газа улавливание пылиулучшается, но при скорости больше 20-25 м/с поток газа выноситчастицы пыли из буккера;

2. с увеличением диаметра, степень очистки уменьшается. Диаметрциклонов обычно не превышает 1000мм;

3. с увеличением высоты цилиндрической части циклона,эффективность очистки возрастает.

В циклонах улавливаются частицы размером 10 мкм и более.

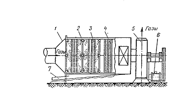
Батарейные циклоны

Это пылеулавливающие аппараты, составленные из большого количества параллельно установленных циклонных элементов, объединенных в одном корпусе и имеющих общие подвод и отвод газов, а также сбросной бункер. Диаметр циклонных элементов 150-300мм. Многочисленные опыты показали, что степень очистки газов в циклонах зависит от абсолютных размеров этих аппаратов, увеличиваясь с их уменьшением. Для закрутки газов в циклонных элементах отечественных конструкций применяются направляющие аппараты типа «Винт» с двумя винтовыми лопастями наклоненными под углом 25°, или аппараты типа «Розетка» с восемью лопатками, наклоненными под углом 25 или 30°. Батарейные циклоны с циклонными элементами, оборудованными направляющими аппаратами «Розетка» имеют более высокую степень очистки газов, но склонны к забиванию золой. Абразивный золовой износ при наличии направляющего аппарата «Розетка» происходит менее интенсивно.

Недостатками батарейных циклонов являются: повышенная металлоемкость которая почти вдвое больше чем у одиночных циклонов; меньшая надежность в эксплуатации из-за возможной неравномерности распределения газов, забивание направляющих аппаратов.

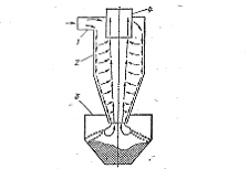
Центробежные пылеуловители ротационного действия и дымососы пылеуловители

Центробежные пылеуловители ротационного действия состоят из рабочего колеса и кожуха (телеприемника). Пылегазовая смесь приводится во вращательное движение рабочим колесом. При этом под действием развивающихся сил (центробежной силы и силы Кориолиса) из очищаемого газа выделяется пыль. В дымососах пылеуловителях запыленный газ поступает в улитку. Под действием центробежных сил частицы перемещаются к ее стенке. Очищенный газ через патрубок и рабочее колесо поступает в выхлопную трубу, пылевой концентрат уходит в контур рециркуляции газа. Этот контур включает в себя циклон и крыльчатку, размещенную в улитке. Основным недостатком аппаратов рассматриваемого типа является быстрый износ улитки и элементов контура рециркуляции при работе на абразивных пылях.

5 Аппараты мокрой очистки газов

Процесс пыле- и золоулавливания в мокрых газоочистных аппаратах сопровождается процессами абсорбции и охлаждения газов. Многие аппараты этого класса могут использоваться не только для очистки газов от пыли и капель жидкости, а также для охлаждения газов.

Для уменьшения количества отработанной жидкости при работе мокрых аппаратов применяется ее частичная рециркуляция, а иногда и замкнутая система орошения. В мокрых пыле- и золоуловителях улавливание частиц золы на каплях или пленках жидкости осуществляется за счет центробежной силы, действующей на частицы, или сил инерции.

Полые газопромыватели

В полых газопромывателях запыленные газы пропускаются через завесу распыленной жидкости. При этом частицы пыли захватываются каплями жидкости и осаждаются вместе с ними, а очищенные газы удаляются из аппарата.

Рис. 1.9 Орошаемый газоход 1- газоход; 2- форсунки; 3- дымовая труба; 4- шламовая труба

Наиболее простым полым газопромывателем является орошаемый газоход. Ряд форсунок или брызгал встраивается в газоход или дымовую трубу для создания водяных завес на пути запыленного газового потока. Во избежание значительного брызгоуноса скорость газов в орошаемом газоходе принимают не более 3м/с. Расход воды принимают в пределах от 0,1 до 0,3 л/м3. Улавливаются частицы крупнее 20 мкм. Коэффициент очистки составляет 50-60 %.

Рис 1.10 Промывная камера

- корпус; 2- форсунки, 3- перфорированные перегородки; 4- брызгоуловитель; 5-вентилятор; б- электродвигатель; 7- шламовая труба

Промывные камеры сооружаются из металла, железобетона или кирпича. Внутри камеры в несколько рядов, чаще всего в шахматном порядке, размещают форсунки.

Для повышения эффективности очистки иногда на пути движения газов устанавливают отбойные пластины, перфорированные листы или сетки. В конце камеры устанавливают брызгоуловитель.

Размеры промывных камер выбирают так, чтобы скорость движения в них составляла 1,5-2,5м/с, а время пребывания газов в камере было не менее 3с. Расход воды на промывку газов составляет от 0,2 до 1,0л/м3.Улавливаются частицы крупнее 10мкм.

Полый форсуночный скруббер

Представляет собой колонну круглого или прямоугольного сечения, в которой осуществляется контакт между очищаемыми газами и каплями жидкости распыливаемой форсунками. Диаметр скруббера достигает 6-8 м, а высота 20-30 м.

Полые скрубберы делятся на прямоточные, противоточные и с поперечным подводом жидкости. Чаще применяются противоточные скрубберы. В противоточном скруббере капли из форсунок должны быть достаточно крупными, чтобы не быть унесенными газовым потоком, скорость которого составляет 0,6-1,2м/с. Коэффициент очистки не более 50%. Улавливаются частицы крупнее 10мкм.

Рис. 1.11 Полый скруббер 1- корпус; 2- форсунки

Насадочные газопромыватели

Насадочные газопромыватели представляют собой колонны, заполненные телами различной формы засыпаемыми в колонну на опорную решетку в беспорядке или укладываемыми правильными рядами (регулярная насадка).

Рис. 1.12 Противоточный насадочный скруббер 1- опорная решетка; 2- насадка; 3- оросительное устройство

Из-за частого забивания при обработке запыленных газов насадочные скрубберы в настоящее время мало применяются для очистки газов от пыли. Они применяются для улавливания хорошо растворимой пыли, а также используются при совместном протекании процессов пылеулавливания, охлаждения газов и абсорбции.

Скорость газов в отверстиях насадки 0,8-1,25м/с. Сопротивление 30- 80мм.в.ст. Расход орошающей жидкости в противоточных насадочных скрубберах принимают в пределах 0,15-0,5 л/м3. Применяются следующие типы насадок: кольцо Рашига, кольцо с перегородками, кольцо с крестообразной перегородкой и ряд других. Степень очистки превышает 90%.

Пенные аппараты

В пенном аппарате с дырчатыми тарелками обычно устанавливаются тарелки с диаметром отверстий 3 - 8мм и свободным сечением от 0,15 до 0,25м.кв/м.кв.

Рис. 1.13 Мокрый пылеуловитель с провальной тарелкой 1- корпус; 2- оросительное устройство; 3- тарелка

При прохождении газа через отверстия решетки со скоростью 5 -12м/с образуется слой пены. При слое воды 20 - 50мм слой пены 100 - 200мм. На решетке образуется три слоя (жидкость, пена, брызги).

Оптимальная скорость газа до и после решетки 2-2,5м/с.

Для уменьшения забивания отверстий тарелки разработаны аппараты с провальными тарелками. В этих аппаратах подвод газов в зону контактов с жидкостью и отвод жидкости из этой зоны осуществляется через одни и те же дырчатые или щелевые отверстия. Для очистки газов применяются два вида тарелок: дырчатые и щелевые. Оптимальная толщина тарелки с точки зрения гидравлического сопротивления равна 4 - 6мм. Удельный расход воды составляет 0,4 - 0,6 л/м3.

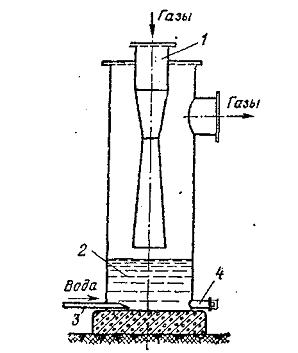
Газопромыватели ударно-инерционного действия

К аппаратам ударно-инерционного действия относится большая группа пылеуловителей, в которых контакт газов с жидкостью осуществляется за счет удара газового потока о поверхность жидкости.

В результате такого взаимодействия образуются капли диаметром 300 - 400 мкм. Затем газожидкостная взвесь пропускается через отверстия различной конфигурации или непосредственно отводится в сепаратор жидкой фазы.

Рис. 1.14 Мокрый пылеуловитель ударно-инерционного действия 1- входной патрубок; 2- резервуар с жидкостью; 3- смывное сопло; 4- труба для удаления шлама

Запыленные газы по газопроводу (обычно круглого сечения или в виде трубы Вентури) с большой скоростью ~20 м/с направляют на поверхность жидкости. При резком повороте газового потока на 180° происходит осаждение частиц пыли в жидкости. Шлам из аппарата может удаляться через гидрозатвор периодически или непрерывно. Для удаления уплотненного осадка со дна применяют смывные сопла. Эффективен для хорошо смачиваемой пыли размером более 20мкм.

Газопромыватели центробежного действия

Наибольшее распространение получили центробежные скрубберы. По конструктивному признаку их можно разделить на два вида: аппараты, в которых закрутка газового потока осуществляется с помощью центрального лопастного закручивающего устройства, и аппараты с боковым тангенциальным или улиточным подводом газов.

Орошение аппаратов второго типа может осуществляться в центральной части аппарата или вдоль его стенок с кинжальным направлением факелов распыла. Жидкость в виде пленки стекает по внутренней стенке. Большинство отечественных конструкций центробежных скрубберов имеют тангенциальный подвод газов и пленочное орошение.

Рис. 1.15 Центробежный скруббер ВТИ 1- входной патрубок; 2- корпус, 3- оросительное сопло; 4- золосмывной аппарат типа ковш-мигалка; 5- смывные сопла

Центробежный скруббер ВТИ разработан для очистки дымовых газов от золы за котлами паропроизводительностью менее 100т/ч. Степень очистки h = 0,82 - 0,90. Диаметр скрубберов -1300,1500, 1700 мм.

Наиболее эффективно со степенью очистки до 99% аппараты работают в том случае, если газ совершает не менее 5 оборотов в цилиндрической части корпуса.

Скорость газа рекомендуется выбирать от 2,5 до 5,5м/с, чтобы не было брызгоуноса. Удельный расход воды на орошение - 0,12 - 0,3 л/м3.

Скоростные газопромыватели

Скоростные газопромыватели (скрубберы Вентури) включают в себя большую группу аппаратов. Общим у них является наличие трубы распылителя и установленного за ней каплеуловителя.

Запыленный газ входит в конфузор и его скорость увеличивается. В конфузор с помощью форсунки подают воду. Газ в горловине трубы приобретает высокую скорость (40 - 150 м/с). Вода в турбулентном потоке газа дробится на мельчайшие капли. Капельки воды интенсивно перемешиваются в потоке газа, сталкиваются с частицами пыли и укрупняют их.

Рис. 1.16 Скруббер Вентури с выносным каплеуловителем 1- труба-распылитель; 2- циклон-каплеуловитель; 3- конфузор; 4- горловина, 5- диффузор

Чтобы капельки воды не испарялись температура газа не должна превышать 250°С. В диффузоре газ теряет скорость и происходит дальнейшая коагуляция пыли. В циклоне - каплеуловителе газ освобождается от шлама.

Основные элементы скруббера могут монтироваться как раздельно, так и в одном корпусе. По гидравлическим характеристикам скруббер Вентури можно разделить на высоконапорные и низконапорные. Высоконапорные применяются для тонкой очистки газов (микронная, субмикронная пыль). Они имеют высокое гидравлическое сопротивление 20-30 кПа. Низконапорные используются для подготовки (кондиционирования) газов перед другими пылеулавливающими аппаратами и для очистки воздуха и газа от частиц пыли крупнее 3 мкм. Их гидравлическое сопротивление не превышает 3-5 кПа. По способу подвода жидкости на орошение аппараты можно разделить на следующие типы:

.с центральным (форсуночным) подводом жидкости в конфузор (или перед ним);

. с периферийным орошением (в конфузоре или горловине);

З. с пленочным орошением;

. с подводом жидкости за счет энергии газового потока;

З. с комбинированным орошением.

Удельный расход воды составляет 0,25 - 1,25л/мг.

Организация подвода орошающей жидкости

в пылеуловителе

Организация подвода орошения в значительной степени определяет эксплуатационную надежность и эффективность работы пылеуловителей.

Для подвода орошения в мокрых пылеуловителях применяются два вида распыливающих устройств.

Первый - форсунки, которые применяются в центробежных скрубберах и скрубберах Вентури. Второй - оросители для равномерного распределения орошающей жидкости по сечению. Главным образом используются в насадках и тарельчатых скрубберах.

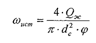
Форсунки

По принципу действия форсунки делятся на три вида: механического, пневматического и электрического действия.

Объемный расход жидкости Qx, м3/с распиливаемый форсункой определяется:

(1.8)

где : dc - диаметр сопла форсунки, м; x- коэффициент расхода жидкости; рж- напор, давление жидкости перед форсункой, Па; rж - плотность жидкости, кГ/м3

Наибольшие значения коэффициента расхода характерны для струйных форсунок (0,75 - 0,98), наименьшие - для центробежных (0,2 - 0,3).

Скорость истечения жидкости из сопла форсунки м/с, составляет:

 (1.9)

где j - коэффициент заполнения сопла, зависит от конструкции форсунки.

Оросительные устройства

В отличие от форсунок назначение оросителей - не создание тонкого распыла жидкости, а лишь равномерное распределение ее по сечению аппарата.

По режиму истечения жидкости оросительные устройства делятся на струйные разбрызгивающие (перфорированные стаканы, щелевые брызгалки и др.) и на струйные неразбрызгивающие (плиты, желобы и др.).

Рис. 1.17 Основные типы оросителей

а- точечное орошение; б- зональное орошение; в- сплошное орошение; 1 распределительная плита; 2- желоб с боковыми прорезями, 3- желоб с донными патрубками, 4-многотрубчатый ороситель; 5- перфорированный стакан, 6- щелевая брызгалка; 7-розетка; 8- многоконусный ороситель, 9- разбрызгивающая звездочка

7. Способы интенсификации работы пылеуловителей

Использование эффекта конденсации. Этот эффект наблюдается при охлаждении газов, предварительно насыщенных водяными парами. Подготовка газов перед подачей их в мокрый пылеуловитель, работающий в конденсационном режиме, чаще всего осуществляется предварительным испарительным охлаждением запыленного газового потока. На орошение пылеуловителя, работающего в конденсационном режиме, необходимо подавать воду с низкой температурой.

Иногда увеличение влажности газов осуществляется подводом пара на входе в аппарат, но этот метод нельзя признать экономичным.

Предварительная электрическая зарядка частиц и капель орошающей жидкости. Этот метод позволяет существенно увеличить эффективность некоторых аппаратов при улавливании частиц размером 2 - 3мкм. Электростатические скрубберы создаются на базе различных мокрых пылеуловителей таких, как насадочные газопромыватели, скрубберы Вентури и т. д. На входе в каждый из

них устанавливается высоковольтный ионизатор (зарядное устройство), на который подается отрицательный заряд от 15 - 20 до 50 - 70кВ. Под действием электрических зарядов происходит осаждение взвешенных частиц на каплях жидкости.

Подогрев очищенных газов перед выводом в атмосферу. Температура газов после аппаратов мокрой газоочистки обычно находится в пределах от 50 до 80 °С. Чаще всего газы насыщены влагой и содержат некоторое остаточное количество пыли и даже газовых примесей (например SО2). В результате конденсации водяных паров это может привести к образованию отложений на лопастях дымососов, установленных за аппаратами мокрой очистки, и коррозии. Высота подъема влажных газов с низкой температурой невелика. Ухудшается рассеивание вредных веществ. Для предотвращения этих явлении рекомендуется подогревать очищенные газы на 15 - 30 °С.

Наибольшее распространение получил способ подогрева очищенных газов по следующей схеме.

Рис. 1.18 Схема подогрева очищенных газов

- горячий неочищенный газ; 2- теплообменник; 3- атмосферный воздух; 4- мокрый пылеуловитель; 5- очищенный газ

8. Система водоснабжения для мокрой очистки газов

Система водоснабжения оказывает не только существенное влияние на работу мокрых пылеуловителей, но и определяет экономичность применения мокрого метода очистки газов. Очистка вод увеличивает стоимость газоочистки, делая ее соизмеримой со стоимостью других методов пылеулавливания, например, с очисткой газов в рукавных фильтрах. Поэтому целесообразно применять мокрые пылеуловители на предприятиях, где имеется хорошо налаженная система оборотного водоснабжения.

При мокрой газоочистке вода может претерпевать следующие физические и химические изменения: загрязнение нерастворимыми взвешенными веществами, нагревание, насыщение газами, изменение

концентрации солевого состава из-за растворения некоторых компонентов или всей уловленной пыли. В результате этого возможно существенное изменение качества сточных вод по сравнению с качеством исходной воды. Состав сточных вод и требования к воде, подаваемой на орошение газоочистных аппаратов, определяют методы обработки сточных вод в оборотном цикле водоснабжения.

Наличие взвеси в орошающей аппарат воде до определенной концентрации не оказывает существенного влияния на эффективность захвата частиц пыли. Но с ростом взвеси, в воде может наступить момент, когда частицы пыли, располагаясь на поверхности капель, пленок жидкости, будут препятствовать проникновению вновь подводимых частиц пыли, отталкивая их.

Поэтому система водоснабжения включает в себя осветлитель, в котором помимо очистки воды от взвеси может осуществляться и химическая обработка воды. Если в схеме газоочистки предусмотрено охлаждение газов и необходимо подавать на орошение аппаратов относительно холодную воду, осветленная оборотная вода может охлаждаться в вентиляторной градирне, брызгальном бассейне или поверхностном теплообменнике.

Основным показателем, определяющим характеристику сточных вод и выбор типа и размеров сооружений для их осветления, является дисперсный состав частиц, содержащихся во взвеси.

Если частицы достаточно крупные или легко укрупняются при добавке коагулянтов, осветление воды осуществляется в радиальных отстойниках или специальных прудах.

Осаждение частиц без добавки коагулянтов обычно применимо к частицам, размер которых превышает 1мкм. В качестве коагулянтов могут быть использованы растворы хлорного железа, сернокислого железа, сернокислого алюминия, полиакриламида.

Очистка оборотной воды в отстойниках является наиболее экономичным способом осветления, к тому же их применение исключает абразивное воздействие частиц. Отстой из нижней части осветлителя откачивается шламовыми насосами в специальные шламовые отвалы. К недостаткам рассмотренного способа осветления следует отнести большие площади отстойников, необходимые при осаждении мелких частиц, частичную утечку воды в грунт и ее потери за счет естественного испарения в атмосферу.

Если частицы, взвешенные в оборотной воде, представляют определенную ценность и должны быть утилизированы, обработка воды может быть осуществлена в непрерывно действующих фильтрах. В этом случае можно добиться почти полного обезвоживания отходов, значительно сократить производственные площади, но это влечет за собой возрастание стоимости обработки оборотной воды.

В последнее время для концентрирования твердых частиц в жидкости применяют гидроциклоны. Установка их обходится дешевле, чем фильтрующих аппаратов. Недостаток гидроциклонов заключается в больших расходах энергии на обработку жидкости, а также в относительно высоком остаточном содержании частиц в осветленной жидкости.

Для осветления жидкости, содержащей особо мелкие частицы, иногда применяются центрифуги. Их применение связано с большими капитальными и эксплуатационными расходами. Они чувствительны к абразивному износу и коррозионному воздействию среды. Поэтому использование центрифуг ограничивается специальными случаями.

9. Аппараты фильтрующей очистки газов

Процесс очистки газов от твердых или жидких частиц с помощью пористых сред называется фильтрацией.

Частицы, взвешенные в газовом потоке, осаждаются на поверхности или в объеме пористых сред за счет броуновской диффузии, эффекта касания (зацепления), инерционных, электростатических и гравитационных сил.

Броуновская диффузия, или тепловое движение частиц, вызванное их столкновениями с газовыми молекулами, является преобладающим механизмом осаждения частиц диаметром менее 0,5мкм.

Эффективность диффузионного осаждения частиц может быть представлена в виде зависимости

(1.10)

где dв -диаметр волокна, зерна или другого элемента, образующего пористую перегородку, м

w - скорость газа, м/с;

dч - диаметр частиц, м;

А - коэффициент пропорциональности.

Эффект касания (зацепления) проявляется, если траектории движения частиц проходят над поверхностью волокон, зерен или других элементов, образующих пористую перегородку, на расстоянии равном радиусу частицы или меньшем его. Если размеры пор фильтра меньше диаметра частиц, то происходит обычное отсеивание. Ситовой эффект является частным случаем эффекта касания.

Параметром, определяющим процесс осаждения частиц за счет эффекта касания, является отношение размеров частиц и элементов, образующих пористую перегородку: dч ¤ dв - для волокон и dч2 ¤ dз2 -для зерен. Эффективность осаждения частиц не зависит от скорости потока.

Ицнерционное осаждение имеет место, если масса частицы и скорость ее движения настолько велики, что частица не может полностью следовать по линии тока газа, огибающего препятствие.

Электрическое осаждение происходит при наличии либо зарядов любого знака на фильтрующих материалах или частицах, либо разноименных зарядов одновременно на тех и других.

Наибольшей проникающей способностью обладают частицы размерами от 0,05 до 0,5мкм. Твердые частицы, уловленные в объеме фильтрующего материала, становятся элементом фильтрующей среды и повышают эффективность очистки газов. По мере накопления частиц газопроницаемость фильтрующего материала уменьшается. Со временем возникает необходимость разрушения и удаления пылевого осадка.

Процесс фильтрации в большинстве случаев предусматривает периодическую регенерацию фильтра. При улавливании жидких частиц накапливающаяся жидкость может удаляться из пористой перегородки самопроизвольно. Этот процесс называется саморегенерацией фильтра.

Тканевые фильтры

В тканевых-фильтрах применяются материалы двух типов: обычные ткани, изготавливаемые на ткацких станках, и войлоки (фетры). Осаждение частиц пыли в начальный период работы фильтра за счет механизмов касания, инерции, диффузии и электростатического взаимодействия происходит на волокнах, расположенных на поверхности нитей, а также в ворсе. Волокна,

В тканевых фильтрах ткань выполняет роль несущей поверхности, т.е. служит основой для формирования и удержания фильтрующего слоя.

В тканевых фильтрах целесообразно использовать небольшие скорости фильтрации 0,5 - 2см/с. При повышении скорости фильтрации наблюдается нарушение первоначального слоя пыли, которое сопровождается вторичным уносом пыли.

При использовании в качестве фильтрующего материала войлоков эффективность улавливания частиц выше. Равномерное распределение волокон по всей поверхности и в толщине фильтра, а так же отсутствие сквозных отверстий обеспечивают равномерное участие волокон в процессе осаждения частиц. Процесс фильтрации протекает в объеме материала.

К тканям, используемым в качестве фильтровальных материалов, предъявляются следующие требования:

-        высокая пылеемкость при фильтрации и способность удерживатьпосле регенерации количество пыли, достаточное для обеспечениявысокой эффективности очистки;

-        высокая механическая прочность, стойкость к истиранию,способность к легкому удалению накопленной пыли, повозможности низкая стоимость.

Применяемые материалы удовлетворяют не всем перечисленным требованиям, поэтому каждый материал используется в определенных наиболее благоприятных условиях.

Используются следующие материалы: хлопчатобумажная ткань, нитроновая ткань, лавсановая ткань, ткани из новых синтетических материалов, стеклоткани, фетры, стекловолокно (до 300 °С), металлоткани (от 500 до 1000 °С).

Существуют два основных способа регенерации запыленных тканей: встряхивание фильтрующих элементов (механическое, аэродинамическое); обратная продувка очищенными газами или воздухом.

Рис 1.19 Каркасный рукавный фильтр с импульсной продувкой

- электромагнитный клапан; 2- труба для ввода сжатого воздуха; 3- сопло; 4- струи сжатого воздуха; 5- прибор автоматического управления регенерацией; б- рукав, 7-каркас, 8- бункер

Зернистые фильтры

Для очистки газов фильтрующие слои, состоящие из зерен сферической или другой формы, применяются реже, чем волокнистые материалы. Преимуществами зернистых фильтров являются возможность их работы при температурах 500 - 800 °С и в условиях агрессивной среды, способность выдерживать большие механические нагрузки и перепады давлений, а также резкие изменения температуры.

Различают следующие типы зернистых фильтров: зернистые насадочные (насыпные), в которых улавливающие элементы не связаны жестко друг с другом. К этим фильтрам относятся статические (неподвижные) слоевые фильтры, динамические (подвижные) слоевые фильтры с гравитационными перемещениями сыпучей среды, фильтры с псевдосжиженным слоем. Размер зерен 0,2 - 2мм, высота слоя 0,2 - 0,25м. В качестве насадки в насыпных фильтрах используют песок, гальку, шлак, дробленые горные породы, древесные опилки, кокс, крошку резины, пластмасс и графита и другие материалы. Выбор материалов для насадок обусловлен требуемой термической и химической стойкостью, механической прочностью, доступностью.

В жестких пористых фильтрах зерна прочно связаны друг с другом в результате спекания, прессования или склеивания и образуют прочную неподвижную систему. В этих фильтрах используется пористая керамика, пористые металлы, пористые пластмассы. Недостатками таких фильтров являются: высокая стоимость, большое гидравлическое сопротивление, трудность регенерации.

Электрофильтры

Широкое применение электрофильтров для улавливания твердых частиц обусловлено их универсальностью и высокой степенью очистки газов при сравнительно низких энергозатратах. Установки электрической очистки газов работают с эффективностью до 99%. Они улавливают частицы любых размеров, включая и субмикронные, при концентрация частиц в газе до 50 г/мл и выше.

Промышленные электрофильтры применяются в диапазоне температур до 400 - 450 °С и даже при более высоких температурах, а также в условиях воздействия различных коррозионных сред.

Электрофильтры отличаются относительно низкими эксплуатационными затратами. Аэродинамическое сопротивление электрофильтра не превышает 100 - 150Па. Оно является минимальным по сравнению с другими газоочистными аппаратами. Затраты электроэнергии составляют 0,1- 0,5 кВт×ч на 1000м3 газа.

Капитальные затраты на установку электрофильтров высоки, т.к. аппараты металлоемки и занимают большую площадь, а также снабжаются специальными повысительно-выпрямительными агрегатами для электропитания.

Преимущественной областью применения электрофильтров является очистка больших объемов газов, отходящих от современных агрегатов большой мощности. Так, для мощных котельных агрегатов разработаны электрофильтры единичной производительности по газу свыше 1000000 м3/ч.

К недостаткам электрофильтров следует отнести высокую чувствительность процесса электрической очистки газов к отклонениям от заданного технологического режима, к незначительным механическим дефектам внутреннего оборудования. В ряде случаев электрофильтры не могут быть применены. Например, в случаях, когда удельное электрическое сопротивление пыли чрезмерно велико. Электрофильтры не применяются, если очищаемый газ представляет собой взрывоопасную смесь.

Рис. 1.20 Принципиальная схема работы электрофильтра

а) процесс электрического осаждения частиц; б) электрофильтр с трубчатым электродом; в) электрофильтр с пластинчатыми электродами; 1- коронирующий электрод, 2- осадительный, электрод; 3- агрегат электропитания; 4- электрон; 5- молекула газа; 6- осаждаемая частица.

Сущность процесса электрической очистки газа заключается в следующем. Газ, содержащий взвешенные частицы, проходит через систему, состоящую из заземленных осадительных электродов и размещенных на некотором расстоянии (называемом межэлектродным промежутком) коронирующих электродов, к которым подводится выпрямленный электрический ток высокого напряжения (до 100000 вольт).

При достаточно большом напряжении, приложенном к межэлектродному промежутку, у поверхности коронирующего электрода происходит интенсивная ударная ионизация газа. Она сопровождается возникновением коронного разряда (короны), который на весь межэлектродный промежуток не распространяется и затухает по мере уменьшения напряженности электрического поля в направлении осадительного электрода.

Газовые ионы различной полярности, образующиеся в зоне короны под действием сил электрического поля, движутся к разноименным электродам. Вследствие этого в межэлектродном пространстве возникает электрический ток, называемый током короны.

Улавливаемые частицы из-за адсорбции на их поверхности ионов приобретают в межэлектродном промежутке электрический заряд. Под влиянием электрического поля они движутся к электродам и осаждаются на них. Основное количество частиц осаждается на поверхности осадительньгх электродов. По мере накопления на электродах осажденные частицы удаляются встряхиванием или промывкой электродов.

Процесс электрогазоочистки можно разделить на следующие стадии: зарядка взвешенных в газе частиц, движение заряженных частиц к электродам, осаждение частиц на электродах, удаление осажденных частиц с электродов.

Коронный разряд возникает при достижении определенной напряженности электрического поля, которая, например, для воздуха при атмосферном давлении и температуре 20 °С составляет около 15кВ/см.

Современной типовой конструкцией фильтра являются электрофильтры серии УГ- универсальный горизонтальный. Фильтр предназначен для очистки газов с температурой до 250 °С. Запыленные газы после газораспределительной решетки поступают в коридоры, образованные вертикально висящими широкополосными осадительными электродами С-образной формы. Коронирующие электроды представляют собой профильные ленточные элементы с штампованными иглами, укрепленными в специальной рамке. Для удаления осевшей на электродах золы предусмотрены встряхивающие устройства в виде молотков, ударяющих по наковальням электродов. Осевшая зола попадает в бункер и затем через гидравлические затворы направляется в систему гидрозолоудаления.

По ходу движения газов осадитсльные и коронирующие электроды объединяются в электрические поля, имеющие самостоятельные питание и систему встряхивания. Это необходимо потому, что условия работы полей разные. В первом по ходу газов поле оседает наибольшее количество частиц, в последнем-минимальное.

Основы расчета электрофильтров

В сухих элеклрофилтрах на процесс электрогазоочистки существенно влияет вторичный унос осажденных частиц из слоя, а также при встряхивании электродов.

Теоретическое выражение для парциальной эффективности электрофильтра, учитывающее только процесс осаждения частиц, предложено Дейчем:

для трубчатого электрофильтра

(1.11)

Для пластинчатого электрофильтра

(1.12)

где w - скорость дрейфа частиц м/с;

Это составляющая скорости, которую обретает частица под воздействием электрического поля, направленная в сторону осадительного электрода.

W- скорость газа в активном сечении, м/с;

L- активная длина электрофильтра, м;

R- радиус трубчатого осадительного электрода, м;

Н-расстояние между коронирующим электродом и пластинчатым осадителъным электродом, м.


Если ввести понятие удельной поверхности осаждения

где S -площадь поверхности осаждения осадительных электродов, м2; V- объемный расход очищенных газов, м"/с.

Парциальная эффективность электрофильтра

(1-Й)

В настоящее время при расчете электрофильтров можно в первом приближении пользоваться следующими скоростями дрейфа частиц, к осадительным электродам, учитывающим косвенно свойства золы, углей и дымовых газов.

Таблица 1.2 Скорость дрейфа частиц к осадительным электродам


10. Основы проектирования систем пыле- и золоулавливания

К основным требованиям, предъявляемым к системам пыле- и золоулавливания, относятся высокая эффективность и эксплуатационная надежность. Эффективность практически всех пылеуловителей зависит от дисперсного состава частиц. Эксплуатационная надежность многих аппаратов зависит от слипаемости частиц и их абразивности, начальной запыленности и их агрессивности.

Прежде чем приступить к проектированию системы газоочистки, необходимо изучить конструкционные и эксплуатационные особенности пыле- и золоуловителей.

Каждый пыле- или золоуловитель рассчитан на определенные условия работы. В первую очередь, это допустимое давление или разрежение, температура, допустимые пределы изменения объемов очищаемого газа, возможность размещения на открытом воздухе и восприятия нагрузок от подводящих газоходов и площадок обслуживания.

Приступая к проектированию, необходимо собрать исходные данные. Затем сделать наброски возможных схем систем газоочистки и провести вариантные расчеты для выбора оптимальной из них по ожидаемой эффективности, капитальным и эксплуатационным затратам, компоновке оборудования и т.д.. При компоновке пылеуловителей следует руководствоваться следующими положениями.

Пылеуловители обычно устанавливаются на всасывающей стороне вентиляторов или дымососов. Установка пылеуловителей на напорной стороне тягодутьевых машин возможна, если нет опасности ускоренного абразивного износа.

При мокрых схемах пылеулавливания установка тягодутьевых машин желательна на напорной стороне во избежание отложений щлама на роторе машин и конденсации паров воды на внутренней стороне улитки машины. В этом случае, во избежание абразивного износа вентиляторов и дымососов перед ними обычно устанавливается ступень предварительной очистки сухим методом.

Установка пыле- и золоуловителей может производиться как внутри зданий, так и на открытом воздухе. При этом учитываются климатические условия района, периодичность работы, тип применяемой аппаратуры, объем очищаемого газа. Практически большинство пыле- и золоулавливающих устройств может работать вне зданий.

11. Выбор аппаратов для системы золоулавливания

Ограниченное число распространенных конструкций паровых или отопительных котлов позволило выработать определенные рекомендации по выбору для них схем золоулавливания в зависимости от вида сжигаемого топлива. Котельные, сжигающие твердое топливо, должны быть оборудованы установками для очистки дымовых газов от золы в том случае, когда значение N условной характеристики котельной превышает 5000:

(1Л5)

где Ар - содержание золы в рабочей массе топлива, %;

В - максимальный часовой расход топлива, кг/ч;

Если N< 5000, то установка золоуловителей требуется лишь при расположении котельной среди жилого массива. При использовании твердого топлива только в качестве аварийного, золоуловители обычно не устанавливаются.

В отопительно-производственной котельной, оборудованной несколькими вертикальными паровыми котлами, каждый из них оснащается индивидуальными золоуловителями. На каждый котел устанавливается один или два циклона непосредственно около дымовой трубы. Предпочтительней установка двух циклонов меньшего диаметра, т.к. это повышает эффективность очистки и снижает высоту установки.

Для котлов паропроизводительностью 2,5 и 4т/ч рекомендуются группы циклонов типа ЦН-15, дымососы золоуловители, а для котлов паропроизводительностью от 6,5 до 20т/ч - батарейные циклоны. При выборе оборудования необходимо учитывать, что группа циклонов ЦН-15 имеет более высокую эффективность, чем батарейные циклоны, но их аэродинамическое сопротивление примерно на 30% выше.

Блоки циклонов рекомендуются к котлам, в основном, со слоевым сжиганием топлива. Но в отдельных случаях они могут быть установлены и на пылеугольных котлах. Степень очистки дымовых газов при номинальном режиме работы блоков циклонов составляет 85-90%, а для котлов с пылевидным сжиганием топлива 70-80%.

Для котельных, оборудованных котлами паропроизводительностью от 25 до 230т/ч, при сухом улавливании золы рекомендуются батарейные циклоны ЦБ, ЦБР, ЦБУ, электрофильтры.

Для котлов паропроизводительностью 25 - 72т/ч могут быть установлены как односекционные, так и двухсекционные батарейные циклоны. Трехсекционный батарейный циклон может применятьея как первая ступень двухступенчатого золоуловителя, во второй ступени которого может находиться электрофильтр. Для котлов паропроизводительностыо более 160т/ч применяют только четырехсекционные батарейные циклоны. Тип батарейного циклона выбирается с учетом вида сжигаемого топлива.

Применение мокрых золоуловителей не рекомендуют в следующих случаях:

при содержании в золе окиси кальция более 12 - 15%, так как такая зола обычно обладает вяжущими свойствами и ее следует использовать в строительстве;

при наличии в топливе значительного количества серы. Это вызывает коррозию газового тракта из-за снижения температуры газов после скрубберов и требует принятия мер по нейтрализации гидрозоловой пульпы, что сопряжено со значительными затратами;

при необходимости обеспечения более эффективного рассеивания дымовых газов в атмосфере.

Большинство электростанций оборудуются в настоящее время электрофильтрами.

При сжигании каменных углей для получения высокой эффективности улавливания золы скорость газа в электрофильтре принимается от 0,8 до 1,5м/с.

Для очистки дымовых газов от золы и пыли с высоким удельным электрическим сопротивлением слоя (более 2-1010 Ом×см) за рубежом применяются рукавные фильтры с рукавами из стекловолокна, синтетической ткали и др. материалов. В России рукавные фильтры для улавливания золы находят пока ограниченное применение.

12. Выбор аппаратов для улавливания промышленных пылей

Если для паровых котлов оказалось возможным выработать ограниченное количество типовых схем золоулавливания, то к выбору схем пылеулавливания промышленных пылей в большинстве случаев приходится подходить индивидуально.

Улавливание грубодисперсной пыли при умеренных требованиях к степени очистки газа в большинстве случаев целесообразно осуществлять в таких аппаратах, как различные

виды циклонов, дымососы пылеуловители, или в низконанорпых мокрых аппаратах, таких как циклоны с водяной пленкой и др..

Высокую эффективность пыле- и золоулавливающей установки в особенности при улавливании тонкодиспсрсной пыли, можно достичь в результате применения различных способов очистки газа. Поэтому выбор аппаратуры улавливания является важнейшим моментом проектирования установок газоочистки.

Основными критериями для правильного способа улавливания пыли является технико-экономическое сравнение вариантов.

При выборе между сухими и мокрыми способами пылеулавливания следует иметь ввиду: мокрыми способами можно проще добиться желаемой степени очистки и аппараты мокрой газоочистки значительно меньше по объему, чем сухие. Но энергозатраты в мокрых аппаратах значительно выше. Соответственно капитальные затраты для мокрых систем ниже, а эксплуатационные выше, чем для сухих. К общим недостаткам мокрых аппаратов следует отнести:

необходимость обработки шламов с отстаиванием из них уловленной пыли и возвращение оборотной воды. Системы оборотного водоснабжения требуют дополнительных капитальных затрат;

возможность зарастания систем трудноудалимыми отложениями, резко снижающими эксплуатационную надежность установки;

коррозионное воздействие среды при наличии в газе агрессивных составляющих;

ухудшение условий рассеивания при выбросе очищенных газов из трубы.

Поэтому при проектировании предпочтение отдается сухим методам очистки, если при этом можно добиться требуемой эффективности.

Мокрые методы предпочтительнее, если очищаемый газ должен быть охлажден до точки росы, или если улавливаемая из газа пыль используется в дальнейшем в производстве в виде пульпы или раствора.

В ряде случае мокрые методы применяются для улавливания пыли из взрывоопасных или токсичных газов.

В качестве средств высокоэффективного сухого пылеулавливания могут быть использованы рукавные фильтры или

электрофильтры. Рукавные фильтры обеспечивают более устойчивую и эффективную очистку, чем электрофильтры, но они дороже и занимают больше места. К тому же рукавные фильтры не температуростойки и выдерживают температуру при синтетических тканях 130 °С и стеклотканях 230 °С.

Сухие электрофильтры являются наиболее удобными аппаратами для очистки невзрывоопасных газов от пыли при температурах до 400 °С в том случае, если запыленность газа на выходе составляет не ниже 50 - 100 мг/м3 при объемах очищаемого

газа свыше 50000 м3 ¤ ч. Если объем очищаемого газа меньше или требуется более высокая эффективность очистки, то выбор между электрофильтром и рукавным фильтром может быть сделан на основе технико-экономического анализа.

При выборе схем газоочистки расчет эффективности следует вести по остаточной запыленности газов. В случае невозможности обеспыливания газов до требуемой остаточной запыленности в одном аппарате приходится использовать многоступенчатые схемы очистки газов.

Литература

1. Белов, С.В. Безопасность жизнедеятельности и защита окружающей среды: (техносфер. безопасность): учебник. - М., 2011. - 679 с.: ил.

2. Голицын, А.Н. Основы промышленной экологии: учебник для проф. образования. - 2-е изд., стер. - М.: Академия, 2004. - 240 с.

3. Гридэл, Т.Е. Промышленная экология : учеб. пособие для вузов / Т.Е. Гридэл, Б.Р. Алленби; пер. с англ. под ред. Э.В. Гирусова. - М. : ЮНИТИ-ДАНА, 2004. - 527 с. - (Зарубежный учебник).

4. Калыгин, В.Г. Промышленная экология : учеб. пособие для вузов. - М.: Академия, 2004. - 432 с.

5. Красавин, А.П. На стремнине экологических проблем. - Пермь: Звезда, 2006. - 208 с. - (Избранные публикации).

6. Красавин, А.П. У истоков отраслевой экологии. - Пермь: Золотой город, 2001. - 268 с.

7. Ларионов, Н.М., Рябышенков, А.С. Промышленная экология: учебник. - М., 2011. - 495 с.: ил.

8. Промышленная экология: учеб. пособие / ред. В.В. Денисов. - М. : ИКЦ «МарТ» ; Ростов н/Д.; МарТ, 2007. - 720 с. - (Учебный курс).

Похожие работы на - Технология очистки промышленных газообразных отходов от пыли и золы

 

Не нашли материал для своей работы?
Поможем написать уникальную работу
Без плагиата!
Без нейросетей!