Контроль параметров шатуна в процессе ремонта двигателя внутреннего сгорания (ДВС)
Курсовая работа
Контроль параметров
шатуна в процессе ремонта двигателя внутреннего сгорания (ДВС)
1. Анализ объекта производства и технологического
процесса
шатун
прочность шухарт контрольный
Объект исследования и описание производственного
процесса
В настоящее время авторемонтное производство является
достаточно крупной отраслью промышленности, наряду с автомобилестроением
призвано удовлетворять растущие потребности народного хозяйства страны в
автомобилях, агрегатах, деталях. Благодаря ремонту срок службы автомобилей
значительно повышается, а парк автомобилей, участвующих в транспортном
процессе, намного увеличивается. Вторичное использование деталей допустимым
износом и восстановление изношенных деталей, узлов и механизмов, способствует успешному
решению проблемы снабжения автохозяйств и ремонтных предприятий запасными
частями и даёт большую экономию различных материалов.
Шатуны не менее важны, чем все остальные его компоненты
двигателя и их достаточно легко облегчить по сравнению с другими запчастями. За
последние годы стало возможным увеличить мощность двигателей до потрясающих
воображение величин. В таких двигателях уже нельзя использовать стандартные
шатуны. Шатуны JUN обеспечивают прекрасную «крутильность», такую привлекательную в
атмосферных двигателях. К шатунам предъявляется целый ряд требований: шатуны JUN обладают идеальным
равновесием, сниженной нагрузкой на рычаг за счет снижения веса нижней головки.
Шатуны JUN легкие и в тоже время прочные, что достигается за счет их формы.
В качестве материала для шатунов JUN используется сталь марки SCM440, а шатунные болты
изготовлены по спецзаказу компанией ARP. Если в процессе вращения нижняя головка
деформируется, то металл расплавится. Чтобы избежать этого, форма шатунов JUN помогает равномерно
распределить нагрузку.
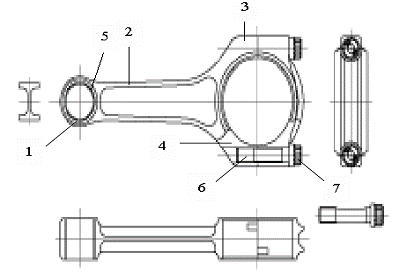
Рис. 1.1 Шатун:
- верхняя головка; 2 - стержень; 3 - нижняя головка; 4 -
крышка нижней головки; 5 - втулка верхней головки; 6 - шатунный болт; 7 - гайка
3
Шатуны авиамодельных двигателей выглядят следующим образом
(рис. 1.2.):
Рис. 1.2 Шатуны авиамодельных двигателей
Шатун преобразует возвратно-поступательное движение поршня во
вращательное движение коленчатого вала и шарнирно соединен с этими деталями.
При работе шатун совершает сложное движение в плоскости, перпендикулярной оси
коленчатого вала, и подвергается воздействию высоких газовых и инерционных сил.
Шатун должен обладать высокой прочностью, по возможности малой массой, но
одновременно достаточной жесткостью, обеспечивающей стабильность формы и
размеров, в частности отверстий под подшипники. В зависимости от типа
кривошипно-шатунного механизма и расположения цилиндров можно выделить шатуны
рядного типа двигателей с тронковым механизмом; шатуны прицепного типа
многорядных двигателей (V-, W- и звездообразных); шатуны двигателей с крейцкопфным
механизмом.
Изготовление шатуна
В серийном производстве дюралюминиевые шатуны изготавливают
обычно при помощи горячей штамповки. При мелкосерийном и одиночном изготовлении
шатуны получают фрезеровкой или точением с последующей слесарной доработкой. В
условиях лаборатории и авиамодельного кружка шатун можно изготовить слесарными
методами вручную в тисках.
Последовательность изготовления шатуна методом точения (рис.
1.3):
Рис. 1.3 Изготовление шатуна
План рациональной последовательности ремонта
шатуна
Прежде чем ремонтировать шатун, необходимо его проверить.
Проверка шатуна обычно проводится в несколько этапов. Начинают чаще всего с
проверки геометрии отверстий. Для этого шатун разбирают, моют, а затем собирают
с затяжкой болтов (гаек) крепления крышки рабочим моментом. Далее нутромером
проверяют диаметр отверстия нижней головки - он должен соответствовать размеру,
рекомендованному заводом-изготовителем, а все отклонения формы отверстия
(эллипсность) должны укладываться в допуск на размер отверстия (обычно 0,015
мм). Аналогичным образом проверяют и верхнюю головку шатуна. Здесь контролируют
отклонения формы (эллипсность не более 0,01 мм), а также величину диаметра
отверстия, которая должна обеспечить гарантированный минимальный натяг в
прессовом соединении с пальцем (0,02-0,025 мм) или максимальный зазор во втулке
(0,015-0,02 мм) «плавающего» пальца.
Рис. 1.4. Проще всего измерить геометрию отверстия нутромером, но
иногда используют и специальные приборы
Все эти измерения выполнить несложно, нужно лишь время и
аккуратность.
Другое дело - проверить деформацию стержня шатуна. Деформация
стержня обычно выражается в том, что оси верхней и нижней головок шатуна
оказываются непараллельны. Измерить эту непараллельность наиболее точно можно с
помощью специального измерительного прибора или приспособления. К сожалению,
пока наличие подобных приборов на СТО или в мастерских скорее исключение, чем
правило. Поэтому иногда применяют более простые методы проверки, не требующие
дорогостоящей оснастки. Один из возможных альтернативных способов - проверка на
поверочной плите. Шатун кладется на плиту, и покачиванием определяется,
насколько он деформирован. Разновидность способа - прикладывание к боковой
плоскости шатуна лекальной линейки и оценка непараллельности плоскостей верхней
и нижней головок. Иногда шатуны проверяют «на скалке» - надевают с малым
зазором несколько шатунов верхней головкой на стержень, а деформацию оценивают
по просветам между боковыми плоскостями нижних головок шатунов. Но так или
иначе, а подобные способы измерения получаются неточными и для некоторых
шатунов вообще не годятся (шатуны с разной шириной верхней и нижней головок).
Практика тем не менее показывает, что стремиться точно измерить
непараллельность осей отверстий головок совсем не обязательно - достаточно и
приближенных способов. Объясняется это тем, что параллельность осей нетрудно
восстановить с помощью правильно выбранной технологии ремонта.
После того, как шатун проверен, можно приступать к ремонту.
Отремонтировать удается шатун с любым из описанных выше дефектов. Правда, при
этом требуется оценить эффективность ремонта - с точки зрения надежности
двигателя в последующей эксплуатации и экономических соображений. Последнее
часто является причиной отказа от ремонта в пользу покупки новых шатунов (для
некоторых отечественных двигателей ремонт иногда получается близким к замене по
стоимости).
Стандартным видом ремонта шатунов можно назвать ремонт
отверстия нижней головки при небольшом отклонении его размера от исходного
(номинального) значения. Суть этой операции сводится к тому, что диаметр
отверстия восстанавливается до номинального размера, заданного заводом -
изготовителем двигателя.
Технология такого ремонта достаточно проста. Вначале крышку
шатуна «занижают» (т.е. обрабатывают) по плоскости разъема на небольшую
величину - около 0,05-0,1 мм. Это может быть выполнено различными способами,
включая шлифование, фрезерование или (при небольшом припуске) притирку. Далее
шатун собирается, болты затягиваются рабочим моментом, после чего отверстие
обрабатывается в номинальный размер.
Для обработки отверстия в рамках этой технологии чаще всего
используются горизонтально-хонинговальные станки - они обеспечивают высокую
точность (отклонение размеров и формы отверстия в пределах 0,005-0,010 мм) и
производительность.
Однако применение данной технологии возможно только при малых
деформациях или износе отверстия нижней головки. Дело в том, что при
хонинговании базирование шатуна на станке выполняется по поверхности самого
отверстия. А это значит, что перекос осей головок, если он имел место до
ремонта, сохранится и после него. Более того, возможен и дополнительный
перекос, если отверстие сильно повреждено, и требуется большой припуск на его
обработку.
В подобных случаях применяют растачивание отверстий. Этот
процесс существенно отличается от предыдущего. Так, нередко приходится
«занижать» плоскость разъема не только крышки, но и самого шатуна, иначе около
разъема могут остаться необработанные участки поверхности. Кроме того, в
процессе растачивания отверстия обеспечивается строгая параллельность осей
отверстий головок, поскольку за базу принимается одно из отверстий.
Рис. 1.5. Специализированный расточный станок для шатунов
Растачивание выполняется на специализированных расточных станках
для шатунов, но с помощью специальной оснастки шатун можно расточить и на
универсальном станке (к примеру, на токарном (рис. 1.6)).
Рис. 1.6. Токарный станок со специальной оснасткой
Для получения высокой чистоты обработанной поверхности после
растачивания проводится финишная обработка - хонингование (рис. 1.7.).
Рис. 1.7. Хонингование - основной способ обработки отверстий
шатунов
Последовательность операций при восстановлении размеров
отверстия нижней головки шатуна:
) чистовое растачивание с целью исправления геометрических
параметров отверстия нижней головки шатуна;
) восстановление детали путём нанесения гальванического
покрытия. Применяем железнение;
) предварительная механическая подготовка. Назначаем чистовое
шлифование;
) окончательная механическая обработка. Применяем
хонингование с целью достижения необходимых параметров шероховатости.
Для восстановления отверстия в нижней головке шатуна
наибольшее применение получило осталивание (железнение) ванным методом.
Сущность процесса состоит в том, что в качестве ванны используется сама деталь.
Электролит удерживается в изношенном отверстии при помощи приспособлений с
уплотнениями. В качестве источника питания для наносимого покрытия используется
растворимые аноды из стали 10, 20.
В настоящее время в производстве широко используется
железнение в холодном электролите на асимметричном токе с катодно-анодным
соотношением 8/10. Для железнения применяется электролит с концентрацией
хлористого железа FeCl24H2O - 200 г./л, йодистый калий KI - 20 г./л, HCl - 15
г./л. Температура электролита поддерживается в пределах 50 єС, а плотность тока
50 (60) А/дм.
Технологический процесс железнения включает операции:
электрохимическое обезжиривание, анодное травление, железнение, нейтрализацию с
последующими промывками после каждой операции. Далее шатуны отправляют в сушку.
При ремонте нижней головки следует помнить, что межцентровое
расстояние между отверстиями головок всегда уменьшается, причем тем больше, чем
больше припуск на обработку отверстия. Это может быть критично для дизелей, где
укорочение шатуна даже на 0,1 мм заметно уменьшает степень сжатия и негативно
влияет на работу данного цилиндра.
Выдержать требуемое межцентровое расстояние удается с помощью
обработки отверстия верхней головки шатуна. Суть этой технологии в том, чтобы
заменить в верхней головке втулку и точно расточить отверстие под палец (втулка
всегда имеет припуск в пределах 0,3-0,5 мм), приняв за базу отверстие нижней
головки и обеспечив заданное межцентровое расстояние. Точно так же поступают и
в случае, когда втулка верхней головки изношена и требуется ее замена.
При составлении технологического маршрута необходимо
учитывать следующие требования:
одноимённые операции по всем дефектам маршрута должны быть
объединены;
каждая последующая операция должна обеспечить сохранность
качества работы поверхностей детали, достигнутую при предыдущих операциях;
в начале должны идти подготовительные операции, затем
восстановительные, кузнечные, слесарно-механические, шлифовальные и доводочные.
Описанные технологии ремонта обеспечивают высокую надежность
работы шатунов и применимы для подавляющего большинства двигателей.
2. Статистический методы и их выбор
Таблица 2.1. Перечень основных показателей качества шатуна.
Методы статистической обработки
|
Вид изделия
|
Параметры
контроля
|
Нормированные
значения
|
Статистические
методы контроля
|
|
JUN шатун (легкий)
|
1. Расстояние
между центрами, мм 2. Диаметр отверстия верхней головки шатуна, мм 3. Диаметр
отверстия нижней головки шатуна, мм 4. Шероховатость поверхности отверстий
головок шатуна, мкм 5. Твердость материала шатуна по Бринеллю 6. Прочность
шатуна по шкале Роквелла
|
150 22 48
0,63 228 32±4
|
Контрольные
карты Шухарта по количественному признаку: - X-R, X-S карты применяются в случае контроля
таких показателей качества как длина, ширина, масса и т.д. Отличие в том, что
карта X-S используется при больших объемах выборки, чем X-R, т.к. мера разброса в виде СКО дает большую погрешность на
малых выборках, чем размах.
|
|
Визуальные
параметры: 1. Сильный износ; 2. Трещины; 3. Ржавчина; 4. Погнутость головки;
5. Сколы; 6. Задиры и царапины на поверхности шатуна; 7. Шум при работе.
|
|
Контрольные
карты Шу-харта по альтернативному признаку: с-карта - график числа
дефектов, при использовании этих карт делается предположение, что дефекты
контролируемой характеристики продукции встречаются сравнительно редко; р-карта
- карта дефектной продукции, применяяется в случае контроля
качества по определению доли дефектных изделий; np-карта числа дефектных единиц продукции.
|
. Контроль прочности шатуна при помощи
контрольных карт Шухарта
1. Контроль прочности шатуна при помощи X-R
карты и X-S карты (по количественному признаку)
Выберем сначала X-R карту, поскольку данные сгруппированы и объем выборки мал (n=5).
Исходные данные: показатель качества
Таблица 3.1.
|
1
|
32,858
|
26
|
35,469
|
51
|
33,896
|
76
|
32,782
|
|
2
|
35,458
|
27
|
39,768
|
52
|
31,403
|
77
|
26,151
|
|
3
|
34,781
|
28
|
33,922
|
53
|
37,557
|
78
|
34,943
|
|
4
|
31,086
|
29
|
32,099
|
54
|
32,38
|
79
|
25,639
|
|
5
|
32,827
|
30
|
34,497
|
55
|
36,042
|
80
|
31,138
|
|
6
|
33,6
|
31
|
31,911
|
56
|
31,032
|
81
|
28,589
|
|
7
|
31,168
|
32
|
32,664
|
57
|
30,266
|
82
|
37,007
|
|
8
|
31,102
|
33
|
34,57
|
58
|
31,378
|
83
|
32,353
|
|
9
|
34,471
|
34
|
35,353
|
59
|
33,386
|
84
|
33,253
|
|
10
|
30,319
|
35
|
32,073
|
60
|
32,019
|
85
|
37,73
|
|
11
|
36,58
|
36
|
32,888
|
61
|
34,655
|
86
|
35,625
|
|
12
|
41,552
|
37
|
37,674
|
62
|
34,931
|
87
|
36,057
|
|
13
|
30,588
|
38
|
34,286
|
63
|
31,235
|
88
|
33,115
|
|
14
|
34,157
|
39
|
31,527
|
64
|
31,324
|
89
|
34,643
|
|
15
|
39,092
|
40
|
33,028
|
65
|
32,025
|
90
|
33,346
|
|
16
|
30,726
|
41
|
34,926
|
66
|
33,012
|
91
|
36,668
|
|
17
|
30,391
|
42
|
34,395
|
67
|
34,441
|
92
|
30,71
|
|
18
|
33,849
|
43
|
28,79
|
68
|
32,909
|
93
|
39,17
|
|
19
|
31,266
|
44
|
41,295
|
69
|
31,608
|
94
|
34,231
|
|
20
|
34,923
|
45
|
32,795
|
70
|
31,01
|
95
|
34,587
|
|
21
|
29,889
|
46
|
35,534
|
71
|
27,559
|
96
|
32,407
|
|
22
|
30,564
|
47
|
36,031
|
72
|
32,999
|
97
|
35,455
|
|
23
|
32,697
|
48
|
31,984
|
73
|
31,063
|
98
|
33,376
|
|
24
|
38,748
|
49
|
29,04
|
74
|
33,348
|
99
|
36,311
|
|
25
|
36,416
|
50
|
30,58
|
75
|
35,425
|
100
|
32,683
|
Контрольные карты среднего арифметического и
размаха:
Рис. 3.1. 
- и 
-контрольные карты
Рис. 3.2. Контрольные карты Шухарта с контрольными и
предупредительными границами
Вывод: в построенных картах отсутствует выход результатов за
контрольные границы (нет выбросов), периодичность, приближение к центральной
линии и линейный тренд, не нарушается случайность распределения точек, т.е.
технологический процесс находится в статистически управляемом состоянии.
Полученные Х и R принять за стандартные значения и использовать при последующем
контроле.
Оперативные характеристики карты среднего
арифметического и карты размаха:
Рис. 3.3. Оперативная характеристика карты среднего
арифметического
Рис. 3.4. Оперативная характеристика карты размаха
Проверка на выбросы
Для карты среднего арифметического и для карты размаха:
Рис. 3.5. Проверка на выбросы карты среднего арифметического
Рис. 3.6. Проверка на выбросы карты размаха
Проверка нарушений случайности распределения
Для карты среднего арифметического и для карты размаха:
Рис. 3.7. Проверка нарушений случайности распределения карты
среднего арифметического
Рис. 3.8. Проверка нарушений случайности распределения карты
размаха
Описание контрольных карт
Для карты среднего арифметического и для карты размаха:
Рис. 3.9. Описание контрольных карт среднего арифметического
Рис. 3.10. Описание контрольных карт размаха
Гистограммы среднего арифметического и размаха
Рис. 3.11. Гистограмма среднего арифметического
Рис. 3.12. Гистограмма размаха
Х-S карта
Контрольные карты среднего арифметического, СКО
Рис. 3.13. Х - и S - контрольные карты
Рис. 3.14. Контрольные карты Шухарта с контрольными и
предупредительными границами
Оперативная характеристика карты среднего арифметического
Рис. 3.15. Оперативная характеристика карты среднего
арифметического
Проверка на выбросы
Для карты среднего арифметического и для карты размаха:
Рис. 3.16. Проверка на выбросы карты среднего арифметического
Рис. 3.17. Проверка на выбросы карты размаха
Проверка нарушений случайности распределений
Для карты среднего арифметического и для карты размаха:
Рис. 3.18. Проверка нарушений случайности распределения карты
среднего арифметического
Рис. 3.19. Проверка нарушений случайности распределения карты
размаха
Описание контрольных карт
Для карты среднего арифметического и для карты размаха:
Рис. 3.20. Описание контрольных карт среднего арифметического
Рис. 3.21. Описание контрольных карт размаха
Гистограммы среднего арифметического и размаха
Рис. 3.22. Гистограмма среднего арифметического
Рис. 3.23. Гистограмма размаха
. Контроль параметров шатуна при помощи С и Р
карты (по альтернативному признаку)
Исходные данные для построения С-карты:
Таблица 3.2.
|
Номер выборки
|
Число дефектов
в выборке
|
|
1
|
1
|
4
|
|
2
|
2
|
5
|
|
3
|
3
|
2
|
|
4
|
4
|
|
5
|
5
|
1
|
|
6
|
6
|
7
|
|
7
|
7
|
2
|
|
8
|
8
|
5
|
|
9
|
9
|
1
|
|
10
|
10
|
4
|
|
11
|
11
|
1
|
|
12
|
12
|
5
|
|
13
|
13
|
3
|
|
14
|
14
|
4
|
|
15
|
15
|
6
|
|
16
|
16
|
7
|
|
17
|
17
|
8
|
|
18
|
18
|
2
|
|
19
|
19
|
3
|
|
20
|
20
|
2
|
Рис. 3.24. Контрольная С-карта и гистограмма распределения
числа дефектов в выборке
Проверка нарушений случайности распределения:
Рис. 3.25. Проверка нарушений случайности распределения для
С-карты
Исходные данные для построения Р-карты:
Таблица 3.3.
|
|
№ выборки
|
Объем выборки n
|
Число
дефектов
|
|
1
|
1
|
200
|
2
|
|
2
|
2
|
320
|
7
|
|
3
|
3
|
180
|
5
|
|
4
|
4
|
450
|
9
|
|
5
|
5
|
290
|
4
|
|
6
|
6
|
430
|
6
|
|
7
|
7
|
400
|
2
|
|
8
|
8
|
390
|
8
|
|
9
|
9
|
220
|
5
|
|
10
|
10
|
230
|
4
|
|
11
|
11
|
350
|
3
|
|
12
|
12
|
410
|
5
|
|
13
|
13
|
340
|
6
|
|
14
|
14
|
170
|
7
|
|
15
|
15
|
320
|
9
|
|
16
|
16
|
480
|
1
|
|
17
|
17
|
230
|
2
|
|
18
|
18
|
390
|
4
|
|
19
|
19
|
150
|
3
|
|
20
|
20
|
200
|
6
|
Рис. 3.26. Контрольная Р-карта и гистограмма распределения
доли брака
Рис. 3.27. Нормализованная контрольная Р-карта и гистограмма
Таблица 3.4. Диаграмма Парето
|
Дефект
|
Число дефектных
изделий
|
|
1
|
Сильный износ
|
49
|
|
2
|
Трещины
|
30
|
|
3
|
Ржавчина
|
11
|
|
4
|
Погнутость
головки
|
20
|
|
5
|
Сколы
|
19
|
|
6
|
Задиры и
царапины на поверхности шатуна
|
12
|
|
7
|
Шум при работе
|
14
|
|
8
|
Прочие
|
5
|
Вывод: на диаграмме виден эффект Парето, т.к.
большинство дефектов находится в первых двух категориях. Основная работа должна
быть направлена на устранение дефектов в категориях носящих максимальный вклад:
сильный износ, трещины и ржавчина.
Анализ технологического процесса для следующих
данных:
Таблица 3.5.
|
Х1
|
Х2
|
Х3
|
Х4
|
Х5
|
Хср
|
R
|
|
1
|
32,858
|
35,458
|
34,781
|
31,086
|
32,827
|
33,402
|
4,372
|
|
2
|
33,6
|
31,168
|
31,102
|
34,471
|
30,319
|
32,132
|
4,152
|
|
3
|
36,580
|
41,552
|
30,588
|
34,157
|
39,092
|
36,3938
|
10,964
|
|
4
|
30,726
|
30,391
|
33,849
|
31,266
|
34,923
|
32,231
|
4,532
|
|
5
|
29,889
|
30,564
|
32,697
|
38,748
|
36,416
|
33,6628
|
8,859
|
|
6
|
35,469
|
39,768
|
33,922
|
32,099
|
34,497
|
35,151
|
7,669
|
|
|
|
|
|
|
33,829
|
6,758
|
1) Расчет среднего арифметического, размаха, общего среднего
арифметического и общего размаха:
;
;
;
где
,
- среднее и размах i-ой (i=1,… k) выборки.
;
2) Расчет контрольных границ для карты среднего арифметического:
;
,
где А2 - коэффициент для вычисления контрольных границ
(фактор, зависящий от n (n=5))
А2 =0,577
;
) Расчет контрольных границ для карты размаха:
;
,
Где D3, D4 - коэффициенты для вычисления контрольных границ (факторы,
зависящие от n (n=5))
D3 =0; D4=2,114
;
) Контрольные карты имеют следующий вид:
Рис. 3.29. Контрольные карты среднего арифметического
Рис. 3.30. Контрольные карты размаха
Вывод: В
построенных картах отсутствует выход результатов за контрольные границы (нет
выбросов), периодичность, приближение к центральной линии и линейный тренд, не
нарушается случайность распределения точек, т.е. технологический процесс
находится в статистически управляемом состоянии. Полученные
и
принимаем за стандартные значения и используем при последующем
контроле.
3. Контроль дефектов шатуна (трещины) при помощи np-карты (по
альтернативному признаку)
Поскольку задано число дефектов для выборки из 15 изделий и n=const, выбирается биномиальная
модель и np - контрольная карта.
Предварительная контрольная карта:
Рис. 3.31. Предварительная контрольная np-карта и гистограмма
Примем 30-ю выборку как вышедшую за контрольные пределы
вследствие влияния особых причин.
Скорректированная контрольная карта:
Рис. 3.32. Скорректированная контрольная np-карта и гистограмма
Вывод: так
как выбросы отсутствуют и распределение точек приблизительно симметрично и
случайно, то полученное значение
можно принять как стандартное и использовать для дальнейшего
контроля.
Проверка на выбросы
Рис. 3.33. Проверка на выбросы np-карты
выброс за границу UCL до
построения скорректированной карты.
Гистограмма
Рис. 3.34. Гистограмма для np-карты
Оперативная характеристика контрольной карты:
Рис. 3.35. Оперативная характеристика np-карты
Проверка нарушения случайности распределения:
Рис. 3.36. Проверка нарушений случайности распределения np-карты
Описание контрольной карты (до корректировки):
Рис. 3.37. Описание контрольной np-карты (до корректировки)
) Расчет параметров контрольной карты: m=30
;
- средняя доля дефектов
;
;
(принимаем 0)
) Контрольная карта имеет вид:
Рис. 3.38. Контрольная np-карта
Примем 30-ю выборку как вышедшую за контрольные пределы
вследствие влияния особых причин.
) Расчет параметров скорректированной контрольной карты: m=29
;
;
;
(принимаем 0)
4) Контрольная карта со скорректированными значениями и границами
имеет вид:
Рис. 3.39. Контрольная np-карта со
скорректированными значениями
Вывод: так
как выбросы отсутствуют и распределение точек приблизительно симметрично и
случайно, то полученное значение
можно принять как стандартное и использовать для дальнейшего
контроля.
4. Контроль прочности шатуна при помощи приемочной контрольной
карты
Гост р 50779.43-99
Приемочные контрольные карты предназначены для оценки влияния
особых причин на внутривыборочную статистику и приемку технологического
процесса как управляемого по заданной вероятности брака в каждой отдельной
партии.
Приемочная контрольная карта по количественному признаку -
зависимость среднего арифметического от номера партии или времени взятия
выборки.
Рассчитать параметры приемочной контрольной карты для
технологического процесса изготовления шатуна определенной шероховатости
(32±4).
уо=1,1
ро=0,5% - процесс принимается
р1=2,5% - процесс бракуется
Расчет:
Рассматриваем случай для двустороннего симметричного допуска.
относительно
относительно
Поскольку б и в не заданы, принимаем б= в
Принимаем б= в=0,11
Проведем контроль технологического процесса для следующих данных:
Таблица 4.1.
|
Х1
|
Х2
|
Х3
|
Х4
|
Х5
|
Х6
|
Х7
|
Х8
|
|
1
|
32,858
|
35,458
|
34,781
|
31,086
|
32,827
|
33,6
|
31,168
|
31,102
|
|
2
|
30,391
|
33,849
|
31,266
|
34,923
|
29,889
|
30,564
|
32,697
|
|
3
|
29,04
|
30,58
|
33,896
|
31,403
|
37,557
|
32,38
|
36,042
|
31,032
|
|
4
|
34,57
|
35,353
|
32,073
|
32,888
|
37,674
|
34,286
|
31,527
|
33,028
|
|
Х9
|
Х10
|
Х11
|
Х12
|
Х13
|
Х14
|
Х15
|
Х16
|
Хср
|
|
34,471
|
30,319
|
26,151
|
32,683
|
30,588
|
34,157
|
33,376
|
30,726
|
32,209
|
|
36,311
|
35,469
|
39,768
|
33,922
|
32,099
|
34,497
|
31,911
|
32,664
|
33,079
|
|
30,266
|
31,378
|
33,386
|
32,019
|
34,655
|
34,911
|
31,235
|
31,324
|
32,57
|
|
34,926
|
34,395
|
28,79
|
27,559
|
32,795
|
35,534
|
36,031
|
31,984
|
33,338
|
Контрольная карта имеет вид:
Рис. 4.1. Контрольная карта среднего арифметического
Вывод: Поскольку на контрольной карте нет выбросов за ACL, то все 4 партии
принимаются как годные и процесс считается статистически управляемым.
5. Контроль прочности шатуна при помощи карты
среднего арифметического с предупреждающими границами
Гост р 50779.41-96
Контрольная карта среднего арифметического с предупреждающими
границами предназначена для регистрации малых сдвигов технологических процессов
по среднему. Цель - регулирование технологического процесса, при котором
выборочное среднее будет иметь минимальное отклонение от желаемого уровня
(номинального значения).
Рассматривается изготовление шатуна определенной
шероховатости отверстий головок:
Номинальное значение - 32
Верхняя граница - 36
Нижняя граница - 28
Максимальный нежелательный уровень несоответствий - 2%СКО -
1,1
) Расчет недопустимого уровня технологического процесса:
1-2p=1-2*2%=0,96
2) Выбор возможных вариантов плана контроля:
Таблица 5.1.
|
№ плана
|
KB1B2L0L1L0/
L1
|
|
|
|
|
|
|
|
1
|
2,3
|
4
|
2,75
|
1,75
|
335,1
|
2,6
|
128,9
|
|
2
|
3,26
|
3
|
3,25
|
1,25
|
618,6
|
1,8
|
343,7
|
|
3
|
2,73
|
4
|
3
|
1,5
|
730,9
|
2,3
|
317,8
|
|
4
|
2,91
|
2
|
2,75
|
1
|
41,7
|
1,4
|
29,8
|
;
) Поскольку
> 32 выбираем план с минимальным L1, т.е. 2-ю строку в таблице (2-ой план).
) Проанализируем технологический процесс для следующих данных:
Таблица 5.2.
|
Х1
|
Х2
|
Х3
|
Х4
|
Х5
|
Х6
|
Х7
|
Х8
|
|
1
|
32,858
|
35,458
|
34,781
|
31,086
|
32,827
|
33,6
|
31,168
|
31,102
|
|
2
|
30,391
|
33,849
|
31,266
|
34,923
|
29,889
|
30,564
|
32,697
|
29,04
|
|
3
|
29,04
|
30,58
|
33,896
|
31,403
|
37,557
|
32,38
|
36,042
|
31,032
|
|
4
|
34,57
|
35,353
|
32,073
|
32,888
|
37,674
|
34,286
|
31,527
|
33,028
|
|
5
|
32,025
|
33,012
|
34,441
|
32,909
|
31,608
|
31,01
|
27,559
|
32,999
|
|
6
|
28,589
|
37,007
|
32,353
|
33,253
|
37,73
|
35,625
|
36,057
|
33,115
|
|
Х9
|
Х10
|
Х11
|
Х12
|
Х13
|
Х14
|
Х15
|
Х16
|
Хср
|
|
34,471
|
30,319
|
26,151
|
32,683
|
30,588
|
34,157
|
33,376
|
30,726
|
32,209
|
|
36,311
|
35,469
|
39,768
|
33,922
|
32,099
|
34,497
|
31,911
|
32,664
|
33,079
|
|
30,266
|
31,378
|
33,386
|
32,019
|
34,655
|
34,911
|
31,235
|
31,324
|
32,57
|
|
34,926
|
34,395
|
28,79
|
27,559
|
32,795
|
35,534
|
36,031
|
31,984
|
33,338
|
|
31,063
|
33,348
|
35,425
|
32,782
|
26,151
|
34,943
|
25,639
|
31,138
|
31,628
|
|
29,04
|
33,346
|
28,79
|
30,71
|
25,639
|
34,231
|
34,587
|
32,407
|
32,655
|
В1=3,25; В2=1,25; n=16
Рис. 5.1. Контрольная карта среднего арифметического
Вывод: После
6-ой выборки необходимо принять решение о наладке процесса, так как 2 и 4-ая
(33,079; 33,338) точки выходят за верхнюю границу регулирования, а 3,6 - ая
(32,57; 32,655) точки находятся в зоне W+ между
верхней предупреждающей границей и верхней границей регулирования, 5-ая точка
(31,628) находится в зоне W - между нижней предупреждающей границей и
нижней границей регулирования. Корректировка должна быть осуществлена
немедленно при втором же значении
либо больше 35,3, либо меньше 28,7. Таким образом процесс
находится в статистически неуправляемом состоянии, т.е. мы должны
совершенствовать технологический процесс или пересмотреть план контроля.
. Анализ воспроизводимости и пригодности технологического процесса
изготовления шатуна
Эти виды анализа необходимы для оценки соответствия
технологического процесса заданным границам допусков, т.е. оценки вероятности
брака и причин его возникновения.
Контрольные карты:
Рис. 6.1. Контрольные карты
Проверка нарушений случайности распределения:
Для карты среднего арифметического и для карты размаха:
Рис. 6.2. Проверка нарушений случайности распределения карты
среднего арифметического
Рис. 6.3. Проверка нарушений случайности распределения карты
размаха
Вывод: поскольку на обеих контрольных картах нет
нарушений, то это соответствует первому случаю по ГОСТ Р 50779.44.
Анализ воспроизводимости процесса основан на расчете 2-ух
индексов:
Ср - индекс потенциальной пригодности
(характеризует вероятность брака вследствие влияния собственной изменчивости
технологического процесса);
Срк - индекс смещенности (характеризует вероятность
брака вследствие смещения среднего относительно USL, LSL).
Рис. 6.4. Индекс пригодности процесса
Анализ пригодности процесса основан на расчете 2-ух индексов:
Рр и Ррк - характеризуют вероятность
брака
Рис. 6.5. Индекс воспроизводимости процесса
Ср=0,46245
Срк=0,30016
Графический анализ воспроизводимости:
Рис. 6.6. Графический анализ воспроизводимости процесса
Вывод: Процесс находится в статистически неуправляемом
состоянии, так как индекс Срк<1, процесс не центрирован, т.е. не
настроен на центр.
. Выбор плана для альтернативного выборочного
контроля процесса изготовления шатуна
гост р исо 2859-1-2007
Выбрать план контроля для следующих данных:
Уровень дефектности AQL - 2,5%
N=100 шт.
Одноступенчатый тип контроля
. Выбор уровня контроля: общий - II
. Выбор объема выборки в зависимости от уровня контроля и
объема партии N:
код объема выборки - F
. Выбор параметров плана контроля:
Таблица 7.1.
|
Вид Параметр
|
Нормальный
|
Усиленный
|
Ослабленный
|
|
Ac
|
1
|
1
|
1
|
|
Re
|
2
|
2
|
2
|
|
n
|
20
|
20
|
8
|
а) Нормальный контроль является основным видом контроля и
применяется во всех случаях (если не оговорено применение другого вида
контроля) до тех пор, пока не возникнут условия перехода на усиленный или
ослабленный контроль.
Рис. 7.1. Переходы контроля
б) Переход с нормального контроля на усиленный контроль
Если в ходе нормального контроля 2 из 5 последовательных партий
будут забракованы, переходят на усиленный контроль.
Партии, возвращаемые для контроля после их забракования при первом
предъявлении, не учитывают.
Если 10 очередных партий (или другое количество партий,
установленное компетентным органом) контролируется по правилам усиленного
контроля, следует прекратить приемку и принять меры для улучшения качества
контролируемой продукции.
в) Переход с усиленного контроля на нормальный контроль
Если при усиленном контроле 5 очередных партий будет принято,
переходят на нормальный контроль.
г) Переходы с нормального контроля на ослабленный контроль
С нормального контроля на ослабленный контроль переходят, если
выполнены следующие условия:
при нормальном контроле не менее 10 последовательных партий были
приняты;
общее число дефектных изделий, выявленных при контроле последних
10 партий, не превышает число дефектных изделий (10*20=200
количество проконтролированных изделий в
10 выборках - 2);
технологический процесс стабилен и выпуск продукции ритмичен.
д) Переход с ослабленного контроля на нормальный контроль
С ослабленного контроля переходят на нормальный контроль,
если выполняется хотя бы одно из следующих условий:
очередная партия забракована при первом предъявлении;
нет оснований ни для принятия, ни для забракования партии, в
таком случае партию следует принять, но начиная со следующей партии, применять
нормальный контроль;
изменение технологии или условий производства;
нарушены стабильность технологического процесса или ритмичный
выпуск продукции;
другие условия требуют возвращения нормального контроля.
. Необходимо построить оперативные характеристики по
указанным выше условиям (для нормального контроля) (рис. 7.2.):
Таблица 7.2.
|
p
|
Pа
|
|
0,759
|
99,0
|
|
1,81
|
95,0
|
|
2,69
|
90,0
|
|
4,81
|
75,0
|
|
8,25
|
50,0
|
|
12,9
|
25,0
|
|
18,1
|
10,0
|
|
21,6
|
5,0
|
|
28,9
|
1,0
|
Рис. 7.2. Оперативная характеристика
Pa - средний процент
принятых партий;
б - риск производителя;
в - риск потребителя;
1-б=91%
б=9%
Предел среднего выходного уровня качества AOQL при нормальном контроле 4,2; при усиленном - 4,6.
Предельное качество в процентах несоответствующих единиц
продукции, для в=10% при нормальном контроле равно 18%.
Предельное качество в процентах несоответствующих единиц
продукции, для в=5% при нормальном контроле равно 22%.
8. Выбор плана выходного контроля по количественному признаку
Гост р 50779.53-98
Определить параметры плана контроля по количественному признаку на
предприятии при изготовлении шатуна.
Ключевым показателем является прочность шатуна.
Допустимые значения:
а (Тн)=28;
в (Тв)=36;
NQL=2,5%
у=1,1
степень доверия определяется наличием сертификата на систему
обеспечения качества по ГОСТ Р ИСО 9001 или ГОСТ Р ИСО 9002.
Поскольку рассматривается производственный цикл на одном
предприятии, то целесообразно рассмотреть контроль поставщика.
Поскольку задано наличие сертификата по ГОСТ Р ИСО 9001 и ГОСТ Р
ИСО 9002, то выбирается степень доверия Т6 и в0=0,9.
Определение объема выборки:
; g=3,64
По таблице А11 для NQL=2,5% ни одно
из значений не превышает 3,64
допустим любой n.
Выбираем n=6
Расчет границ для контроля поставщика:
К1=2,24
Параметрами плана контроля являются:
n=6
НПГ=30,464
ВПГ=33,536
Для следующей партии проверяем условие приемки:
Таблица 8.1.
|
Х1
|
Х2
|
Х3
|
Х4
|
Х5
|
Х6
|
Хср
|
Годность
|
|
1
|
32,858
|
35,458
|
34,781
|
31,086
|
32,827
|
33,6
|
33,435
|
партия
принимается, поскольку среднее не выходит за пределы НПГ и ВПГ
|
|
2
|
31,168
|
31,102
|
34,471
|
30,319
|
36,58
|
41,552
|
34,199
|
партия не
принимается, поскольку среднее выходит за пределы НПГ и ВПГ
|
|
3
|
30,588
|
34,157
|
39,092
|
30,726
|
30,391
|
33,849
|
33,134
|
партия
принимается, поскольку среднее не выходит за пределы НПГ и ВПГ
|
|
4
|
31,266
|
34,923
|
29,889
|
30,564
|
32,697
|
38,748
|
33,015
|
партия
принимается, поскольку среднее не выходит за пределы НПГ и ВПГ
|
|
5
|
36,416
|
35,469
|
39,768
|
33,922
|
32,099
|
34,497
|
35,362
|
партия не
принимается, поскольку среднее выходит за пределы НПГ и ВПГ
|
|
6
|
31,911
|
32,664
|
34,57
|
35,353
|
32,073
|
32,888
|
33,243
|
партия
принимается, поскольку среднее не выходит за пределы НПГ и ВПГ
|
|
7
|
37,674
|
34,286
|
31,527
|
33,028
|
34,926
|
34,395
|
34,306
|
партия не
принимается, поскольку среднее выходит за пределы НПГ и ВПГ
|
|
8
|
28,79
|
41,295
|
32,795
|
35,534
|
36,031
|
31,984
|
34,572
|
партия не
принимается, поскольку среднее выходит за пределы НПГ и ВПГ
|
Вывод: по результатам выше приведенной таблицы
заключаем: партии 1,3,4 и 6 принимаются, а партии 2,5,7,8 не принимаются.
Список использованных источников
1. Гост р 50779.41-96 Статистические методы.
Контрольные карты для арифметического среднего с предупреждающими границами. -
М. - 23 с.
. Гост р 50779.42-99 Статистические методы.
Контрольные карты Шухарта. - М. - 32 с.
. Гост р 50779.43-99 Статистические методы.
Приемочные контрольные карты. - М. - 23 с.
. Гост р 50779.53-98 Статистические методы. Приемочный
контроль качества по количественному признаку для нормального закона
распределения при известном стандартном отклонении. - М. - 19 с.
. ГОСТ 18242 - 72 Статистический приемочный
контроль по альтернативному признаку. Планы контроля. - М. - 61 с.
. ГОСТ Р ИСО 2859-1-2007 Статистические методы.
Процедуры выборочного контроля по альтернативному признаку. - М. -100 с.