Искровые свечи зажигания

  • Вид работы:
    Контрольная работа
  • Предмет:
    Транспорт, грузоперевозки
  • Язык:
    Русский
    ,
    Формат файла:
    MS Word
    44,94 Кб
  • Опубликовано:
    2013-11-13
Вы можете узнать стоимость помощи в написании студенческой работы.
Помощь в написании работы, которую точно примут!

Искровые свечи зажигания

Содержание

Искровые свечи зажигания

1.       Общие сведения

2.      Условия работы свечи на двигателе

.        Устройство свечей зажигания

.        Тепловая характеристика и маркировка свечей

.        Список литературы

Искровые свечи зажигания

. Общие сведения

Свеча зажигания предназначена для воспламенения рабочей смеси цилиндре двигателя. При подаче высокого напряжения на электроды свеч возникает искровой разряд, воспламеняющий рабочую смесь. Свеча является важнейшим элементом системы зажигания двигателей внутренне сгорания с принудительным воспламенением рабочей смеси. По исполнению свечи бывают экранированные и неэкранированные (отрытого исполнения), по принципу работы:

· с воздушным искровым промежутком;

· со скользящей искрой; полупроводниковые;

· эрозийные; многоискровые (конденсаторные);

· комбинированные.

Наибольшее распространение на автомобилях получили свечи с воздушным искровым промежутком. Это объясняется тем, что они удовлетворительно работают на современных двигателях, наиболее просты по конструкции и технологичны. В последние годы для специальных двигателей (например, роторно-поршневых и газотурбинных) применяют комбинированные свечи, где искровой разряд проходит частично по воздуху, а частично по поверхности изолятора.

В силу своего назначения и специфики работы свеча влияет на надежность и выходные показатели двигателя. Для правильного выбора конструкции свечи необходимо знать специфические требования, предъявляемые к ней двигателем.

. Условия работы свечи на двигателе

Свеча при работе на двигателе подвержена высоким тепловым, механическим, электрическим и химическим воздействиям. По мере развития двигателестроения и форсирования двигателей интенсивность воздействия перечисленных факторов возрастает. Введение в бензин антидетонационных присадок, содержащих металл (свинец или марганец), способствует снижению срока службы свечи.

В процессе работы частота тепловых, механических, электрических и химических воздействий на свечу зависит от частоты вращения коленчатого вала и тактности двигателя. Количество воздействий на свечу в единицу времени на многоцилиндровом, например, восьмицилиндровом, четырехтактном, двигателе в 6 раз меньше, чём в двухтактном двигателе. Поэтому срок службы свечей для разных двигателей различен.

Тепловые нагрузки. Температура газовой среды в камере сгорания двигателя колеблется от 70°С (температура свежего заряда смеси, поступающей в цилиндр) до 2000 ... 2700 °С (максимальная температура цикла), а наружная часть свечи, находящаяся в подкапотном пространстве, омывается встречным потоком воздуха. В определенных случаях свеча может работать при температуре окружающей среды до -60 °С (в северных районах). Из-за неравномерного нагрева свечи возникают тепловые деформации и напряжения, которые усугубляются тем, что материалы ее деталей имеют различные коэффициенты линейного расширения (металл, керамика).

Механические нагрузки. Давление в цилиндре двигателя достигает 5...6 МРа (максимальное давление в цикле). На поверхность свечи, находящуюся в камере сгорания, действует усилие, пропорциональное ее площади. Это усилие составляет 0,5... 1,2 кН. Кроме того, свеча подвергается вибрационным нагрузкам от работающего двигателя. В процессе сборки по существующей технологии изолятор свечи при завальцовке в корпусе и термоосадке подвергается усилию сжатия, равному 25...30 кН. При ввертывании свечи в головку цилиндра к ее корпусу прилагается крутящий момент 40...60 Н*м. В процессе эксплуатации этот показатель значительно повышается, особенно при вывертывании свечи из-за образования нагара на резьбе или срыва резьбы в головке цилиндра.

Электрические и химические нагрузки. Свеча находится под электрическим напряжением, приложенным к ее электродам, равным пробивному напряжению искрового промежутка. Это напряжение может превышать 20 кВ. Рабочая часть электродов подвергается воздействию электрической энергии в процессе искрообразования. Износ электродов дополнительно увеличивается из-за того, что в продуктах сгорания находятся вещества, которые вызывают их химическую коррозию. Опыт показывает, что в процессе работы зазор в свече увеличивается в среднем на 0,015 мм на 1000 км пробега автомобиля.

Шунтирование свечи. Неполное сгорание топливной смеси ведет к отложению токопроводящего нагара на поверхности теплового конуса, электродах и стенках камеры свечи. Нагар образуется также из-за попадания смазочного масла на тепловой корпус изолятора, особенно при работе свечи на двухтактном двигателе. Смазочное масло является изолятором для электрического тока, но когда оно смачивает слой ранее отложившегося нагара, то вся образовавшаяся масса превращается в токопроводное вещество. Это отложение постепенно обугливается под действием температуры и становится более токопроводным. При этом напряжение, развиваемое во вторичной цепи системы зажигания, уменьшается и может оказаться равным или даже меньшим пробивного напряжения искрового промежутка свечи, что приводит к нарушению в бесперебойности искрообразования и даже к полному его прекращению.

К аналогичному результату может привести попадание влаги и загрязнение открытой части изолятора свечи, находящейся в подкапотном пространстве автомобиля.

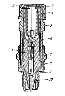
Рисунок 1. Свеча зажигания открытого типа.

- помехоподавительный резистор; 2 - накидная гайка; 3-резиновое уплотнение; 4-контактное устройство (КУ 20); 5-экран; 6-сердечник (изолятор в сборе); 7-корпус с боковым электродом; 8-шайба; 9-уплотнительное кольцо; 10-теплоотводящая шайба.

Рисунок 2. Экранированная свеча зажигания.

. Устройство свечей зажигания

свеча двигатель зажигание электрод

Современная свеча открытого исполнения (Рисунок 1) состоит, как правило, из металлического корпуса 4 с резьбой для ввертывания в головку цилиндра 5, бокового электрода 9, изолятора 3 с контактной головкой 2 и центральным электроде 8. Между коническими посадочными местами изолятора и корпуса кладется уплотнительная теплоотводящая шайба 7. Между головкой блока цилиндров и свечой, устанавливается уплотнительное кольцо 6. Для обеспечения контакта между свечой и высоковольтным проводом иногда применяют контактную гайку 1.

Сердечник, включающий в себя изолятор с контактной головкой и центральным электродом, соединяется с корпусом при помощи термоосадки корпуса. При этом буртик корпуса завальцовывается за плечико изолятора, корпус нагревается и впрессовывается с усилием до 30 кН. Корпус нагревают методом пропускания электрического тока силой до 9000 А через термоосадочную канавку. Эту же операцию производят при помощи тока высокой частоты.

Центральный электрод и контактную головку закрепляют в изоляторе с помощью токопроводящего стеклосплава. Этот способ обеспечивает герметичность свечи в процессе эксплуатации. Центральный электрод устанавливают в канале изолятора сверху, а на него - контактную головку. Изолятор вместе с этими деталями нагревают до температуры 800...900 °С, и контактная головка запрессовывается в расплавившуюся таблетку стеклогерметика. Боковой электрод прикрепляют к корпусу методом контактной сварки.

Для специальных целей, в случае необходимости наиболее полного подавления радиопомех или обеспечения работы свечи в условиях сильного загрязнения, применяют экранированные и герметизированные свечи (Рисунок 2). Контакт провода со свечой при этом обеспечивается с помощью контактного устройства 4, а защита от попадания влаги - с помощью резинового уплотнения 3.Иногда в цепь центрального электрода встраивают подавительное сопротивление 500... 10 000 Ом.

Материал центрального электрода должен обладать высокой коррозионной и эрозионной стойкостью, жаростойкостью и хорошей теплопроводностью. Центральные электроды изготавливают из хромотитановой стали 13Х25Т, а у некоторых типов свечей - из нихрома Х20Н80, боковые электроды - из никель-марганцевого сплава (например, НМц-5). Корпус свечи и контактную головку изготавливают из конструкционных сталей.

. Тепловая характеристика и маркировка свечей

Нормальная работа свечи происходит при температуре теплового конуса изолятора в пределах от 400...500 до 850...900 °С. Нагар на конусе исчезает при нагреве его до температуры 400...500 °С. Эта температура называется температурой самоочищения свечи. Если температура деталей свечи превысит 850...900 °С, может возникнуть преждевременное воспламенение смеси (калильное зажигание) во время процесса сжатия еще до момента появления искры.

Тепло, подведенное к свече, отводится от нее через различные элементы ее конструкции (корпус, изолятор, центральный электрод) и поступающую в камеру сгорания горючую смесь. Доля теплоты, отводимая от свечи рабочей смесью, составляет около 20 %. Так как диапазон изменения температуры свечи для всех свечей практически одинаков, а тепловые условия работы ее на различных двигателях существенно отличаются, свечи изготавливаются с различной тепловой характеристикой (калильным числом).

Критерием для оценки калильного числа свечи служит отвлеченный показатель, пропорциональный среднему индикаторному давлению и соответствующий порогу калильного зажигания. Калильное число определяют на испытательной установке с одноцилиндровым двигателем путем постоянного повышения тепловой нагрузки на свечу зажигания до момента появления калильного зажигания. Калильное число выбирается из следующего ряда чисел: 8, 11, 14, 17, 20, 23, 26.

· обозначение резьбы на корпусе (А - резьба М14Х1.25 или М - резьба М18Х1.5);

· калильное число;

· обозначение длины резьбовой части корпуса (Н - 11 мм, Д - 19 мм);

· длину резьбовой части корпуса (12 мм) не обозначают;

· обозначение выступания теплового конуса изолятора за торец корпуса - В;

· отсутствие выступания не обозначают;

· обозначение герметизации по соединению изолятор - центральный электрод термоцементом - Т;

· герметизацию иным герметикой не обозначают.

Примером условного обозначения свечи зажигания с резьбой на корпус М14Х1.25, калильным числом 20, длиной резьбовой части корпуса 19 мм имеющей выступание теплового конуса изолятора за торец корпуса, загерметизированной по соединению изолятор - центральный электрод герметиком (кроме термоцемента), является свеча зажигания А20ДВ.

Свечи зажигания подбирают к двигателю с учетом обеспечения надежной работы свечи и двигателя на верхнем и нижнем пределах тепловой характеристики свечи.

Список литературы

1.           Росс Твег «Системы зажигания легковых автомобилей», 1998 год.

2.      В.Е. Ютт «Электрооборудование автомобилей», 1995 год.


Не нашли материал для своей работы?
Поможем написать уникальную работу
Без плагиата!
Без нейросетей!