Характеристики сонячного колектора
Характеристики
сонячного колектора
1. Огляд літератури
1.1 Сонячний потенціал
На сьогоднішній день енергія відіграє значну роль в повсякденному
житті кожної людини, а її вартість є важливим показником рівня економічного
розвитку країни. Той факт, що приріст попиту на енергію значно випереджає
приріст її виробництва, змушує багато країн звернути увагу на альтернативні
джерела енергії (табл. 1.1).
Таблиця 1.1. Виробництво електроенергії в Україні з відновлюваних
джерел
Таким чином, значної актуальності набувають
проекти розробки і застосування альтернативних джерел енергії, зокрема
сонячної. В 2011 році в світі було підключено до мереж 27,7 ГВт новозбудованих
сонячних електростанцій. В 6 країнах - Італії, Німеччині, Китаї, США, Франції
та Японії - було встановлено за 2011 рік більш, ніж 1 ГВт їх потужностей.
Загальна потужність сонячних електростанцій, за даними Європейської асоціації
сонячної енергетики, на кінець 2011 року склала 67,4 ГВт. Вже другій рік
поспіль сонячна енергетика світу зростає близько 70% на рік. Виробництво
електроенергії існуючими сонячними електростанціями оцінюється на рівні 80
млрд. кВт год., що становить близько 40% річного споживання електроенергії в
Україні. У 2011 році в Україні держава проінвестувала більше половини введених
у дію в минулому році 100 МВт потужностей сонячної генерації, виділивши 2,6
млрд. грн. інвестицій на розвиток сонячної енергетики. Це більше, ніж за той
самий період на свої виробничі потреби сумарно одержали всі обленерго країни
(йдеться про суму в 2,5 млрд. грн.) Відзначимо, що в 2011 році встановлена
потужність електростанцій, які використовують відновлювані джерела енергії,
збільшилася більш як у 2,5 рази. В основному це відбулося за рахунок сонячних електростанцій
Криму, потужність яких зросла з 3,5 до 185,7 МВт, тобто в 54 рази.
На сьогодні в Україні
працюють 22 сонячні електростанції. За даними міжнародної дослідницької
компанії Macquarie Research, вироблена на них електроенергія у 2012 році
повинна перевищити 600 МВт. Проте, вітчизняна сонячна енергетика за своїми
показниками значно поступається країнам-лідерам з розвитку альтеративної
енергетики, зокрема Німеччині. Так, у травні 2012 року геліоенергетика цієї
країни встановила світовий рекорд з виробництва екологічно чистої енергії. В
момент рекорду більше 50% усієї електроенергії Німеччини вироблялося на
сонячних енергооб'єктах - а це понад 22 ГВт. Рівно стільки ж електроенергії
виробляють усі німецькі атомні електростанції.
Ефективності та
доцільності використання сонячної енергії в Україну присвячено багато
досліджень. Вагомі результати отримані в Інституті фізики напівпровідників НАН
України, в Київському, Одеському, Ужгородському та Чернівецькому університетах,
на деяких промислових підприємствах («Піллар», «Квазар»), в інших українських
лабораторіях. Внаслідок зусиль вчених (у тому числі і наших) вартість сонячних
елементів вдалося довести до 0,5 - 1,1 євро за ват потужності. Отже, за минулі
чверть століття вона зменшилася в 20 разів (а порівняно з першими зразками
1950-х - в 1000!) В принципі, вона вже не така далека від характеристик газових
і бензинових двигунів: 0,1-0,15 євро за ват.
Всі однозначно
стверджують, що застосування в Україні альтернативних джерел енергії, перш за
все, сонячної енергетики, без сумніву дасть користь.
Середньорічний потенціал
сонячної енергії в Україну (1235 кВт * год / м) є досить високим і набагато
вищий, ніж, наприклад, у Німеччині - 1000 кВт * год / м або навіть у Польщі -
1080 кВт * год / м. Отже, ми маємо гарні можливості для ефективного
використання теплоенергетичного обладнання на території Україні. Термін
«ефективне використання» означає, що геліоустановка може працювати з віддачею в
50% і більше, а це 9 місяців в південних областях України (з березня по листопад),
і 7 місяців - в північних областях (з квітня по жовтень). Взимку ефективність
роботи падає, але не зникає.
Отже, і в умовах нашого
клімату сонячні системи працюють круглий рік, правда тільки зі змінною
ефективністю. Тому варто розглянути сумарний річний потенціал сонячної енергії
на території Україні.
Щодо використання
сонячної радіації для виробництва енергії, то технічно допустимий потенціал
сонячної енергії з дахів житлового фонду України сьогодні становить 26-37 ТВт •
год / рік, що в грошовому еквіваленті складає (при сучасній вартості 1 кВт •
год = 0,05 євро): 1,3 - 1,8 млрд. євро на рік.
Основним інженерним
елементом сонячної системи є сонячні колектори, що перетворюють енергію
сонячних променів в теплову або електричну.
Потужність таких сонячних
батарей становить 70-100 Вт для 1м² поверхні
колектора. Електроенергія, отримана таким чином, поки досить дорога, але
використання фотоелектричних колекторів дозволяє енергозабезпечення будівлі.
Якщо врахувати, що ціна
сонячного колектора 7000 - 13 000 грн., вартість геліосистеми (в умовах
території Україні) становить від 10 до 18 грн. за один розігрітий літр води в
день, то, якщо отримувати 100 літрів гарячої води на день, сонячна система
обходиться в 1000-1800 грн.
Для забезпечення теплою
водою сім'ї із трьох-чотирьох осіб достатньо буде встановити два-три сонячні
теплові колектори. Термін окупності установки - приблизно 7-8 років з
урахуванням сучасних цін на енергоносії. А термін експлуатації-30-50_років.
Реалізовані в останні
роки експериментальні проекти показали, що річне виробництво теплової енергії в
умовах України становить 500 - 600 кВт * год/м². Враховуючи загальноприйнятий на Заході потенціал
використання сонячних колекторів для розвинених країн, що дорівнює 1 м² на одну людину, а також ККД сонячних установок для умов
України, щорічні ресурси сонячного гарячого водопостачання та опалення можуть
становити 28 кВт * год/м² теплової
енергії. Реалізація цього потенціалу дозволила б заощадити 3,4 млн. т умовного
палива (т.ум. т.) на рік. Отже, перевагами сонячних установок є:
) Ефективне використання
як прямого, так і розсіяного сонячного випромінювання; можливість створення
установок практично будь-якої потужності;
) Досить великий термін
служби установок (до 50 років); початкові витрати на СУ (сонячні установки)
значно менші, ніж приєднання віддаленого населеного пункту до системи
теплопостачання або електропостачання, а експлуатаційні витрати з урахуванням
терміну служби виявляються нижчими, ніж у дизельних електростанцій;
) Матеріали сонячних
установок виконують функцію вишуканого будівельного матеріалу, що поліпшують
архітектуру будівель, що забезпечують їх водозахист, звукоізоляцію й
теплозахист;
) Застосування СУ не має
негативного впливу на навколишнє середовище. Екологічні проблеми можуть
виникнути при складанні фотоелектричних елементів; виробництві або якщо
користувач неправильно утилізує використану продукцію.
Враховуючи вищенаведені
факти можна говорити про доцільність використання сонячного потенціалу, який
припадає на територію Україну. Середньорічна кількість сумарної сонячної
радіації, що надходить на 1м² поверхні на
території Україні, знаходиться в межах: від 1070 кВт * год./м² в північній частині України до 1400 кВт * год./м² і вище в АР Крим.
Отже, враховуючи все
вищезгадане, можна зробити деякі висновки:
. В Україні найбільш
перспективними є такі напрями використання сонячної енергії:
• безпосереднє її
перетворення в низькопотенційну теплову енергію без попередньої концентрації
потоку сонячної радіації (для гарячого водопостачання об'єктів,
комунально-побутового та технологічного теплопостачання, потреб сільського
господарства) з коефіцієнтом корисної дії (ККД) 45-60%, а в разі застосування
концентраторів-80-85%;
• безпосереднє її
перетворення в електричну енергію постійного струму за допомогою
фотоперетворювачів (фотомодулів) в середньому з ККД 10-15%, хоча існують
перспективні розробки з ККД близько 30%.
. Оптимально підібране
устаткування зменшує річне використання енергії для підігріву води на 50-60% і
енергії з мережі на 50-70%. У період з квітня по вересень правильно встановлена
система покриває 95% витрат тепла та енергії.
Рис. 1.1.
Сонячноенергетичні ресурси України (липень)
Рис. 1.2.
Сонячноенергетичні ресурси України (жовтень)
Рис. 1.3.
Соняноенергетичні ресурси України (cічень, квітень)
1.2 Конструкції сонячних
колекторів
Сонячні колектори призначені для перетворення
сонячної енергії у теплову для підігріву води на побутові потреби та підтримки
системи опалення. Завдяки конструктивним удосконаленням та високому коефіцієнту
абсорбції (95%) сонячні колектори ефективно працюють майже 9 місяців на рік.
Скло колекторів ударостійке, та гарантує механічну стійкість до атмосферних
опадів (граду), чи попадання твердих предметів. Використання незамерзаючої
рідини (розчину гліколю) забезпечує роботу колекторів за низьких температур
повітря - до -30°С. Системи сонячного теплопостачання, якщо вони правильно
розраховані та якісно змонтовані, вважаються одними із найбільш надійних та
довговічних.
Рис. 1.4. Сонячний колектор
Основні види сонячних нагрівачів води - колектори
плоскі та трубчасті вакуумні, термосифонні геліосистеми. Плоскі колектори широко
використовуються в усьому світі, вони дещо дешевші за вакуумні трубчасті
колектори. Трубчасті вакуумні колектори - дорожчі та більш продуктивніші, ніж
плоскі колектори, і використовуються у Європі вже впродовж кількох десятків
років. Вакуумні колектори встановлюють у випадках, коли потрібна висока
температура, або для комплексних систем для нагріву води і опалення приміщень.
Сьогодні в Україні встановлюють і трубчасті вакуумні колектори, вони мають
трохи вищий ККД і нижчий рівень тепловтрат, і плоскі колектори. Термосифонні
геліосистеми використовують в основному для сезонного використання - з весни по
осінь. Але існують вже конструктивні модифікації термосифонних систем для
використання на протязі всього року, але в умовах відсутності великих морозів.
Плоский колектор - це добре теплоізольована
засклена панель, у якій розміщена пластина поглинача сонячного тепла, і
встановлені трубки з циркулюючою рідиною, яка відводить отримане тепло.
Рис. 1.5. Плоский сонячний колектор
Така пластина має спеціальне високоселективне
покриття, що добре поглинає сонячну енергію. Нижня площина та бокові стінки
колектора вкриті теплоізолюючим матеріалом. Але незважаючи на це, теплові
втрати плоских колекторів із заскленого боку досить значні, особливо в зимову
пору року при значній різниці температур теплоносія в колекторі та зовнішнього
повітря. Треба звернути увагу на можливість блокування частини малих трубок у
плоских колекторах кристалами нерозчинних солей, що створює додаткові «незручності»
при експлуатації. Це знижує продуктивність колектора, та ускладнює процес
обслуговування - промивання великої кількості малих паралельних трубок є
проблематичним. При чому монтаж плоского колектора треба проводити з
дотриманням певних правил - колектор достатньо важкий, він має встановлюватися
на площину без перекосів. В інакшому випадку це істотно впливає на
герметичність і скорочує термін експлуатації.
Конструкції вакуумного трубчастого колектора
мають різні модифікації але в принципі схожі на будову термоса: одна скляна
трубка знаходиться в іншій, більшого діаметра, а між ними - вакуум, самий
кращий теплоізолятор.
Рис. 1.6. Вакуумний трубчастий сонячний колектор
Завдяки цьому втрати на теплові випромінювання при
підвищенні температури робочої рідини дуже низькі. В кожній внутрішній трубці
вбудована мідна пластина поглинача з геліотитановим покриттям, це гарантує
високий рівень поглинання сонячної енергії й дуже малу емісію теплового
випромінювання. Всередині встановлена теплова труба, заповнена спеціальною
рідиною, яка випаровується при нагріванні. Через з’єднувальні елементи «сухого»
типу теплова труба приєднана до конденсатора у теплообміннику типу «труба в
трубі». Це дає змогу міняти вакуумні трубки. Завдяки такій конструкції вакуумні
колектори з тепловою трубкою можуть працювати за температур до -35 °С.
Вакуумний колектор із дванадцятишаровим селективним покриттям, яке поглинає
сонячне випромінювання і теплоізольоване вакуумом, затримує 98% сонячної
енергії. В вакуумному колекторі повністю відсутні втрати по теплопровідності
або конвекції. Оскільки повний коефіцієнт втрат у вакуумному колекторі низький,
- менше 2%, то теплоносій у ньому може нагріватися до температури+250°С.
Таке селективне дванадцятишарове покриття у
вакуумних трубок забезпечує максимальне поглинання енергії, завдяки чому
колектори працюють також у несонячну погоду. Крім того, вакуумні колектори
мають незаперечні переваги. Завдяки циліндричній формі трубок сонячні промені
впродовж дня падають на однакову за площею поверхню - це як плоский колектор,
що повертається за сонцем.
Це дає змогу колекторам працювати стабільно з
максимальною потужністю протягом дня. Кругла форма елементів колекторів не
накопичує бруду, стійка до атмосферного впливу. Максимальна робоча температура
системи може бути керована завдяки фізичним властивостям рідини у тепловій
трубці та спеціальній конструкції накопичувача. Відтак, зникає потреба у
складних системах контролю й забезпечується проста та безпечна експлуатація. Термосифонні
геліосистеми використовуються для компенсації сезонних теплових навантажень -
роботи в теплі місяці року, для приготування гарячої води на обігрів води у
відкритих басейнах, літніх пансіонатах та будинках відпочинку та ін.
Рис. 1.7. Термосифонна геліосистема
Дана установка встановлюється на будь-який
освітлений сонцем майданчик в південному напрямку, підключається до звичайної
системою трубопроводів (як звичайний електричний бойлер). Застосування
вакуумних труб з багатошаровим покриттям і тепловою трубкою більш ефективно
забезпечує передачу тепла воді від сонця і забезпечить безперервність роботи
пристрою навіть при виході з ладу кількох вакуумних труб.
Сучасні побутові сонячні колектори здатні
нагрівати воду до температури кипіння навіть при негативній навколишній
температурі.
За допомогою сонячних колекторів можна
підігрівати воду для миття посуду, приймання душу, ванни, догрівати воду
басейну. Зараз колектори почали широко застосовувати в ресторанах, готелях, де
вода використовується досить швидкими темпами і у великих об’ємах. Окрім
підігріву води, в зимовий період, можна використовувати сонячні колектори і для
опалення приміщення. Але для того щоб опалювати було ефективно, сонячні колектори
потрібно використовувати в парі з котлами (твердопаливними, газовими,
електричними) і акумуляційними ємкостями. В цьому випадку сонячні колектори
працюють цілорічно в автоматичному режимі паралельно зі звичайними
опалювальними приладами. Для найбільш ефективного підбору треба зробити
попередній аналіз, щоб мінімізувати витрати. В першу чергу сонячні колектори
потрібні для того, щоб економити гроші. Так, звичайно вони є не дешеві. Але
заплативши один раз, і враховуючи те, що середній термін експлуатації на
сонячні колектори становить до 30 років, то вже через 3-5 років ця система
окупиться повністю, навіть тоді якщо встановити сонячні колектори лише для
підігріву води. Така система зекономить до 50-60% енергії, що необхідна для
опалення та гарячого водопостачання будинку. Сонячні колектори встановлюються
під кутом, який дорівнює куту широти місцевості, на південній стороні. Можливий
монтаж прямо на дах. Враховується і кут повороту колектора в напрямку
орієнтації на південь.
Існує багато схем по впровадженню сонячних
систем, як окремо функціонуючих, так і таких які приєднуються до існуючої
системи гарячого водопостачання та опалення. В кожному конкретному випадку
необхідно провести аналіз існуючої системи та отримати консультації
спеціалістів.
Велику кількість світових виробників сонячних
колекторів незручно перераховувати у вигляді списку, тому для більшої зручності
їх слід представити в іллюстраційному вигляді:
1.3 Параметри і характеристики сонячного
колектора
Для розкриття можливостей
сонячних колекторів і шляхів їх удосконалення доцільно розглянути рівняння
балансу енергії для стаціонарних умов, яке визначає теплопродуктивність
колектора Q до в розрахунку на одиницю площі тепло
сприймаючої поверхні як різниця поглиненого сонячного випромінювання і теплових
втрат у навколишнє середовище:
(1.1)
де H ' - поверхнева щільність потоку
сумарної (прямої і дифузної) сонячної радіації в площині колектора;' -
коефіцієнт ефективності;
at -
оптичний к.к.д., практично рівний добутку пропускної здатності прозорої
ізоляції t на поглинену здатність a поглинаючої
панелі в сонячному спектрі;- загальний коефіцієнт теплопередачі від колектора в
зовнішнє середовище (повний коефіцієнт теплових втрат);
Т ж - середня
температура теплоносія у колекторі;
Т 0 -
температура зовнішнього повітря.
Коефіцієнт ефективності F ' характеризує
ступінь нерівномірності температурного поля в поперечному перерізі панелі або,
іншими словами, ефективність переносу поглиненого випромінювання до потоку
теплоносія в трубах. Він залежить безпосередньо від конструкції панелі.
Максимальне його значення, рівне 1, досягається в тому разі, коли
теплопровідність матеріалу листової частини панелі l®¥, термічний опір
контакту між листом и трубою Rк®0 і коефіцієнт
теплопередачі від стінки труби до теплоносія k®¥.
Поглинаюча здатність
колектора (оптичний к.к.д.) (a t) визначається
властивостями матеріалів прозорого покриття і поглинаючої поверхні і кутом
падіння сонячного випромінювання на площину колектора. При проектуванні
колектора для забезпечення його максимальної теплопровідності необхідно у
відповідності з рівнянням (1.1) реалізувати по можливості великі значення F ' і
(a t) і звести до мінімуму теплові втрати. У
добре спроектованому колекторі коефіцієнт F становить 0,92… 0,99; максимальне
значення (a t) дорівнює 1. (Проте в
більшості практичних випадків оптичний к.к.д. (a t) при одинарному
склінні не перевищує 0,8.) Коефіцієнт теплопередачі U залежить від швидкості
вітру, кількості прозорих покриттів, відстаней між ними, а також між внутрішнім
склом і панеллю, від умов в повітряному проміжку колектора, ступеня чорноти
поглинаючої панелі в довгохвильовій частині спектру. За відсутності прозорої
ізоляції швидкість вітру є визначальним чинником втрат. Однак наявність навіть
одного покриття суттєво послаблює вищезгадану залежність. Вакууміювання зазору
призводить до різкого скорочення конвективних втрат, а нанесення на поверхню
панелі покриттів, що мають низький ступінь чорноти в довгохвильовій частині
спектру, істотно зменшує втрати випромінюванням.
Корисною характеристикою
колектора є максимальна (рівноважна) температура Т ¥, до якої
нагрівається поглинаюча панель, якщо від колектора не відводять теплоти. Це -
випадок, коли все поглинене сонячне випромінювання переходить в теплові втрати.
Якщо в рівнянні (1.1) прийняти
к = 0 і T ж
= Т ¥, то
. (1.2)
Згідно (1.2) при H'=750
Вт/м² и Т0=20 °с, (at)=0,8 и U = 7,5
Вт/(м²×°С) (типове
значення для колектора з одинарним склінням і панеллю, пофарбованої звичайною
чорною фарбою) значення Т¥ складає 100 °С.
С урахуванням (1.2)
рівняння (1.1) можна переписати у вигляді:
. (1.3)
Важливою характеристикою
колектора є його к.к.д., який визначається як відношення теплопродуктивності
до падаючого потоку сонячної радіації. Згідно (1.1)

. (1.4)
, (1.5)
где G - питомі (на
одиницю площі теплосприймаючої поверхні колектора) витрати теплоносія через
колектор; сР - питома теплоємність теплоносія.
Коефіцієнт F R
враховує нерівномірність розподілу температури поглинаючої поверхні і пов'язане
з цим збільшення теплових втрат у порівнянні з втратами теплоти за умови, що
температура поверхні дорівнює Т вх. Таким чином, коефіцієнт
відведення теплоти F R дорівнює відношенню фактично отриманої
корисної енергії до тієї енергії, яку можна отримати в разі, коли температура
поглинаючої поверхні дорівнює Т вх. Коефіцієнт F R залежить
від конструкції колектора і витрати теплоносія, але мало залежить від щільності
потоку сонячної радіації і температур поглинаючої поверхні і навколишнього
середовища.
Якщо в рівнянні (1.1)
замінити середню температуру теплоносія на його температуру на вході в
колектор, то F ' в цьому рівнянні слід замінити на F R:
. (1.6)
З урахуванням (1.6) вираз
для к.к.д. можна представити в наступному вигляді:
(1.7)
Результати випробувань установок та розрахунків к.к.д.
зручно представити у вигляді залежності h до від
параметра
. Для деяких типів колекторів залежність
(1.7) показана на рис. Кутовий коефіцієнт кривих дорівнює F R U,
а точки їх перетину з вертикальною віссю відповідають F R (a t).
○, Δ - вакуумований колектор; - колектор з подвійним склінням і
селективним покриттям поглинаючої поверхні; ● - колектор з подвійним
склінням; Å
- колектор з тепловою трубою; + - колектор з одинарним склінням
За умови U=соnst залежність hк от
лінійна. Насправді це не так; оскільки значення к.к.д. залежить
від швидкості вітру і в другому ступені від температури поглинаючого елемента.
Однак у більшості практичних випадків цієї нелінійністю можна знехтувати без
істотного зниження точності розрахунків. Результати випробувань досить добре
описуються залежністю (1.7). Нахил і положення кривих на рис. 1.12 залежать від
числа прозорого покриття, конструкції колектора, області застосування
установки.
Величиною, що
характеризує теплотехнічну досконалість сонячного колектора при порівнянні
різних конструкцій, може бути наведений коефіцієнт теплових втрат:
. (1.8)
Величина U являє собою міру якості виробленої сонячним
колектором енергії, тобто рівень температури теплоносія, що нагрівається; (
) - міру кількості енергії, одержуваної
від колектора. Чим менше U 0, тим вище теплова потужність колектора.
Однак зменшення U0 практично завжди пов'язане зі збільшенням
вартості колектора.
В описі різних сонячних колекторів виробники
часто відносять потужність, продуктивність, і інші технічні дані до певної
площі сонячного колектора. Це дуже важливий момент для аналізу всієї
геліосистеми, оскільки дозволяє правильно охарактеризувати той чи інший
сонячний колектор і дозволяє коректно порівнювати показники. Найчастіше в
літературі і технічному описі продукту, виробником не завжди точно вказується
яка ж площа є зважаючи для деяких даних.
Далі описується кожна площа сонячного колектора,
це допоможе розібратися в багатьох параметрах і дозволить більш коректно
порівнювати дані різних колекторів.
Загальна площа (площа брутто). Дана площа
характеризує габаритні розміри сонячного колектора і дорівнює добутку його
ширини і довжини. Цей параметр дає інформацію, яку конкретно площу займає
сонячний колектор на даху або іншому планованому місці установки сонячних колекторів.
Рідко до цієї площі наводяться розрахункові значення продуктивності колектора.
Площа абсорбера. Ця площа розраховується
як добуток ширини і довжини абсорбера. Для вакуумних трубчастих колекторів з
круглим абсорбером, враховується вся площа циліндра вакуумної трубки,
незважаючи на те, що задня частина абсорбера може й зовсім не піддаватися
впливу сонячного світла. Тому площа абсорбера в таких колекторах може
перевищувати значення загальної площі сонячного колектора. У деяких пір'яних
абсорберах окремі «пір'я» можуть перекривати сусідні, в такому випадку зона
перекриття пластин не враховується.
Апертурна площа. Площа апертури це площа з
максимальною проекцією, на яку падає сонячне випромінювання. У плоских сонячних
колекторах апертурною площею є проекція видимої зони (через скління) передньої
частини колектора. Іншими словами площа всередині рами колектора, через яку
падає сонячне світло. У плоскому колекторі ця площа може бути менше або
дорівнює площі абсорбера. У вакуумних трубчастих колекторах з плоским або
круглим абсорбером без рефлектора (що відображає покриття) ця площа дорівнює
сумі площ проекцій окремих трубок, в якій довжина, це довжина незакритих
частини трубки, а ширина це внутрішній діаметр скляної колби (у колекторах типу
heat pipe зовнішній діаметр внутрішньої трубки колби). У колекторах з
рефлектором площа апертури дорівнює площі проекції рефлектора. У разі якщо
площа рефлектора не під всім колектором, то додається по вищеописаному принципу
апертурна площа частини трубок за рефлекторною поверхнею.
Більшість параметрів і розрахунків сонячних
колекторів відносять до апертурної площі. Це дозволяє коректно порівнювати
різні колектори, приводячи ці значення до одних одиниць площі, наприклад 1 м ². Тому дуже важливо розрізняти ці параметри.
1.4 Висновки і постановка
задачі дослідження
У розділі «Огляд
літератури» розглянуто нинішній стан сонячної енергетики в Україні та її
перспективи. На основі отриманої інформації маємо висновок, що в Україні
найбільш перспективними є такі напрями використання сонячної енергії:
• безпосереднє її
перетворення в низькопотенційну теплову енергію без попередньої концентрації
потоку сонячної радіації (для гарячого водопостачання об'єктів,
комунально-побутового та технологічного теплопостачання, потреб сільського господарства)
з коефіцієнтом корисної дії (ККД) 45-60%, а в разі застосування
концентраторів-80-85%;
• безпосереднє її
перетворення в електричну енергію постійного струму за допомогою
фотоперетворювачів (фотомодулів) в середньому з ККД 10-15%, хоча існують перспективні
розробки з ККД близько 30%.
Оптимально підібране
устаткування зменшує річне використання енергії для підігріву води на 50-60% і
енергії з мережі на 50-70%. У період з квітня по вересень правильно встановлена
система покриває 95% витрат тепла та енергії.
Наведено конструкції
сонячних колекторів та карти їх світових виробників, що є зручним посібником
для типового користувача сонячного колектора.
Перераховано
характеристики та параметри сонячного колектора з урахуванням усіх аспектів
вибору досліджуваних площ та їх габаритних розмірів.
Беручи до уваги усе
вищеназване, формуємо основну задачу дослідження:
Найбільш поширена конструкція сонячного
теплоприймача - геліоколектора, який має визначення «плоского». Він складається
з таких елементів (рис. 2.1):
• прямокутний корпус з теплоізольованими
стінками;
• прозоре покриття корпусу з одного або декількох
шарів;
• теплопоглинаюча поверхня;
• система тепловідведення з теплоносієм.
В обраному для розрахунку колекторі
теплопоглинаюча поверхня - адсорбер виконується з цільної пластини, до якої
знизу приварені трубки діаметром 14/16 мм. Товщина пластини 5 мм, матеріал -
алюміній, крок трубок 150 мм. Трубки кінцями об'єднані за допомогою колекторів
- вхідного і вихідного. Колектори з'єднуються із зовнішньою мережею
водопостачання вхідним і вихідним штуцерами.
Для забезпечення найліпших умов поглинання
енергії сонячним колектором його поглинальна поверхня мас бути орієнтована на
екватор з нахилом, що дорівнює широті місцевості: β = φ - при цілорічному використанні; для зимового
періоду β = φ + 15°; для роботи влітку
β = φ - 15о.
Визначити:
• інтенсивність сонячної радіації, що надходить
на площину сонячного колектора;
• коефіцієнт теплопередачі щодо втрат тепла
сонячним колектором;
• тепловий потік, що отримує робоча рідина
сонячного колектора;
• коефіцієнт корисної дії колектора у динаміці
(графік зміни ККД протягом доби) та середньодобовий ККД.
2. Методика розрахунку характеристик сонячного
колектора
Алгоритм розрахунку
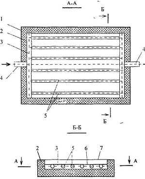
. Типова схема плоского сонячного колектора
Рис. 2.1. Плоский сонячний колектор
- корпус;
- теплова ізоляція;
- колектор;
- патрубок;
- трубки адсорбера;
- поглинаюча пластина;
- прозоре покриття.
. Розраховуємо зовнішні умови експлуатації
сонячного колектора:
Середньодобова сонячна радіація
(2.1)
де
φ - географічна широта місцевості;
п - порядковий день року.
Тут аргумент функції косинуса обчислюється у радіанах.
Схилення Сонця
(2.2)
Тут аргумент функції синуса обчислюється у градусах.
Тривалість дня
(2.3)
Максимальна густина потоку сонячної радіації на
горизонтальну поверхню
електроенергія колектор сонячний відновлюваний
(2.4)
Час сходу Сонця
(2.5)
(2.6)
Густина потоку сонячної радіації на горизонтальну поверхню
за годину
(2.7)
Температура навколишнього середовища
(2.8)
Тут аргумент функції синуса обчислюється у радіанах.
. Обчислюємо коефіцієнт відведення тепла від сонячного
колектора:
Температура поглинальної пластини попередньо:
, (2.9)
де ТТ1 - температура теплоносія на вході
до колектора, °С.
Далі температура Тпл уточнюється (підрозділ
3.5).
Коефіцієнт конвективної тепловіддачі від поверхні
зовнішнього скла до навколишнього середовища
(2.10)
де v - швидкість вітру, можна прийняти v = 5
м/с.
Коефіцієнт теплопередачі для втрат тепла через верхню поверхню
сонячного колектора, Вт/(м²К)
(2.11)
де z - кількість прозорих покрить;
f - функція, яка визначається з наступного
виразу
(2.12)
εпл - ступінь чорноти пластини;
εс - ступінь чорноти прозорого покриття;
σ0 - стала Стефана-2 ольцмана, σ0 = 5,67×10-8 Вт/(м²×К4).
Коефіцієнт теплопередачі для втрат тепла через верхню
поверхню сонячного колектора з урахуванням його нахилу
. (2.13)
Коефіцієнт теплопередачі через нижню поверхню сонячного
колектора
(2.14)
де
,
- відповідно теплопровідність та товщина шару теплової ізоляції
нижньої поверхні.
Коефіцієнт теплопередачі через бокову поверхню сонячного
колектора
(2.15)
де λ/із,
δ/із - відповідно теплопровідність та товщина
шару теплової ізоляції бокової поверхні сонячного колектора.
Повний коефіцієнт теплопередачі через стінки сонячного
колектора
. (2.16)
. Знаходимо коефіцієнт ефективності сонячного колектора:
Співвідношення коефіцієнта теплопередачі до
теплопровідності ребра (поглинальної пластини)
(2.17)
де λр - теплопровідність ребра;
δр - товщина ребра.
Ефективність ребра
(2.18)
де s - крок розміщення труб, м;
d - зовнішній діаметр труби, м.
Ефективність колектора
(2.19)
де λшв - теплопровідність зварювального шва,
Вт/(м×К);
αр1 - коефіцієнт тепловіддачі від стінки труби
до рідини, Вт/(м²×К);
di - внутрішній діаметр труби, м.
Коефіцієнт тепловіддачі від стінки труби до рідини визначається
з критеріальних рівнянь вигляду
для ламінарною режиму течії рідини при Rе > 10.
(2.20)
де l - довжина трубки, м;
для турбулентного режиму течії рідини при Rе > 1·104
(2.21)
Індекси «р» і «с» вказують, що фізичні
властивості вибирають за температурою рідини і стінки відповідно. Значення цих
температур приймаються попередньо з наступним уточненням (підрозділ 3.5).
Питома витрата рідини на одиницю площі сонячного колектора
(2.22)
де G - масова витрата рідини, кг/с.
Коефіцієнт відведення тепла від колектора FR,
який є відношенням фактичної корисної енергії до корисної енергії при умові, що
температура всієї поглинальної пластини дорівнює температурі рідини на вході у
сонячний колектор
(2.23)
де ср - теплоємність рідини (теплоносія),
Дж/(кг×К).
Наведена поглинальна здатність сонячного колектора
(2.24)
де τ - пропускна здатність системи
прозорих покрить;
α - спрямована поглинальна
здатність адсорбуючої поверхні колектора;
ρd - дифузна відбиваюча здатність, для
скляного покриття вона приймає значення: 0,16, 0,24, 0,29, 0,32 відповідно для
одного, двох, трьох та чотирьох шарів.
Відношення потоку прямої сонячної радіації, що надходить по
нормалі на нахилену поверхню, до потоку радіації, яка надходить на
горизонтальну поверхню
(2.25)
де ω - годинний кут.
(2.26)
тут t - поточна година.
Величина R визначається для кожної години окремо, за
її допомогою виконуються перерахунки густини потоку випромінювання, що
надходить на горизонтальну поверхню, на густину потоку, що надходить на нахилену
поверхню сонячного колектора - НгR, Вт/м².
. Знаходимо показники сонячних колекторів:
Теплові втрати колектора у навколишнє середовище, які
приведені до 1м²
його площі
(2.27)
Корисне тепло, що передасться робочому тілу і яке віднесено
до 1м²
площі адсорбера
(2.28)
Коефіцієнт корисної дії (ККД) сонячного колектора за
поточну годину
(2.29)
ККД сонячного колектора за добу визначають після завершення
всіх обчислювань для кожної години
(2.30)
. Виконуємо уточнення температури поглинальної пластини.
Алгоритм процедури уточнення такий:
• середня температура рідини
; (2.31)
• середня температура поглинальної пластини
(2.32)
де b - ширина активної частини пластини, м.
Якщо знайдене значення Тпл відрізняється
від попередньо прийнятого більше ніж на 3%, розрахунок за пунктами 3, 4, 5
повторюється. Визначення температури пластини виконується тільки для умов, що
стосуються середини світового дня.
Температура стінки трубки може бути прийнята такою:
(2.33)
Висновок
За допомогою методики розраховано усі зовнішні
умови роботи колектора, визначено його характеристики: коефіцієнт відведення
тепла від колектора, оптичний ккд, коефіцієнт теплових втрат, а також
ефективність ребра, ефективність колектора, поглинальна здатність, ккд
колектора за поточну годину та за добу. Деякі характеристики, що змінюються на
протязі дня, показані у Додатку Б. Також враховано похибку розрахунків, що
знаходиться в допустимих межах.
Визначення характеристик сонячного колектора було
проведено за допомогою зручної методики, що дозволяє отримати точні результати
в досить громіздких формулах. Математичні операції, проведені в курсовій
роботі, безпосередньо зв’язані з теоретичним матеріалом, поданим у РОЗДІЛІ 1.
Цей розділ враховує інформацію про нинішній стан та перспективи розвитку
сонячної енергетики в Україні, зокрема сонячних колекторів. Розглянуто
конструкції сонячних колекторів, їх функціональні переваги та недоліки. Також
розділ включає в себе зручні карти світових виробників сонячних колекторів по
кожному з типів. Це надає змогу повністю оцінити нинішній стан виробництва сонячних
колекторів у світі та Європі.
Розрахункова частина курсової роботи включає в
себе перелік математичних формул з безпосередньо отриманими цифрами під час
розрахунку. Усі табличні дані, що використовували під час виконаної роботи,
надані у Додатку А, В.
В кінцевому вигляді визначено:
• інтенсивність сонячної радіації, що надходить
на площину сонячного колектора;
• коефіцієнт теплопередачі щодо втрат тепла
сонячним колектором;
• тепловий потік, що отримує робоча рідина
сонячного колектора;
• коефіцієнт корисної дії колектора у динаміці
(графік зміни ККД протягом доби) та середньодобовий ККД.
На основі отриманих даних та проведеного
розрахунку характеристик сонячного колектора зроблено висновок, що мета
курсової роботи повністю досягнута.
Список літератури
1. Твайделл Дж., Уэйр А. Возобновляемые
источники энергии. - М: Энергоатомиздат, 1990. - 392 с.
2. Бекман У., Клейн С., Даффи Дж. Расчет
систем солнечного теплоснабжения. - М: Энергоиздат, 1982. - 80 с.
. Валов М.И., Казанджан Б.И. Системы
солнечного теплоснабжения: Монография - М: Изд-во МЭИ, 1991. - 140 с.
. Харченко Н.В. Индивидуальные солнечные
установки. - М: Энергоатомиздат, 1991. - 208 с.
. Даффи Дж., Бекман У. Тепловые процессы с
использованием солнечной энергии. - М: Наука, 1977.
. Системы солнечного тепло- и
хладоснабжения / Р.Р. Авезов, М.А. Барский-Зорин, И.М. Васильева, Н.Н. Лантух,
Н.В. Меладзе, В.Н. Минчук, Б.И. Нацвилишвили, А.Ю. Орлов, М.Д. Рабинович, Э.В.
Сарнацкий, С.И. Смирнов, А.Р. Ферт, С.А. Чистович / Под ред. Э.В. Сарнацкого и
С.А. Чистовича. - М.: Стройиздат, 1990. - 328 с.
. Теплотехника / Под ред. В.Н. Луканина. -
М.: Высшая школа, 2003. - 715 с.
8. Методичні вказівки до виконання курсової
роботи з дисципліни «Екологічно чисті джерела енергії» для студентів фаху
6.0905 / Укл.: В.В. Височин, В.Р. Нікульшин. - Одеса: Наука і техніка, 2004. 16
с.
9. Rumyantsev V.D., Chosta J.I. et al.
Terrestrial and Space Concentrator PV Modules with Composite (Glass-Silicone)
Fresnel Lenses // 29th IEEE Photovoltaic Spec. Conference. 2002.
. Bett A.W., Burger B. et al. High-concentration
PV Using IIIV Solar Cells // 4th World Conference on Photovoltaic Energy
Conversion. 2006.
. Araki K., Uozumi H., Kondo M. et al.
Development of a New 550x Concentrator Module with 3J Cells, Performace and
Reliability // 31th IEEE Photovolt. Spec. Conf. 2005.
. SEGS Plant Design and Operation // LUZ
Development and Finance Corporation. 1989.
. Concentrated Solar Thermal Power - Now! //
SolarPACES. September 2005.
. Васильев В.А. Расчетные технико-экономические
характеристики солнечных комбинированных фототермодинамических энергоустановок/
В.А. Васильев, Б.В. Тарнижевский // Известия РА Н. Энергетика. 2005. №3. С.
28-34.
. Тарнижевский Б.В. Оценка эффективности
применения солнечного теплоснабжения в России // Теплоэнергетика. 1996. №5. С.
36-40.
. Казанджан Б.И. Современные системы солнечного
теплоснабжения // Энергия. 2005. №12. С. 39-43.
. Дударев Н.В. Солнечные системы теплоснабжения /
Н.В. Дударев, В.А. Шершнев // Строительная инженерия. 2006. №1. С. 47-52.
. Бутузов В.А. Анализ энергетических и
экономических показателей гелиоустановок горячего водоснабжения // Промышленная
энергетика. 2001. №10. С. 18-22.
. Сравнительный анализ показателей конструкций
солнечных коллекторов зарубежного и отечественного производства. Новые
технические решения / О.С. Попель и др. // Теплоэнергетика. №3. С. 11-15.