Расчёт секционной печи для нагрева труб
Национальный Исследовательский
Технологический Университет
МИСиС
Кафедра ТЭМП
Курсовая работа по курсу:
"Теплотехника"
Тема:
"Расчёт секционной печи для
нагрева труб"
выполнила студентка
группы Т6-09-2
Мелентьева Л.
Москва 2012
Содержание
1. Описание секционной печи
1.1 Общие характеристики секционных печей
1.2 Особенности теплопередачи
1.3 Особенности расчета нагрева металла
2. Расчёты
2.1 Расчёт теплообмена в рабочем пространстве печи
2.2 Расчёт нагрева труб в секции
2.3 Расчёт горения топлива
2.4 Тепловой баланс печи
2.5 Результаты расчета теплового баланса
2.6 Основные размеры и параметры печи
2.7Выбор типа и мощности горелок
Вывод
1.
Описание секционной печи
1.1 Общие
характеристики секционных печей
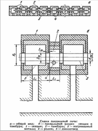
Секционные печи скоростного нагрева
применяют для нагрева больших партий однородного сортамента трубной заготовки и
труб диаметром до 200 мм и длиной не менее 2,5-3 м. Иногда в этих печах
нагревают квадратную заготовку небольших размеров.
Секционные печи (рис. 3.1) состоят из
установленных в одну линию отапливаемых камер. (секций) и расположенных между
ними неотапливаемых тамбуров, в которых находятся транспортирующие ролики.
Ролики косо расположены, что обеспечивает непрерывное вращение заготовки во
время нагрева. Заготовки можно перемещать в печи в один, два или три ряда
(ручья). Каждая секция имеет самостоятельное отопление и дымоотбор; несколько
секций объединяют в общую систему регулирования (зону). Длина секции 1,5 - 1,75
м, поперечные размеры на 0,4-0,6 м больше поперечных размеров нагреваемой
заготовки длина неотапливаемого тамбура 0,35-0,5 м.
1.2
Особенности теплопередачи
Ввиду небольшой длины температура
продуктов сгорания и кладки в каждой секции является примерно постоянной. В
целом по печи температура в первых по ходу металла секциях может повышаться от
секции к секции, ав последних перед выдачей секциях может быть несколько ниже.
Для осуществления скоростного нагрева в секционных печах поддерживают более
высокую разность температур между рабочим пространством печи и нагреваемой
заготовкой, чем в других печах. Нагрев происходит в основном излучением, однако
благодаря небольшому объему рабочего пространства продукты сгорания, вылетающие
из горелок, сохраняют высокие скорости. Кроме того, их направляют или прямо на
заготовку, или по касательной к ней, создавая вокруг нее вращающийся с высокой
скоростью поток газов. Поэтому конвекция в секционных печах играет существенную
роль и ее необходимо учитывать при расчете.
1.3
Особенности расчета нагрева металла
При расчете нагрева металла в секционной
печи каждая секция является расчетным участком. Температуру продуктов сгорания
и кладки в секции считают постоянной. Расстояние от нагреваемого металла до
кладки в секционных печах невелико, поэтому при расчете газовый слой в секциях
считают лучепрозрачным. Нагрев рассчитывают только излучением кладки. В
результате вращения заготовок во время транспортировки обеспечивается их
всесторонний нагрев. При всестороннем нагреве и небольшой толщине нагреваемых
заготовок они являются теплотехнически тонкими телами.
Таким образом, расчетная схема нагрева
заготовок в секционной печи - всесторонний нагрев тонкого тела при постоянной
температуре окружающей среды. Особенностью нагрева металла в секционных печах
является то, что между секциями он попадает в неотапливаемые тамбуры. Тепло
попадает в тамбур с горячим металлом, а также излучением из секции, а теряется
через ролик и стенки тамбура. В зависимости от соотношения поступающего и
теряемого тепла заготовка в тамбуре может нагреваться или остывать.
секционная печь тепловой баланс
2. Расчёты
2.1 Расчёт
теплообмена в рабочем пространстве печи
Площадь наружной поверхности трубы (на 1 метр длины):
Площадь внутренней поверхности кладки секции (на 1 метр
длины):
Угловой коэффициент излучения кладки на трубу:
Приведённый коэффициент излучения:

Вт/ (м2*К4)
где Cs=5,77 Вт/ (м2*К4) - приведённый
коэффициент излучения а. ч. т.; εм= εкл=0,8 - степени черноты металла и кладки
соответственно.
Приведённый коэффициент излучения с учётом конвекции:
2.2 Расчёт
нагрева труб в секции
Средняя температура трубы
Теплопроводность металла при средней температуре нагрева
равна: λм=45Вт/ (м*К). Средняя теплоёмкость металла в интервале температур
нагрева: Cср=0.561кДж/ (кг*К). Число Старка:
Расчёт коэффициента теплоотдачи излучением:
Средний коэффициент теплоотдачи излучением:
Коэффициент теплоотдачи излучением и конвекцией
Коэффициент теплоотдачи конвекцией принимаем равным 10 % от
коэффициента теплоотдачей излучением
Число Био
При нагреве тел одновременно конвекцией и излучением область
тонких тел определяется выражением:

, следовательно, нагреваемое тело является тонким в тепловом
отношении.
Коэффициент заполнения печи:
Масса одного метра трубы:
Продолжительность нагрева трубы в секции:
2.3 Расчёт
горения топлива
Состав исходного топлива (сухого газа):
Природный газ %
|
Компонент
|
СН4
|
C2H6
|
C3H8
|
C4H10
|
СО2
|
N2
|
Всего
|
|
%
|
83.5
|
4.3
|
0.8
|
1.6
|
0,2
|
9,6
|
100
|
Температура подогрева воздуха, оC: 389
Коэффициент расхода воздуха n=1,12
Принимаем влажность исходного топлива W=10 г/м3.
X
=X
,
X
X
=0,987
X
Состав влажного топлива:
|
Компонент
|
СН4
|
C2H6
|
C3H8
|
C4H10
|
СО2
|
N2
|
H2O
|
Всего
|
|
%
|
82.41
|
4.24
|
0.79
|
1.58
|
0,2
|
9,48
|
1.3
|
100
|
Расход кислорода на горение при коэффициенте расхода воздуха
n=1
0.01*
(2*82.41+3.5*4.24+5*0.79+6.5*1.58) =1.94 м3/м3
Расход сухого воздуха:
Объёмы компонентов продуктов сгорания:

=0.01*
(0.2+82.41+2*4.24+3*0.79+4*1.58) =1м3/м3

=0.01* (1.3+0.5*
(4*82.41+6*4.24+8*0.79+10*1.58)) =1.9м3/м3

=0.01*9.48+1.12*3.762*1.94=8.27м3/м3

= (1.12-1) *1.94=0.233м3/м3
Объём продуктов сгорания:

=1+1.9+8.27+0.233=11.4м3/м3
Процентный состав продуктов сгорания:
Низшая теплота сгорания топлива:
=127,7∙CO+108∙H2+358∙CH4+590∙C2H4+555∙C2H2+636∙C2H6+913∙C3H8+1185∙C4H10+1465∙C5H12+234∙H2S=358*82.41+636*4.24+913*0.79+1185*1.58=34629,34
кДж/м3=34,79МДж/м3
Калориметрическую температуру сгорания топлива определяем методом
последовательного приближения. Теоретически необходимое количество воздуха для
горения газообразного топлива:
Действительное количество воздуха на горение топлива:
Определяем физическое тепло, вносимое воздухом:
Калориметрическая энтальпия продуктов сгорания ik
равна:
Калориметрическая температура горения:

= (5186,81*1+4121,79*1,9+3131,96*8,27+3314,85*0,233) /11,4=3481,74
кДж/м3
Поскольку i2100>i0, то принимаем
температуру tk’’=2000°Cи снова находим энтальпию
продуктов сгорания
= (4910,51*1+3889,72*1,9+2970,25*8,27+3142,76*0,233) /11,4=3298
кДж/м3
Теперь определяем калориметрическую температуру горения:
Действительная температура продуктов сгорания:
Материальный баланс
|
Поступило
|
|
Мол. масса
|
|
м3
|
|
|
|
Кг
|
|
CH4
|
=
|
16
|
x
|
82.41
|
/
|
22.4
|
=
|
58.86
|
|
C2H6
|
=
|
30
|
x
|
4.24
|
/
|
22.4
|
=
|
5.68
|
|
C3H8
|
=
|
44
|
x
|
0.79
|
/
|
22.4
|
=
|
1.55
|
|
C4H10
|
=
|
58
|
x
|
1.58
|
/
|
22.4
|
=
|
4.09
|
|
C5H12
|
=
|
72
|
x
|
0
|
/
|
22.4
|
=
|
0
|
|
CO2
|
=
|
44
|
x
|
0.2
|
/
|
22.4
|
=
|
0.39
|
|
N2
|
=
|
x
|
9.48
|
/
|
22.4
|
=
|
11.85
|
|
H2O
|
=
|
18
|
x
|
1.3
|
/
|
22.4
|
=
|
1.04
|
|
Всего
|
|
|
|
100
|
|
|
|
83,46
|
|
Воздух
|
|
|
|
|
|
|
|
|
|
O2
|
=
|
32
|
x
|
194
|
/
|
22.4
|
=
|
277,14
|
|
N2
|
=
|
28
|
x
|
827
|
/
|
22.4
|
=
|
1033,75
|
|
Всего
|
|
|
|
1021
|
|
|
|
1310,89
|
|
Итого
|
|
|
|
1121
|
|
|
|
1394,35
|
|
Продукты
сгорания
|
|
|
|
|
|
|
|
|
|
CO2
|
=
|
44
|
x
|
100
|
/
|
22.4
|
=
|
196,43
|
|
H2O
|
=
|
18
|
x
|
190
|
/
|
22.4
|
=
|
152,68
|
|
O2
|
=
|
32
|
x
|
23.3
|
/
|
22.4
|
=
|
|
N2
|
=
|
28
|
x
|
827
|
/
|
22.4
|
=
|
1033,75
|
|
Всего
|
|
|
|
1121
|
|
|
|
1394,35
|
|
Невязка
|
|
|
|
0
|
|
|
|
0
|
2.4 Тепловой
баланс печи
Приход тепла
) Тепло, образующееся при сжигании топлива.
хим=B∙Qрн=34,79 ∙В
МВт
2) Физическое тепло, вносимое подогретым воздухом:
, где
Vв - расход воздуха на 1 м3 топлива iв=504,75
кДж/м3 - энтальпия воздуха при температуре 380 оC.
Так как у нас топливо не подогрето, то Qт=0.
Расход тепла
1) Расход тепла на нагрев труб
Смнач=0.476 кДж/ (кг*К) Смкон=0.691
кДж/ (кг*К) Cср=0.584
2) Потери тепла с уходящими продуктами сгорания
Определим температуру газов в зоне теплообмена:
При t=9300С
3) Потери тепла теплопроводностью через кладку Tкл=1100°С
Удельный тепловой поток через кладку:
λ’=0.25 Вт/ (м*К); α’=7+0.05*tнач=21.65 Вт/ (м2*К)
Поверхность кладки:
Потери тепла через кладку
4) Потери тепла излучением в соседние тамбуры
5)
Площадь полностью открытого проёма:
Площадь проёма, перекрытого трубой:
Коэффициент диафрагмирования для проёма
Для полностью открытого:

Следовательно, Ф1=0.58
Для перекрытого трубой:

Следовательно, Ф2=0.56
Угловой коэффициент излучения для проёма
Полностью открытого

Следовательно, В1=1
Для перекрытого трубой:

Следовательно, В2=1,2
6) Неучтённые потери
Уравнение теплового баланса 1 секции
34790B+5219.09B=206.67+16018.7B+9.39+0.25+21.63
2.5
Результаты расчета теплового баланса
Таблица 1. Приходная часть теплового баланса
кВт
|
%
|
|
Топливо от
горения топлива
|
347.9
|
86,96
|
|
Тепло от
подогретого воздуха
|
52.19
|
13,04
|
|
Итого
|
400,09
|
100
|
Таблица 2. Расходная часть теплового баланса
|
Статьи расхода
|
кВт
|
%
|
|
Тепло на нагрев
металла
|
206.67
|
51.91
|
|
Тепло, уносимое
продуктами сгорания
|
160, 19
|
40.24
|
|
Потери тепла
теплопроводностью через кладку
|
9.39
|
2.49
|
|
Потери тепла
излучением
|
0,25
|
0.06
|
|
Неучтенные
потери
|
21.63
|
5.43
|
|
Итого
|
398.13
|
100
|
Удельный расход тепла определяется по формуле:
,
где
- удельный расход тепла на нагрев 1 кг
металла, кДж/кг;
- приход тепла, кВт;
- производительность печи, кг/с.
Таким образом,
кДж/кг.
Коэффициент полезного действия печи:
ηкпд=Qпол/Qприх=206.67/400.09=0,5166 (51.66 %)
Коэффициент полезного действия рабочего пространства:
ηкпд=Qпол/ (Qхим+ Qфиз - Qух) =206.67/ (400.09-160.19) =0,8615 (86,15
%)
2.6 Основные
размеры и параметры печи
Количество секций N=1
Длина печи
Скорость перемещения заготовок
2.7Выбор типа
и мощности горелок
По расходу газа выбираем 5 скоростных горелок СВП-60
Таблица 3. Краткие характеристики горелки СВП-60
|
Величина
|
Значение
|
|
Тепловая
мощность, МВт
|
0.072
|
|
Расход газа, м3/ч
|
7.5
|
|
Давление газа,
кПа
|
8.97
|
|
Расход воздуха,
м3/ч
|
72
|
|
Температура
воздуха перед горелкой,°С
|
360
|
|
Давление
воздуха, кПа
|
6.37
|
|
Коэффициент
расхода воздуха
|
1.09
|
|
Коэффициент
рабочего регулирования
|
|
Средняя
скорость продуктов сгорания на срезе выходного отверстия горелки, м/с
|
200
|
|
Конструктивные
размеры
|
|
Габариты, мм
|
435х250х205
|
|
Присоединительные
размеры, мм
|
|
Центрального
|
2.9
|
|
Периферийных
|
2.3
|
|
Количество
газовых отверстий
|
|
Центрального
|
1
|
|
Периферийных
|
5
|
|
Диаметр
выходного отверстия камеры
|
|
Горения, мм
|
30
|
|
|
|
Вывод
Согласно проведённым расчётам и исследованиям, можно сделать
вывод о том, что данный режим работы печи целесообразен для нагрева труб
низкоуглеродистой стали, так как он обеспечит равномерный быстрый нагрев
заготовок по всей длине и ширине печи.