Расчет показателей паротурбинной установки с регенерацией
1. Описание тепловой
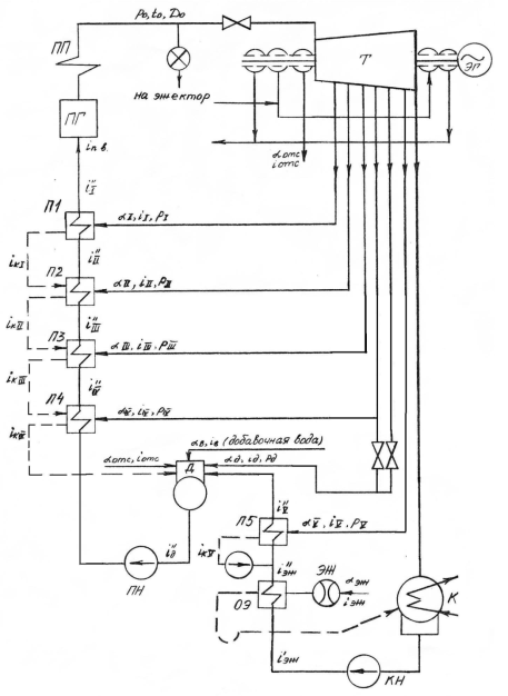
схемы паротурбинной установки
Принцип действия паровой турбины
состоит в преобразовании тепловой энергии пара, которая поступает из
парогенератора, в кинетическую энергию потока пара, который, воздействуя на
лопасти турбины, приводит во вращение вал турбины, отдавая при этом часть своей
энергии.
Перед поступлением в проточную часть
паровой турбины пар проходит через специальное запорное устройство, которое
называется главным стопорным клапаном. Стопорный клапан представляет собой
определенное сопротивление. Преодолевая это сопротивление, пар совершает только
работу трения, т.е. происходит процесс снижение давления пара без изменения
энтальпии (дросселирование пара).
Эжекторы применяются для удаления
воздуха из конденсатора. Работа пароструйного эжектора основана на
использовании кинетической энергии струи пара, которая выходит из сопла и
увлекает за собой паровоздушную смесь, поступающего из конденсатора. Тепло
конденсации пара эжектора используется для подогрева конденсата турбины.
Эффективность цикла преобразования
тепла в работу может быть увеличена, как мы уже описывали в введении, за счет
введения регенерации, состоящей в частичной передаче тепла пара, работающего в
турбине. В одной из промежуточных ступеней турбины часть вошедшего в турбину
пара при давлении Ротб и энтальпии hотб, отводится в
поверхностный подогреватель, через трубную систему, которого прокачивается
конденсат из конденсатора.
Деаэратор предназначен для удаления
растворенных в питательной воде агрессивных газов (О2 и СО2),
вызывающих коррозию металлических поверхностей. Кислород и свободная
углекислота попадают в питательную воду из-за присосов воздуха через
неплотности в элементах регенеративной системы, находящихся под разрежением, и
с добавочной водой. В результате смешения конденсата греющего пара деаэратора и
основной питательной воды температура воды в деаэраторном баке близка к
температуре насыщения греющего пара.
В современных турбоустановках с
высоким давлением питательной воды, с которым она подается в парогенератор,
устанавливают деаэраторы повышенного давления с давлением греющего пара
5,9-6,86 бар (6-7 атм), что соответствует температуре кипения воды 158-164° С.
Одним из достоинств этих деаэраторов является уменьшение числа подогревателей
высокого давления в тепловой схеме турбоустановки, что понижает стоимость и
повышает надежность работы тепловой электростанции. Кроме основного конденсата,
в деаэратор подаются: дренажи греющего пара подогревателей высокого и, в ряде
случаев, низкого давления; конденсат тепловых потребителей; пар концевых
уплотнений и уплотнений штоков регулирующих клапанов турбины; добавочная
химически очищенная вода; дистиллят испарительной установки и др.
Образовавшаяся в деаэраторе паровоздушная смесь (выпар) может быть использована
в паровых эжектор например, в эжекторе отсоса, а также частично на концевых
уплотнениях турбин.
Питательная вода, подаваемая
питательным насосом, поступает в парогенератор, состоящий из топочной камеры и
газоходов, барабана, поверхностей нагрева, находящихся под давлением рабочей
среды, воздухоподогревателя, соединительных трубопроводов и воздуховодов.
Питательная вода подогревается в водяном экономайзере и испаряется в экранных
трубах. После разделения пара и воды в барабане, сухой насыщенный пар поступает
в пароперегреватель, а перегретый пар направляется в паровую турбину.
В современных турбоустановках в
целях повышения их экономичности применяют развитую систему регенерации.
Представленная на схеме (рис. 2) тепловая схема относится к конденсационным
паровым турбоагрегатам. Подогрев питательной воды осуществляется в трёх
подогревателях высокого давления, а также в деаэраторе и двух подогревателях
низкого давления, в охладителях пара рабочих эжекторов. В деаэратор
направляются каскадно дренажи греющего пара первого и второго отборов. Кроме
этого в деаэратор поступает химически очищенная вода (для восполнения потерь
конденсата) и конденсат греющего пара подогревателей высокого давления, т.е.
деаэратор питается паром второго регенеративного отбора вместе с отбором пара
на подогреватель П1. Давление в деаэраторе поддерживается постоянным и
регулируется игольчатым клапаном в зависимости от изменения давления в отборе.
Основной конденсат из конденсатора турбины прокачивается насосом через
охладители пароструйных эжекторов, затем через подогреватели низкого давления и
поступает в деаэратор. Конденсат собирается в нижней части конденсатора и
отводится конденсатным насосом. Конденсат рабочего пара эжекторов из
охладителей отводится каскадно (т.е. последовательный: из подогревателя более
высокого давления в подогреватель более низкого давления - для использования
тепла более высокого потенциала) в конденсатор через U-образную сифонную трубку
и смешиваются с основным конденсатом.
Питание рабочих эжекторов может
осуществляться как от главной паровой магистрали, так и из линии
регенеративного отбора пара высокого давления, где он перед входом в эжекторы
редуцируется игольчатым вентилем обычно до давления 6 - 18 бар в зависимости от
типа эжектора. Для поддержания вакуума в конденсаторе на расчетном уровне
давление рабочего пара перед эжектором должно сохранятся постоянным независимо
от возможных снижений давлений в паровом тракте.
Все потоки конденсата греющего пара
отборов и основной питательной воды, поступающие в деаэратор, откачиваются
питательным насосом.
Питательная вода нагнетается в
парогенератор, где за счет теплоты сжигаемого топлива превращается в водяной
пар, перегревающийся в пароперегревателе. Затем этот пар через систему
стопорных и регулирующих клапанов поступает в турбину, вращающую
электрогенератор. Тепловая энергия пара преобразуется в турбине в механическую
работу, которая, в свою очередь, преобразуется в генераторе в электроэнергию.
Из турбины пар поступает в конденсатор. Потом цикл повторяется.
2. Предварительное
построение теплового процесса расширения пара в турбине в h-s-диаграмме
Расчет ведем на экономическую
мощность турбины:
.
Потерю давления в стопорном и
регулирующих клапанах принимаем равной 3% давления пара перед стопорным
клапаном. Тогда давление пара перед соплами первой ступени составит:
.
а температура:
.
Этим начальным условиям
соответствует энтальпия:
.
Потеря давления в выхлопном патрубке
составит:
,
где
;
;
Значит:
.
Тогда, давление пара за последней
ступенью турбины будет равно:
.
Энтальпия пара в конце
изоэнтропийного процесса расширения равно:
.
Общий изоэнтропийный теплоперепад,
приходящийся на турбину:
.
Относительный эффективный К.П.Д.
турбины примем равным 0,8, а механический К.П.Д. турбины равным 0,975. Значит,
относительный внутренний К.П.Д. турбины составит:
Тогда использованный теплоперепад в
турбине равен:
.
2д =
-
=3475-1143,9=2331,1
По полученным данным построим
предварительный тепловой процесс турбины в HS-диаграмме.
3. Тепловой расчет
регенеративной схемы турбоустановки
За основу возьмем типовую схему
которая состоит из четырех подогревателей высокого давления и одного
подогревателя низкого давления, а также деаэратора с давлением пара 0,58 МПа.
В деаэратор поступают добавка
химически очищенной воды в количестве 3% с температурой 100 °С и отсосы пара из переднего концевого уплотнения турбины в
количестве 0,5% общего расхода пара на турбину.
Слив конденсата греющего пара из
подогревателей высокого и низкого давления каскадный.
Температура питательной воды на
выходе из последнего подогревателя принимаем равной 250 °С.
При расчете примем во внимание:
. Потерю давления в
регенеративных отборах от турбины до подогревателей (5% давления пара в
отборах)
. Уменьшение температуры
питательной воды на выходе из каждого подогревателя (на 5°С ниже температуры насыщения греющего пара отборов)
. Потерю тепла на излучение в
подогревателях (1-3%, в зависимости от ступени подогрева)
Температура насыщения
пара при
составляет
32,9°С.
Повышение температуры
конденсата в охладителях эжектора примем равной 3,5°С.
Тогда температура конденсата за охладителями эжектора составит:
°С
Температура питательной
воды на выходе составляет 250 °С, на выходе из деаэратора 158°С.
Подогрев воды в
отдельных подогревателях принимают приблизительно равными:
а) в ПНД
°С.
б) в ПВД
°С.
Все основные параметры
регенеративной схемы заносим в таблицу 1.
При составлении таблицы
используем данные из предварительного построения теплового процесса в
HS-диаграмме и термодинамические таблицы для воды и водяного пара.
4. Расчет подогревателей
Расчет выполняется согласно тепловой
схеме, начиная с подогревателей высокого давления.
Подвод пара к турбине
перед стопорным клапаном принимаем за 100%(
).
Для определения
относительных расходов пара регенеративных отборов на подогрев питательной воды
составляем уравнения тепловых балансов для подогревателей, деаэратора,
охладителя эжектора.
Подогреватель П1
энтальпия воды на выходе
из подогревателя;
энтальпия воды на входе
в подогреватель;
энтальпия греющего пара
І отбора;
энтальпия конденсата
греющего пара І отбора;
Уравнение теплового
баланса имеет вид:
,
Из уравнения теплового
баланса получим:
Подогреватель П2
энтальпия воды на выходе
из подогревателя;
энтальпия воды на входе
в подогреватель;
энтальпия греющего пара
ІI отбора;
энтальпия конденсата
греющего пара ІI отбора;
Уравнение теплового
баланса имеет вид:
,
где k - коэффициент,
учитывающий отдачу тепла в окружающую среду. Принимаем этот коэффициент равным
1,03.
Из уравнения теплового
баланса получим:
,
Подогреватель П3
энтальпия воды на выходе
из подогревателя;
энтальпия воды на входе
в подогреватель;
энтальпия греющего пара
ІII отбора;
энтальпия конденсата
греющего пара ІII отбора;
Уравнение теплового
баланса имеет вид:
,
где k - коэффициент,
учитывающий отдачу тепла в окружающую среду. Принимаем этот коэффициент равным
1,03.
Из уравнения теплового
баланса получим:
Подогреватель П4
энтальпия воды на выходе
из подогревателя;
энтальпия воды на входе
в подогреватель;
энтальпия греющего пара
ІV отбора;
энтальпия конденсата
греющего пара ІV отбора;
Уравнение теплового
баланса имеет вид:
,
где k - коэффициент,
учитывающий отдачу тепла в окружающую среду. Принимаем этот коэффициент равным
1,03.
Из уравнения теплового
баланса получим:
Деаэратор
энтальпия химически
очищенной воды;
энтальпия пара отсоса;
энтальпия конденсата
греющего пара III отбора;
энтальпия греющего пара
деаэратора;
энтальпия воды на входе
в деаэратор;
энтальпия воды на выходе
из деаэратора;
Энтальпия химически
очищенной добавочной воды, подаваемой в деаэратор, принимаем равной 419 кДж/кг.
Приближенно оцениваем величину теплового перепада, перерабатываемого на
регулирующей ступени турбины,
кДж/кг. В соответствии
с этим энтальпия пара отсоса из переднего уплотнения составит
.
Уравнение теплового
баланса для деаэратора имеет вид:
отсосы пара из переднего
концевого уплотнения;
добавка химически
очищенной воды;
расход рабочего пара на
эжектор;
Из уравнения теплового
баланса следует, что:
,
Рисунок 1. Принципиальная тепловая
схема паротурбинной установки
. Расчет ПНД и
охладителя эжекторов
Подогреватель П5
энтальпия воды на выходе
из подогревателя;
энтальпия греющего пара
V отбора;
энтальпия конденсата
греющего пара V отбора;
Уравнение теплового
баланса для подогревателя П4 запишется в виде:

Из уравнения теплового
баланса получим:
0,086
Уравнение теплового
баланса для охладителей эжектора запишется в виде:
6. Расчет экономических
показателей паротурбинной установки с регенерацией
Расход свежего пара на турбину:
,
где
- приведенная работа
одного килограмма пара, вводимого в турбину, определяется как сумма
произведений использованных теплоперепадов в каждом отсеке турбины на
количество пара, прошедшего через соответствующий отсек, то есть:
,
.
Значит, расход пара на турбину, по
формуле составит:
.
Тогда, секундный расход пара
составит:
.
Количество пара, отбираемого на
регенерацию, будет равно:
;
;
;
;
Удельный расход пара на турбину
составляет:
.
Удельный расход тепла турбинной
установкой равен:
.
Расход свежего пара на турбину без
отборов составит:
.
Удельный расход пара:
.
Удельный расход тепла в этом случае
будет равен:
.
Удельный расход условного топлива
составит:
.
Термический К.П.Д. турбоустановки с
n-регенеративными отборами:
,
Значит:
Подставив полученное значение в
формулу получим, что термический К.П.Д. паротурбинной установки с регенерацией
равен:
.
Значит, абсолютный электрический
К.П.Д. турбинной установки равен:
.
Полный К.П.Д. паротурбинной
электростанции будет равно:
.
Повышение экономичности
турбоустановки с регенеративным подогревом питательной воды по сравнению с
чисто конденсационной установкой составляет:
.
тепловой конденсационный турбоустановка
пар
Вывод
Самый эффективный способ повышения
экономичности паротурбинной установки - это регенеративный подогрев питательной
воды.
Это можно объяснить следующим
образом. Пар, отбираемый из промежуточных ступеней турбины, при конденсации его
в регенеративных подогревателях отдает почти всё своё тепло на подогрев
питательной воды, которая направляется в котельный агрегат. Поэтому в турбине
конденсационного типа, т.е. без регенеративных отборов, значительная часть
тепла теряется в конденсаторе с охлаждающей водой. В турбоустановке же с
регенеративным подогревом питательной воды расход тепла на образование 1 кг
пара будет меньше, чем в установке, в которой отсутствует этот подогрев.
Следовательно, экономичность паротурбинной установки за счет регенерации будет
увеличиваться по мере увеличения начальных параметров пара и единичной мощности
турбины.
В данной курсовой работе мы
выполняли расчет повышения экономичности турбоустановке с регенеративным
подогревом питательной воды по сравнению с чисто конденсационной установкой. В
результате вычислений эта величина получилась равной 12.7%.
Величина, полученная нами при
расчете вполне реальная, так как повышение экономичности турбоустановке с
регенеративным подогревом питательной воды по сравнению с чисто конденсационной
установкой должно находится в интервале приблизительно от 12% до 15%.
Список литературы
1.
Вукалович М.П., Ривкин С.Л., Александров А.А. Теплофизические
свойства воды и водяного пара. М.: Издательство стандартов, 1969.
2.
Семенов А.С., Шевченко А.М. Тепловой расчет паровой турбины. К.:
Выща школа, 1975 г.