);
Частота следования импульсов -
1 Гцэкв=2 мкГн;экв=40 мОм;
генератор
конденсатор трансформатор преобразователь
1. Расчет режима работы гит на
эквивалентное сопротивление нагрузки
трансформатор ток
генератор зарядный
Определим режим работы ГИТ на эквивалентное
сопротивление нагрузки:
Определим ёмкость конденсаторной батареи
;
Параметр разряда
;
По полученному значению делаем вывод
о виде разряда, так как
, имеем
колебательный разряд.
По имеющимся формулам для
колебательного разряда рассчитываем его параметры.
Угловая частота колебаний:
;
;
Время достижения максимума тока:
.
Максимальное значение тока:
где
Функция изменения тока в
колебательном режиме:
.
КПД разрядного процесса
2. Расчет конденсатора
2.1 Расчет электрических характеристик
· ресурс
,
где
М = 106 - ресурс;
Е - рабочая напряженность поля;
ƒ - частота следования
импульсов;- частота тока в разрядном контуре;
Δ - декремент затухания
импульсов;
Т - температура внутри конденсатора;
А, м,b,l,n,β - коэффициенты,
зависящие от режима работы конденсатора, технологии изготовления и др.
факторов.
Найдем частоту тока в разрядном контуре:
,
где
.
Определим рабочую напряженность
электрического поля из формулы расчета ресурсов:
,
где
.
При рабочих напряжениях меньше 80 кВ/мм выбираем
комбинированную намотку конденсатора толщиной 30 мкм.
Рабочее напряжение выбираем в 60 кВ/мм.
3 слоя конденсаторной бумаги КОН-2 толщиной 10
мкм;
2 слоя конденсаторной пленки ПП-КС по 10 мкм.
диэлектрик трансформаторное масло.
· ёмкость конденсатора
.
Расчеты ведутся для конденсатора
емкостью 100 мкФ и зарядным напряжением до 6 кВ.
· удельная энергия, приходящаяся на единицу
рабочего объема конденсатора
,
где ε -
диэлектрическая проницаемость;
;
eп, eк, eж -
относительная диэлектрическая проницаемость пленки, бумаги, жидкости
соответственно.
.
· выбор габаритных размеров по оценкам активного
объема конденсатора
;
Полный объем конденсатора в 1,2 раз
больше чем активный объем диэлектрика. Следовательно,
.
· напряжение и собственная ёмкость секций
,
где dс - толщина изоляции
секции (50 мкм);
;
Определим количество групп секций:
;
Определим емкость групп секций:
.
.2 Конструктивный расчет
Геометрические размеры секций и
количество витков считается по емкости секций и по диаметру оправки, на которую
она мотается, по ширине бумаги и пленки.
,
где bδ - ширина
(30 см);ф - ширина фольги;З - длина закраин (2 см).
;
Найдем длину фольги:
где lф - длина фольги;-
количество витков; D0 - диаметр оправки (50 мм);вн -
внешний диаметр (90 мм).
Определим количество витков:
Где
dс - толщина изоляции секции;ф - толщина фольги.
;
;
Приблизительная
емкость секции:
;
Уточненный
внешний диаметр секции:
Находим
ширину сплющенной секции:
Находим общую емкость конденсатора:
где nc - последовательно
включенная секция;c - параллельно включенная секция.
Общее количество секций в
конденсаторе
.
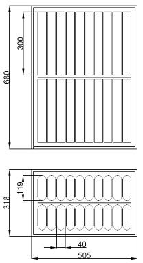
Габаритные размеры конденсатора:
длина 505 мм, ширина 318 мм, высота
680 мм.
Рис.2 Конструктивная схема
конденсатора, вид сбоку и сверху
Рис.3 Электрическая схема конденсатора
.3 Тепловой расчет
Потери силовых конденсаторов состоит из потерь в
диэлектрике. Из уравнения теплопроводности определим величину Pу:
;
;
Определим перепад температур между
центральной точкой пакета и внешней поверхностью секций:
,
где λ11 -
коэффициент теплопроводности масла (масло нафтеновое
);
λ1 -
коэффициент теплопроводности пленки (лавсановая фторопласта 4,
);
;
Определяем перепад температур между
внешней поверхностью секции и внешней окружающей средой:
,
где Δ1 и λ1 - толщина и
коэффициент теплопроводности стенок бака (стенки бака изготовлены из
винипластовой пластмассы: толщина 10 мм, теплопроводность
);
Δ2 и λ2 - толщина и
коэффициент теплопроводности изоляции пакета секций (изоляция изготовлена из
бумаги, пропитанной нафтеновым маслом: толщина 5мм, теплопроводность
);
Δ3 и λ3 - толщина и
коэффициент теплопроводности корпусной изоляции (изоляция изготовлена из
бумаги, пропитанной нафтеновым маслом: толщина 3мм, теплопроводность
);- площадь
поверхности бака (0,824 м2);- коэффициент теплоотдачи с поверхности
бака в окружающую среду (50%).
;
.
Для конденсатора с пленочно-масляной
изоляции перепад температур не должен превышать 60 град, что и подтверждается
расчетными данными.
В качестве накопителя энергии
используется 2 конденсаторные батареи емкостью 100 мкФ каждая. Индуктивность
конденсатора равна 100 нГн.
. Ðàñ÷¸ò
çàðÿäíîãî óñòðîéñòâà
Ïðîèçâåäåì
ðàñ÷åò çàðÿäíîãî
óñòðîéñòâà:
Ðàñ÷åò
âûïðÿìèòåëÿ, ðàáîòàþùåãî
íà åìêîñòü, ñ ó÷åòîì
èíäóêòèâíîãî
ñîïðîòèâëåíèÿ
ðàññåèâàíèÿ
îáìîòîê òðàíñôîðìàòîðà.
Òîê â ïëå÷å
âûïðÿìèòåëÿ, ñîáðàííîãî
ïî ñõåìå Ëàðèîíîâà:
,
ãäå
, à
Âò
òîãäà
.
Îáðàòíîå
íàïðÿæåíèå âûïðÿìèòåëÿ:
.
Àìïëèòóäíîå
çíà÷åíèå òîêà
÷åðåç âåíòèëü:
.
Âûáèðàåì
â êà÷åñòâå âåíòèëåé
êðåìíèåâûå ñòîëáû
7ÑÂË - 2 - 100. Èç ãðàôèêà
çàâèñèìîñòè
ïðÿìîãî ïàäåíèÿ
íàïðÿæåíèÿ íà
ñòîëáå îò òîêà
íàãðóçêè â óñòàíîâèâøåìñÿ
ðåæèìå, îïðåäåëÿåì
ñëåäóþùèå ïàðàìåòðû:
ïàäåíèå
íàïðÿæåíèÿ íà
ñòîëáå ∆U = 29,8 Â;
òîê â ïëå÷å
âûïðÿìèòåëÿ IÎÂ
= 0,2 À.
Ñîïðîòèâëåíèå
îáìîòîê òðàíñôîðìàòîðà,
ïðèâåäåííîå ê
âòîðè÷íîé îáìîòêå:
,
ãäå
= 4,5 - êîýôôèöèåíò,
çàâèñÿùèé îò
ñõåìû è õàðàêòåðà
íàãðóçêè âûïðÿìèòåëÿ;
U0 = 6 ê - âûïðÿìëåííîå
íàïðÿæåíèå; f = 50 Ãö
- ÷àñòîòà ñåòè;
s = 3 - ÷èñëî ñòåðæíåé
òðàíñôîðìàòîðà,
íà êîòîðûõ ðàñïîëîæåíû
îáìîòêè; I0 = 0,6 À
- âûïðÿìëåííûé
òîê.
Äëÿ îïðåäåëåíèÿ
èíäóêöèè è Âì
â ñòåðæíÿõ ñèëîâûõ
òðàíñôîðìàòîðîâ,
íàì íåîáõîäèìî
îïðåäåëèòü ïðèáëèçèòåëüíóþ
ìîùíîñòü òðàíñôîðìàòîðà:2(ïðèáëèç)
= 1,25∙Ð0 =1,25∙3,6∙10 3= 4,5
ê·À. Ñëåäîâàòåëüíî,
ðåêîìåíäóåìàÿ
èíäóêöèÿ Âì
= 1,45 Òë, äëÿ ñòåðæíÿ
ìàðêè ñòàëè Ý300.
Òîãäà:
Îì.
Èíäóêòèâíîñòü
ðàññåèâàíèÿ
îáìîòîê òðàíñôîðìàòîðà,
ïðèâåäåííàÿ ê
âòîðè÷íîé îáìîòêå:
(Ãí),
ãäå kL
=1,9.10-3 - êîýôôèöèåíò,
çàâèñÿùèé îò
ñõåìû è õàðàêòåðà
íàãðóçêè âûïðÿìèòåëÿ.
Âíóòðåííåå
ñîïðîòèâëåíèå
îäíîãî ïëå÷à
âûïðÿìèòåëÿ:
Îì.
Àêòèâíîå
ñîïðîòèâëåíèå
ôàçû âûïðÿìèòåëÿ
(äëÿ ñõåìû Ëàðèîíîâà):
= 2 Ri+2 rTP
=2∙49,7+2∙307,7= 714,8 Îì.
Îïðåäåëåíèå
ñîîòíîøåíèÿ
ìåæäó àêòèâíûì
è ðåàêòèâíûì
ñîïðîòèâëåíèÿìè
ôàçû âûïðÿìèòåëÿ:
φ= arctg (0,6985)= 34,9î.
Âñïîìîãàòåëüíûé
êîýôôèöèåíò
À0:
ãäå m = 3 - ÷èñëî
ôàç âûïðÿìëåíèÿ.
Ïî îïðåäåëåííûì
çíà÷åíèÿì À0
è φ íàõîäèì
êîýôôèöèåíòû:
 = 0,74 ïðè À0
= 0;
Â0 = 0,9;
Ä0 = 2,1; 0
= 6.
Ôàçíîå
íàïðÿæåíèå âòîðè÷íîé
îáìîòêè
êÂ.
Íàïðÿæåíèå
õîëîñòîãî õîäà
âûïðÿìèòåëÿ:
Ýôôåêòèâíîå
çíà÷åíèå ôàçû
âòîðè÷íîé îáìîòêè:
À.
Ìîùíîñòü
âòîðè÷íîé îáìîòêè
òðàíñôîðìàòîðà:
ê·À.
Êîýôôèöèåíò
òðàíñôîðìàöèè:
.
.1 Ðàñ÷åò
òðàíñôîðìàòîðà
Ïîëíàÿ
ìîùíîñòü ST =
3,93 ê·À.
Ñõåìà
ñîåäèíåíèÿ îáìîòîê:
íèçêîâîëüòíàÿ
îáìîòêà ñîáðàíà
ïî ñõåìå
òðåóãîëüíèê
(∆), âûñîêîâîëüòíàÿ
- çâåçäà (٨).
Íîìèíàëüíûé
òîê (ôàçíûé)
âòîðè÷íîé
îáìîòêè I2Ô
= 0,042 À.
Íîìèíàëüíîå
ôàçíîå íàïðÿæåíèå
âòîðè÷íîé îáìîòêè
U0ÕÕ = 7,3 êÂ.
Äëÿ òðàíñôîðìàòîðîâ,
â êîòîðûõ èñïîëüçîâàíà
ñòàëü ìàðêè ÝÇÇÎ
òîëùèíîé 0,35 ìì
íàïðÿæåíèå êîðîòêîãî
çàìûêàíèÿ UK
= 4,7 %.
Ïîòåðè
êîðîòêîãî çàìûêàíèÿ
ÐÊ = 32 Âò.
Ïîòåðè
õîëîñòîãî õîäà
ÐÕÕ =6 Âò.
Ïîòåðè
õîëîñòîãî õîäà
IÕÕ = 3.2 %.
Ëèíåéíûé
òîê îáìîòêè íèçêîãî
íàïðÿæåíèÿ (ÎÍÍ):
.
Ôàçíûé
òîê ÎÍÍ:
.
Ëèíåéíîå
íàïðÿæåíèå îáìîòêè
âûñîêîãî íàïðÿæåíèÿ
(ÎÂÍ):
êÂ.
Àêòèâíàÿ
ñîñòàâëÿþùàÿ
íàïðÿæåíèÿ êîðîòêîãî
çàìûêàíèÿ:
.
Ðåàêòèâíàÿ
ñîñòàâëÿþùàÿ
íàïðÿæåíèÿ êîðîòêîãî
çàìûêàíèÿ:
.
Îñíîâíûå
ðàçìåðû òðàíñôîðìàòîðà.
Ìîùíîñòü
îáìîòêè îäíîãî
ñòåðæíÿ:
ê·À, ãäå
m - ÷èñëî ñòåðæíåé
ñ îáìîòêàìè.
Ðàñ÷åòíàÿ
øèðèíà ïðèâåäåííîãî
êàíàëà ðàññåèâàíèÿ:
ãäå a12
= 0,9 ñì - èçîëÿöèîííûé
ïðîìåæóòîê ìåæäó
îáìîòêàìè ÂÍ
è ÍÍ, îïðåäåëÿåòñÿ
ïî èñïûòàòåëüíîìó
íàïðÿæåíèþ ÎÂÍ
è äëÿ äàííîãî
êëàññà èçîëÿöèè
îáìîòîê ÿâëÿåòñÿ
íåèçìåííûì;
k = 0.8 - êîýôôèöèåíò,
çàâèñÿùèé îò
ìîùíîñòè òðàíñôîðìàòîðà,
ìåòàëëà îáìîòîê,
íàïðÿæåíèÿ ÎÂÍ
è óðîâíÿ ïîòåðü
êîðîòêîãî çàìûêàíèÿ.
Òîãäà
ñì.
Äèàìåòð
ñòåðæíÿ:
ãäå S' - ìîùíîñòü
îáìîòêè îäíîãî
ñòåðæíÿ, ê·À;
àÐ - øèðèíà
ïðèâåäåííîãî
êàíàëà ðàññåèâàíèÿ,
ñì;- ÷àñòîòà ñåòè,
Ãö;p - ðåàêòèâíàÿ
ñîñòàâëÿþùàÿ
íàïðÿæåíèÿ êîðîòêîãî
çàìûêàíèÿ, %;
Âñ = 1,45 Òë
- ìàêñèìàëüíàÿ
èíäóêöèÿ â ñòåðæíå;P
= 0,95 - êîýôôèöèåíò
ïðèâåäåíèÿ èäåàëüíîãî
ïîëÿ ðàññåèâàíèÿ
ê ðåàëüíîìó ïîëþ
(êîýôôèöèåíò
Ðîãîâñêîãî);
β = 1,8 - êîýôôèöèåíò
ãåîìåòðèè òðàíñôîðìàòîðà,
îòíîøåíèå ñðåäíåé
äëèíû âèòêà äâóõ
îáìîòîê ê âûñîòå
îáìîòêè;c = kKP
∙ k3= 0,874 - êîýôôèöèåíò
çàïîëíåíèÿ àêòèâíûì
ñå÷åíèåì ñòàëè
ïëîùàäè êðóãà,
îïèñàííîãî îêîëî
ñå÷åíèÿ ñòåðæíÿ;
ãäå kKÐ
= 0,91 - ó÷èòûâàåò íàëè÷èå
îõëàæäàþùèõ
êàíàëîâ â ñå÷åíèè
ñòåðæíÿ; 3 = 0,96 - êîýôôèöèåíò
çàïîëíåíèÿ;
Òîãäà
ñì.
Äëÿ íîðìàëèçîâàííûõ
ðàçìåðîâ ïàêåòîâ
áåç ïðåññóþùåé
ïëàñòèíû âûáèðàåì
äèàìåòð ñòåðæíÿ
dH = 8 ñì.
Óòî÷íÿåì
êîýôôèöèåíò
ãåîìåòðèè òðàíñôîðìàòîðà
ïî íîðìàëèçîâàííîìó
äèàìåòðó:
Îðèåíòèðîâî÷íûé
ñðåäíèé äèàìåòð
êàíàëà ìåæäó
îáìîòêàìè d12=a.dH,
ãäå à = 1,4 äëÿ òðàíñôîðìàòîðîâ
ìîùíîñòüþ ST
äî 630 êÂÀ, òîãäà
d12 = 11,2 ñì.
Ðàäèàëüíûé
ðàçìåð ÎÂÍ:
ãäå k1
= 1.1 äëÿ òðàíñôîðìàòîðîâ
ìîùíîñòüþ äî
630 êÂÀ.
Òîãäà
ñì.
Ñðåäíèé
äèàìåòð êàíàëà
ìåæäó îáìîòêàìè:
,
ãäå a01
= 0,4 ñì, ðàäèàëüíûé
ðàçìåð îñåâîãî
êàíàëà ìåæäó
ñòåðæíåì è ÎÍÍ,
îïðåäåëÿåòñÿ
èç óñëîâèé ýëåêòðè÷åñêîé
ïðî÷íîñòè ãëàâíîé
èçîëÿöèè òðàíñôîðìàòîðà
è óñëîâèé åãî
îõëàæäåíèÿ; à12
= 0,9 ñì - çàçîð ìåæäó
ÎÍÍ è ÎÂÍ,
Òîãäà
ñì
.
Ïðåäâàðèòåëüíàÿ
âûñîòà îáìîòêè:
ñì
Ïðåäâàðèòåëüíîå
àêòèâíîå ñå÷åíèå
ñòåðæíÿ
.
Óòî÷íåííîå
àêòèâíîå ñå÷åíèå
ñòåðæíÿ:
ÏÑ = ÏÔÑ
· êç,
ãäå kç
= 0,96 - êîýôôèöèåíò
çàïîëíåíèÿ;
ÏÔÑ =
43,3 ñì2 - ïëîùàäü
ñå÷åíèÿ ôîðìû
ñòåðæíÿ;
Òîãäà
Ïñ = 41.57ñì².
Îðèåíòèðîâî÷íàÿ
ÝÄÑ îäíîãî âèòêà:
.
Ðàñ÷åò
îáìîòêè íèçêîãî
íàïðÿæåíèÿ.
×èñëî
âèòêîâ íà ôàçó
ÎÍÍ:
Îðèåíòèðîâî÷íàÿ
ñðåäíÿÿ ïëîòíîñòü
òîêà:
ãäå kä
= 0,97 - êîýôôèöèåíò,
ó÷èòûâàþùèé
äîáàâî÷íûå ïîòåðè
â îáìîòêàõ, ïîòåðè
â îòâîäàõ äëÿ òð¸õôàçíûõ
ìàñëÿíûõ òðàíñôîðìàòîðîâ.
.
Îðèåíòèðîâî÷íîå
ñå÷åíèå âèòêà:
.
Äëÿ ÎÍÍ
ïî ñå÷åíèþ âûáèðàåì
ñîîòâåòñòâóþùóþ
ìàðêó ïðîâîäà
ÏÝÌ-2 (ÃÎÑÒ 10288 - 74).
Ïðîâîä
ïî íàãðåâîñòîéêîñòè
èçîëÿöèè â ïðîïèòàííîì
ñîñòîÿíèè îòíîñèòñÿ
ê êëàññó À (105îÑ).
Ïðîâîä ÏÝÌ-2 ìåäíûé
êðóãëîãî ñå÷åíèÿ,
ïîêðûòûé ìåõàíè÷åñêè
ïðî÷íûì ñëîåì
ýìàëè(ëàêîì ÂË-491)
ñ èçîëÿöèåé ïîâûøåííîé
òîëùèíû. Îí èìååò
ñëåäóþùèå ïàðàìåòðû:
íîìèíàëüíûé
äèàìåòð ïðîâîäà
;
ìèíèìàëüíàÿ
äèàìåòðàëüíàÿ
òîëùèíà èçîëÿöèè
ïðîâîäà b'=0,1 ìì;
ìàêñèìàëüíûé
äèàìåòð ïðîâîäà
Ïëîòíîñòü
òîêà â ÎÍÍ:
.
×èñëî
âèòêîâ â ñëîå:
ãäå b' = 3,2 ìì
- òîëùèíà ïðîâîäà
ñ èçîëÿöèåé, òîãäà:
.
×èñëî
ñëîåâ ïðîâîäà
â ÎÍÍ:
Îñåâîé
ðàçìåð ÎÎÍ:Îñåâîé
ðàçìåð ÎÍÍ:
.
Ðàäèàëüíûé
ðàçìåð ÎÎÍ:
ñì,
Ðàäèàëüíûé
ðàçìåð ÎÍÍ:
ãäå koc=
1,15; kpaä= 1,05;
à' = 0,32 ñì - òîëùèíà
ïðîâîäà ñ èçîëÿöèåé.
Òàê êàê
âåðòèêàëüíûé
êàíàë â òðàíñôîðìàòîðàõ
ñ ìîùíîñòüþ ST
äî 40 êÂÀ îòñóòñòâóåò,
òî à1 = à"1 = 1,68 ñì.
Âíóòðåííèé
äèàìåòð ÎÍÍ:
.
Íàðóæíûé
äèàìåòð ÎÍÍ:
.
Âåñ ìåòàëëà
ÎÍÍ:
;HP, .i|M iv ,
ãäå γ0 = 8900 êã/ì3
- óäåëüíûé âåñ
ìåäè.
Òîãäà:
G01 = 25,6 êã.
Ýëåêòðè÷åñêèå
ïîòåðè â ÎÍÍ:
ÐÝ1=2,4∙∆12∙G01=
0,81 Âò.
Ðàñ÷åò
îáìîòêè âûñîêîãî
íàïðÿæåíèÿ.
×èñëî
âèòêîâ ÎÂÍ:
2 = W1∙kTP
=273∙14,2= 3876.
Îðèåíòèðîâî÷íàÿ
ïëîòíîñòü òîêà
â ÎÂÍ:
.
Ñå÷åíèå
âèòêà ÎÂÍ:
.
Îðèåíòèðîâî÷íûé
äèàìåòð ïðîâîäíèêà:
.
Âûáèðàåì
ïðîâîä ìàðêè ÏÝËÎ
(ÃÎÑÒ 165507 - 80) - ìåäíûé
ïðîâîä êðóãëîãî
ñå÷åíèÿ, èçîëèðîâàííûé
ëàêîì è îäíèì
ñëîåì ïîëèýôèðíûõ
íèòåé. Êëàññ íàãðåâîñòîéêîñòè
- À (105î).'2 = 0,69 ìì - äèàìåòð
ïðîâîäà ñ èçîëÿöèåé;2
= 0,56 ìì - äèàìåòð ïðîâîäà
áåç èçîëÿöèè.
Ñå÷åíèå
âûáðàííîãî ïðîâîäà:
.
Ïëîòíîñòü
òîêà â ÎÂÍ:
.
Âûáèðàåì
öèëèíäðè÷åñêóþ
êàòóøå÷íóþ îáìîòêó:
×èñëî
êàòóøåê â îáìîòêå
Nêàò = 3.
×èñëî
âèòêîâ â îäèíàðíîé
êàòóøêå:
.
Ñóììàðíàÿ
âûñîòà âñåõ êàòóøåê:
∑hÊÀÒ=l1=21,1
ñì.
Îñåâîé
ðàçìåð êàòóøêè
îðèåíòèðîâî÷íî:
.
×èñëî
âèòêîâ â îäíîì
ñëîå:
.
Ðàáî÷åå
íàïðÿæåíèå äâóõ
ñëîåâ:
2CË = 2∙WÑË2∙UB
=2∙100∙1,394 =278,8 Â .
×èñëî
ñëîåâ êàáåëüíîé
áóìàãè íà òîëùèíó
ëèñòîâ: 2·0,12, ñëåäîâàòåëüíî,
ìåæäóñëîéíàÿ
èçîëÿöèÿ δÌÑË =2·0,12=
0,24 ìì ;
Âûñòóï
ìåæäóñëîéíîé
èçîëÿöèè íà òîðöàõ
îáìîòêè (íà îäíó
ñòîðîíó)
δÂÛÑÒ=1 ñì.
×èñëî ñëîåâ â
êàòóøêå:
.
Ðàäèàëüíûé
ðàçìåð êàòóøêè:
.
Îñåâîé
ðàçìåð êàòóøêè:
.
Îêîí÷àòåëüíûé
îñåâîé ðàçìåð
îáìîòêè:
.
Âíóòðåííèé
äèàìåòð ÎÂÍ:
.
Íàðóæíûé
äèàìåòð ÎÂÍ:
.
Âåñ
ìåòàëëà ÎÂÍ:
,
ãäå
γ = 8900 êã/ì3
- óäåëüíûé âåñ
ìåäè; òîãäà: G02
= 2,9 êã.
Ýëåêòðè÷åñêèå
ïîòåðè â ÎÂÍ:
ÐÝ2=2,4∙∆22∙G02=
7.81 Âò.
Îïðåäåëåíèå
õàðàêòåðèñòèê
êîðîòêîãî çàìûêàíèÿ.
Øèðèíà
ïðèâåäåííîãî
êàíàëà ðàññåèâàíèÿ:
Êîýôôèöèåíò
îòêëîíåíèÿ ðåàëüíîãî
ïîòîêà ðàññåèâàíèÿ
îò èäåàëüíîãî
(êîýôôèöèåíò
Ðîãîâñêîãî).
Òîãäà
.
Êîýôôèöèåíò
ãåîìåòðèè òðàíñôîðìàòîðà:
.
Ðåàêòèâíàÿ
ñîñòàâëÿþùàÿ
íàïðÿæåíèÿ êîðîòêîãî
çàìûêàíèÿ:
.1,2782-103
Ïîëíûå
ïîòåðè êîðîòêîãî
çàìûêàíèÿ:
Âò,
ãäå
kä = 0,97 - êîýôôèöèåíò,
ó÷èòûâàþùèé
äîáàâî÷íûå ïîòåðè
â îáìîòêàõ.
Àêòèâíàÿ
ñîñòàâëÿþùàÿ
íàïðÿæåíèÿ êîðîòêîãî
çàìûêàíèÿ:
5820
Íàïðÿæåíèå
êîðîòêîãî çàìûêàíèÿ:
.
Ìàãíèòíàÿ
ñèñòåìà.
Äëÿ
âûáðàííîãî ñîãëàñíî
ðàñ÷åòó íîðìàëèçîâàííîãî
äèàìåòðà âûáèðàåì
ñîîòâåòñòâóþùåå
÷èñëî ñòóïåíåé
nñò = 4 (dH = 80 ìì). Òðåõôàçíûé
ñòåðæíåâîé ñåðäå÷íèê
ñîáèðàåòñÿ èç
ïîëîñ ýëåêòðîòåõíè÷åñêîé
õîëîäíîêàòàíîé
òåêñòóðîâàííîé
ñòàëè ìàðêè ÝÇÇÎ
òîëùèíîé 0,35 ìì.
Äëÿ óìåíüøåíèÿ
ïîòåðü îò âèõðåâûõ
òîêîâ ïëàñòèíû
èçîëèðóþòñÿ
äðóã îò äðóãà
ïëåíêîé ëàêà
ñ îáåèõ ñòîðîí.
Ìàðêà ëàêà ÊÔ
- 935 ÃÎÑÒ 15030 - 69. Íàø ñåðäå÷íèê
ÿâëÿåòñÿ øèõòîâàííûì,
ò.å. ñòåðæíè è ÿðìà
ñîáèðàþòñÿ â
ïåðåïëåò, çàòåì
ïîëîñû âåðõíåãî
ÿðìà âûíèìàþòñÿ
è ïîñëå óñòàíîâêè
êàòóøåê ñíîâà
óêëàäûâàþòñÿ
íà ìåñòî.
Ïîïåðå÷íûå
ñå÷åíèÿ ñòåðæíåâûõ
òðàíñôîðìàòîðîâ
âûïîëíÿþòñÿ ñòóïåí÷àòûìè.
Ñòóïåíè ñîñòîÿò
èç ïàêåòîâ, ñîáðàííûõ
èç ïîëîñ îäèíàêîâîé
òîëùèíû (0,35 ìì). Êàæäûé
ïàêåò ñòåðæíÿ
ñî÷åòàåòñÿ ñ
ïàêåòîì ÿðìà.
Ðàçìåðû
ïàêåòîâ â îäíîé
ïîëîâèíå ñòåðæíÿ.
|
¹
ïàêåòà
|
Øèðèíà
ïàêåòà, àñ, ìì
|
Òîëùèíà
ïàêåòà, bñ, ìì
|
Ïëîùàäü
ïàêåòà, Ïï, ìì2
|
×èñëî
ïëàñòèí äëÿ ïàêåòà
|
|
1
|
40
|
5
|
14
|
|
2
|
55
|
6
|
330
|
17
|
|
3
|
65
|
9
|
585
|
25
|
|
4
|
75
|
14
|
1050
|
39
|
Òîëùèíà
ñòåðæíÿ:
.
Ïëîùàäü
ñå÷åíèÿ ôîðìû
ñòåðæíÿ:
Àêòèâíîå
ñå÷åíèå ñòåðæíÿ:
.
×èñëî
ïëàñòèí íåîáõîäèìûõ
äëÿ íàáîðà ñòåðæíÿ:
Ðàçìåðû
ïàêåòîâ ÿðìà âûáèðàþòñÿ
àíàëîãè÷íî ðàçìåðàì
ñòåðæíÿ è çàíîñÿòñÿ
â òàáëèöó. Ôîðìà
ïîïåðå÷íîãî ñå÷åíèÿ
ÿðìà â ñðåäíåé
ñâîåé ÷àñòè ïî
ðàçìåðàì ïàêåòîâ
ïîâòîðÿåò ñå÷åíèå
ñòåðæíÿ. Êðàéíèå
ïàêåòû â öåëÿõ
óëó÷øåíèÿ ïðåññîâêè
ÿðìà ÿðìîâûìè
áàëêàìè äåëàþòñÿ
áîëåå øèðîêèìè,
ïóòåì îáúåäèíåíèÿ
äâóõ ïàêåòîâ
â îäèí.
|
¹
ïàêåòà
|
Øèðèíà
ïàêåòà, àÿ, ìì
|
Òîëùèíà
ïàêåòà, bÿ, ìì
|
Ïëîùàäü
ïàêåòà, Ïï, ìì2
|
×èñëî
ïëàñòèí
|
|
1
|
55
|
6
|
330
|
17
|
|
2
|
55
|
6
|
330
|
17
|
|
3
|
65
|
9
|
585
|
25
|
|
4
|
75
|
14
|
1050
|
39
|
Òîëùèíà
ÿðìà:
.
Àêòèâíîå
ñå÷åíèå ÿðìà:
.
×èñëî
ïëàñòèí íåîáõîäèìûõ
äëÿ íàáîðà ÿðìà:
.
Äëèíà
ñòåðæíÿ:
,
ãäå l0=
2 ñì - ðàññòîÿíèå
îò îáìîòêè äî
âåðõíåãî è íèæíåãî
ÿðåì,
òîãäà
lÑ= 25,29 ñì.I ñ = 23,588 + 2 - 2,0 =
27,588(ñì).
Ðàññòîÿíèå
ìåæäó îñÿìè ñîñåäíèõ
ñòåðæíåé:
ãäå à22
= 0,8 ñì - ðàññòîÿíèå
ìåæäó îáìîòêàìè
ÂÍ ñîñåäíèõ ñòåðæíåé,
òîãäà L = 24,42 ñì.
Âåñ ñòàëè
îäíîãî óãëà:
.
Âåñ ñòåðæíåé:
c =G`ñ+G``ñ,
à) Gc' - âåñ
ñòàëè ñòåðæíåé
â ïðåäåëàõ îêíà
ìàãíèòíîé ñèñòåìû:
.
á) Gc" - âåñ
ñòàëè â ìåñòàõ
ñòûêà ïàêåòîâ
ñòåðæíÿ è ÿðìà:
,
òîãäà:
Gc = 31,668 êã.
Âåñ ñòàëè
ÿðì:
ß =G`ß+G``ß,
à) Gß` - âåñ
÷àñòåé ÿðì, çàêëþ÷åííûõ
ìåæäó îñÿìè êðàéíèõ
ñòåðæíåé:
.
á) Gß`` - âåñ
ñòàëè â òîðöåâûõ
÷àñòÿõ ÿðì:
.
òîãäà
âåñ ÿðìà Gß =24,114 êã.
Ïîëíûé
âåñ ñòàëè:CT = GÑ
+ Ñß = 55,782 êã.
.2 Ðàñ÷åò
âûïðÿìèòåëÿ
Òðåõôàçíàÿ
ñõåìà ñîåäèíåíèÿ
Ëàðèîíîâà (òðåóãîëüíèê
- çâåçäà) ðàáîòàþùàÿ
íà åìêîñòíóþ
íàãðóçêó.
Ïðèìåíÿåì
â âûïðÿìèòåëå
âûñîêîâîëüòíûå
êðåìíèåâûå ñòîëáû
7ÑÂË2-100.
Òåõíè÷åñêèå
ïàðàìåòðû:
. Ïîâòîðÿþùååñÿ
íàïðÿæåíèå: UÏ
= 65 êÂ;
. Íàïðÿæåíèå
ëàâèíîîáðàçîâàíèÿ:
UË = 90 êÂ;
.Ðåêîìåíäóåìîå
ðàáî÷åå íàïðÿæåíèå:ð
= 0.67 ∙UÏ = 43,55 êÂ;
. Ïðåäåëüíûé
òîê: I0 = 2 À;
. Ìàêñèìàëüíî
äîïóñòèìàÿ ýíåðãèÿ
â ñîñòîÿíèè ëàâèííîãî
ïðîáîÿ:
À = 6,3 Äæ ;
. Óäàðíûé
òîê: Ióäàð = 200 À;
. Ìàêñèìàëüíî
äîïóñòèìàÿ òåìïåðàòóðà
ñòðóêòóðû: Òñòìàõ
= +140 °Ñ;
. Ìèíèìàëüíî
äîïóñòèìàÿ òåìïåðàòóðà
ñòðóêòóðû: Òñòìèí
= - 40 °Ñ;
. Ïðÿìîå
ïàäåíèå íàïðÿæåíèÿ:
U0Ï = 84 Â;
. Ïîðîãîâîå
íàïðÿæåíèå U0
= 44 Â;
. Îáðàòíûé
òîê Iîáð = 3 ìÀ (íåáîëåå);
. Äèíàìè÷åñêîå
ñîïðîòèâëåíèå
â îòêðûòîì ñîñòîÿíèè:
Rä = 4 Îì (íå
áîëåå);
. Èíòåíñèâíîñòü
îòêàçîâ: λ = 4,7.10-5
1/÷ (íå áîëåå);
. Ìàññà
ñòîëáà: m = 2,9 êã (íå
áîëåå);
. Äëèòåëüíîñòü
èìïóëüñà íàïðÿæåíèÿ
tÈ = 10 ìñ.
Àìïëèòóäà
îáðàòíîãî íàïðÿæåíèÿ:
.
Ïðÿìîå
ïàäåíèå íàïðÿæåíèÿ
â âûïðÿìèòåëå:
.
Ïîòåðè
â âûïðÿìèòåëå
îò ïðÿìîãî òîêà:
.
Ïîòåðè
â âûïðÿìèòåëå
îò îáðàòíîãî
òîêà:
.
Ïîëíûå
ïîòåðè â âûïðÿìèòåëå:
.
Ïàäåíèå
íàïðÿæåíèÿ íà
âûõîäå âûïðÿìèòåëÿ:
.
Âûïðÿìëåííîå
íàïðÿæåíèå íà
âûõîäå:
.
Íàïðÿæåíèå
êîðîòêîãî çàìûêàíèÿ
âûñîêîâîëüòíîãî
âûïðÿìèòåëÿ:
.
3.3 Ðàñ÷åò
èíäóêòèâíî-åìêîñòíîãî
ïðåîáðàçîâàòåëÿ
Ïðèíèìàåì
ki =1,3, à ku =2,05.
Òîãäà
ìàêñèìàëüíîå
ñîïðîòèâëåíèå
íàãðóçêè èíäóêòèâíî-åìêîñòíîãî
ïðåîáðàçîâàòåëÿ:
êÎì
Êîýôôèöèåíò
òðàíñôîðìàöèè
ïðåîáðàçîâàòåëÿ:
.
Âûáèðàåì
êîýôôèöèåíò
ìàêñèìàëüíîé
îòíîñèòåëüíîé
íàãðóçêè èç óñëîâèé
îïòèìàëüíîãî
âåñà ãàáàðèòíûõ
ïîêàçàòåëåé
êîíäåíñàòîðà
è ãàáàðèòíîãî
âåñà ÈÅÏ è îïðåäåëåíèè
èíäóêòèâíîãî
ñîïðîòèâëåíèÿ
ÈÅÏ, ïðèâåäåííîãî
êî âòîðè÷íîé
îáìîòêå ïðåîáðàçîâàòåëÿ:
êÎì.
Íàõîäèì
óãëîâóþ ÷àñòîòó:
(ñ-1)
Îïðåäåëèì
èíäóêòèâíîñòü
ðåàêòîðà, ïðèâåäåííóþ
ê âòîðè÷íîé îáìîòêå
(ïîä èíäóêòèâíîñòüþ
L ïîíèìàþò èíäóêòèâíîñòü
ôàçû ðåàêòîðà
ñ ñîâìåùåííûì
ìàãíèòîïðîâîäîì):
(Ãí).
Èç óñëîâèÿ
ðåçîíàíñà îïðåäåëèì
åìêîñòü êîíäåíñàòîðà
ÈÅÏ â êàæäîé ôàçå:
Ô.
Íàõîäèì
òîê íàãðóçêè
ÈÅÏ:
À
Òîãäà
òîê ÷åðåç îáìîòêó
ðåàêòîðà ÈÅÏ:
À.
Òîê âòîðè÷íîé
îáìîòêè, òî åñòü
òîê çàðÿäà êîíäåíñàòîðà
ðàâåí
À.
4. Âûáîð
ðàçðÿäíèêà è ðàñ÷åò
åãî ýëåêòðîýðîçèîííîé
ñòîéêîñòè
Òàê êàê
U=6 êÂ, òî âûáèðàåì
âîçäóøíûé òðåõýëåêòðîäíûé
óïðàâëÿåìûé ðàçðÿäíèê
ñî ñòàëüíûìè
ýëåêòðîäàìè.
Ïðîèçâåäåì ðàñ÷åò
åãî ýëåêòðîýðîçèîííîé
ñòîéêîñòè:
Ìàññà
ìåòàëëà, êîòîðûé
âûáðàñûâàåòñÿ:
ãäå kÂ
- êîýôôèöèåíò
âûáðîñà (çàâèñèò
îò ñðåäû, â êîòîðîé
ïðîèñõîäèò ðàçðÿä),
k =1 äëÿ âîçäóõà,’Ý=10
ýÂ=1,6∙10-18 (äëÿ âîçäóõà),
Ñð -òåïëîåìêîñòü
ìåòàëëà, èç êîòîðîãî
ñäåëàí ýëåêòðîä
(ëàòóíü ëèáî ñòàëü).
Òàê êàê äëÿ ýëåêòðîäà
âûáðàíà ñòàëü,
òî Ñð= 481,5 Äæ/êã.Ê,
Òïë - òåìïåðàòóðà
ïëàâëåíèÿ ìàòåðèàëà,
èç êîòîðîãî ñäåëàí
ýëåêòðîä. Òàê
êàê äëÿ ýëåêòðîäà
âûáðàíà ñòàëü,
òî Òïë = 1400oC=1673 Ê.
α - èíòåãðàë
îò ìîäóëÿ ðàçðÿäíîãî
òîêà.
Îïðåäåëèì
èíòåãðàë îò ìîäóëÿ
ðàçðÿäíîãî òîêà:
,
ãäå Δ - äåêðåìåíò
çàòóõàíèÿ
Q0 -çàðÿä,
.
Òîãäà
Ñëåäîâàòåëüíî
(êã)
Òîãäà
ìàññà âûáðîñîâ
êã,
ãäå Ì - ðåñóðñ,
Ì =
.
Äëÿ ïîâûøåíèÿ
ýëåêòðîýðîçèîííîé
ñòîéêîñòè ðàçðÿäíèêà
èñïîëüçóåì ýëåêòðîäû
â âèäå òîðîâ, òàê
êàê ðàçðÿä áóäåò
ïðîèñõîäèòü êàæäûé
ðàç â íîâûõ òî÷êàõ.
Íàéäåì
ìàññó âûñòóïàþùåé
÷àñòè òîðà ðàçðÿäíèêà
òîëùèíîé h=2 ìì:
êã,
ãäå ρ - ïëîòíîñòü
ñòàëè, ρ=7800 êã/ì3;
- âíåøíèé
äèàìåòð òîðà,
ñì;
- âíóòðåííèé
äèàìåòð òîðà
ñì.
Ñîãëàñíî
ïîëó÷åííûì äàííûì
äëÿ îáåñïå÷åíèÿ
çàäàííîãî ðåñóðñà
íåîáõîäèìî ïàðàëëåëüíî
ñîåäèíèòü 10 òàêèõ
ðàçðÿäíèêîâ.
Ðèñ.4 Îáùèé
âèä ÃÈÒ
Ëèòåðàòóðà
1. Òèõîìèðîâ
Ï.Ì. «Ðàñ÷åò òðàíñôîðìàòîðîâ».
- Ìîñêâà: Ýíåðãèÿ.
1976ã.
. «Èñòî÷íèêè
ýëåêòðîïèòàíèÿ
íà ïîëóïðîâîäíèêîâûõ
ïðèáîðàõ»/ Ñ.Ä. Äîäèê,
Þ.ß. Äóñàâèöêèé,
Ê. Á. Ìàçåëü è ïð.
Ïîä ðåäàêöèåé
Ñ.Ä. Äîäèêà è Å.È.
Ãàëüïåðèíà. - Ìîñêâà:
Ñîâåòñêîå ðàäèî
1969ã.
. Âåêñëåð
Ã.Ñ. «Ðàñ÷åò ýëåêòðîïèòàþùèõ
óñòðîéñòâ» - Êèåâ:
Òåõíèêà. 1978ã.
. Êàëàíòàðîâ
Ï.Ë., Öåéòëèí Ë.À.
«Ðàñ÷åò èíäóêòèâíîñòåé».
- Ëåíèíãðàä: Ýíåðãèÿ.
1970ã.
. Ñïðàâî÷íèê.
«Ýëåêòðè÷åñêèå
ìàøèíû Ò.1» Ïîä
ðåäàêöèåé Òèìîøåíêî
Â.Ì. - Ìîñêâà: Ýíåðãèÿ.
1980ã.
Ðàçìåùåíî
íà Allbest.ru