Разработка модели 'Мастерской по ремонту машин' в среде MatLab средствами Simulink

  • Вид работы:
    Контрольная работа
  • Предмет:
    Информационное обеспечение, программирование
  • Язык:
    Русский
    ,
    Формат файла:
    MS Word
    287,79 Кб
  • Опубликовано:
    2013-10-28
Вы можете узнать стоимость помощи в написании студенческой работы.
Помощь в написании работы, которую точно примут!

Разработка модели 'Мастерской по ремонту машин' в среде MatLab средствами Simulink

Задание

Мастерская по ремонту машин состоит из цеха ремонта, в который поступают и ремонтируются узлы, и цеха контроля, в котором отремонтированные узлы проверяются и выпускаются из мастерской или направляются на доработку. В цехе ремонта имеются три одинаковых (параллельных) рабочих места, а в цехе контроля находится один контролер.

Узлы попадают в систему через экспоненциально распределенные интервалы времени с математическим ожиданием 10,25 единицы времени. Время ремонта узла имеет эрланговское распределение с математическим ожиданием 22. Проверка узла занимает 6 единиц времени. После проверки узел отправляется на доработку с вероятностью р=0,15. Направленные на доработку узлы становятся в очередь к цеху ремонта.

Продолжительность имитационного прогона составляет 2000 единиц времени.

Цель моделирования - определить следующее:

Средняя занятость рабочих мест.

Средняя занятость контролера.

Среднее число узлов в очереди к цеху ремонта.

Среднее число узлов в очереди к контролеру.

Число отремонтированных узлов.

Число проконтролированных узлов.

Число узлов, отправленных на доработку.

Число готовых узлов.

Число поступивших узлов в «Мастерскую по ремонту машин».

Концептуальная модель

Рассматриваемая система включает в себя следующие объекты:

. Узлы - детали машин, которые поступают в мастерскую для исправления неисправностей.

. Очередь к цеху ремонта - некоторое пространство в мастерской, которое предназначено для тех узлов, которые поступили в мастерскую или были присланы на доработку из цеха контроля, но на данный момент нет свободных рабочих мест.

. Очередь к цеху контроля - некоторое пространство в мастерской, которое предназначено для тех узлов, которые после цеха ремонта отправлены в цех контроля, но в данный момент контролер занят.

. Рабочее место - работник мастерской, осуществляющий ремонт узла.

. Контролер - работник мастерской, осуществляющий проверку отремонтированного узла (осматривает узел и принимает решение: отправить узел на доработку, либо на выход).

Объект

Атрибуты

Узлы

Время поступления узла в мастерскую - время поступления очередного узла (узлы попадают в систему через экспоненциально распределенные интервалы времени с математическим ожиданием 10,25 единицы времени). Время выхода из мастерской - равно сумме времени ожидания ремонта, времени ремонта, времени ожидания контроля, времени контроля, и, если узел отправлен на доработку - времени доработки.

Очередь к цеху ремонта

Число узлов в очереди к цеху ремонта - отражает то число узлов, которое вынуждено ожидать начала ремонта при занятости всех рабочих мест.

Очередь к цеху контроля

Число узлов в очереди к цеху контроля - отражает то число узлов, которое вынуждено ожидать начала контроля при занятости контролера.

Рабочее место

Признак занятости (не занят) - отражает тот факт, что на данном рабочем месте ремонт узла закончен и рабочее место является свободным (не занятым). Время ремонта узла - имеет эрланговское распределение с математическим ожиданием 22.

Контролер

Признак занятости (не занят) - отражает тот факт, что контролер уже закончил проверку узла и на данный момент является свободным. Время проверки узла - проверка узла занимает 6 единиц времени. Решение по узлу (на доработку, готово) - отражает тот факт, направлен ли узел на доработку (узел отправляется на доработку с вероятностью 0,15), либо узел полностью отремонтирован и выпускается из мастерской.


Диаграмма связей.

Рис. 1

Разработка библиотеки функциональных блоков.

Концептуальная модель системы.

Рис. 2

Библиотека блоков

Основные функциональные блоки для построения модели мастерской по ремонту машин.

Наименование элемента: Поступление узлов.

Назначение элемента: Создает (генерирует) поток событий с заданным распределением времени между ними. Используется для имитации потока узлов в мастерскую.

Изображение элемента:

Рис. 3

Описание входов: отсутствует.

Описание выходов:

Количество узлов, поступивших в мастерскую по ремонту машин на текущем шаге интегрирования.

Состояния элемента: элемент может находиться либо в состоянии отсчета запланированного времени поступления очередного узла, либо в состоянии индикации этого события (генерация выходного импульса).

События, на которые реагирует элемент: Элемент не реагирует на внешние события. Единственное внутреннее событие, вызывающее его реакцию - наступление времени свершения очередного события (поступление узла).

Алгоритм функционирования: Генерирует поток событий с заданным распределением интервалов времени между ними. После отсчета заданного интервала времени на выход «Узлы» подается импульс (сигнал о том, что поступил узел) и перезапускается генератор экспоненциально распределенной величины (Эксп_распр) для получения следующего интервала времени.

Блок-схема модели:

Рис. 4

Параметры, устанавливаемые пользователем:- математическое ожидание экспоненциального распределения между поступлениями узлов.

Окно установки параметров:

Рис. 5

Наименование элемента: Очередь к цеху ремонта.

Назначение элемента: Предназначен для организации очереди клиентов к цеху ремонта.

Изображение элемента:

Рис. 6

Описание входов:

Сигнал с рабочего места, генерируется блоком «Рабочее место».

Поступающие узлы, то есть импульсы, генерируемые блоком «Узлы».

Узлы, поступающие на доработку, генерируются блоком «Контролер»

Описание выходов:

Состояния элемента: Элемент находится в стационарном состоянии обработки поступающих узлов.

События, на которые реагирует элемент: Элемент реагирует на поступление нового узла.

Алгоритм функционирования: Поступающие узлы (узлы, которые только поступили в мастерскую и узлы, которые были отправлены на доработку) суммируются и из этой суммы вычитаются узлы, которые уже обработаны в цехе ремонта (после того, как узел в цехе ремонта обработан с рабочего места посылается сигнал «не занят», что означает, что текущий узел обработан). Результат формируется на единственном выходе «очередь к цеху ремонта».

Блок-схема модели:

Рис. 7

Параметры, устанавливаемые пользователем: отсутствует.

Окно установки параметров:

Рис. 8

Наименование элемента: Очередь к цеху контроля.

Назначение элемента: Предназначен для организации очереди клиентов к цеху контроля.

Изображение элемента:

Рис. 9

Описание входов:

Сигнал от контролера, генерируется блоком «Контролер».

Узлы, поступающие от цеха ремонта, генерируются блоком «Рабочее место».

Описание выходов:

Количество узлов, находящихся в очереди к цеху контроля в текущий момент времени.

Состояния элемента: Элемент находится в стационарном состоянии обработки поступающих из цеха ремонта узлов.

События, на которые реагирует элемент: Элемент реагирует на поступление отремонтированного узла из цеха ремонта.

Алгоритм функционирования: Поступающие из цеха ремонта узлы суммируются и из этой суммы вычитаются узлы, которые уже проверены контролером (после того, как узел проверен контролером от контролера посылается сигнал «не занят», что означает, что текущий узел проверен). Результат формируется на единственном выходе «очередь к контролеру».

Блок-схема модели:

Рис. 10

Параметры, устанавливаемые пользователем: отсутствует.

Окно установки параметров:

Рис. 11

Наименование элемента: Рабочее место

Назначение элемента: Ремонт узлов.

Изображение элемента:

Рис. 12

Описание входов:

Состояние очереди к цеху ремонта.

Описание выходов:

Узлы, прошедшие ремонт, становятся в очередь к цеху контроля.

Состояния элемента: Элемент может находиться в состоянии «не занят», когда рабочее место не занято ремонтом узла и может принять к ремонту узел из очереди к цеху ремонта, либо в состоянии «занят», когда на рабочем месте уже производится ремонт узла.

События, на которые реагирует элемент: Элемент реагирует на состояние очереди к цеху ремонта.

Алгоритм функционирования: Блок «Эрланг_распр» генерирует время ремонта узла. После отсчета заданного времени на первый вход AND подается импульс (сигнал о том, что заданное время прошло) и перезапускается генератор «Эрланг_распр» для получения следующего интервала времени. Узлы из очереди к цеху ремонта подаются на второй вход AND. На выходе блока AND мы имеем отремонтированные узлы из цеха ремонта.

Блок-схема модели:

Рис. 13

Параметры, устанавливаемые пользователем:- математическое ожидание эрланговского распределения.

Окно установки параметров:

Рис. 14

Наименование элемента: Контролер.

Назначение элемента: Контроль отремонтированных узлов.

Изображение элемента:

Рис. 15

Описание входов:

Состояние очереди к цеху контроля.

Описание выходов:

Узлы, которые отремонтированы, но все еще неисправны и поэтому отправлены на доработку.

Узлы, которые отремонтированы и успешно прошли контроль. Эти узлы которые выпускаются из мастерской.

Состояния элемента: Элемент может находиться в состоянии «не занят», когда контролер не занят проверкой узла и может принять к проверке узел из очереди к цеху контроля, либо в состоянии «занят», когда контролер уже производит проверку узла. События, на которые реагирует элемент: Элемент реагирует на состояние очереди к цеху контроля.

Алгоритм функционирования: Узел, поступающий из очереди к контролеру задерживается на «Время контроля», затем по этому узлу принимается «решение». Если «решение» сигнал 1 - то узел отправляется на доработку, чтобы получить узлы, которые готовы к выпуску мы инвертируем сигнал на выход «на доработку» и при условии, что узел действительно есть (AND(LO2)) выдаем сигнал на выход «готово».

Блок-схема модели:

Рис. 16

Параметры, устанавливаемые пользователем:- время контроля (проверки) узла.

р - вероятность с которой узлы отправляются на доработку.

Окно установки параметров:

Рис. 17

Вспомогательные функциональные блоки.

Назначение элемента: Генерирует экспоненциально распределенную случайную величину с заданным математическим ожиданием.

Изображение элемента:

Рис. 18

Описание входов:- разрешить генерировать время поступления очередного узла, как только предыдущий отправлен в очередь к цеху ремонта.

Описание выходов:

Сгенерированное время поступления очередного узла (через столько единиц времени поступит следующий узел).

Состояния элемента: элемент находится в состоянии генерации времени поступления очередного узла.

События, на которые реагирует элемент: Элемент реагирует на сигнал о том, что поступивший узел отправлен в очередь к цеху ремонта.

Алгоритм функционирования: MatLab Fcn генерирует интервалы времени между поступлением узлов.

Рис. 19

Блок-схема модели:

Рис. 20

Параметры, устанавливаемые пользователем: отсутствуют.

Окно установки параметров: отсутствует.

Наименование элемента: Эрланговское распределение.

Назначение элемента: Генерирует случайную величину с эрланговским распределением с заданным математическим ожиданием.

Изображение элемента:

Рис. 21

Описание входов:- разрешить генерировать время ремонта очередного узла, как только предыдущий отправлен в очередь к цеху контроля (отремонтирован).

Описание выходов:

Сгенерированное время ремонта очередного узла.

Состояния элемента: элемент находится в состоянии генерации времени поступления очередного узла.

События, на которые реагирует элемент: Элемент реагирует на сигнал о том, что поступивший узел отправлен в очередь к контролеру.

Алгоритм функционирования: MatLab Fcn генерирует время ремонта узла.

Рис. 22

Блок-схема модели:

Рис. 23

Параметры, устанавливаемые пользователем: отсутствуют.

Окно установки параметров: отсутствует.

Наименование элемента: Время контроля.

Назначение элемента: Имитирует время контроля узла.

Изображение элемента:

Рис. 24

Описание входов:- разрешить выдать на выход значение переменной t.

Описание выходов:

Значение переменной t.

Состояния элемента: элемент находится в состоянии ожидания входного импульса.

События, на которые реагирует элемент: Элемент реагирует на сигнал о том, что истекло время t.

Алгоритм функционирования: Как только время t на предыдущем шаге истекло подаем на выход значение переменной t.

Блок-схема модели:

Рис. 25

Параметры, устанавливаемые пользователем: отсутствуют.

Окно установки параметров: отсутствует.

Наименование элемента: Решение.

Назначение элемента: Имитирует решение контролера по узлу. Генерируем случайное число то 0 до 1 и сравниваем его с вероятностью p. Если сгенерированное число меньше или равно р, то узел неисправен и нуждается в доработке, если же сгенерированное число больше р, то узел исправен и выпускается из мастерской.

Изображение элемента:

Рис. 26

Описание входов: отсутствует.

Описание выходов:

Решение по узлу: 1 - узел нуждается в доработке, 0 - узел полностью исправен.

Состояния элемента: элемент может находиться в состоянии, когда узел нуждается в доработке, либо в состоянии, когда узел исправен.

События, на которые реагирует элемент: Элемент не реагирует на внешние события.

Алгоритм функционирования: MATLAB Fcn генерирует случайные числа на интервале от 0 до 1. Затем сравнивает сгенерированное число со значением переменной р, если это число меньше либо равно значению переменной р, то узел неисправен и нуждается в доработке, если же сгенерированное число больше значения переменной р, то узел полностью исправен и готов к выпуску из мастерской. Результат сравнения этих чисел поступает на выход «решение».

Рис. 27

Блок-схема модели:

Рис. 28

Параметры, устанавливаемые пользователем: отсутствуют.

Окно установки параметров: отсутствует.

Наименование элемента: Дискретно-непрерывный интегратор.

Изображение элемента:

Рис. 29

Описание входов:

Интегрируемая величина.

Описание выходов:

Результат интегрирования.

Состояния элемента: элемент находится в состоянии запоминания предыдущего значения результата.

События, на которые реагирует элемент: Входная величина.

Алгоритм функционирования: Значение на выходе элемента «Memory1» (задержка на один шаг интегрирования) складывается с текущим значением входной величины. Результат сложения на следующем шаге появляется на выходе.

Блок-схема модели:

Рис. 30

Параметры, устанавливаемые пользователем: отсутствуют.

Окно установки параметров: отсутствует.

Наименование элемента: Среднее значение.

Назначение элемента: вычисление среднего значения входной величины.

Изображение элемента:

Рис. 31

Описание входов:

Входная величина.

Описание выходов:

Среднее значение входной величины.

Состояния элемента: отсутствуют.

События, на которые реагирует элемент: Входная величина.

Алгоритм функционирования: Интегрирование входной величины и системного (имитационного) времени. Результат деления - среднее значение.

Блок-схема модели:

Рис. 32

Параметры, устанавливаемые пользователем: отсутствуют.

Окно установки параметров: отсутствует.

Наименование элемента: Дискретно - среднее значение.

Назначение элемента: вычисление среднего значения дискретных (одношаговых) величин.

Изображение элемента:

Рис. 33

Описание входов:

Входная величина (импульсы).

Описание выходов:

Среднее значение.

Состояния элемента: отсутствуют.

События, на которые реагирует элемент: Входная величина.

Алгоритм функционирования: Интегрирование с помощью дискретно-непрерывных интеграторов входных импульсов и их количества с последующим делением.

Блок-схема модели:

Рис. 34

Параметры, устанавливаемые пользователем: отсутствуют.

Окно установки параметров: отсутствует.

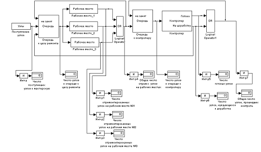
Структурная модель системы

Блок-схема модели

Рис. 35

Описание модели

Модель работы «Мастерской по ремонту машин» состоит из «Узлов», «Очереди к рабочим местам», трех «Рабочих мест», «Очереди к контролеру» и из «Контролера». Сигналы, символизирующие поступление узлов в мастерскую, поступают в «очередь к рабочим местам».

Далее из «очереди к рабочим местам» узлы поступают к «рабочим местам».

Если рабочие места заняты, то узел ждет освобождения какого-либо рабочего места. Если рабочее место свободно, то оно принимает на ремонт один узел. После ремонта узлы поступают в «очередь к контролеру». Если контролер занят, то узлы ждут поступления сигнала об освобождении контролера. Если контролер свободен, то он принимает на контроль один узел, который проверяется время t и по нему дается решение: отправить узел на доработку (в этом случае он становится в очередь к цеху ремонта), либо узел готов к эксплуатации и выпускается из мастерской.

Разработка плана экспериментов

мастерская машина ремонт модель

Для получения интегральных характеристик системы, принимая во внимание широкое использование случайных величин, необходимо провести целый ряд экспериментов (имитационных прогонов) и усреднить результаты при параметрах модели, указанных в задании.

При проведении экспериментов установлены следующие параметры:

Время интегрирования 2000.

Метод интегрирования Dormand-Prince(ode45).

Шаг интегрирования 0,01.

Математическое ожидание между поступлением узлов 10,25.

Математическое ожидание времени ремонта узла 22.

Время контроля узла 6.

Вероятность выбраковки узла 0,15.

Число рабочих мест 3.

Число контролеров 1.

Средняя занятость рабочих мест.

Средняя занятость контролера.

Среднее число узлов в очереди к цеху ремонта.

Среднее число узлов в очереди к контролеру.

Число отремонтированных узлов.

Число проконтролированных узлов.

Число узлов, отправленных на доработку.

Число готовых узлов.

Число поступивших узлов в «Мастерскую по ремонту машин».

Результаты имитационных экспериментов

№ п/п

Число поступивших узлов

Среднее число узлов в очереди к цеху ремонта

Число отрем узлов

Средняя занятость раб. мест

Среднее число узлов в очереди к контр.

Средняя занятость контрол.

Число узлов, отправл. на дораб

Число готов. узлов

1

208

38,26

149

0,9255

1,244

0,9255

25

124

2

201

55,04

124

0,938

1,034

0,938

25

99

3

186

37,91

132

0,934

1,076

0,934

25

107

4

172

19,45

155

0,9225

1,173

0,9225

19

136

5

165

19,4

137

0,9135

1,129

0,932

18

118


Расчет характеристик системы

Графики процессов. Число занятых рабочих мест

Рис. 36

Основные характеристики системы

№ п/п

Среднее число узлов в очереди к цеху ремонта

Число отрем узлов

Средняя занятость раб. мест

Среднее число узлов в очереди к контр.

Средняя занятость контрол.

Число узлов, отправл. на дораб

Число готов. узлов

1

186,4

34,012

139,4

0,9267

1,1312

0,9304

22,4

116,8



Выводы

В ходе курсовой работы была смоделирована и проанализирована в среде Simulink работа «Мастерской по ремонту автомобилей». Были изучены и применены на практике приемы работы со средой моделирования и с программным комплексом MatLab в целом. Так же были рассчитаны заданные параметры системы.

Полученные результаты показывают, что при заданных параметрах рабочие в цехе ремонта не справляются со своей работой и необходимо увеличить количество рабочих мест. Но при увеличении рабочих мест необходимо будет увеличить еще и количество контролеров, либо сократить время проверки узлов.

Похожие работы на - Разработка модели 'Мастерской по ремонту машин' в среде MatLab средствами Simulink

 

Не нашли материал для своей работы?
Поможем написать уникальную работу
Без плагиата!
Без нейросетей!