Проектирование локальной телекоммуникационной сети организации

  • Вид работы:
    Курсовая работа (т)
  • Предмет:
    Информационное обеспечение, программирование
  • Язык:
    Русский
    ,
    Формат файла:
    MS Word
    350,45 Кб
  • Опубликовано:
    2013-05-12
Вы можете узнать стоимость помощи в написании студенческой работы.
Помощь в написании работы, которую точно примут!

Проектирование локальной телекоммуникационной сети организации

Федеральное агентство по образованию

Государственное образовательное учреждение высшего профессионального образования









КУРСОВОЙ ПРОЕКТ

Проектирование локальной телекоммуникационной сети организации по разработке и продаже программных средств


РЕФЕРАТ

Пояснительная записка содержит 28 страниц, 7 рисунков, 3 таблицы.

информационная система, локальная сеть, кабельная система, протокол, маршрутизация, сетевое программное обеспечение, администрирование

Объектом исследования является локальная сеть организации по разработке и продаже программных средств.

Целью курсовой проекта является рассмотрение информационной системы предприятия, выбор размера и структуры сети, проектирование кабельной системы, выбор сетевого оборудования и программного обеспечения, а так же способов администрирования в локальной сети.

В процессе работы была разработана структурная система организации и физическая локальная сеть для нее, а так же произведен анализ стоимости принятых решений.

В результате работы была разработана локальная сеть организации, по разработке и продаже программных средств.


Содержание

Реферат

Введение

. Разработка структурной и инфологической моделей информационной системы организации по разработке и продаже программных средств

. Выбор и обоснование размера и структуры сети

. Выбор кабельной подсистемы сети

. Выбор сетевого оборудования

. Выбор сетевых программных средств и способов сетевого администрирования

. Сетевое взаимодействие между компьютерами локальной сети

. Маршрутизация

. Стоимостная оценка принятых решений

Заключение

Список использованных источников

ВВЕДЕНИЕ

Любой организации для ее успешного функционирования необходима локальная сеть, удовлетворяющая потребностям производства конкретных товаров или услуг. В настоящие время существует большое количество вариантов построения локальных сетей, начиная от разнообразия типов соединений между узлами и заканчивая видами сетевых программных продуктов. Но каждая организация нацелена на решения конкретного круга задач, имеет определенный размер и структуру. Поэтому выбор варианта построения сети является сложной задачей, для решения которой необходимо учитывать все эти факторы. Немаловажный аспект, на который следует обратить внимание, - это финансовая сторона вопроса. Любой бюджет ограничен каким-либо значением, и при выборе решений построения сети важно учитывать это значение.

В данном курсовом проекте приведен анализ функционирования организации по производству и продаже программных средств, в соответствии с которым выбран способ построения локальной сети с учетом стоимостной оценки принятых решений.

1       . Разработка структурной и инфологической моделей информационной системы организации по разработке и продаже программных средств

Цель деятельности организации по разработке и продаже программных средств заключается в предоставлении услуг предприятиям, организациям и частным лицам качественных программных средств. Бизнес-функциями организации являются:

-   разработка алгоритмов и их реализация в виде готовых программных средств;

-       создание и ведение БД, содержащей сведения, необходимые для обеспечения функции реализации готовой продукции.

Рабочие процессы, поддерживающие бизнес-функции следующие:

-   при реализации первой бизнес-функции пользователи-разработчики АРМ осуществляют обмен информацией (алгоритмами и исходными текстами) между собой. Вся информация хранится в электронном виде на файловом сервере. Так же для обеспечения необходимыми информационными ресурсами разработчикам предоставляется возможность доступа и обмена информацией с глобальной вычислительной сетью Internet. Всю информацию о заказах разработчики получают от отдела по работе с клиентами через внутреннюю локальную сеть. Готовые программные продукты на специальной выделенной тестовой машине проходят проверку;

-       при реализации второй бизнес-функции отдела по работе с клиентами (отдел продаж) реализуют функции внесения, хранения, изменения данных в БД, хранимую на сервере, где установлена «1С бухгалтерия». Связь с заказчиками продукции служащие отдела продаж осуществляют через Internet, заказчик сообщает необходимые сведения о необходимом ему программном продукте (выполняемые функции, совместимость), а в ответ получает сведения о стоимости услуги, сроках выполнения и гарантиях. Вся информация помещается в БД на сервер.

Для реализации бизнес-цели организации по производству и продаже программных средств необходимыми элементами являются отдел разработки, отдел продаж и дирекция как инструмент централизованного управления ее деятельностью. Штат отдела разработки предполагает наличие восьми сотрудников, для которых выделено отдельное помещение (комната №1). Штат отдела продаж предполагает наличие трех сотрудников, для которых выделено отдельное помещение (комната №2). Дирекция состоит из главы организации, которая занимает комнату №3. Ответственным за корректное функционирование сети организации является администратор сети, рабочее место которого находится в комнате №1. Все помещения расположены в одном здании на одном этаже и являются соседствующими (см. рисунок 1).

Для выполнения своих функций разработчикам необходим выход в Internet и наличие электронной почты, по средствам которых они смогут получить доступ к любой интересующей их информации по темам реализуемых проектов. Для организации процесса работы необходим так же файловый сервер для хранения основных информационных ресурсов. Одно из АРМ предполагается использовать в качестве тестовой машины для программных средств перед их реализацией.

Для выполнения своих функций сотрудникам отдела продаж необходим выход в Internet и наличие электронной почты, по средствам которых они смогут вести переговоры с клиентами, получать заказы и представлять продукцию своей организации. Вся информация хранится в БД на сервере.

Для организации процесса работы фирмы все компьютеры объединены внутри нее в локальную сеть.

Таким образом, к общим системным ресурсам относятся:

-   файл-сервер;

-       сервер БД;

-       Proxy сервер.

Рисунок 1 - Схема расположения комнат организации

ИС состоит из следующих элементов:

-   автоматизированных рабочих мест (АРМ) разработчиков в количестве семи компьютеров;

-       автоматизированного рабочего места (АРМ) для тестирования готовой продукции;

-       автоматизированных рабочих мест (АРМ) служащих отдела продаж в количестве трех компьютеров;

-       автоматизированного рабочего места (АРМ) администратора сети, на котором установлена операционная система Windows 2003 Server, включающая в себя файловый сервер, proxy сервер, маршрутизатор, и дополнительно установлен сервер БД;

-       автоматизированного рабочего места (АРМ) директора организации;

-       модем ADSL с телефонной линией;

-       16-ти портовый коммутатор.

Структурная модель, на которой изображаются аппаратные компоненты ИС (АРМ, серверы, и другое периферийное оборудование) и физические связи между ними приведена на рисунке 1.

Рисунок 2 - Структурная модель конфигурации системы

2       . Выбор и обоснование размера и структуры сети

Структурная модель отображает совокупность вычислительных средств организации по разработке и продаже программных средств, объединенных в локальную сеть. Локальная сеть представляет собой совокупность сервера и АРМ. В качестве топологии локальной сети выбрана топология «звезда». Выбор обусловлен простотой добавления новых абонентов в сеть, так как в перспективе предполагается рост организации, а, следовательно, и расширение сети. При построении сети по топологии «звезда» отказ одного из абонентов не заметен, что является еще одним плюсом, так как сотрудники в организации работают сравнительно независимо, и в случае необходимости один из абонентов может взять на себя функции другого.

Топология «звезда» предполагает, что все абоненты, подключенные к сети, могут передавать одновременно, однако коммутатор абонент может производить обмен данными только с одним абонентом. Данные, передаваемые одной станцией, доступны только станции получателя сети. Поэтому следует учесть, что при выходе из строя коммутатора, который является общим связующим звеном для всех составляющих локальной сети, влечет за собой недоступность передаваемого ресурса для всех ее составляющих.

Локальная сеть организации состоит из 13 объединенных компьютеров, при чем при ее проектировании предполагается использование шестнадцати портового коммутатора, который позволит в дальнейшем при необходимости расширить сеть.

3       . Выбор кабельной подсистемы сети

Кабельная система - система телекоммуникационных кабелей, проводников, шнуров и пассивного коммутационного оборудования, поддерживающая коммутацию информационного технологического оборудования. Для организации локальной сети был выбран кабель типа неэкранированная витая пара категории 5Е, который изображен на рисунке 3. Выбор обусловлен такими преимуществами как доступность инструментов для установки разъемов (RJ45), удобство прокладки кабеля (гибкий), относительная простота ремонта при повреждении. Кабель UTP категории 5Е обеспечивает поддержку перспективных высокоскоростных сетей. Так как рассматриваемая организация имеет малые размеры, то на такие недостатки кабеля UTP как сравнительно малые допустимые расстояния кабельных соединений не стоит обращать внимания. Так же прокладка кабеля не предусмотрена между зданиями, так как отделы организации расположены в соседних помещениях.

Рисунок 3 - Неэкранированная витая пара

Между рабочими станциями локальной сети кабель прокладывается не прямо (непосредственно), а, проходя через ряд устройств сети - хабы, кроссы, - и заканчивается розеткой. Подобная кабельная сеть называется структурированной. Если в дальнейшем будут перемещения служб и персонала внутри здания из одних помещений в другие, проводку не нужно будет изменять: достаточно аппаратуру из одних помещений перенести в другие и сделать необходимые переключения на кроссировочных панелях. Розетки же во всех помещениях однотипны для всех видов оборудования. На каждое рабочее место устанавливается не менее двух четырехпарных розеток RJ-45. Каждая из них отдельным кабелем категории 5Е соединяется с патч-панелью, установленной в специальном помещении. Патч-панель, или панель соединений, представляет собой группу розеток RJ-45, смонтированных на пластине шириной 19 дюймов. Это стандартный размер для универсальных коммуникационных шкафов - рэков (rack), в которых устанавливается оборудование (концентраторы, серверы, источники бесперебойного питания и т.п.). На обратной стороне панели смонтированы соединители, в которые монтируются кабели. Патч-панель изображена на рисунке 4.

Рисунок 4 - Патч-панель

Унифицированная проводка (4 неэкранированные пары и модуль RJ45) применяется для передачи всех видов сигналов - голоса, данных, видео, мультимедиа и графики. От розетки до компьютера идёт гибкий кабель, называемый "патч-корд" ("patch-cord"). От розеток по коробам жесткий кабель идёт к кросс-панели. К кросс-панели кабель прикрепляется жёстко ("врезается") сзади. Кросс-панель, в свою очередь, крепится к стене. Рядом с кросс панелью расположен сетевой коммутатор. На передней стенке кросс-панели есть пронумерованные выходы, разъёмы, число которых соответствует количеству гнёзд сзади. Кросс-панель соединена с сетевым коммутатором посредством небольших гибких участков кабеля, патч-кордов. Конечным пунктом прокладки всех кабелей является то место, где укреплена кросс-панель, то есть телекоммуникационный шкаф, расположенный в комнате №1. Длина патч-кордов обычно составляет 1-1,5 м. Таким образом, для расчета необходимой длины кабеля нужно измерить расстояние от каждого АРМ до панели коммутатора и просуммировать все значения.

Таблица 1

Требуемая длина кабеля

№ компьютера

2

3

4

5

6

7

8

9

10

11

12

13

Длина провода, м

10

9

8

7

9

8

6

4

1

4,5

6,5

8,5

4


Таким образом, общая требуемая длина кабеля 85,5 метров.

Для защиты кабельной системы от механических повреждений кабель помещается в специальные короба, куда обычно закладываются и кабели электропитания оборудования.

Таким образом, полученная кабельная система состоит из трех подсистем:

-   Подсистема рабочего места. Эта подсистема предназначена для подключения устройств потребителей: компьютеров, терминалов, принтеров и т.п. к локальной сети.

-       Горизонтальная подсистема. Она проложена неэкранированными витыми парами.

-       Подсистема управления. Состоит из панелей с множеством разъемов, соединительных кабелей или шнуров, обеспечивающих переключение цепей.

К основным характеристикам кабельной системы относится ее универсальность, так как в подобной кабельной системе могут функционировать практически все типы локальных сетей, и порты проводки полностью взаимозаменяемы и переключаются механически в подсистеме управления. Второй ее особенностью является избыточность. Это означает, что при проектировании предусмотрены подводы к дополнительным рабочим местам, легкость замены электронного оборудования и другие эксплуатационные преимущества. Структурированная кабельная система, построенная на основе витой пары категории 5Е, имеет очень большую гибкость в использовании.

4       . Выбор сетевого оборудования

Выбор сетевого оборудования является одной из важнейших задач проектирования сети. В качестве сервера необходимо использовать компьютер с достаточно высокой производительностью, большим объемом оперативной памяти и жестких дисков, быстродействующим сетевым адаптером. В данном случае монитор, устройства ввода (клавиатура, мышь) могут быть самыми простыми, так как сервер не предусматривается использовать в качестве рабочего компьютера. Таким образом, была выбрана следующая конфигурация сервера:

-   объем оперативной памяти 2 Гбайт;

-       два жестких диска объемом по 200 Гбайт;

-       сетевой адаптер, поддерживающий скорость до 1 Гбит/с, с шиной PCI 64 разряда;

-       процессор Pentium IV с тактовой частотой 3000 МГц.

При выборе рабочих станций стоит акцентировать внимание на быстродействии процессоров и большом объеме оперативной памяти. Так же для создания комфортных условий работы сотрудников организации следует выбрать качественные мониторы, которые обладают минимальным негативным воздействием на здоровье человека. В соответствии с этими условиями была выбрана следующая конфигурация персонального компьютера для рабочих станций:

-   объем оперативной памяти 512 Мбайт;

-       объем жесткого диска 80 Гбайт;

-       процессор CeleronD, с тактовой частотой 2533 МГц;

-       жидкокристаллический монитор с диагональю 17 дюймов;

-       другие периферийные устройства (мышь, клавиатура).

Более подробно конфигурация представлена в таблице 3.

Для защиты от перебоев в системе питания необходимо предусмотреть наличие источника бесперебойного питания, который при сбое питания переходит на питание подключенного компьютера от аккумулятора и подает специальный сигнал компьютеру, который за короткое время завершает все текущие операции и сохраняет данные на диске. Так как сеть организации имеет небольшие размеры и предусмотрен один сервер, достаточно одного источника бесперебойного питания. При выборе источника главными характеристиками, на которые следует обращать внимание - это максимальная мощность, которую он обеспечивает, и время поддержания им номинального уровня напряжения.

Важное место в локальной вычислительной сети организации занимает коммутационный шкаф. Непосредственного участия в работе сети шкаф не принимает, его главной функцией является защита активного и пассивного оборудования, которое в него устанавливается, от пыли, электромагнитных полей, изменения температуры и механических воздействий. Для обеспечения безопасности информации, хранящейся на сервере, и ограничения доступ к нему посторонних лиц сервер следует установить в запираемый телекоммуникационный шкаф. Такое решение принято в силу ограниченной территории, на которой размешается организация, и, следовательно, невозможности выделения специальной серверной комнаты.

В качестве соединения с сетью Internet выбрано ADSL соединение. Технология ADSL позволяет передавать аналоговые сигналы обычной телефонной связи по той же паре телефонных проводов, которая используется для передачи потока данных. На обоих концах линии аналоговые сигналы отфильтровываются от цифрового высокочастотного сигнала, позволяя использовать обычную телефонную связь одновременно с передачей данных. Для реализации соединения с глобальной вычислительной сетью необходим ADSL модем и телефонная линия.

структурный инфологический информационый сеть

5       . Выбор сетевых программных средств и способов сетевого администрирования

Для управления локальной сетью, ее администрирования, выделен отдельный специалист - администратор, который будет иметь всю информацию о конфигурации сети, распределении ресурсов и следить за корректным использованием сети всеми пользователями. В обязанности администратора входит:

-   создание групп пользователей различного назначения;

-       определение прав доступа пользователей;

-       обучение новых пользователей и оперативная помощь в случае необходимости;

-       контроль дискового пространства сервера сети;

-       защита и резервное копирование данных, борьба с компьютерными вирусами;

-       модернизация программного обеспечения и сетевой аппаратуры;

-       настройка сети для получения максимальной производительности.

В данной сети применяется следующее программное обеспечение:

-   сетевая многозадачная операционная система, установленная на сервере обработки (серверный вариант);

-       операционная система, установленная на всех автоматизированных рабочих местах (вариант для рабочих станций);

-       ПО стека протоколов TCP/IP;

-       ПО поддержки сетевой СУБД;

-       ПО автоматизированной обработки информации.

В качестве операционной системы, которая установлена на сервере, выбран продукт компании Microsoft - Windows 2003 Server. Выбор обусловлен необходимостью обеспечения безопасности ресурсов сети. Windows 2003 Server использует ряд механизмов для обеспечения безопасности локального компьютера от злоумышленных программ, идентификации пользователей и обеспечения безопасности передачи данных по сети. Основные механизмы безопасности Windows 2003 Server перечислены ниже. В их числе:

-   тотальный контроль за доступом предотвращает подключение ненадежных компьютеров к безопасным системам при помощи фильтрации пакетов и трансляции сетевых адресов, гарантируя, что разрешенные сеансы пользователей не могут быть сфальсифицированы, украдены или мистифицированы, и предотвращает нарушение программой адресного пространства другой программы при помощи защиты памяти;

-       определение личности пользователя при помощи методов аутентификации;

-       запрет или разрешение доступа на основе личности пользователя, при помощи списков контроля доступа для объектов с управляемой безопасностью посредствам шифрования файлов, путем ограничения доступа к возможностям операционной системы, которые могут быть использованы неправильно, при помощи групповой политики и путем авторизации удаленных пользователей, подключенных через Интернет или удаленное соединение;

-       запись деятельности пользователя посредством журналов аудита особенно значимой информации и журналов соединений для публичных служб, таких как Web и FTP;

-       минимизация риска неправильной конфигурации путем группировки похожих механизмов безопасности в политики и последующего применения этих политик к группам похожих пользователей или компьютеров.

На всех рабочих станциях, подключенных к серверу, целесообразно установить операционную систему Windows XP.

В качестве программного обеспечения сетевой СУБД выбран сервис MS SQL Server 2005, работающий под управлением операционной системы Windows 2003 Server.

В качестве программного обеспечения автоматизированной обработки информации в локальной сети установлена программа «1С бухгалтерия».

6       . Сетевое взаимодействие между компьютерами локальной сети

Семейство протоколов TCP/IP объединяет практически любые компьютеры и обеспечивает сетевое взаимодействие между компьютерами.

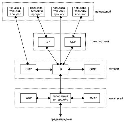
Сетевые протоколы разработаны по уровням, причем каждый уровень отвечает за собственную фазу коммуникаций. Семейство протоколов TCP/IP - это комбинации различных протоколов на различных уровнях. TCP/IP состоит из четырех уровней, как показано на рисунке 5.

Рисунок 5 - Четыре уровня протоколов TCP/IP

Каждый уровень несет собственную функциональную нагрузку. Канальный уровень или уровень сетевого интерфейса включает в себя драйвер устройства в операционной системе и соответствующую сетевую интерфейсную плату в компьютере. Вместе они обеспечивают аппаратную поддержку физического соединения с сетью (с кабелем). Сетевой уровень, иногда называемый уровнем межсетевого взаимодействия, отвечает за передачу пакетов по сети. Маршрутизация пакетов осуществляется именно на этом уровне. Транспортный уровень отвечает за передачу потока данных между двумя компьютерами и обеспечивает работу прикладного уровня, который находится выше. Прикладной уровень определяет детали каждого конкретного приложения.

На рисунке 6 показано взаимодействие протоколов различных уровней.и UDP - два основных протокола транспортного уровня. Оба используют IP в качестве сетевого уровня.осуществляет надежную передачу данных между двумя компьютерами. Он обеспечивает деление данных, передающихся от одного приложения к другому, на пакеты подходящего для сетевого уровня размера, подтверждение принятых пакетов, установку тайм-аутов, в течение которых должно прийти подтверждение на пакет, и так далее.отправляет и принимает датаграммы (datagram) от одного компьютера к другому. Датаграмма это блок информации (определенное количество байт информации, которое указывается отправителем), который отправляется от отправителя к приемнику. С точки зрения безопасности, в отличие от TCP, UDP является ненадежным протоколом. Не существует гарантий, что датаграмма достигнет конечной точки назначения. За надежность передачи данных при использовании датаграмм отвечает прикладной уровень.это основной протокол сетевого уровня. Он используется как TCP, так и UDP. Каждый блок информации TCP и UDP, который передается по объединенным сетям, проходит через IP уровень в каждой конечной системе и в каждом промежуточном маршрутизаторе. На рисунке 6 показаны приложения, которые имеют прямой доступ к IP. С точки зрения безопасности IP ненадежный протокол, предоставляющий сервис доставки датаграмм без соединения, то есть не существует гарантии того, что IP датаграмма успешно достигнет пункта назначения. IP не подтверждает доставку данных и не контролирует целостность полученных данных. Однако IP предоставляет определенный сервис обработки некоторых событий. Когда, например, возникает ситуация временного переполнения буфера у маршрутизатора, IP применяет простой алгоритм обработки ошибок: он отбрасывает датаграмму и старается послать ICMP сообщение отправителю. Следовательно, любая требуемая надежность должна быть обеспечена верхними уровнями (например, TCP).является дополнением к протоколу IP. Он используется IP уровнем для обмена сообщениями об ошибках и другой жизненно важной информацией уровня IP. Несмотря на то, что ICMP используется в основном IP уровнем, приложения также могут получить доступ к ICMP.

Протокол управления группами Internet (IGMP - Internet Groupe Management Protocol), используется при групповой адресации: при этом UDP датаграммы рассылаются нескольким получателям.

Протокол определения адреса (ARP - Address Resolutio№Protocol) и обратный протокол определения адреса (RARP - Reverse Address Resolutio№Protocol) это специализированные протоколы, используемые только с определенным типом сетевых интерфейсов. Они применяются для преобразования формата адресов, используемого IP уровнем в формат адресов, используемый сетевым интерфейсом.

Рисунок 6 - Различные протоколы на разных уровнях семейства протоколов TCP/IP

7       . Маршрутизация

Главная функция протокола IP - это маршрутизация. В соответствии с общей схемой, IP может получать датаграммы от собственных уровней TCP, UDP, ICMP и IGMP, которые необходимо отправить, однако датаграммы могут быть приняты с какого-либо сетевого интерфейса (эти датаграммы должны быть перенаправлены). IP уровень имеет в памяти таблицу маршрутизации, которую он просматривает каждый раз при получении датаграммы, которую необходимо перенаправить.

Сведения о маршрутах пакетов для сети организации сведены в таблице 2 «Таблица маршрутизации». Таблица составлена в соответствии с рисунком 7.

Каждый пункт таблицы маршрутизации содержит следующую информацию:

-   IP адрес назначения. Это может быть как полный адрес хоста или адрес сети. Адрес хоста имеет ненулевое значение идентификатора хоста и указывает на один конкретный хост, тогда как адрес сети имеет идентификатор хоста, установленный в 0, и указывает на все хосты, включенные в определенную сеть;

-       маска подсети;

-       IP адрес маршрутизатора следующей пересылки, или, иначе говоря, IP адрес непосредственно подключенной сети. Маршрутизатор следующей пересылки принадлежит одной из непосредственно подключенных сетей, в которую сеть может отправить датаграммы для их доставки. Маршрутизатор следующей пересылки это не конечный пункт назначения, однако он принимает датаграммы, которые посылает сеть, и перенаправляет их в направлении конечного пункта;

-       метрика;

-       указание на то, на какой сетевой интерфейс должны быть переданы датаграммы для передачи.маршрутизация осуществляется по принципу пересылка-за-пересылкой. Как видно из таблицы маршрутизации, IP не знает полный маршрут к пункту назначения (за исключением тех пунктов назначения, которые непосредственно подключены к посылающему хосту). Все что может предоставить IP маршрутизация - это IP адрес маршрутизатора следующей пересылки, на который посылается датаграмма. При этом делается предположение, что маршрутизатор следующей пересылки ближе к пункту назначения, чем посылающий хост. Также делается предположение, что маршрутизатор следующей пересылки напрямую подключен к посылающему хосту.

Таким образом, IP маршрутизация осуществляет следующие действия:

-   осуществляется поиск в таблице маршрутизации, при этом ищется пункт, который совпадет с полным адресом пункта назначения (должен совпасть идентификатор сети и идентификатор хоста). Если пункт найден в таблице маршрутизации, пакет посылается на указанный маршрутизатор следующей пересылки или на непосредственно подключенный интерфейс (в зависимости от поля флагов). Как правило, так определяются каналы точка-точка, при этом другой конец такого канала, как правило, является полным IP адресом удаленного хоста;

-       осуществляется поиск в таблице маршрутизации пункта, который совпадет, как минимум, с идентификатором сети назначения. Если пункт найден, пакет посылается на указанный маршрутизатор следующей пересылки или на непосредственно подключенный интерфейс. Маршрутизация ко всем хостам, находящимся в сети назначения, осуществляется с использованием этого единственного пункта таблицы маршрутизации.

-       в таблице маршрутизации ищется пункт, помеченный "по умолчанию". Если пункт найден, пакет отсылается на указанный маршрутизатор по умолчанию.

Если ни один из шагов не дал положительного результата, датаграмма считается недоставленной. Если недоставленная датаграмма была сгенерирована данным хостом, то возвращается ошибка "хост недоступен" или "сеть недоступна". Этот код ошибки возвращается приложению, которое сгенерировало датаграмму.

Процесс поиска в таблице маршрутизации, определение интерфейса, куда будет послан пакет, называется механизмом маршрутизации.

Таблица 2

Таблица маршрутизации

IP адрес назначения

Маска

IP адрес маршрутизации

Метрика

Сетевой интерфейс

127.0.0.0

255.0.0.0

127.0.0.1

*

lo

192.168.29.0

255.255.255.0

192.168.29.1

1

Eth

0.0.0.0

0.0.0.0

80.4.11.12

1

ADSL


Первая строка таблицы указывает фиктивный интерфейс lo «ссылка самого на себя». Данные не передаются по сети, а возвращаются модулям верхнего уровня, как только что принятые. Адрес 127.0.0.1 - это хост, использующийся для проверки сетевого программного обеспечения.

Вторая строка описывает сеть, к которой подключена сетевая карта маршрутизатора.

Третья строка указывает маршрут по умолчанию. Любые адреса, не входящие в диапазоны, перечисленные в строках 1 и 2, будут направляться по этому маршруту. В данном случае в сеть Internet через маршрутизатор 80.4.11.12.

Рисунок 7 - Схема для построения таблицы маршрутизации

8       . Стоимостная оценка принятых решений

После обзора всех необходимых элементов для построения локальной сети необходимо произвести стоимостную оценку принятых решений, то есть в соответствии с ценами на данный период времени составить смету. Все необходимое сетевое оборудование, сетевые программные средства и цены на них приведены в таблице 3.

Таблица 3

Стоимость необходимого оборудования

Оборудование

Количество

Цена за единицу товара

Цена

Сервер

Office Server SL <PN41194> P4 3000/E7230/DDR2 1024x2/200x2HSwap/SVGA/DVD-CDRW/FDD/GbLAN/

1

31185

31185р.

1

3 983

3 983

Клавиатура Genius KB-06X Delux White <PS/2, 3кн.ACPI, +подст.для запястий>

1

166

166

Мышь Genius NetScroll+ <2кн.+1Scroll, PS/2>

1

65

65

Рабочая станция

110 <PN41375> CeleronD 2533/512/80000/ i865/SVGA/FDD/Lan/Sound

12

7 253

87 036

Монитор 17" Samsung 713BM (TSE) TFT

12

7 112

85 344

Клавиатура Genius KB-21e Scroll <PS/2, Silver+Black, 21доп.кн., колесо Scroll>

12

407

4 884

Мышь Genius NetScroll+ Traveler <оптич, 2кн.+1Scroll, PS/2>

12

224

2 688

Коммуникационное оборудование

Модем Zyxel P 660RU EE Annex A

1

1 739

1 739

Коммутатор L1 GSW-1652T 16 port 10/100/1000 19"

1

4 929

4 929

Кабель Cable UTP 5e level (100m) Taiwa№(Holdkey) (Lan)

86 м

984

984

Кабель Patch cord UTP 5 level 1m

27 м

14

378

Разъем RJ-45 8P8C для сети кат.5e со вставкой

52

6

312

Короб 20х 10 <Турция > 2м

86 м

24

1032

Патч панель UTP, 16 портов RJ45, 5е, 19", 1U

1

593

593

Программное обеспечение

Windows 2003 Server St Russia№SP1 +5 clt

1

17 070

17 070

Программное обеспечение Windows Office SB Editio№2003 Russian

1

7 055

7 055


Таким образом, общие затраты на построение локальной сети составляют 249 443 рубля, что удовлетворяет бюджету организации. При попытке сократить расходы резко ухудшается производительность сети и, следовательно, всей организации, что влечет за собой снижение дохода. Тем самым, не имеет смысла экономить при разработке сети в настоящее время, так как это может повлечь большие расходы в дальнейшем.

ЗАКЛЮЧЕНИЕ

В результате проведенного анализа организации по разработке и продаже программных средств, были рассмотрены и описаны всевозможные процессы, происходящие в организации в процессе ее функционирования. В соответствии с этим анализом был сделан вывод о необходимости построения локальной сети.

В ходе работы над курсовым проектом была разработана кабельная система, выбрано сетевое оборудование и необходимые программные средства для функционирования сети. Так же был установлен порядок администрирования сети, сформированы таблицы маршрутизации. Итогом выполнения проекта является разработанная локальная сеть для организации по производству и продаже программных средств с полной стоимостной оценкой принятых решений.



СПИСОК ИСПОЛЬЗОВАННЫХ ИСТОЧНИКОВ


1. Мали В.А. - Проектирование локальной телекоммуникационной сети организации: Методические указания к курсовому проекту по дисциплине «Системы и сети передачи информации» - Издательство Пензенского государственного университета: Пенза, 2006 - 35с.

. Брежнев А.Ф., Смелянский Р.Л. Семейство протоколов TCP/IP М.: Высш. шк., 2001. - 320с.

. Комер Д.. Межсетевой обмен с помощью TCP/IP- С. Петербург.: Питер., 2000. - 240с.

. Олифер В., Олифер Н.. Сетевые операционные системы - С. Петербург.: Питер., 2003. - 544с.

Гальперович Д.Я. - Тенденции развития проводки для ЛВС. Статья - Сети, 2004, №5, с. 44-51.

Похожие работы на - Проектирование локальной телекоммуникационной сети организации

 

Не нашли материал для своей работы?
Поможем написать уникальную работу
Без плагиата!
Без нейросетей!