Бурение инженерно-геологической скважины

  • Вид работы:
    Курсовая работа (т)
  • Предмет:
    Геология
  • Язык:
    Русский
    ,
    Формат файла:
    MS Word
    114,13 Кб
  • Опубликовано:
    2013-08-28
Вы можете узнать стоимость помощи в написании студенческой работы.
Помощь в написании работы, которую точно примут!

Бурение инженерно-геологической скважины

Федеральное агентство по образованию Российской Федерации

Санкт-Петербургский государственный горный университет

Кафедра технологии и техники бурения скважин










КУРСОВОЙ ПРОЕКТ

По дисциплине: Буровые станки и бурение скважин

Тема: Бурение инженерно-геологической скважины


Автор: студент гр. _РМ-08-1394

Карпов Г.В.

Руководитель проекта к.т.н. - Дмитриев




Санкт-Петербург

год

АННОТАЦИЯ

Целью курсового проекта является закрепление и углубление знаний, полученных при изучении курса «Буровые станки и бурение скважин»; развитие навыков самостоятельной работы со специальной и справочной литературой; приобретение опыта проектирования буровых работ, решения инженерно-геологических задач. Работа содержит 25 страниц и приложения.

SUMMARY

purpose of an academic year project is fastening and a deepening of the knowledge received at studying of a rate « Chisel machine tools and drilling of chinks »; development of skills of independent work with special and reference books; purchase of experience of designing of chisel works, decisions of engineering -geological problems. This work contents 25 page and figures.

ВВЕДЕНИЕ

При инженерно-геологических изысканиях основным видом работ являются буровые работы, т. к. бурение скважины позволяет непосредственно получить необходимую информацию о породах, слагающих данную территорию. Также при помощи буровых скважин можно получить инженерно-геологические и гидрогеологические характеристики исследуемого участка, используя другие методы - геофизические, полевые, опытные и другие. К наиболее важным особенностям инженерно-геологическим скважинам могут быть отнесены следующие:

1. небольшая глубина (которая определяется видом проектируемого сооружения и геологическими условиями);

2. незначительное различие в диаметрах скважин; диаметр скважин определяется только видом опробования;

3. из скважин производится непрерывный отбор керна, при этом должен обеспечиваться максимально возможный выход керна;

4. из скважин должен производится непрерывный или поинтервальный отбор образцов (монолитов) грунта со сложением, близким к природному;

5. в скважинах проводятся различные опытные работы, которые по времени бывают более продолжительные, чем сам процесс бурения;

6. по завершении работ в обязательном порядке должен производится тампонаж скважин с целью ликвидации искусственных каналов и пустот для циркуляции грунтовых вод;

7. чрезвычайное разнообразие условий бурения скважин, разбросанность объектов изысканий и др.

Эти особенности необходимо учитывать при проектировании и организации буровых работ при инженерно-геологических изысканиях.

ЛИТОЛОГИЧЕСКИЙ РАЗРЕЗ. Территория данного участка представлена следующими породами:

·   Суглинки и супеси 0-10 м,

·   Мергели 10-90 м,

·   Песчаник с кремнистым цементом 90-120 м,

·   Глинистые сланцы и глины 120-160 м,

·   Известняки окремнелые 160-330 м,

·   Железистые кварциты 330-480 м,

·   Амфиболиты 480-500 м.

ОТБОР КЕРНА. Отбор керна ведется непрерывно на глубинах 328-482м двойной колонковой трубой ТДТ. Будут отбираться пробы железистых кварцитов.

КАТЕГОРИЯ ПОРОД ПО БУРИМОСТИ. Совокупность физических свойств горных пород определяет их буримость, способность горных пород сопротивляться проникновению в них породоразрушающего инструмента. В таблице 1 представлена классификация указанных выше пород по буримости.

Таблица 1. Классификация пород по буримости

Породы

Категории по буримости

Суглинки и супеси

I

Мергели

III

Песчаник с кремнистым цементом

VI

Глинистые сланцы и глины

 IV

Известняки окремнелые

VIII

Железистые кварциты

VIII

Амфиболиты

IX


Бурение ведется в породах I-IX категорий по буримости.

буровой скважина керн

ВЫБОР СПОСОБА БУРЕНИЯ

Под способом бурения понимается совокупность следующих процессов и параметров: собственно процесс бурения, тип породоразрушающего инструмента, особенности привода, способ удаления продуктов разрушения, характер получаемых образцов, их транспортировка на поверхность и некоторые другие.

Способ бурения выбирается в зависимости от целей изысканий, свойств проходимых грунтов и глубины скважины.

По своему назначению скважина является разведочной, а по глубине бурения - глубокой. Для данного случая более всего подходит колонковый способ бурение, т. к. большое внимание уделяется отбору качественных монолитов в рудном теле, а именно в кварцитах.

Основные преимущества колонкового бурения:

·   Возможность прохождения скважин почти во всех разновидностях горных пород;

·   Получение керна с незначительными нарушениями природного сложения грунтов;

·   Сравнительно большие глубины бурения;

·   Хорошая освоенность бурения;

·   Относительно большой выпуск промышленностью высокопроизводительных самоходных и стационарных буровых станков.

Среди недостатков колонкового бурения существенным является малый диаметр скважины, который во многих случаях не позволяет производить гидрогеологические исследования и испытания грунтов штампами, а также во всех породах получать 100%-ный выход керна и качественные образцы рыхлого грунта для лабораторных исследований.

ВЫБОР СПОСОБА ПРОМЫВКИ

Очистные агенты предназначены для очистки забоя от шлама (мелких частиц разрушенной породы) и охлаждения породоразрушающего инструмента в процессе бурения.

Очистные агенты представляют собой дисперсные системы, состоящие из дисперсной или твердой фазы и дисперсионной среды, представленной жидкой или газообразной фазами. В качестве дисперсионной среды будем использовать воду.

Существует четыре схемы циркуляции очистного агента: прямая, обратная, призабойная (местная) и комбинированная. Выбираем наиболее распространенную - прямую циркуляцию.

При прямой циркуляции очистной агент подается под давлением с поверхности по колонне бурильных труб к забою и от забоя по кольцевому каналу между бурильными трубами и стенками скважины к поверхности. При этом продукты разрушения (шлам) выносятся на поверхность.

В литологическом разрезе представлены относительно устойчивые породы, исключая первые 10 метров скважины и слоя глинистых сланцев и глин, поэтому будет применятся обычная техническая вода, а в сложных участках глинистый раствор.

В результате многократной циркуляции промывочной жидкости происходит вынос частиц шлама на поверхность. Крупные частицы обычно оседают в желобах и отстойниках, а мелкие частицы вновь попадают с промывочной жидкостью в скважину. Загрязнение раствора существенно снижает качество промывочной жидкости.

Следовательно необходимо очищать промывочную жидкость от бурового шлама. Будем применять естественный метод очистки, осуществляемый с помощью желобной системы и отстойников.

Желоба обычно прокладываются непосредственно в грунте или изготавливаются из досок или листового железа. Сечение желобов 200x300 мм, длина от 15 до 20 м. Оседание частиц породы происходит под действием силы тяжести.

         ВЫБОР КОНСТРУКЦИИ СКВАЖИНЫ

        

Конструкция скважины определяется способом бурения, геологическими условиями и целью ее назначения. Проектирование скважины включает в себя «определение конечного диаметра бурения, диаметров скважины на каждом из интервалов, их длины, а также диаметра длины, глубины посадки, способа заделки башмака обсадных колонн, участков тампонирования, цементации зон осложнений, что является первым шагом в проектировании технологии бурения, поскольку определяет все последующие элементы технологии»

Проектируемая глубина бурения скважины составляет 500м. Конечный диаметр нам известен: Dк=76 мм. С учетом необходимого диаметра керна и запаса на непредвиденные осложнения.

ОБСАДНЫЕ ТРУБЫ

Обсадные трубы используются в рыхлых и мягких породах для искусственного закрепления устья и стенок скважин, препятствующего их обрушение, а также для направления ствола скважины. Для укрепления стенок скважин применяют обсадные трубы ниппельного и муфтового соединения. Длина труб изменяется от 1,5 до 9 м. при погружении нижняя часть обсадных труб оборудуется башмаком.

Первые 10 метров скважины сложены очень неустойчивыми породами и будут обсаживаться полностью, эти же трубы будут использоваться как направляющие.

Исходя из конечного диаметра и необходимости обсадки трех слоев (0-10 м, 10-90м и 120-160 м), подбираем диаметры обсадных труб.

Конечный диаметр скважины 76 мм, бурить этим диаметром начинаем после слоя глинистых сланце с глубины 120 метров. Слой сланцев обсаживаем из-за неустойчивости пород и возможности притока грунтовых вод в скважину из глинистых горизонтов. Для прохождения конечного диаметра 76 мм выбираем обсадные трубы с внешним диаметром 89 мм и толщиной стенки 5 мм. Диаметр породоразрушающего инструмента под такие трубы 93 мм. Далее подбираем обсадные трубы для слоя мергелей. С условием проходжения в них породоразрушающего инструмента диаметром 93 мм, этому условию соответствует труба с внешним диаметром 108 мм и толщиной стенки 5 мм. Породоразрушающий инструмент под такие трубы имеет диаметр 112 мм. Наконец для обсадки слоя 0-10 м с условием прохождения инструмента диаметром 112 мм выбираем трубы с внешним диаметром 127 мм и толщиной стенки 5 мм. Эти же трубы будут направляющими. Диаметр породоразрушающего инструмента под эти трубы 132 мм.

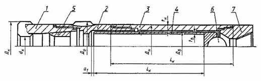
КОЛОНКОВЫЕ ТРУБЫ

Колонковые трубы предназначены для приема керна, его последующей транспортировки и поддержания заданного направления ствола скважины в процессе бурения. Как и обсадные трубы, колонковые трубы бывают двух видов - ниппельного соединения и безниппельного. Колонковые. В данном случае будет использоваться двойная колонковая труба внешним диаметром 76 мм. Параметры двойных колонковых труб типа ТДТ (рисунок ) В миллиметрах

Наименование параметра








Наружный диаметр расширителя (калибратора) по резцам Dp



76,4



Наружный диаметр коронки (по резцам) Dк



76,0



Внутренний диаметр коронки (по резцам) dк, не более



57,0



Наружный диаметр наружной колонковой трубы Dн



73,0









Наружный диаметр внутренней керноприемной трубы Dв



63,0



Толщина стенки внутренней керноприемной трубы tв



1,5



Длина наружной трубы Lн



3000-4500



Длина керноприемной трубы Lк, не менее



2500



Зазор по длине между концом невращающейся керноприемной трубы и вращающимися частями колонкового набора a1



1,0




- коронка; 2 - расширитель; 3 - наружная колонковая труба; 4 -внутренняя керноприемная труба; 5 - кернорвательное кольцо; 6 - шаровая пята; 7 - верхний переходник

ПОРОДОРАЗРУШАЮЩИЙ ИНСТРУМЕНТ

Бурение ведем с помощью твердосплавных коронок. Тип коронки определяем, исходя из осевой нагрузки на коронку, которая прямо пропорциональна твердости пород.

Для бурения в суглинках и супесях от поверхности (0 м) до глубины 10 м выбираем коронку М1 с наружным диаметром 132 мм. Для бурения в мергелях - от глубины 10 м до 90 м выбираем коронку М2 с наружным диаметром 112 мм. Далее для бурения в песчанике с кремнистым цементом - от глубины 90 м до 120 м выбираем коронку СА1 с наружным диаметром 93 мм, в последствии для бурения глинистых сланцев с глубины 120 до глубины 160 м используем коронки СМ3 диаметром 93 мм. Для бурения в известняке окремнелом, железистом кварците и амфиболите от глубины 160 м до 500 м выбираем коронку 14АЗ с наружным диаметром 76 мм.

В таблице 2 указаны основные параметры бурения твердосплавными и алмазными коронками.

Таблица 2. Основные параметры бурения твердосплавными и алмазными коронками

Тип коронки

Наружный диаметр коронки, мм

Осевая нагрузка на коронку, кН

Частота вращения снаряда, об/мин

Расход промывочной жидкости, л/мин

М1

 132

1.68

128 - 170

132

М2

112

7.20 - 8.40

205 - 267

157

СА1

93

6.40 - 8.00

229 - 297

93

СМ3

93

2.24 - 2.80

172 - 229

130

14А3

76

8.00 - 13.00

400 - 700


Также основные параметры можно рассчитать по следующим формулам.

1. Осевая нагрузка на забой:

Р=Руд·m, где

Руд - нагрузка на один резец из группы основных, даН;

m - количество основных резцов.

2. Частота вращения:

, где

ν - окружная скорость коронки,

 - средний диаметр коронки,

- наружный диаметр коронки,

D2 - внутренний диаметр коронки по боковым резцам.

1. Расход промывочной жидкости:

=Vуд·D1, где

Vуд - удельный объем жидкости исходя из расчета скорости восходящего потока не менее 0,5-0,8 м/сек,

D 1- наружный диаметр коронки по боковым резцам, мм.

ВЫБОР БУРОВОЙ УСТАНОВКИ

Буровую установку выбираем исходя из предельных глубины и диаметра бурения, а также насоса входящего в комплект. Мощность установки должна соответствовать необходимой для бурения, и даже превышать ее на случай непредвиденных осложнений. Не следует выбирать установку без запаса мощности, так как при возникновении аварийной ситуации мощности может не хватить для ее ликвидации, что приведет к серьезным негативным последствиям.

Для нашей скважины подойдёт буровая установка УКБ-6.

Характеристики установки УКБ-6:

Глубина бурения алмазными коронками - 1200 м.

Грузоподъёмность на крюке - 8 т.

Диаметр скважин от 151 до 59 мм.

Диапазон частоты вращения при вращательном бурении от 100 до 1500 об/мин.

Диапазон углов наклона вращателя от горизонта 75 - 90 градусов.

Скорость подъёма бурового снаряда от 0.32 до 2.0 м/с.

Длина свечи 14 метров.

Мощность электродвигателя станка 40 кВт.

Также будет использоваться насосная установка НБ4 - 320/60.

СПУСКО-ПОДЬЕМНЫЙ ИНСТРУМЕНТ

Спуско-подъемный инструмент применяется для выполнения операций по наращиванию бурильной колонны, ее спуску и подъему, а также операций с обсадной колонной.

Этот инструмент и механизмы могут составлять специальную единую систему, встроенную в определенный станок и обеспечивать полную автоматизацию или механизацию операций. Однако более широко применяют универсальный инструмент, который подходит к различным буровым станкам и бурильным трубам. Номенклатура инструмента определяется типом станка - шпиндельного, роторного или с подвижным вращателем. Для последних, например, может в ряде случаев не требоваться трубный элеватор, так как его функции выполняет сам подвижный вращатель. Различают инструмент для гладкоствольной бурильной колонны и для колонны с прорезями в замковыхсоединениях.

Основным показателем характеристики спуско-подъемного инструмента служит его грузоподъемность, которая должна соответствовать максимальной грузоподъемности лебедки бурового станка на прямом канате с увеличением на кратность применяемой талевой системы.

РАСЧЕТ ТАЛЕЕВОЙ СИСТЕМЫ

Выбор талевой системы.

Выбор талевой системы начинают с выбора каната. Разрывное усилие каната определяют по формуле:

=mI PЛ, Н;

Где:mI=3-3.5-запас прочности,

РЛ- грузоподъемность лебедки;=3,5*32=112 кН.

Таким образом, по ГОСТу3077-69 выбираем канат 15,0-Г-1-СС-Л-Н-170

Где: 15,0- диаметр каната, Г - грузовой, 1- марка проволоки; оцинкован по группе СС; Л - левой крестовой свивки; Н - нераскручивающийся с разрывным усилием маркировочной группы по временному сопротивлению разрыву 1700 мПа.

Минимальное количество роликов в талевом блоке определяют из выражения:

≥Q/2PЛ≥20/2*32=0,3 принимаем к=1

в кронблоке к1=к+1=1+1=2.

КИП для контроля параметров режимов бурения установки УКБ-6 применяют те приборы, которые установлены на станке и насосе (дрилометры, манометры, электроприборы).

СПОСОБЫ И МЕТОДЫ ПОВЫШЕНИЯ ВЫХОДА КЕРНА

Все способы и методы повышения выхода керна при колонковом механическом вращательном бурении базируются на трех подходах:

. устранение или ограничение разрушающих побочных воздействий в процессе бурения;

. сохранение разрушенного кернового материала в керноприемном устройстве;

. зашита керна от побочных разрушающих воздействий технологического процесса бурения.

Некоторые способы повышение выхода керна сочетают в себе разные подходы.

Наиболее распространены в современной технологической практике способы, базирующиеся на сохранении разрушенного кернового материала и получения полноценной керно-шламовой пробы, содержащей все первичные компоненты опробуемого минерального вещества - такой подход дает более высокую точность химического опробования, чем подход, основанный на предотвращении разрушения пробы.

Сохранение разрушенного вещества достигается путем создания на забое местной обратной циркуляции очистного агента.

Достоинство обратной призабойной циркуляции промывочной жидкости заключается прежде всего в том, что интенсивный поток очистного керна, охлаждающий коронку и очищающий забой от шлама проводится к забою не со стороны уже сформированной керновой пробы, а из затрубного пространства. Дросселируя через каналы коронки, он теряет гидродинамический напор, а попадая в свободное пространство керноприемной трубы, теряет скорость до уровня, меньшего критической скорости, соответствующем скорости естественного осаждения мелких частиц породы в жидкости. Таким образом, все частицы вещественной пробы независимо от степени разрушенности и величины остаются в керносборном устройстве.

Итак, с одной стороны, происходит устранение разрушающего гидродинамического воздействия прямого потока очищенного агента на керн, а с другой - улавливание всех частиц горной породы, подвергшейся разрушению в процессе бурения.

Однако данный способ отличается весьма низкой производительностью и практически непригоден для бурения крепких пород алмазными коронками.

Схема работы эжекторного снаряда, использующего для создания обратной призабойной циркуляции жидкости эжекционный эффект - эффект понижения давления вблизи струи жидкости, движущейся с повышенной скоростью.

Основным элементом эжекторного снаряда является эжектор, состоящий из сопла и диффузора. Эжекторные снаряды оснащаются алмазными коронками и предназначены для бурения в горных породах, содержащих наряду с мягкими, легко разрушаемыми минералами твердые и очень твердые минералы и пропластки, а также для опробования очень твердых, но сильно трещиноватых и хрупких пород и руд.

Недостатком эжекторного снаряда является обратная зависимость скорости потока обратной циркуляции от массы перемещаемого при этом шлама - эффективность работы эжекторного насоса снижается по мере насыщения потока очистного агента шламом.

Для опробования мягких пород, а также крепких и средней крепости пород и руд, образующих в следствии своих особенностей большое количество шлама и частиц разрушенного керна, используются пакерные снаряды, которые формируют поток обратной призабойной циркуляции за счет создания искусственных препятствий нормальной прямой циркуляции очистного агента.

Пакерные снаряды, предназначены для использования в скважинах с относительно устойчивыми, ровными стенками, имеют в качестве основного рабочего элемента пакер - устройство уплотнения затрубного пространства в верхней своей части - эластичную камеру. Недостатком является быстрое разрешение гидромеханического пакера, подвергающегося в процессе бурения абразивному износу.

Для бурения легко растворимых пород, а также при опробовании крепких трещиноватых горных пород в условиях интенсивного поглощения промывочной жидкости применяется эрлифтная обратная промывка.

К техническим средствам, обеспечивающим защиту керна от разрушающих воздействий относятся двойные колонковые трубы.

Для отбора керно-газовых проб на угольных, нефтяных и газовых месторождениях используют специальные керногазонаборники.

Большую роль в обеспечении высокого качества кернового опробования при использовании любых типов колонковых снарядов имеют кернорвательные устройства, обеспечивающие отрыв и удержание керна при подъеме снаряда.

Многообразие устройств для бурения с отбором керна требует внимательного отношения к их выбору, так как любое специальное устройство может выполнить свою роль только в тех условиях, для которых оно предназначено.

ОБЕСПЕЧЕНИЕ ЖИЗНЕДЕЯТЕЛЬНОСТИ ПРИ ПРОИЗВОДСТВЕ БУРОВЫХ РАБОТ

Существуют определенные Единые правила безопасности при геологоразведочных работах. Они связаны с техникой безопасности обслуживающего буровую установку персонала, с определенной последовательностью выполнения буровых работ, строительно-монтажных работ по сборке и разборке буровых установок и вышек, перемещению и монтажу самоходных буровых установок. Также существуют определенные требования к качеству используемого бурового оборудования, требования к ведению рабочего журнала.

Рассмотрим основные меры пожарной безопасности:

1. в радиусе 50 м от буровой установки рабочая площадка должна быть очищена от легко воспламеняемых объектов (валежника, листьев, травы);

2. трубы от двигателей и печей должны быть выведены на расстояние не менее 1,5 м выше откоса буровой и снабжены искрогасителями;

4. для выключения электроэнергии, питающей буровую, необходимо предусмотреть отключающее устройство, расположенное на расстоянии не менее 5 м от буровой;

5. все буровые установки должны быть снабжены противопожарным инвентарем.

ОХРАНА ОКРУЖАЮЩЕЙ СРЕДЫ

Оформление и отвод земельных участков в пользование геологоразведочным организациям производится в соответствии с Основами земельного законодательства.

Запрещается приступать к использованию земельных территорий до установления соответствующими землеустроительными органами границ предоставленного участка и выдачи надлежащего документа о праве пользования данного участка.

Предприятия и организации, которым отводятся участи земли для проведения геологоразведочных работ, обязаны возместить убытки землепользователям и потери сельскохозяйственного производства, связанные с изъятием этих земельных участков, а также несут расходы по оформлению земельных отводов.

ЛИКВИДАЦИЯ АВАРИЙ

Работы по ликвидации аварий должны проводится под четким руководством лица, имеющего право ответственного ведения буровых работ (это может быть буровой мастер, инженер по бурению или технический руководитель). Сложные аварии в скважинах ликвидируются согласно плану, утвержденному главным инженером.

До начала ликвидации аварии буровой мастер и бурильщик должны проверить исправность вышки (мачты), оборудования, талевой системы, спускоподъемного инструмента и контрольно измерительных приборов.

Существуют определенные правила по ликвидации аварий, связанные с использованием домкратов.

ПРОВЕРОЧНЫЕ РАСЧЕТЫ

1. Мощность расходуемая на забое Nз=3·10-4·P·n·D (кВт), где

P - осевая нагрузка на коронку, даН,

P1=168 даН, P2=720-840 даН, P3=640-800 даН, P4=224-280 даН, P5=800-1300 даН.

n - частота вращения, об/мин, n1=128-170, n2=205-267, n3=229-297, n4=172-229, n5=500-700 об/мин;

D - диаметр коронки, мм; D1=132 мм, D2=112 мм, D3=93 мм, D4=93 мм, D5=76 мм;

Nз1=0,503 кВт; Nз2=3,946 кВт; Nз3=5,646 кВт; Nз4=0,956 кВт; Nз4=11,830 кВт.

2. Мощность холостого вращения Nхв=0,64·L·n2·n1/3(кВт), где

L - длина бурильной колонны, м;

L1=10 м; L2=90 м; L3=120 м; L4=160 м; L4=500 м;

n - частота вращения, об/с;

n1=2,85; n2=4,45; n3=4,95; n4=3,80; n5=11,65 об/с;

Nхв1=0,130 кВт; Nхв2=1,980 кВт; Nхв3=2,016 кВт; Nхв4=1,850 кВт, Nхв5=17,77 кВт

3. Дополнительная мощность на вращение коронки Nдоп=2,45·10-4·δ·P·n (кВт), где

δ- радиальный зазор, δ=(Dскв-Dвн)/2, м; Dскв - диаметр скважины, м; Dвн - внешний диаметр бурильной колонны, м;

Dскв1=0,132 м; Dскв2=0,112 м; Dскв3=0,093 м; Dскв4=0,093 м; Dскв5=0,076 м;

Dвн1=0,054 м; Dвн2=0,054 м; Dвн3=0,054 м; Dвн4=0,054 м;

Nдоп1=0,273 кВт; Nдоп2=1,593 кВт; Nдоп3=1,135 кВт; Nдоп4=0,306 кВт; Nдоп5=2,450 кВт.

4. Мощность расходуемая на вращение колонны бурильных труб в скважине Nт=Nхв+Nдоп (кВт);

Nт1=0,403 кВт; Nт2=3,573 кВт; Nт3=3,151 кВт; Nт4=2,156 кВт; Nт5=20,22 кВт.

5. Мощность, расходуемая в трансмиссии и других узлах бурового станка Nст=1,1Nдв(6·10-2 + 1,2·10-4·n) (кВт), где

Nдв - мощность двигателя установки=40 кВт;

Nст1=0,850 кВт; Nст2=1,335 кВт; Nст3=1,485 кВт; Nст4=1,145 кВт; Nст5=3,5 кВт.

6. Мощность двигателя Nд=Nз+Nт+Nст (кВт);

Укажем максимально необходимую мощность Nд5=35,55 кВт;

Что подтверждает выбор установки УКБ-6.

ЗАКЛЮЧЕНИЕ

В данной курсовой работе было рассмотрено проектирование буровых работ для инженерно-геологических изысканий на заданном участке. В результате работы выбран наиболее рациональный способ бурения, разработаны технология бурения и конструкция скважины.

Также изучены мероприятия по обеспечению безопасности жизнедеятельности и охране окружающей среды при проведении буровых работ.

Библиографический список

1. Михайлова Н. Д. «Техническое проектирование колонкового бурения» М., «Недра» 1985

2. Чистяков В.К. «Технология и техника бурения на твердые полезные ископаемые» методические указания СПб, «СПГГИ», 2001

3. Калинин А. Г. «Разведочное бурение», М., «Недра», 2000

4. Кудряшов Б. Б. «Бурение разведочных скважин с применением воздуха», М., «Недра», 1990

5. Кудряшов Б. Б. «Бурение скважин в мерзлых породах», М., «Недра», 1983

6. Ребрик Б. М. «Справочник по бурению инженерно-геологических скважин», М., «Недра», 1990

7.Шамшев Ф. А., Кудряшов Б. Б. «Технология и техника разведочного бурения», М., «Недра»,

Похожие работы на - Бурение инженерно-геологической скважины

 

Не нашли материал для своей работы?
Поможем написать уникальную работу
Без плагиата!
Без нейросетей!