Методы и средства измерений, испытаний и контроля
Курсовой проект
Методы и средства измерений,
испытаний и контроля
Введение
Современное
машиностроение можно характеризовать как взаимозаменяемое производство,
отличающееся высокой производительностью и точностью изготовления. Давно забыты
те времена, когда две детали, входящие одна в другую, делались одним человеком
с подгонкой одной детали к другой. При взаимозаменяемом производстве две
сопрягаемые детали изготовляются часто не только разными людьми, но и на разных
станках, в разных цехах, а иногда даже в разных городах и странах, в разное
время.
Такие
возможности взаимозаменяемого производства обеспечиваются как наличием
соответствующей документации, станков приспособлений и режущего инструмента,
так и наличием соответствующих измерительных средств, обеспечивающих измерение
с необходимой точностью в разных местах, разными операторами, с заданной
производительностью.
В
машиностроении 90-95% всех измерений приходится на измерение линейных размеров.
В электромашиностроении этот вид измерений составляет 80%.
Основной
задачей при создании новых и модернизации существующих измерительных средств
должно быть повышение качества и эффективности современного производства.
Правильный
выбор средств измерений имеет важное значение для обеспечения требуемой
точности измерений. Выбор средств измерений состоит в сравнении его основной
погрешности с допускаемой погрешностью измерения. При этом основная погрешность
должна быть меньше или равна допускаемой погрешности измерения.
Также на
стадии конструирования назначают допуски и размеры с учетом влияния погрешности
измерений на неправильную приемку изделий. На стадии разработки
технологического процесса изготовления изделий по нужной операции указывают
конкретные средства измерений и условия их применения с учетом допускаемой
погрешности измерений.
Технический
контроль является важнейшей частью системы управления качеством продукции на
машиностроительном предприятии. В системе технологической подготовки
производства технический контроль является неотъемлемой частью технологического
процесса изготовления и ремонта изделия и разрабатывается в виде процесса
технического контроля или операции технического контроля.
Технический
контроль должен охватывать весь технологический процесс для предупреждения с
заданной вероятностью пропуска дефектных заготовок, деталей и сборочных единиц
при последующем изготовлении.
1. Методы и
средства измерений
.1 Выбрать
методы и средства для измерения размеров в деталях типа «Корпус»
внутренние
размеры Ø25 Н7; Ø50 Н6; Ø90 Н9;
линейные
70+0,08; 52+0,02; 150
0,06
типа
«Вал»:
наружные
размеры Ø54 h6; Ø63 h8; Ø105 h9;
линейные
80-0,06, 100
0,1.
Чертежи
деталей могут, как выдаваться преподавателем, так и формироваться самостоятельно
студентом с учетом заданных размеров.
.1.1
Детали типа «Корпус»
Ø25Н7 - отверстие
)
По ГОСТ 8.051 - 81 для диапазона размеров от 18 до 30 мм по 7 квалитету
точности определяем значение допускаемой погрешности дИ=6,0 мкм.
)
По таблице II методических указаний РД 50 - 98 - 86 выбираем
средство измерения, у которого предельная погрешность измерения меньше или
равна расчетному значению допускаемой погрешности средства измерения
.
)
Результаты выбора оформляем в виде таблицы 1:
Таблица1.
Средства измерения для внутреннего размера Ø25Н7
|
№ ср-ва измерения
|
Наименование
|
д ср-ва измерения, мкм
|
д по ГОСТ , мкм
|
|
5a
|
Нутромеры индикаторные (НИ) с ценой деления отсчетного
устройства 0,01 мм
|
5
|
6
|
|
8а
|
Оптиметры и длинномеры горизонтальные, измерительные машины
с ценой деления отсчетного устройства 0,001
|
1,5
|
6
|
|
9а
|
Пневматические пробки с отсчетным прибором с ценой деления
1 мкм и 0,5 мкм с настройкой по установочным кольцам
|
4,5
|
6
|
|
13
|
Приборы с электронным индикатором контакта при настройке по
концевым мерам 0 класса
|
0,3
|
6
|
Ø50Н6 - отверстие
1)
По ГОСТ 8.051 - 81, дИ=5,0 мкм.
)
По таблице II методических указаний РД 50 - 98 - 86 выбираем
средство измерения, у которого предельная погрешность измерения меньше или
равна расчетному значению допускаемой погрешности средства измерения

.
)
Результаты выбора оформляем в виде таблицы 2:
Таблица
2. Средства измерения для внутреннего размера Ø50Н6
|
№ ср-ва измерения
|
Наименование
|
д ср-ва измерения, мкм
|
д по ГОСТ, мкм
|
|
6б
|
Нутромеры индикаторные (НИ) с ценой деления отсчетного
устройства 0,01 мм
|
3,5
|
5
|
|
7б
|
Нутромеры с ценой деления отсчетного устройства 0,001и
0,002 мм
|
3,5
|
5
|
|
8а
|
Оптиметры и длинномеры горизонтальные, измерительные машины
с ценой деления отсчетного устройства 0,001
|
1,5
|
5
|
|
9а
|
Пневматические пробки с отсчетным прибором с ценой деления
1 мкм и 0,5 мкм с настройкой по установочным кольцам
|
4,5
|
5
|
|
13
|
Приборы с электронным индикатором контакта при настройке по
концевым мерам 0 класса
|
0,3
|
5
|
Ø90Н9 - отверстие
1)
По ГОСТ 8.051 - 81 дИ=20,0 мкм.
)
По таблице II методических указаний РД 50 - 98 - 86 выбираем
средство измерения, у которого предельная погрешность измерения меньше или
равна расчетному значению допускаемой погрешности средства измерения 
.
)
Результаты выбора оформляем в виде таблицы 3: Таблица3
Средства измерения для внутреннего размера Ø90Н9
|
№ ср-ва измерения
|
Наименование
|
д ср-ва измерения, мкм
|
д по ГОСТ, мкм
|
|
4а
|
Нутромеры микрометрические (НМ) с величиной отсчета 0,01 мм
|
15
|
20
|
|
5б
|
Нутромеры индикаторные (НИ) с ценой деления отсчетного
устройства 0,01 мм
|
15
|
20
|
|
9а
|
Пневматические пробки с отсчетным прибором с ценой деления
1 мкм и 0,5 мкм с настройкой по установочным кольцам
|
5
|
20
|
|
11
|
Микроскопы инструментальные (большая и малая модели)
|
10
|
20
|
|
12
|
Микроскопы универсальные измерительные при использовании
штриховой головки
|
7
|
20
|
+0,08 - линейный размер.
) По ГОСТ
8.051 - 81 для диапазона размеров от 50 до 80 мм определяем значение
допускаемой погрешности дИ=18,0 мкм.
) По таблице I методических указаний РД 50 - 98 -
86 выбираем средство измерения, у которого предельная погрешность измерения
меньше или равна расчетному значению допускаемой погрешности средства измерения

.
3) Результаты
выбора оформляем в виде таблицы 4:
Таблица 4.
Средства измерения для линейного размера 70+0,08
|
№ ср-ва измерения
|
Наименование
|
д ср-ва измерения, мкм
|
д по ГОСТ , мкм
|
|
4а
|
Микрометры гладкие (МК) с величиной отсчета 0,01 мм при
настройке на нуль по установочной мере
|
10
|
18
|
|
5а
|
Скобы индикаторные (СИ) с ценой деления 0,01 мм
|
15
|
18
|
|
11а
|
Индикаторы многооборотные (2МИГ) с ценой деления 0,002 мм и
пределом измерения 2 мм
|
8
|
18
|
|
13а
|
Головки измерительные пружинные (микрокаторы) (10ИГП,
10ИГПГ) с ценой деления 0,01 мм и пределом измерений ±0,30 мм
|
8
|
18
|
|
32б
|
Микроскопы измерительные
универсальные
|
7
|
18
|
|
35а
|
Проекторы измерительные
|
16
|
18
|
|
39а
|
Глубиномеры индикаторные (ГИ) при измерении с настройкой по
установочной мере
|
15
|
18
|
+0,02 - линейный размер
) По ГОСТ
8.051 - 81 для диапазона размеров от 50 до 80 определяем значение допускаемой
погрешности дИ=5,0 мкм.
) По таблице I методических указаний РД 50 - 98 -
86 выбираем средство измерения, у которого предельная погрешность измерения
меньше или равна расчетному значению допускаемой погрешности средства измерения

.
4) Результаты
выбора оформляем в виде таблицы 5
Таблица 5.
Средства измерения для линейного размера 52+0,02
|
№ ср-ва измерения
|
Наименование
|
д ср-ва измерения, мкм
|
д по ГОСТ, мкм
|
|
32в
|
Микроскопы измерительные
универсальные
|
4
|
5
|
|
40а
|
Глубиномеры индикаторные (ГИ) при замене отсчетного
устройства измерительной головкой с ценой деления 0,001 мм (1ИГ или 1ИПМ) и
измерении с настройкой по блокам концевых мер длины
|
2
|
5
|
|
34а
|
Длиномеры: горизонтальный и вертикальный при абсолютных
измерениях
|
2,5
|
5
|
150
0,06 - наружный размер
)
По ГОСТ 8.051 - 81 для диапазона размеров от 120 до 180 мм определяем значение
допускаемой погрешности дИ=40,0 мкм.
)
По таблице I методических указаний РД 50 - 98 - 86 выбираем
средство измерения, у которого предельная погрешность измерения меньше или
равна расчетному значению допускаемой погрешности средства измерения

.
)
Результаты выбора оформляем в виде таблицы 6:
Таблица
6. Средства измерения для линейного размера 150
0,06
|
№ ср-ва измерения
|
Наименование
|
д ср-ва измерения, мкм
|
д по ГОСТ, мкм
|
|
4а
|
Микрометры гладкие (МК) с величиной отсчета 0,01мм при
настройке на нуль по установочной мере. Микрометры при работе находятся в
руках
|
15
|
40
|
|
5а
|
Скобы индикаторные (СИ) с ценой деления 0,01мм. Скобы при
работе находятся в руках.
|
20
|
40
|
|
6а
|
Микрометры рычажные (МР и МРИ) с ценой деления отсчетного
устройства 0,002мм и 0,01мм при установке на нуль установочной мерой и скобы
рычажные (СР) с ценой деления 0,002мм при настройке на нуль по концевым мерам
длины на всем пределе измерения. При работе приборы находятся в руках.
|
16
|
40
|
|
7а
|
Индикаторы часового типа (ИЧ и ИТ) с ценой деления 0,01мм и
пределом измерения от 2 до 10ммм, класс точности 1.
|
22
|
40
|
|
11а
|
Индикаторы многооборотные (2МИГ) с ценой деления 0,002 мм и
пределом измерения 2 мм
|
10
|
40
|
|
38а
|
Глубиномеры микрометрические
|
25
|
40
|
.1.2 Детали
типа «Вал»
Ø54h6 - наружный
размер
) По ГОСТ
8.051 - 81 для диапазона размеров от 50 до 80 мм по 6 квалитету точности
определяем значение допускаемой погрешности дИ=5,0 мкм.
) По таблице I методических указаний РД 50 - 98 -
86 выбираем средство измерения, у которого предельная погрешность измерения
меньше или равна расчетному значению допускаемой погрешности средства измерения

.
)
Результаты выбора оформляем в виде таблицы 7:
Таблица
7. Средства измерения для наружного размера Ø54h6
|
№ ср-ва измерения
|
Наименование
|
д ср-ва измерения, мкм
|
д по ГОСТ , мкм
|
|
6в
|
Микрометры рычажные (МР и МРИ) с ценой деления 0,002 мм и
0,01 мм при установке на нуль по установочной мере и скобы рычажные (СР) с
ценой деления 0,002 мм при настройке на нуль по концевым мерам длины при
использовании отсчета на ±10 делениях шкалы
|
3
|
5
|
|
9а
|
Головки рычажно-зубчатые (2ИГ) с ценой деления 0,002 мм и
пределом измерения ±0,1 мм; при измерении биений
|
4
|
5
|
|
10а
|
Головки рычажно-зубчатые (1ИГ) с ценой деления 0,001 мм и
пределом измерения ±0,05 мм; с настройкой по концевым мерам длины на любое
деление
|
2
|
5
|
|
11в
|
Индикаторы многооборотные (2МИГ) с ценой деления 0,002 мм и
пределом измерения 2 мм
|
4
|
5
|
|
12а
|
Индикаторы многооборотные (1МИГ) с ценой деления 0,001 мм и
пределом измерения 1 мм
|
3
|
5
|
|
32в
|
Микроскопы измерительные универсальные
|
4
|
5
|
|
34а
|
Длиномеры: горизонтальный и вертикальный при абсолютных
измерениях
|
2,5
|
5
|
Ø63h8 - наружный
размер
1)
По ГОСТ 8.051 - 81 для диапазона размеров от 50 до 80 мм по 8 квалитету
точности определяем значение допускаемой погрешности
дИ=12,0 мкм .
)
По таблице I методических указаний РД 50 - 98 - 86 выбираем
средство измерения, у которого предельная погрешность измерения меньше или
равна расчетному значению допускаемой погрешности средства измерения

.
)
Результаты выбора оформляем в виде таблицы 8
Таблица
8. Средства измерения для наружного размера Ø63h8
|
№ ср-ва измерения
|
Наименование
|
д ср-ва измерения, мкм
|
д по ГОСТ, мкм
|
|
4а
|
Микрометры гладкие (МК) с величиной отсчета 0,01 мм при
настройке на нуль по установочной мере
|
10
|
12
|
|
5в
|
Скобы индикаторные (СИ) с ценой деления 0,01 мм
|
7
|
12
|
|
6а
|
Микрометры рычажные (МР и МРИ) с ценой деления 0,002 мм и
0,01 мм при установке на нуль по установочной мере и скобы рычажные (СР) с
ценой деления 0,002 мм при настройке на нуль по концевым мерам длины при
использовании на всем пределе измерения
|
9
|
12
|
|
7о
|
Индикаторы часового типа (ИЧ и ИТ) с ценой деления 0,01 мм
и пределом измерения от 2 до 10 мм, класс точности 1
|
11
|
12
|
|
8б
|
Индикаторы рычажно-зубчатые (ИРБ иИРТ)
|
10
|
12
|
|
11а
|
Индикаторы многооборотные (2МИГ) с ценой деления 0,002 мм и
пределом измерения 2 мм
|
8
|
12
|
|
32б
|
Микроскопы измерительные
универсальные
|
7
|
12
|
Ø105h9 -
наружный размер
) По ГОСТ
8.051 - 81 для диапазона размеров от 80 до 120 мм по 9 квалитету точности
определяем значение допускаемой погрешности дИ=20,0 мкм.
) По таблице I методических указаний РД 50 - 98 -
86 выбираем средство измерения, у которого предельная погрешность измерения
меньше или равна расчетному значению допускаемой погрешности средства измерения

.
)
Результаты выбора оформляем в виде таблицы 9
Таблица 9.
Средства измерения для наружного размера Ø105h9
|
№ ср-ва измерения
|
Наименование
|
д ср-ва измерения, мкм
|
д по ГОСТ, мкм
|
|
4а
|
Микрометры гладкие (МК) с величиной отсчета 0,01 мм при
настройке на нуль по установочной мере
|
15
|
20
|
|
5б
|
Скобы индикаторные (СИ) с ценой деления 0,01 мм
|
12
|
20
|
|
6а
|
Микрометры рычажные (МР и МРИ) с ценой деления 0,002 мм и
0,01 мм при установке на нуль по установочной мере и скобы рычажные (СР) с
ценой деления 0,002 мм при настройке на нуль по концевым мерам длины при
использовании на всем пределе измерения
|
14
|
20
|
|
7б
|
Индикаторы часового типа (ИЧ и ИТ) с ценой деления 0,01 мм
и пределом измерения от 2 до 10 мм, класс точности 1
|
18
|
20
|
|
8а
|
Индикаторы рычажно-зубчатые (ИРБ иИРТ)
|
15
|
20
|
|
31
|
Микроскопы инструментальные (большая и малая модель)
|
9
|
20
|
80-0,06
- линейный размер
)
По ГОСТ 8.051-81 для диапазона размеров от 50 до 80 мм определяем значение
допускаемой погрешности дИ=12,0 мкм.
)
По таблице I методических указаний РД 50 - 98 - 86 выбираем
средство измерения, у которого предельная погрешность измерения меньше или
равна расчетному значению допускаемой погрешности средства измерения

.
)
Результаты выбора оформляем в виде таблицы 10
Таблица
10. Средства измерения для линейного размера 80-0,06
|
№ ср-ва измерения
|
Наименование
|
д ср-ва измерения, мкм
|
д по ГОСТ , мкм
|
|
31
|
Микроскопы инструментальные (большая и малая модель)
|
10
|
12
|
|
32б
|
Микроскопы измерительные
универсальные
|
7
|
12
|
|
35б
|
Проекторы измерительные
|
10
|
12
|
|
38б
|
Глубиномеры микрметрические(ГМ)
|
8
|
12
|
|
39
|
Глубиномеры индикаторные
|
9
|
12
|
100
0,1- линейный размер
)
По ГОСТ 8.051 - 81 для диапазона размеров от 80 до 120 мм определяем значение
допускаемой погрешности дИ=50,0 мкм.
)
По таблице I методических указаний РД 50 - 98 - 86 выбираем
средство измерения, у которого предельная погрешность измерения меньше или
равна расчетному значению допускаемой погрешности средства измерения

.
)
Результаты выбора оформляем в виде таблицы 11
Таблица
11. Средства измерения для линейного размера 100
0,1
|
№ СИ по РД
|
Наименование средства измерения
(СИ)
|
дси, мкм
|
д, мкм
|
|
4а
|
Микрометры гладкие (МК) с величиной отсчета 0,01мм при
настройке на нуль по установочной мере. Микрометр при работе находится в
руках
|
15
|
50
|
|
5а
|
Скобы индикаторные (СИ) с ценой деления 0,01мм. Скобы при
работе находятся в руках
|
20
|
50
|
|
7а
|
Индикаторы часового типа (ИЧ и ИТ) с ценой деления 0,01мм и
пределом измерения от 2 до 10ммм, класс точности 1
|
20
|
50
|
|
8а
|
Индикаторы рычажно-зубчатые (ИРБ иИРТ)
|
15
|
50
|
|
32а
|
Микроскопы измерительные
универсальные
|
7
|
50
|
|
38
|
Глубиномеры микрометрические
|
20
|
50
|
1.2 Разработать принципиальные схемы средств измерений и подробно описать
принцип функционирования, поверку и настройку, процесс измерения. Вычертить
(лист 1, 2) принципиальные схемы средств измерений, привести в виде таблиц их
метрологические характеристики, а также необходимые схемы измерения и отчета
результата по шкалам
.2.1 Многооборотные индикаторы
Под измерительными головками принято понимать
механические отсчетные устройства, преобразующие малые перемещения
измерительного наконечника в большие перемещения стрелки и имеющие шкалу, по
которой отсчитываются величины перемещения наконечника.
В качестве отдельного прибора эти головки использоваться не могут, они
должны быть установлены в каких-либо устройствах для отсчета перемещений.
Обычно головки при измерении устанавливают в универсальные приспособления -
штативы и стойки. Измерительные головки изготавливаются в одном корпусе,
имеющем обычно специальную цилиндрическую поверхность для установки головки в
приспособлении. Диаметр этой поверхности 8 или 28 мм.
Многооборотные индикаторы типа МИГ имеют те же узлы, что индикаторы типа
ИГ - корпус, циферблат, стрелка, арретир, присоединительная гильза,
измерительный стержень, наконечник, указатель поля допуска изделия и винт
точной установки механизма в нулевое положение. Арретир - рычаг для подъема
измерительного стержня перед установкой изделия.
На циферблате нанесено 200 делений круговой шкалы, здесь расположен также
указатель числа оборотов стрелки. Полное число оборотов стрелки равно 5.
Механизм многооборотного индикатора содержит две рычажных и две зубчатых
передачи. Перемещение измерительного стержня 1 передается рычагу зубчатого
сектора, который находится в зацеплении с трибом 4, вращает триб 13 и
закрепленную на его оси стрелку. На оси зубчатого колеса8, зацепляющегося с
трибом 4, установлен указатель числа оборотов стрелки и пружинный волосок .
Весь механизм многооборотного индикатора собран на плате , которая пружинами
прижимается к упору рычага и винту установки индикатора на ноль. Штифт
обеспечивает движение измерительного стержня без поворота, а винт ограничивает
нижнее положение стержня.
Рис.1 Многооборотный индикатор
Рычажно-зубчатые головки при измерениях устанавливают на стойки типа С-III и штативы типа Ш-I. При настройке индикаторов на размер
по блоку концевых мер опускают кронштейн с индикатором по колонке стойки так,
чтобы измерительный наконечник коснулся меры и стрелка установилась около
нулевого положения. Затем поворотом шкалы стрелку устанавливают на ноль и
проводят несколько раз арретирование (подъем и опускание) стержня, проверяя
правильность настройки. По показаниям прибора находят как отклонения размера
изделия от размера меры,так и его знак.
Стойки и штативы для измерительных головок. Стойки предназначены для
закрепления головок при измерении размеров деталей методом сравнения с ПКМД
(мерой длины) и при контроле отклонений формы и расположения поверхностей изделий,
стойки изготовляют четырех типов: C-I, C-II, C-III и С-IV. Они снабжены столом для установки
на нем изделий и предназначены для проведения точных измерений. Штативы
применяют в цеховых условиях для закрепления индикаторов часового типа.
Рис 2. Типы стоек С - 1 и С - 11 (а и б); С - III (в); С - VI (г)
Штативы предназначены для закрепления измерительных
головок с ценой деления 0,01 мм. Они имеют основание / (рис. 3, а, б) с
вертикально установленной колонкой 2, по которой возможно перемещение муфты 3
со стержнем 4 и с закреплённой на его конце измерительной головкой 5. Штатив
типа Ш-II имеет устройство (винт 6
микроподачи) для тонкой установки головки на размер. Для поднятия головки
микровинт вращают по часовой стрелке, а для опускания - против. Штативы с
магнитным основанием (рис. 6, а) отличаются от штативов Других типов
постоянными магнитами, встроенными в основания штативов. Посредством этих
магнитов штативы удерживаются на стальных и чугунных изделиях без
дополнительного их закрепления. Сила отрыва штативов с магнитным основанием
составляет 300-1000 Н. Включение магнитов в основании штатива проводится
рычагом 7.
Рис 3. Штативы типа ШМ-II (а),
Ш-II (б) и примеры закрепления в
них индикаторов часового типа (в)
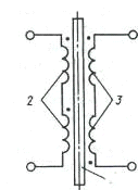
1.2.2 Оптиметры
Оптиметрами принято называть контактные
оптико-механические приборы для измерения линейных размеров сравнением с мерой
(рис. 1.1) с преобразователем в виде рычажно-оптического устройства, которое
малые перемещения измерительного наконечника преобразует в большие наблюдаемые
перемещения шкалы.
Рис 4 Оптиметр вертикальный окулярный ОВО-1
Оптиметры состоят из измерительной головки, трубки
оптиметра и устройства для установки трубки и базирования измеряемой детали.
. Окулярная трубка оптиметра (рис. 4). Элементы
оптико-механической схемы трубки разделяют на группы: осветительную,
преобразовательную и отсчетную.
Осветительная группа состоит из внешнего зеркала 1
(рис. 5) и осветительной призмы 2. Преобразовательная группа
содержит угловую призму 4, объектив 5, внутреннее зеркало 6,
измерительный стержень 8. В верхнем торце стержня 8 запрессован шарик, на
который опирается нижняя поверхность зеркала 6, а на нижний участок стержня 8
надевается измерительный наконечник. В пластину 9 сверху запрессованы два
опорных шарика, на которые опирается также нижняя поверхность зеркала 6. Линия,
соединяющая вершины этих двух шариков, является осью поворота зеркала 6 при
перемещениях стержня 8 вдоль оси присоединительной
трубки В. Расстояние l между осью шарика в
торце стержня 8 и общей осью опорных шариков в пластине 9 является
механическим плечом рычага передачи трубки оптиметра.
Отсчетная
группа состоит
из стеклянной пластины 3 и окуляра 7. Пластина 3 имеет две зоны а
и б, по разные оси горизонтальной трубки А
Рис 5. Оптическая схема окулярной трубки оптиметра)
Зона а окрашена. В краске вычищено окно, в котором нанесена шкала из 200
делений (±100). Ось этой шкалы смещена относительно оси горизонтальной трубки А
на расстояние б; в зоне б также имеется окно, в котором нанесен неподвижный
штрих-указатель.
Ход лучей. Поток лучей, посланный призмой 2 на
пластину 3 в зону а, проходит сквозь окно и несет дальше изображение шкалы.
Затем лучи падают на угловую призму 4, преломляются в ней под углом 90° и
попадают вместе с изображением шкалы в объектив 5.
Здесь происходит автоколлимация лучей. При
автоколлимации лучи, а с ними и изображение шкалы проходят через объектив 5,
падают на зеркало 6, отражаются обратно в объектив 5 и выносят из него
изображение шкалы по другую сторону фокусной оси. Затем лучи с изображением
шкалы преломляются в призме 4 и падают на пластину 3, но уже в зоне б. Здесь мы
видим в увеличенном виде через окуляр 7 изображение шкалы, наложенное на
штрих-указатель.
Перемещение х стержня 8 вызывает соответственный
поворот на угол а зеркала 6, а значит, и пропорциональное ему перемещение
изображения шкалы у относительно неподвижного штриха-указателя.
II. Устройства для установки трубки и базирования измеряемой
детали. По расположению линии измерения оптиметры разделяют на вертикальные и
горизонтальные. Благодаря единому присоединительному размеру (28 мм) трубки их
взаимозаменяемы. Различие состоит в устройствах базирования измеряемых деталей.
а) Вертикальные оптиметры представляют собой станковые
приборы, в которых базирующим устройством являются стойки. Ось
присоединительной трубки оптиметра располагается вертикально.
б) Горизонтальные оптиметры представляют собой
станковые приборы на которых присоединительная трубка оптиметра расположена
горизонтально.
В настоящее время применяют горизонтальный оптиметр
ИКГ с валом и ОГО-1 со станиной
. Основные виды и технические характеристики
оптиметров
следующие:
цена деления 1 мкм; диапазон показаний ±100 мкм.
Остальные - см. таблица 12
Таблица 12. Технические характеристики
|
Техническая характеристика
|
Вертикальные оптиметры
|
Горизонтальные оптиметры
|
|
|
ОВО-1
|
ОВЭ-1
|
ИКГ
|
ОГО-1
|
|
Диапазон измерений, мм:
|
|
|
|
|
|
Наружных длин и диаметров
|
0-180
|
0-200
|
0-350
|
0-500
|
|
Внутренних длин
|
-
|
-
|
13,5-150
|
13,5-400
|
|
Внутренних диметров
|
-
|
-
|
13,5-150
|
13,5-150
|
|
Внутренних длин и диаметров с помощью ГК-3
|
-
|
-
|
1-13,5
|
1-13,5
|
|
Допускаемая погрешность на участке шкалы, мкм: От 0 до ± 60 Св. ± 60
|
±0,2 ±0,3
|
±0,2 ±0,3
|
±0,2 ±0,3
|
±0,2 ±0,3
|
|
Измерительное усилие, сН: При наружных измерениях При
внутренних измерениях
|
200 -
|
200 -
|
200 250
|
200 250
|
|
|
|
|
|
|
|
|
|
|
. Расчет передаточного числа трубки оптиметра
Окулярная головка. Схема головки представляет собой
оптико-механическую рычажную передачу, в которой оптическое плечо рычага
состоит из потока лучей (см. рис. 1.2), падающего на зеркало , и потока, отраженного
на пластину 3 в зависимости от положения зеркала 6. Механическое плечо -
расстояние l между осью измерительного стержня и
осью шарнира зеркала. Передаточное число ир определяется отношением
величины смещения у (см. рис. 1.2) луча при повороте зеркала на угол а к
перемещению измерительного стержня на величину х:

x=tg
2б,
где
а - угол поворота зеркала при перемещении стержня на длину х: y=F tg 2б, где F - фокусное расстояние
объектива, т. е. длина оптического плеча рычага. Отсюда

,
Перемещение
х весьма мало по сравнению с величиной l, поэтому можно
заменить tgб ≈ б и tg 2б ≈
2б, тогда
Полная
величина передаточного числа трубки будет равна:
uт=upVок,
где
Vок -
увеличение окуляра. Для трубки оптиметра (F=200мм; l =
5мм; Vок=12x)
получим ит=2*200*12/5=960. т. е. перемещение наконечника
увеличивается на отсчетном устройстве в 960 раз.
Для
обеспечения цены деления головки 0,001 мм шкала на пластине 3 (см. рис. 1.2)
имеет интервал 0,08 мм, а с учетом увеличения окуляра в 12х видимый
интервал составляет 0,96 (0,08 * 12), а общее передаточное число ит
= 960/0,96= 1000.
IV. Погрешности
измерения. При измерении на оптиметрах в погрешности входят те же составляющие,
что и для других измерительных средств с отсчетными головками осевого действия
К
составляющим погрешностям следует отнести:
.
Погрешность, вносимую при отсчете показаний, - не более 0,1 мкм и погрешность
из-за параллакса трубки оптиметра - не более 0,1 мкм.
.
Погрешность расположения измерительной поверхности плоского наконечника
относительно плоскости стола (на вертикальном оптиметре) или отклонений от
параллельности наконечников (на горизонтальном оптиметре) и отклонений от
соосности 0,3- 0,4 мкм. К этой погрешности может прибавиться еще погрешность
из-за смещения наконечника при передвижении кронштейнов по колонке или валу;
она доходит до 0,4 мкм.
.
Погрешность из-за нестабильности работы подвижной части стола до 0,2 мкм у
горизонтального оптиметра.
.
Погрешность от концевых мер длины.
.
Погрешность из-за температурных деформаций. Погрешность измерения наружных
размеров вертикальным оптиметром в пределах от 0,3 до 1,0 мкм при определенных
условиях. Погрешность измерения горизонтальным оптиметром в пределах от 0,4 до
2,0 мкм также при определенных условиях. При измерении внутренних размеров
погрешность измерения горизонтальным оптиметром составляет от 1,5 до 9 мкм для
размеров до 500 мм. Поверку оптиметров с ценой деления 1 мкм производят по
концевым мерам 3-го разряда.
.2.3
Микрометр рычажный
Рычажным
микрометром -
называется измерительное средство с корпусом в виде скобы с двухточечной схемой
измерения, в котором перемещение одной из точек определяется с помощью резьбовой
пары, т. е. винта и гайки, а другой-с помощью стрелочного отсчетного устройства
(измерительной головки). При этом механизм стрелочного отсчетного устройства
может быть либо встроен в корпус скобы, либо установлен в виде сменной
измерительной головки.
Рис. 6
Микрометр рычажный. Тип МР, модель 02120
Назначение
Микрометры предназначены для абсолютных и относительных измерений линейных
размеров. В условиях массового производства приборо- и машиностроения. Они
объединяют в себе свойства обычного микрометра для измерения длин и скобы с
отсчетным устройством для контроля отклонений деталей от заданного размера.
Микрометры типа МР имеют рычажно-зубчатое отсчетное устройство, встроенное в
корпус. Контактные поверхности отсчетного устройства армированы твердым
сплавом. Они установлены в корундовых опорах. Измерительные поверхности
микрометров выполнены из твердого сплава. Теплоизоляционные накладки исключают
влияние тепла рук на результаты измерений. Для отвода подвижной пятки
микрометры оснащены арретиром. По заказу к микрометрам с пределом измерения до
50 мм изготовляется приспособление для контроля резьбы методом трех проволочек.
Метрологические
характеристики
|
Модель
|
Пределы измерения микрометра, мм
|
Допускаемая погрешность Микрометра, мкм
|
Цена деления отсчетного устройства, мкм
|
Пределы измерения по шкале отсчетного устройства, мкм
|
Допускаемая погрешность отсчетного устройства, мкм
|
Наработка до первого отказа микрометра с вероятностью
безотказной работы 0,9 циклов, не менее
|
Диаметр измерительных поверхностей,
мм
|
Измерительное усилие, СН, не более
|
|
02120
|
25-50
|
3
|
1
|
± 70
|
± 1
|
500 000
|
8
|
600±100
|
Устройство и
принцип работы
В рычажном
микрометре при двухточечной схеме измерения обе измерительные поверхности
связаны с отсчетными устройствами (рис.9 а). При этом величина перемещения
измерительной поверхности 1 связана с микровинтом 3 и отсчетом по макропаре, а
измерительная поверхность 12 связана с механизмом отсчетного устройства.

Рис.7 Микрометр
рычажный: а- схема; б - конструкция микрометра с диапазоном измерения 0-25 мм;
в -микрометр настольный со стрелочной отсчетной головкой; г- микрометр рычажный
для размеров свыше 500 мм.
При
определении размера детали, находящейся между двумя измерительными
поверхностями (1 и 12), необходимо алгебраическое суммирование показаний по
макропаре и по стрелочному отсчетному устройству.
Микрометрическая
пара рычажного микрометра, как и обычного микрометра, состоит из микровинта 3,
гайки.5, стебля 2 со шкалой вдоль оси, барабана 4 с делениями на скосе.
Конструкция макропары отличается тем, что в ней отсутствует устройство для
стабилизации измерительного усилия, поскольку в нем нет необходимости, так как
силовое замыкание обеспечивается усилием, создаваемым в механизме стрелочной
отсчетной головки. Отсчет показаний по макропаре производится, как и у обычного
микрометра.
Стрелочное
отсчетное устройство при относительно небольшом диапазоне измерения (обычно не
более чем до 150 мкм) устанавливается в корпусе скобы (рис. 9 а, б), для
больших диапазонов измерений в качестве отсчетного устройства используется
рычажно-зубчатая головка с ценой деления 0,002 мм, или индикатор часового типа
с ценой деления 0,01 мм. При встраивании механизма в корпус скобы раньше
создавалась передача, состоящая из одного рычага и однозубчатой пары, теперь в
отечественных приборах используется механизм от измерительных головок. Так, на
рис.2.8 а, б показана схема и конструкция рычажного микрометра, в который
встраивается механизм рычажно-зубчатой головки (см. рис. 2.4) состоящей из
рычажной и зубчатой передач. Стержень 11 измерительной поверхностью 12
перемещается в своих направляющих, и эти перемещения передаются через рычаг 10,
на сектор 9 и зубчатое колесо 8, на оси которого, установлена стрелка 7. Для
арретирования измерительной поверхности 12 имеется устройство, которое отводит
стержень 11 при нажатии на кнопку 6.
При работе
с рычажным микрометром обычно перемещением микровинта добиваются положения, при котором
совпадают штрихи на стебле и барабане, соответствующие целому значению размера.
При этом стрелка отсчетного устройства находится в положении, при котором можно
отсчитать значение размера по его шкале. После этого отсчитывают целое значение
размера по микропаре до значений 0,01 мм, а по стрелочному отсчетному
устройству с ценой деления 0,002 мм - для размеров приблизительно до 500 мм и
0,01 мм - для размеров свыше 500 мм. Отсчитываемое значение по стрелочному
отсчетному устройству или прибавляется, или отнимается от показаний по макропаре
(алгебраическое суммирование) в зависимости от знака отклонения на стрелочном
отсчетном устройстве.
Стойка
универсальная
Рис.8. Стойка
универсальная Тип 15СТ
Стойка
предназначена для закрепления в ней гладких и рычажных микрометров,
индикаторных скоб и других подобных им приборов для использования их в качестве
настольных.
Стойка
состоит из основания 1 и державки 2, в которой размещаются подвижная 3 и
неподвижная 4 губки, стягиваемые гайкой 5 при закреплении прибора. Закрепляемый
в стойке микрометр может поворачиваться в горизонтальной плоскости без
перемещения стойки.
Подготовка
микрометра к работе
Микрометр
извлеките из футляра, протрите цилиндрические части пятки и микровинта, и
особенно тщательно измерительные поверхности чистой тканью, смоченной в
бензине, и окончательно сухой тканью.
Порядок
работы
Микрометр с
ценой деления 0,002 мм - точный инструмент и требует к себе бережного
отношения.
При
пользовании микрометром необходимо соблюдать следующее:
Проверьте перед
измерением микрометром нулевое положение и при необходимости установите его.
Поместив
концевую меру длины (применяется для микрометров с диапазонами измерения 25-50.
50-75. 73-100 мм) между измерительными поверхностями пятки и микровинта и
вращайте последний в направлении уменьшения размера до тех пор, пока стрелка
отсчетного устройства не совместится с нулевым делением шкалы. Застопорите
микровинт стопором и отпустите винт.
Установите
барабан так чтобы начальный штрих шкалы барабана совпадал с продольним штрихом
стебля, причем начальный штрих шкалы стебля должен быть виден целиком, на
расстояние от торца конической части барабана до ближайшего края штриха не
должен превышать 0,1 мм.
Закрепите
барабан винтом и отпустите стопор.
Поместите
измеряемую деталь при измерениях методом непосредственной оценки между
измерительными поверхностями пятки и микровинта и вращайте последний в
направлении уменьшения размера до тех пор, пока стрелка отсчетного устройства
не совместится с нулевым делением шкалы.
Совместите
ближайший штрих на барабане с продольным штрихом на стебле, снимите
окончательный отсчет - миллиметры и сотые доли миллиметра по шкале барабана,
микрометры - по шкале отсчетного устройства. Перемещайте микровинт при
измерениях только вращением его в направлении уменьшения размера.
Поместите
концевую меру длины (образцовую деталь) при измерениях методом сравнения между
измерительными поверхностями пятки и микровинта и вращайте последний в
направлении уменьшения размера до тех пор, пока стрелка отсчетного устройства
не совместится с нулевым делением шкалы. Застопорите микровинт стопором и
произведите измерение деталей с помощью арретира. Результатом измерения
является алгебраическая сумма размера концевой меры (базовой детали) и
показания отсчетного устройства.
Закрепите
микровинт стопором плавно без пережима.
Зажимайте
микровинт в подставке без пережима, предварительно подложив мягкий материал.
Типоразмеры и
основные технические характеристики.
Рычажные
микрометры обычно изготовляют для размеров до 2000 мм. Микропара имеет отсчет
0,01 мм. Для размеров обычно до 150 мм стрелочное отсчетное устройство
встраивают в скобу. Это устройство имеет цену деления 0,002 мм с пределом
измерения не менее 0,06 мм (±0,03 мм). Остальные типоразмеры имеют съемное
отсчетное устройство с ценой деления 0,002 мм для размеров до 500 мм и 0,01 мм
для остальных размеров (до 2000 мм).
Если для
размеров обычно до 150 мм диапазон измерения определяется диапазоном
микровинта, т. е. 25 мм, то с увеличением размеров измеряемых деталей диапазон
измерения составляет 50, 100 и 200 мм. Это достигается тем, что подвижные пятки
могут переставляться. Для этой цели все рычажные микрометры для размеров свыше
25 мм снабжаются одной или несколькими (для большого диапазона измерений)
установочными мерами, дающими возможность устанавливать микрометр на размер
внутри диапазона измерения.
Измерительное
усилие рычажных микрометров находится в пределах 6-10 Н в зависимости от
диапазона измерений, при этом колебание усилия может быть в пределах ±
(100-200) сН.
Погрешность
измерения
Погрешность
измерения рычажными микрометрами зависит от погрешности микропары и отсчетной
стрелочной головки.
Погрешность
отсчета у рычажных микрометров по микропаре приблизительно в 2 раза меньше, чем
у гладкого микрометра, так как при правильном пользовании рычажным микрометром
необходимо совмещать штрихи барабана и стебля, а не отсчитывать степень
несовпадения. Для малых диапазонов измерения погрешность измерения при цене
деления отсчетного устройства 1 мкм составляет 3 мкм, а для больших диапазонов
доходит до 1 мкм, т. е. в общем виде погрешность измерения составит от 1,5 до 3
цен деления. Принципиальная схема рычажного микрометра позволяете производить
измерения, пользуясь одновременно и микропарой и стрелочным отсчетным устройством.
Можно
настраивать микрометр по установочной мере 13 и пользоваться только стрелочным
устройством, а можно настраивать по блоку концевых мер на размер при котором
измеряемые отклонения будут отличатся на несколько делений от настроенного.
Последний способ использования рычажного микрометра не отличается в принципе от
использования измерительных головок при методах измерения сравнением с размером
концевых мер.
Измерение
рычажным микрометром можно осуществлять различными приемами - отсчитывать по
микропаре и стрелочной головке, можно настраивать по концевым мерам и
пользоваться при отсчете только стрелочной головкой (погрешность микропары
исключается). Используя концевые меры различной точности и другие приемы, можно
получить погрешность измерения, например, для размеров 0-25 мм в пределах от
0,5 до 4 мкм, а для размеров 3-500 мм - от 3 до 50 мкм. При этом наименьшие
погрешности получаются при многократном измерении одного и того же размера с
целью уменьшения влияния случайной погрешности измерения в основном отсчетной
головкой. При однократных измерениях погрешность может быть от 2 до 4 мкм для
размеров 0-400 мм и от 7 до 50 мкм для размеров до 400-500 мм. г.
Поверка
рычажных микрометров
Поверку
рычажного микрометра производят по концевым мерам длины. В принципе эта поверка
не отличается от поверки микрометров гладких и от поверки измерительных
головок. Поверку микрометров производят с помощью концевых мер длины. При этом
выясняется погрешность измерения микрометром размера детали с плоскими
поверхностями. В связи с этим отдельно поверяют плоскостность и параллельность
измерительных поверхностей с помощью плоскопараллельных стеклянных пластин.
Условия
эксплуатации
Температура
окружающей среды (20±5)°С
при относительной влажности не более 80%.
Изменение
температуры окружающей среды в течении 1 часа - не более 0,3)°С.
Техническое
обслуживание
Не
подвергайте микрометр резким ударам.
Не разрешайте
лицам, не имеющим отношения к ремонту разбирать мирометр.
Правила
хранения
Хранить
микрометр в футляре при температуре от плюс 1°С до плюс 40°С при относительной влажности воздуха
не более 80%.
.3
Разработать принципиальную схему измерительного устройства для контроля
отклонений формы и расположения поверхностей (лист 2)
Разработка схемы измерительного устройства для контроля радиального
биения.
Ступенчатые валы в большинстве случаев передают механизмам значительные
крутящие моменты. Чтобы они работали безотказно продолжительное время, большое
значение имеет высокая точность выполнения основных рабочих поверхностей валов
по диаметральным размерам и по их расположению. Процесс контроля
предусматривает преимущественно сплошную проверку линейного расположения и
радиального биения шеек ступенчатых валов, которую можно проводить на
многомерном контрольном приспособлении (Лист 2).
На корпусе 4 с помощью винтов 16 и шайб 19 закреплены передняя 1 и задняя
9 бабки с оправкой 10 и неподвижным центром 11, на которые устанавливают
проверяемый вал. Осевое положение вала фиксируется неподвижным центром 11. К
последнему вал прижимается пружиной 13, которая расположена в центральном
осевом отверстии пиноли 6 и воздействует на переходник 8.
Пиноль 6 смонтирована в передней бабке 1 с возможностью вращения
относительно продольной оси благодаря втулкам 5. На левом конце пиноли на
шпонке установлен маховичок 14 с рукояткой 3, который закреплен шайбой 16 и
штифтом 17. Переходнику 8 вращательное движение при измерении передается через
ось 18, которая запрессована в пиноли 6 и расположена в овальном отверстии
переходника 8. Помимо этого, на другом конце переходника вставлена оправка с
конической рабочей поверхностью для точного беззазорноrо базирования вала, т.
к. последний имеет цилиндрическое осевое отверстие диаметром d. Конусность
оправки зависит от допуска Т и диаметра d отверстия вала и определяется по
формуле К=2Т/d
Рекомендуется принимать стандартное значение К. В стойках 24,
закрепленных к корпусу 4 штифтами 25 и винтами 26, установлены два вала 2, по
которым перемещаются кронштейны 7 и фиксируются винтами 26. На кронштейнах 7
установлены с помощью винтов 19 и гаек 20 скалки 12, на которых винтами 21
шайбами 22 и гайками 23 закреплен ИГ 29. ИГ 29 служит для проверки радиальноrо
и тopцевoгo биений ступеней контролиpyeмoгo вала, которому дают один .. два
оборота и отсчитывают максимальные показания ИГ 29, определяющие биения.
Приспособление для комплексной проверки валов обеспечивает высокую
производительность процесса контроля.
Принцип действия:
С помощью патрона зажимаем измеряемый объект (вал); далее т.к. у нас
задний кронштейн на «ползунках», то производим настройку на длину вала. После
того как, вал у нас жестко закреплен, очень осторожно подводим измерительную
головку до соприкосновения с измеряемым объектом. С помощью маховичка
производим плавное вращение по часовой стрелки (или против). Втулки позволяют
нам более плавно и без погрешностей производить вращение. Наибольшее отклонение
стрелки измерительной головки показывает мах величину отклонения радиального
биения. Все это крепиться на плите с помощью болтов и винтов.
2. Методы и
средства контроля
.1 Расчет
комплексных калибров для контроля прямобочных шлицевых соединений
Определить
исполнительные размеры шлицевого комплексного калибра-пробки и комплексного
калибра-кольца для контроля шлицевого соединения d-8х36
х40
х7
Рассчитаем
исполнительные размеры шлицевого комплексного калибра-кольца для контроля
шлицевого вала d-8x36e8x40a11x7f8
.
По ГОСТ 25347-82 находим предельные отклонения параметров шлицевого вала:
Для
внутреннего диаметра (d) с основным отклонением e и 8-го
квалитета для интервала размеров св.30 до 40 (табл. 7, стр.16):
мм
мм
Для
наружного диаметра (D) с основным отклонением а и 11-го квалитета для
интервала размеров св.30 до 40 (табл. 7, стр.17):
мм
мм
Для
толщины зуба (b) с основным отклонением f и 8-го
квалитета для интервала размеров св. 6 до 10 (табл. 7, стр. 16)\
мм
мм
.
Рассчитываем наибольший и наименьший предельные размеры параметров шлицевого
вала:

мм

мм

=
мм

=
мм

мм

мм
3. По
ГОСТ 7951-80 для центрирующего внутреннего диаметра с допуском по 8- му
квалитету (IT=8)из табл. 4, стр. 6 для интервала размеров св.30 до
50 мм, находим значения:
Координату
середины поля допуска калибра-кольца: 
Допуск
калибра-кольца по центрирующему диаметру: 
Значение
границы износа по центрирующему диаметру:

Используя
схему 5 из ГОСТ 7951-80 рассчитываем предельные размеры калибра-кольца по
внутреннему центрирующему диаметру:
dk-исп = dkmin+ H1b
= 35,955+0,007 мм
Кроме
предельных размеров, необходимо рассчитать допустимый износ калибра-кольца по
центрирующему диаметру: dk-w = dmax
+
=
=35,950+0,019=35,969
Исполнительный
размер калибра-кольца проставляется в виде минимального предельного размера с
верхним отклонением равным полю допуска.
Рис.9 Поле допуска dk калибра кольца
4.
По ГОСТ 7951-80 для ширины зуба вала с допуском по 8-му квалитету из табл.5,
стр.7 для интервала размеров св. 6 до 10 мм, находим значения: Координату
середины поля допуска калибра-кольца: 
,
Допуск
калибра-кольца по ширине паза: 
Значение
границы износа по ширине паза: 
Используя
схему 6 из ГОСТ 7951-80 рассчитываем предельные размеры калибра-кольца по
ширине паза.
k-исп = bk min+
= 6,996+0,006 мм
bk-w
= bmax +Y1b=6,987+0,021=7,008
мм
Исполнительный размер калибра-кольца проставляется в виде минимального
предельного размера с верхним отклонением равным полю допуска:
Рис. 10 Поле допуска bk
калибра-кольца
. По ГОСТ
7951-80 для нецентрирующего наружного диаметра из табл.6, стр.7 для интервала
размеров св. 30 до 50 мм, находим значения для калибра-кольца:
Координату
середины поля допуска калибра-кольца: 
,
Допуск
калибра-кольца по ширине паза: 
Используя
схему 7 из ГОСТ 7951-80 рассчитываем предельные размеры калибра-кольца по
нецентрирующему наружному диаметру.
Рис.11 Поле допуска Dk
калибра кольца
Dk-исп = Dk min+
= 36,8625+0,025 мм
Исполнительный
размер калибра-кольца проставляется в виде минимального предельного размера с
верхним отклонением равным полю допуска.
Изображение
и условное обозначение калибра-кольца выполняется по ГОСТ 24960-81 «Калибры для
шлицевых прямобочных соединений».
Рассчитаем
исполнительные размеры шлицевого комплексного калибра-пробки для контроля
шлицевой втулки d-8×36H7×40H12 ×7D9:
. По
ГОСТ 25347-82 находим предельные отклонения параметров шлицевой втулки:
Для
внутреннего диаметра (d) c основным отклонением Н и 7-го
квалитета для интервала размеров св.30 до 40 (табл.8,стр 21):
Для
наружного диаметра (D) c основным отклонением Н и 12-го квалитета для
интервала размеров св.30 до 40 (табл.8,стр 23):
Для
ширины паза (b) с основным отклонением D и 9-го
квалитета для интервала размеров св.6 до 10:
.Рассчитываем
наибольший и наименьший предельные размеры параметров шлицевого отверстия:
Dmax=
min=
max=
min=
мм.
max =
dmin =
3.По ГОСТ
7951-80 для центрирующего внутреннего диаметра с допуском по 7-му квалитету (IT=7) из табл.2, стр. 4 для интервала
размеров св. 30 до 50 мм, находим значения:
Координату
середины поля допуска калибра-пробки: 
Допуск
калибра-пробки по центрирующему диаметру:
Значение
границы износа по центрирующему диаметру:
.
Используя
схему 3 из ГОСТ 7951-80 рассчитываем предельные размеры калибра-кольца по
внутреннему центрирующему диаметру:
Рис.12 Поле допуска dк калибра-пробки
Исполнительный
размер калибра-пробки проставляется в виде максимального предельного размера с
нижним отклонением равным полю допуска:
dk-исп = 35,995 -0,07 мм
Кроме
предельных размеров, необходимо рассчитать допустимый износ калибра-пробки по
центрирующему диаметру: dk-w=dmin-Yd= 36-0,019=35,981 мм.
.
По ГОСТ 7951-80 для ширины паза отверстия с допуском по 9-му квалитету из табл.
3, стр.5 для интервала размеров св. 6 до 10 мм , находим:
Координату
середины поля допуска калибра-пробки:
Допуск
калибра-кольца по толщине зуба: 
Значение
границы износа по толщине зуба: 
Используя
схему 4 из ГОСТ 7951-80 рассчитываем предельные размеры калибра-пробки по
толщине зуба:
Рис.13 Поле допуска bк калибра-пробки
bk max=bmin
bk min=bmin
Исполнительный
размер калибра-пробки проставляется в виде максимального предельного размера с
нижним отклонением равным полю допуска: исп = 7,03-0,04 мм
Кроме
предельных размеров, необходимо рассчитать допустимый износ калибра-пробки по
ширине зуба: bk-w=bmin-Yb=
7,040-0,018=7,022 мм.
. По ГОСТ
7951-80 для нецентрирующего наружного диаметра из табл. 6, стр.9 для интервала
размеров св. 30 до 50 мм , находим значения для калибра-пробки:
Координату
середины поля допуска калибра-пробки:
Допуск
калибра-кольца по наружному диаметру: 
Используя
схему 7 из ГОСТ 7951-80 рассчитываем предельные размеры калибра-пробки по
нецентрирующему наружному диаметру:
Рис.14 Поле допуска Dk калибра-пробки
Dk max=Dmin
k min=Dmin
Исполнительный размер калибра-пробки проставляется в виде максимального
предельного размера с нижним отклонением равным полю допуска:
Dk-исп = 39,9325-0,025 мм
Изображение и
условное обозначение калибра-пробки выполняется по ГОСТ 24960-81 «Калибры для
шлицевых прямобочных соединений».
2.2 Выбрать
методы и средства контроля дефектов в деталях типа «корпус» и тип «вал»
Материал
детали типа «корпус» - чугун СЧ. Виды дефектов: раковины газовые, пористость.
Типа «вал» сталь Ст, виды дефектов: трещины сварочные.
|
Тип детали
|
Вид дефекта
|
Методы неразрушающего контроля
|
|
Корпус
|
Раковины шлаковые
|
Радиационный (4)
|
|
|
Акустический (4)
|
|
Неметаллические включения
|
Радиационный (4)
|
|
|
Вихретоковый (2)
|
|
|
Акустический (4)
|
|
Вал
|
Закаты
|
Оптический(2)
|
|
|
Вихретоковый (3)
|
|
|
Акустический (3)
|
Рассмотрим
Акустический и Вихретоковый методы неразрушающего контроля.
2.3.1 Акустический метод неразрушающего контроля качества
Известно много акустических методов НК, некоторые из
которых применяются в нескольких вариантах. Их делят на две большие группы -
активные и пассивные методы.
Активные методы основаны на излучении и приеме упругих
волн, пассивные - только на приеме волн, источником которых служит сам
контролируемый объект.
Активные методы делят на методы прохождения,
отражения, комбинированные (использующие как прохождение, так и отражение),
импедансные и методы собственных частот.
Методы прохождения используют излучающие и приемные
преобразователи, расположенные по разные или по одну сторону от контролируемого
изделия. Применяют импульсное или (реже) непрерывное излучение и анализируют
сигнал, прошедший через контролируемый объект. Исторически методы прохождения
применяли только для обнаружения несплошностей, меняющих параметры сквозного сигнала
вследствие образования за дефектом акустической тени. Поэтому их называли
«теневыми». Однако затем эти методы начали использовать для контроля прочности,
пористости, структуры и других параметров материала, не связанных с наличием
тени. Поэтому теневой метод - частный случай метода прохождения. Акустический
вид НК основан на регистрации параметров упругих волн, возникающих или
возбуждаемых в объекте. Чаще всего используют упругие волны ультразвукового
диапазона (с частотой колебаний свыше 50 кГц), этот метод называют
ультразвуковым. Этот вид контроля применим ко всем материалам, хорошо
проводящие акустические волны.
Эхо-метод основан на регистрации эхо-сигналов от
дефектов. На экране обычно наблюдают посланный (зондирующий) импульс, импульс,
отраженный от противоположной поверхности (дна) объекта контроля и эхо-сигнал
от дефекта. Время прихода импульсов пропорционально глубине залегания дефекта и
толщине объекта контроля.
Ультразвуковой дефектоскоп предназначен для
обнаружения неоднородности в изделии, определения их координат, размера и
характера путём излучения импульсов ультразвуковых колебаний, приёма и
регистрации отраженных от неоднородности эхо-сигналов.
Структурная схема дефектоскопа общего назначения для
ручного контроля по сравнению с упрощенной схемой содержит ряд дополнительных
систем, обеспечивающих удобство эксплуатации и точность измерения (рис. 9).
Рис. 16. Структурная схема эхо-дефектоскопа.
Генератор зондирующих импульсов 7 вырабатывает импульс
электрического напряжения, возбуждающий ультразвуковые колебания в
электроакустическом преобразователе 3, который излучает их в объект контроля.
Отраженные от дефекта ультразвуковые сигналы принимаются тем (совмещенная
схема) или другим (раздельная схема электроакустического преобразователя),
трансформируются в электроакустические импульсы и поступают на вход усилителя 1.
Коэффициент его усиления регулируется во времени с помощью системы временной
регулировки чувствительности 4, благодаря чему компенсируется ослабление
ультразвукового импульса в объекте контроля. Усиленный до определенной величины
сигнал поступает на индикатор 6 - электронно-лучевую трубку и автоматический
сигнализатор дефектов (регистрирующее устройство) 2. Синхронизатор 8
обеспечивает требуемую временную последовательность работы всех узлов
дефектоскопа.
Одновременно с выпуском генератора импульсов (или с некоторым
заданным запаздыванием) он приводит в действие генератор развертки 9 ЭЛТ.
Развертка позволяет различить по времени прихода сигнал от объектов отражения
ультразвука, расположенных на разном расстоянии от ЭЛТ, например сигналы от
дефектов отличить от данного сигнала.
. Горизонтальная развертка типа А (рис. 10)
синхронизирована с перемещением импульса в изделии. Отклонение луча в
вертикальном направлении пропорционально амплитуде принятого эхо-сигнала.
Сигнал 1 соответствует зондирующему импульсу, сигнал 2 - донному сигналу; между
ними располагается эхо-сигнал 3 от дефекта.
Рис 17. Горизонтальная развертка электронно-лучевой
трубки
Синхронизатор также управляет работой блоков временной
регулировки чувствительности и автоматический сигнализатор дефектов.
Измерительное устройство 5 обрабатывает сигналы, поступившие от усилителя, с
учетом времени поступившего сигнала от синхронизатора и выдаёт цифровую
информацию на ЭЛТ или на отдельное табло.
Генератор зондирующих импульсов содержит два основных
элемента: колебательный контур, включающий в себя ЭЛТ, пьезопреобразователь, и
электронную схему, обеспечивающие генерацию коротких радиоимпульсов той или
иной формы. В колебательном контуре параллельно или последовательно пьезоэлементу
включены индуктивность и активное сопротивление. Несущая частота импульсов
подстраивается индуктивностью. Обычно генерируются ударные экспоненциальные
затухающие импульсы-колебания, хотя энергетически более рациональной их формой
является колоннообразная. В приборе регулируется амплитуда и длительность
генерирующих импульсов.
Система временной регулировки чувствительности
предназначена для генерирования регулирующего сигнала определенной формы, с
помощью которого изменяется во времени усиление усилителя высокой частоты.
Система временной регулировки чувствительности компенсирует ослабление
импульса, обусловленного дифракционным расхождением и затуханием. Исходя из
этого, закон изменения усиления должен быть обратным закону убывания амплитуд
отраженных сигналов от одних и тех же дефектов по мере их удаления от
преобразователя. Эти законы разные для отражателей различной формы и размеров,
поэтому идеальную систему временной регулировки чувствительности создать
нельзя.
Индикатором принятых сигналов служит, как правило,
ЭЛТ. Чаще всего на вертикально отклоняющие пластины падают длинные до
необходимой величины полезные сигналы, а на горизонтально отклоняющиеся -
напряжение развертки. Развертку синхронизируют с частотой зондирующих посылок.
Необходимую длительность развертки определяют: скорость звука в материале и
максимальная толщина объекта контроля
При большой толщине объекта контроля сигналы от
близкорасположенных друг к другу отражателей плохо различимы для линии
развертки. С целью преодоления этого недостатка многие дефектоскопы снабжены
схемой задержки развертки, с помощью которой запуск развертки осуществляют не
зондирующим импульсом, а первым отраженным от поверхности объекта контроля
сигналом, или сигналом, произвольно регулируемым во времени. Рассмотренную
систему развертки «время-амплитуда» называют разверткой типа А.
Синхронизатор 8 представляет собой автоколебательную
импульсную систему. Его обычно выполняют по схеме мультивибратора.
Частоту генерирующих синхронизатор - запускающих
импульсов выбирают в зависимости от задач контроля в пределах от 50 до 8000 Гц.
Так как частота синхронизатора определяет период следования зондирующих
посылок, то с точки зрения увеличения скорости контроля её желательно выбирать
возможно большей. Однако она ограничивается затуханием ультразвука и толщиной
объекта контроля, поскольку необходимо, чтобы импульс, излученный в объекте
контроля полностью затух до поступления следующей посылки.
Система автоматической сигнализации дефектов (АСД)
предназначена для автоматической фиксации моментов обнаружения дефекта. Её
можно рассматривать как частный случай регистратора. Система АСД дает звуковой
или световой сигнал при выявлении дефекта, что позволяет повысить надежность
полученных результатов.
Устройство для измерения расстояния до дефекта, дна
объекта контроля или упругого отражателя - глубиномер, который измеряет время
пробега импульса до отражения.
Пьезоэлементы. Пьезоэлектрические материалы -
материалы, обладающие пьезоэффектом, используются для изготовления
пьезоэлементов (пьезопластин), служащих в акустических приборах НК для
преобразования электрических колебаний в упругие и упругих колебаний в
электрические.
Пьезоэлектрический преобразователь (ПЭП) - устройство,
предназначенное для преобразования электрической (акустической) энергии в
акустическую (электрическую). Принцип работы преобразователя основан на
использовании пьезоэлектрического эффекта.
Наиболее широкое применение в ультразвуковой
дефектоскопии получили контактные преобразователи. Пьезопластина 1 в контактном
прямом совмещенном пьезопреобразователе (рис. 11, а) приклеена или прижата с
одной стороны к демпферу 2, с другой - к протектору 3. Пьезопластину, демпфер и
протектор, склеенные между собой, называют вибратором. Вибратор размещен в
корпусе 6. С помощью выводов 7 пьезопластину соединяют с электронным блоком
дефектоскопа. Контактная жидкость (смазочный материал) 4 обеспечивает передачу
упругих колебаний ультразвуковой частоты преобразователя к контролируемому
изделию 5 и наоборот. Прямые преобразователи предназначены для возбуждения
продольных волн.
В контактных наклонных совмещенных преобразователях
(рис. 11, б) для ввода ультразвуковых колебаний под углом к поверхности
контролируемого изделия применяют призму 8. Эти преобразователи предназначены
для возбуждения в основном сдвиговых (поперечных) и поверхностных волн, а также
продольных волн, наклонных к поверхности контролируемого объекта. Вибратор
контактных раздельно-совмещенных преобразователей (рис. 11, в) состоит из двух
призм 8 с приклеенными к ним пьезопластинами 1, которые разделены
электроакустическим экраном 9. Он служит для предотвращения прямой передачи
сигналов от излучающей пьезопластины, подключенной к генератору, к приемной
пьезопластине, подключенной к усилителю электронного блока дефектоскопа.
Конструкция искателей(рис. 18)
а) нормальный б)наклонный в)раздельно-совмещенный
Пьезопластина обычно имеет толщину, равную половине
длины волны ультразвука в пьезоматериале на рабочей частоте. Противоположные
поверхности пьезопластины покрыты металлическими (обычно серебряными)
электродами для приложения электрического поля. Во избежание пробоя область по краям
пластины не металлизируют. Формой электродов определяются работающие участки
пьезопластины. На высоких частотах (20...30 МГц) присоединенная масса
электродов смещает резонансную частоту пьезопластины в область более низких
частот.
Демпфер служит для ослабления свободных колебаний
пьезопластины, управления добротностью преобразователя и защиты пьезопластины
от механических повреждений. Материал и форма демпфера должны обеспечивать
достаточное затухание и отвод колебаний, излученных пьезопластиной в материал
демпфера без возвращения их к пластине. Ослабление колебаний пьезопластины тем
сильнее, чем лучше согласованы характеристические импедансы материалов
пьезопластины и демпфера.
Демпферы обычно изготавливают из искусственных смол
(эпоксидных) с добавками порошковых наполнителей с высокой насыпной плотностью,
необходимой для получения требуемого характеристического импеданса. Для
уменьшения многократных отражений демпфер выполняют в виде конуса, либо тыльную
поверхность демпфера выполняют непараллельной пьезопластине, либо в материал
демпфера вводят рассеиватели.
Протектор служит для защиты пьезопластины от
механических повреждений и воздействия иммерсионной или контактной жидкости,
согласования материала пьезопластины с материалом контролируемого изделия или
средой, улучшения акустического контакта при контроле контактным способом.
Материал протектора должен обладать высокой износостойкостью и высокой
скоростью звука, которая определяет необходимую его толщину. Последняя обычно
выбирается равной 0,1...0,5 мм. Для изготовления протекторов применяют кварц,
сапфир, бериллий, сталь, твердые сплавы, керамику, а также материалы на основе
эпоксидных смол с порошковыми наполнителями (кварцевый песок, корундовый
порошок) и т.п.
Для обеспечения стабильности акустического контакта
протектор делают из эластичного материала с большим затуханием ультразвука и
волновым сопротивлением, близким к сопротивлению контактной жидкости, например
из пленки полиуретана. Такой протектор облегает неровности поверхности изделия
и способствует устранению интерференции в слое онтактной жидкости, т.е.
основной причины нестабильности контакта.
Для улучшения передачи ультразвука от пьезопластины в
иммерсионную жидкость используют четвертьволновые протекторы, обеспечивающие
просветление границы пьезопластина - жидкость.
Призму изготовляют обычно из материала с небольшой
скоростью звука (оргстекло, капролон, поликарбонат, полиамидоимид, деклон,
эпоксидные компаунды), что позволяет при относительно небольших углах падения в
получить углы преломления б до 90°. Высокое затухание ультразвука в призме
обеспечивает ослабление не вошедшей в изделие волны, которое увеличивается в
результате многократных отражений. Для улучшения этого эффекта в призме часто
предусматривается ловушка, удлиняющая путь отраженных колебаний. На пути этих
колебаний располагают зоны небольших отверстий, грани призмы выполняют
ребристыми или приклеивают к ним материалы с приблизительно одинаковым
характеристическим импедансом, но со значительно большим затуханием.
Для того чтобы в изделие проходили волны только одного
типа, угол падения (наклона призмы) делают либо небольшим (при этом поперечные
волны практически не возбуждаются), либо в интервале между первым и вторым
критическим углами. В этом случае при переходе из призмы в изделие излучаемые
пьезопластиной продольные волны трансформируются в поперечные. Для пары
оргстекло - сталь эти условия выполняются при углах в < 7° и 28° < в <
58°. Призмы с малыми углами используют обычно в раздельно - совмещенных, а с
большими углами - в наклонных преобразователях. Кроме того, призмы с углами 27
и 60° используют для возбуждения головной волны и поверхностной волны Рэлея
соответственно.
Для возбуждения наклонных к поверхности продольных
волн призмы делают с углами 18...24°. Такие преобразователи применяют для
контроля сварных соединений из аустенитных сталей. Поперечные волны в изделиях
в этом случае являются источником помех.
Для получения произвольных углов ввода применяют
универсальные (с переменным углом ввода) преобразователи, в которых с помощью
простого механизма пьезоэлемент перемещают по окружности полуцилиндра либо
изменяют его положение внутри призмы или локальной ванны.
В раздельно-совмещенных преобразователях призма должна
удовлетворять дополнительным требованиям. Например, в толщинометрии важно,
чтобы время прохождения колебаний сквозь призму не зависело от температуры,
поэтому в этом случае призму изготовляют, например, из плавленого кварца,
имеющего малые температурные коэффициенты линейного расширения и изменения
скорости ультразвука.
Корпус служит для обеспечения прочности конструкции, а
также для экранирования от электромагнитных помех, поэтому корпус из пластмассы
металлизируют.
Электрические контакты выполняют пайкой легкоплавкими
припоями, особенно на пьезокерамических пластинах, во избежание их
располяризации. Для соединения преобразователя с электронным блоком
дефектоскопа применяют максимально гибкий кабель (микрофонный или
коаксиальный). Часто для согласования с электронным блоком дефектоскопа внутри
корпуса преобразователя размещают трансформатор, катушку индуктивности,
резистор, а иногда и предварительный усилитель.
Промышленность выпускает преобразователи различных
типов для работы с дефектоскопами общего назначения. Параметры и характеристики
их следующие: частота максимума преобразования, полоса пропускания частот,
коэффициент преобразования, ширина диаграммы направленности И1, угол
ввода б, фокусное расстояние F,
диаметр выявляемого дефекта dотр, минимальная Hmin и максимальная Нmax глубина его залегания (при работе с
определенным дефектоскопом), срок службы, габаритные размеры и масса.
.3.2 Вихретоковый метод неразрушающего контроля
качества
Вихретоковые методы основаны на анализе взаимодействия
внешнего электромагнитного поля с электромагнитным полем вихревых токов,
наводимых возбуждающей катушкой в электропроводящем объекте контроля. Плотность
вихревых токов в объекте зависит от геометрических и электромагнитных
параметров объекта, а также от взаимного расположения измерительного вихревого
токового преобразователя и объекта. В качестве преобразователя используют
обычно индуктивные катушки (одну или несколько). Синусоидальный (или
импульсный) ток, действующий в катушках ВТП, создает электромагнитное поле,
которое возбуждает вихревые токи в электропроводящем объекте. Электромагнитное
поле вихревых токов воздействует а катушки преобразователя, наводя в них ЭДС
или изменяя их полное электрическое сопротивление. Регистрируя напряжение на
зажимах катушки или ее сопротивление, получают информацию о свойствах объекта и
о положении преобразователя относительно него.
ЭДС (или сопротивление) преобразователя зависит от
многих параметров объекта контроля, т.е. информация, представляемая сигналом
преобразователя, является многопараметровой. Это определяет как преимущество,
так и трудности реализации вихретоковых методов (ВТМ). С одной стороны, ВТМ
позволяют осуществить многопараметровый контроль; с другой, требуются
специальные приемы для разделения информации об отдельных параметрах объекта.
При контроле одного из параметров влияние остальных на сигнал преобразователя
становится мешающим, поэтому это влияние необходимо подавлять.
Особенность вихретокового контроля в том, что его
можно проводить без контакта преобразователя и объекта. Их взаимодействие
происходит обычно на расстояниях, достаточных для свободного движения
преобразователя относительно объекта (от долей миллиметра до нескольких
миллиметров).
Одна из особенностей ВТМ состоит в том, что на сигналы
преобразователя практически не влияют влажность, давление и загрязненность
газовой среды, радиоактивные излучения, загрязнение поверхности объекта
контроля непроводящими веществами.
Простота конструкции преобразователя - еще одно
преимущество ВТМ.
ВТМ основаны на возбуждении вихревых токов, а поэтому
применяются в основном для контроля качества электропроводящих объектов:
металлов, сплавов, графита, полупроводников.
В дефектоскопии с помощью ВТМ обнаруживают дефекты
типа несплошностей, выходящих на поверхность или залегающих на небольшой
глубине, например разнообразные трещины, расслоения, закаты, плены, раковины,
неметаллические включения.
Принцип действия и схема прибора
Сигнал, полученный от блока 2 ВТП, возбуждаемого
генератором 1, усиливается усилителем 3 и детектируется амплитудным детектором
4, а постоянное напряжение детектора 4 подается на индикатор 5. Характерная
особенность блока 2 в этой схеме - наличие компенсатора, позволяющего смещать
точку компенсации в положение, требуемое по условиям подавления влияния
мешающего фактора. Схема прибора показана на рисунке 16:
Рис. 19. Схема прибора
Классификация и применение вихретоковых
преобразователей (ВТП)
По рабочему положению относительно объекта контроля
преобразователи делят на проходные, накладные и комбинированные.
Накладные ВТП обычно представляют собой одну или
несколько катушек, к торцам которых подводится поверхность объекта (рис.17).
Катушки таких преобразователей могут быть круглыми коаксиальными (рис. 11, а),
прямоугольными (рис. 17, б), прямоугольными крестообразными (рис. 11, в), с
взаимно перпендикулярными осями (рис. 17,г) и др.
Рис. 20. Различные виды накладных ВТП
Накладные преобразователи выполняют с ферромагнитными
сердечниками или без них. Благодаря ферромагнитному сердечнику (обычно
ферритовому) повышается абсолютная чувствительность преобразователя и
уменьшается зона контроля за счет локализации магнитного потока. Проходные ВТП
делят на наружные, внутренние, погружные. Отличительная особенность проходных
ВТП в том, что в процессе контроля они проходят либо снаружи объекта, охватывая
его (наружные, рис.18, а - в), либо внутри объекта (внутренние, рис. 18, г, д),
либо погружаются в жидкий объект (погружные, рис. 18, е, ж).
Рис. 21. Различные виды проходных ВТП
Обычно проходные ВТП имеют однородное магнитное поле в
зоне контроля, в результате чего радиальные смещения однородного объекта
контроля не влияют на выходной сигнал преобразователя.
Комбинированные преобразователи представляют собой комбинацию
накладных и проходных ВТП.
Особую разновидность представляют собой экранные ВТП,
отличающиеся тем, что их возбуждающие и измерительные обмотки разделены
контролируемым объектом.
По виду преобразования параметров объекта в выходной
сигнал ВТП делят на трансформаторные и параметрические. В трансформаторных,
имеющих как минимум две обмотки (возбуждающую и измерительную), параметры
объекта контроля преобразуются в напряжение измерительной обмотки, а в
параметрических, имеющих, как правило, одну обмотку, - в комплексное
сопротивление. Преимущество параметрических ВТП заключается в их простоте, а
недостаток, который в трансформаторных ВТП выражен значительно слабее, в
зависимости выходного сигнала от температуры преобразователя.
По способу соединения обмоток различают абсолютные и
дифференциальные ВТП. Выходной сигнал абсолютного ВТП определяется абсолютным
значением параметров объекта, а дифференциального - приращениями этих
параметров. На рис. 19 приведены схемы проходных трансформаторных ВТП (а - дифференциальный,
б - абсолютный).
а) б)
Рис. 22. Различные схемы трансформаторных ВТП
Накладными ВТП контролируют в основном объекты с
плоскими поверхностями и объекты сложной формы. Эти преобразователи применяют
также, когда требуется обеспечить локальность и высокую чувствительность
контроля. Наружными проходными ВТП контролируют линейно-
протяженные объекты (проволоку, прутки, трубы и т.д.);
применяют их и при массовом контроле мелких изделий. Внутренними проходными ВТП
контролируют внутренние поверхности труб, а также стенки отверстий в различных
деталях.
Трансформаторные ВТП обычно включают по
дифференциальной схеме. При этом возможны схема сравнения со стандартным
образцом и схема «самосравнения». В первом случае рабочий и образцовый ВТП не
связаны индуктивно и имеют независимые измерительные и возбуждающие обмотки. Во
втором возбуждающая обмотка часто служит общей для двух измерительных. При
включении ВТП по дифференциальной схеме повышается стабильность работы прибора.
Однако в ряде случаев измерительную обмотку включают последовательно с
компенсатором, представляющим собой регулятор амплитуды и фазы напряжения. При
этом компенсатор выполняет роль образцового ВТП: когда рабочий ВТП контролирует
стандартный образец, то компенсатором устанавливается требуемое напряжение
компенсации. Такая схема позволяет устранить нестабильность, связанную с
разогревом стандартного образца вихревыми токами.
Чувствительность проходных преобразователей к дефектам
изделий
Определение чувствительности ВТП к дефектам объекта
представляет собой сложную задачу даже в случае дефектов простой геометрической
формы. Чувствительность проходного преобразователя к дефектам определяется
многими факторами: параметрами дефекта, значением обобщенного параметра
контроля, формой объекта, параметрами преобразователя, током возбуждения и
положением объекта в нем.
Для прутков, проволоки, труб и других объектов
круглого сечения наиболее характерны узкие продольные дефекты. Они оказывают
такое же влияние на преобразователь, как бесконечно узкий и бесконечно длинный
разрез глубиной h. На рис. 14
показаны три типа дефектов ( дефект типа А: h-глубина поверхностного дефекта; дефект типа В: д - глубина
залегания дефекта под поверхностью; дефект типа С: t/h - относительная
ширина (раскрытие) поверхностного дефекта).
Рис.23. Типы дефектов и их параметры
Заключение
При выделении
и анализе основных направлений развития средств измерений, а также при оценке
современности и перспективности тех или иных разработанных или используемых
средств измерений необходимо помнить о роли измерений в современном
производстве.
Измерение
является неотъемлемой частью технологического процесса и призвано обслуживать
технологический процесс. Основной целью измерений, а следовательно, и целью
применения определенных видов измерительных средств является выявление точности
и устойчивости технологического процесса. Приемка готовых изделий по
результатам измерения, т. е. контроль, является только одним и при этом не
самым главным видом измерения для обслуживания технологического процесса. Т. о.
процессы изготовления и измерения взаимосвязаны и влияют друг на друга.
Область
применения физических методов неразрушающего контроля в промышленном
производстве быстро расширяется. В настоящее время еразрушающий контроль
является неотъемлемой частью производства и эксплуатации в энергетике,
химическом производстве, авиации, морском, ж/д транспорте и целом ряде других
отраслей промышленности.
Неразрушающий
контроль выделяется в самостоятельную отрасль технических наук. Это объясняется
тем, что он основывается на комплексном применении самых различных отраслей и
областей физики: оптики, акустики, газовой динамики, атомной физики.
Передовые
достижения в смежных областях науки быстро осваиваются и усовершенствуются в
неразрушающем контроле.
Перспективы
развития неразрушающего контроля тесно связаны с применением вычислительной
техники и роботизацией производственных процессов. Особое значение
вычислительная техника имеет для новых разрабатываемых средств, что позволяет
автоматизировать наиболее сложный и ответственный этап контроля - принятие
достоверного решения.
Список
используемой литературы
измерение деталь контроль
1.
ГОСТ 25347-82 «Единая система допусков и посадок. Поля допусков и рекомендуемые
посадки».
.
ГОСТ 1139-80 «Основные нормы взаимозаменяемости. Соединения шлицевые
прямобочные. Размеры и допуски».
.
ГОСТ 7951-80 «Калибры для контроля шлицевых прямобочных соединений. Допуски».
.
Белкин И.М. Средства линейно-угловых измерений. Справочник / И.М. Белкин . -
М.: Машиностроение, 1987. 412 с.
.
Васильев А.С. Основы метрологии и технические измерения / А.С. Васильев. - М.:
Машиностроение, 1988. 367 с.
.
Клюев В.В. Неразрушающий контроль и диагностика / В.В. Клюев . - М.:
Машиностроение, 2003. 327 с.
.
Марков Н.Н. Конструкция, расчет и эксплуатация контрольно-измерительных
инструментов и приборов: Учебник для техникумов по специальности «Производство
контрольно-измерительных инструментов и приборов» / Н.Н. Марков, Г.М.
Ганевский. - М.: Машиностроение, 1993. - 416 с.: ил.
.
Степанов Ю.С. Альбом контрольно-измерительных приспособлений: Учебное пособие
для вузов / Ю. С. Степанов, Б.И. Афанасьев, А.Г. Схиртладзе, А.Е. Щукин, А.С.
Ямников. - М.: Машиностроение, 1998. 184 с.