Расчёт центробежного насоса

  • Вид работы:
    Курсовая работа (т)
  • Предмет:
    Другое
  • Язык:
    Русский
    ,
    Формат файла:
    MS Word
    605,4 Кб
  • Опубликовано:
    2013-05-27
Вы можете узнать стоимость помощи в написании студенческой работы.
Помощь в написании работы, которую точно примут!

Расчёт центробежного насоса

Содержание

 

Введение

1. Центробежные насосы и принцип их работы

2. Расчёт основных параметров и рабочего колеса центробежного насоса

3. Выбор прототипа проектируемого центробежного насоса

4. Подбор электродвигателя центробежного насоса

5. Особенности эксплуатации центробежного насоса

6. Техника безопасности и охрана труда

Заключение

Литература

Приложение

Введение

Насос (разг. водяная помпа, колонка) - гидравлическая машина, преобразующая механическую энергию приводного двигателя в энергию потока жидкости, служащая для перемещения и создания напора жидкостей всех видов, механической смеси жидкости с твёрдыми и коллоидными веществами или сжиженных газов. Следует заметить, что машины для перекачки и создания напора газов выделены в отдельные группы и получили название вентиляторов и компрессоров. Разность давлений жидкости в насосе и трубопроводе обуславливает ее перемещение.

Изобретение насоса относится к глубокой древности. Первый поршневой насос для тушения пожара, который изобрёл древнегреческий механик Ктесибий, упоминается ещё в I веке н.э. В Средние века насосы использовались в различных гидравлических машинах. Один из первых центробежных насосов со спиральным корпусом и четырёхлопастным рабочим колесом был предложен французским учёным Д. Папеном. До XVIII века насосы использовались гораздо реже, чем водоподъёмные машины (устройства для безнапорного перемещения жидкости), но с появлением паровых машин насосы начали вытеснять водоподъёмные машины. В XIX веке с развитием тепловых и электрических двигателей насосы получили широкое распространение. В 1838 году русский инженер А.А. Саблуков на основе созданного им ранее вентилятора построил центробежный насос и работал над применением его при создании судового двигателя.

По характеру сил, преобладающих в насосе: объёмные, в которых преобладают силы давления и динамические, в которых преобладают силы инерции.

По характеру соединения рабочей камеры с входом и выходом из насоса: периодическое соединение (объёмные насосы) и постоянное соединение входа и выхода (динамические насосы).

центробежный насос двигатель параметр

Объёмные насосы используются для перекачки вязких жидкостей. В этих насосах одно преобразование энергии - энергия двигателя непосредственно преобразуется в энергию жидкости (механическая => кинетическая + потенциальная). Это высоконапорные насосы, они чувствительны к загрязнению перекачиваемой жидкости. Рабочий процесс в объёмных насосах неуравновешен (высокая вибрация), поэтому необходимо создавать для них массивные фундаменты. Также для этих насосов характерна неравномерность подачи. Большим плюсом таких насосов можно считать способность к сухому всасыванию (самовсасыванию).

Для динамических насосов характерно двойное преобразование энергии (1 этап: механическая => кинетическая + потенциальная; 2 этап: кинетическая => потенциальная). В динамических насосах можно перекачивать загрязнённые жидкости, они обладают равномерной подачей и уравновешенностью рабочего процесса. В отличие от объёмных насосов, они не способны к самовсасыванию.

1. Центробежные насосы и принцип их работы


Схематически центробежный насос (рис. 1.1) состоит из рабочего колеса, снабженного лопастями и установленного на валу в спиральном корпусе. Жидкость в рабочее колесо поступает в осевом направлении. Под действием центробежной силы, возникающей при вращении рабочего колеса, жидкость прижимается к стенке корпуса и выталкивается в нагнетательное отверстие по касательной к рабочему колесу. При этом на входе в насос давление падает, и в рабочее колесо устремляется жидкость, находящаяся под более высоким давлением, например, под атмосферным давлением при выкачивании жидкости из открытого резервуара. Центробежные насосы широко распространены благодаря ряду преимуществ, которыми они обладают по сравнению с другими типами насосов. Их основными достоинствами являются непрерывность подачи жидкости, простота устройства и, следовательно, относительно низкая стоимость и высокая надежность, достаточно высокий КПД (порядка 0,6-0,8), большая высота всасывания. Они легко поддаются автоматизации управления.

К недостаткам центробежных насосов следует отнести то, что их подача изменяется в широких пределах в зависимости от сопротивления сети, на которую они работают. Неудобство доставляет также то, что при пуске центробежного насоса в обычном исполнении его необходимо заливать водой, если уровень перекачиваемой жидкости находится, ниже входного патрубка.

Центробежные насосы классифицируют по:

. числу колес (одноступенчатые (одноколесные), многоступенчатые (многоколесные); кроме того, одноколесные насосы выполняют с консольным расположением вала - консольные;

. напору (низкого напора до 2 кгс/см2 (0,2 МН/м2), среднего напора от 2 до 6 кгс/см2 (от 0,2 до 0,6 МН/м2), высокого напора больше 6 кгс/см2 (0,6 МН/м2);

Схема центробежной насосной установки.

Рис.1.1

. способу подвода воды к рабочему колесу (с односторонним входом воды на рабочее колесо, с двусторонним входом воды (двойного всасывания);

. расположению вала (горизонтальные центробежные насосы, вертикальные центробежные насосы);

. способу разъема корпуса (с горизонтальным разъемом корпуса, с вертикальным разъемом корпуса);

. способу отвода жидкости из рабочего колеса в спиральный канал корпуса (спиральные и турбинные центробежные насосы). В спиральных насосах жидкость отводится непосредственно в спиральный канал; в турбинных жидкость, прежде чем попасть в спиральный канал, проходит через специальное устройство - направляющий аппарат (неподвижное колесо с лопатками);

. степени быстроходности рабочего колеса (тихоходные, нормальные, быстроходные центробежные насосы);

. роду перекачиваемой жидкости (водопроводные, канализационные, кислотные и щелочные, нефтяные, землесосные и др. центробежные насосы);

. способу соединения с двигателем (приводные (с редуктором или со шкивом), непосредственного соединения с электродвигателем с помощью муфт). Насосы со шкивным приводом встречаются в настоящее время редко.

Центробежные насосы должны быть оборудованы следующей арматурой и приборами:

. приемным обратным клапаном с сеткой, предназначенным для удержания в корпусе и всасывающем патрубке насоса воды при его заливе перед пуском; сетка служит для задержания крупных взвесей, плавающих в воде;

. задвижкой;

. вакуумметром для измерения разрежения на всасывающей стороне. Вакуумметр устанавливается на трубопроводе между задвижкой и корпусом насоса; краном для выпуска воздуха при заливе (устанавливается в верхней части корпуса); обратным клапаном на напорном трубопроводе, предотвращающем движение воды через центробежный насос в обратном направлении при параллельной работе другого насоса;

. задвижкой на напорном трубопроводе, предназначенной для пуска в работу, остановки и регулирования производительности и напора центробежного насоса;

. манометром на напорном патрубке для измерения напора, развиваемого центробежным насосом;

. предохранительным клапаном на напорном патрубке за задвижкой для защиты центробежного насоса, напорного патрубка и трубопровода от гидравлических ударов; устройством для залива насоса.

В связи с тем, что центробежные насосы часто включаются в основной комплекс оборудования для регулирования режимов работы различного назначения, они могут быть оборудованы разнообразными приборами автоматики.

Консольные насосы (насосы типа К) для воды - самые многочисленные из промышленных насосов.

Рабочим органом консольного насоса является центробежное колесо, поэтому их еще называют - насос центробежный консольный (насосы К).

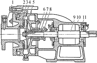
Насос К (рис. 1.2) - горизонтальный одноступенчатый консольный насос, с односторонним подводом жидкости к рабочему колесу. Насосы типа к предназначены для перекачивания в стационарных условиях чистой воды (кроме морской), с рН = 7, температурой от 0 до 85°С, содержащей твердые включения размером до 0,2 мм, объемная концентрация которых не превышает 0,1 %, а также других жидкостей, сходных с водой по плотности, вязкости и химической активности.

Номинальная подача насосов составляет от 6,7 до 290 м3/ч, при напорах от 12 до 85 м.

Привод насосов типа К (консольных насосов) осуществляется от асинхронного электродвигателя через соединительную муфту.

Существуют два основных вида уплотнений вала: сальниковое и торцовое уплотнения.

Сальниковое уплотнения обозначаются буквой "С" к основной марке, если его нет, то она подразумевается. Утечка через сальниковое уплотнение не более 2 л/ч. для смазывания и охлаждения мягкой набивки.

Одинарное торцовое уплотнение - в марке индекс "5". Внешняя утечка через торцового уплотнения всего не более 0,03 л/ч. Насосы с торцовыми уплотнениями могут перекачивать жидкости с температурой от 0 до 115°С.

Рис.1.2 Схема консольного насоса одностороннего всасывания типа К.

1 - крышка корпуса; 2 - корпус; 3 - уплотняющие кольца; 4 - рабочее колесо; 5 - гайка; 6 - набивка сальника; 7 - защитная втулка; 8 - крышка сальника; 9 - вал насоса; 10 - опорный кронштейн; 11 - шарикоподшипник.

2. Расчёт основных параметров и рабочего колеса центробежного насоса


Исходными данными являются:

подача Q = 20 м3/час;

напор H = 25 м;

число оборотов n = 2900 об/мин;

жидкость - вода 20ºС.

Для определения типа конструкции насоса рассчитываем коэффициент быстроходности ns:

 (2.1)

Далее по формуле определяем объёмный КПД ηо:

; (2.2)

где коэффициент а зависит от соотношения между диаметрами входа и выхода и составляет a=0,68

Затем вычисляем приведённый диаметр D1п

; (2.3)

Гидравлический КПД ηг вычисляем по формуле

; (2.4)

Механический КПД ηмех принимаем за ηмех = 0,93

Находим полный КПД η по формуле


Определяем мощность насоса N по формуле

; (2.6)

Момент M вычисляем по формуле

; (2.7)

Диаметр вала dв определяем по формуле

, (2.8)

где [τ] допустимое напряжение материала вала при кручении

Принимаем dв = 25 мм.

Вычисляем диаметр ступицы dст по формуле

; (2.9)

Принимаем dст = 40 мм.

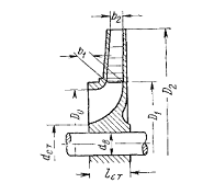
Диаметр входа в колесо D1 вычисляем по формуле (Рис.2.1)

, ; (2.10)

Длину ступицы lст вычисляем по формуле

; (2.11)

Рис.2.1. Схема рабочего колеса центробежного насоса.

Рис.2.2. Схема параллелограмных скоростей.

Окружную скорость на входе в рабочее колесо u1 определяем по формуле (Рис.2.2)

; (2.12)

Скорость входа в рабочее колесо с1 вычисляем по формуле (Рис.2.2)

; (2.13)

Из входного параллелограмма находим β1 по формуле (Рис.2.2)

; (2.14),


При коэффициенте стеснения входного сечения межлопастных каналов μ1 =0,9 определяем ширину лопасти b1 на входе по формуле (Рис.2.1)

; (2.15)

Принимаем β2=36º и определяем окружную скорость u2 на выходе из колеса


Определяем диаметр D2 на выходе из колеса по формуле (Рис. 2.1)

; (2.17)

Ширину лопасти b2 на выходе определяем по формуле (Рис. 2.1)

; (2.18)

Число лопастей Z определяем по формуле

; (2.19)

3. Выбор прототипа проектируемого центробежного насоса


Для выбора прототипа для заданного насоса необходимо использовать поле характеристик выпускаемых промышленностью насосов К. Из этого рисунка находим, что при Q = 20 м3/с и H = 25 м, прототипом является насос марки 2К-6а. Габаритный рисунок насосного агрегата приведён на рис. 3.3 для которого основные размеры следующие.

Размеры L = 831 мм, L1 = 561 мм, L3 = 193 мм, B = 331 мм, B2 = 270 мм, B4 = 174 мм, С =98 мм, C2 = 346 мм, С4 = 290 мм, H = 375 мм, H1 =339 мм, n =225 мм, масса агрегата 99 кг.

Размеры всасывающего патрубка: D = 50 мм, D1 =90 мм, D2 = 110 мм, D3 = 140 мм.

Размеры нагнетательного патрубка: D4 = 40 мм, D5 =80 мм, D6 = 100 мм, D7 = 130 мм.

Технические данные насоса: диаметр рабочего колеса 148 мм, подача Q = 20 м3/ч, 5,5 л/с; полный напор H = 25,2 м. ст. жидк; допустимая вакуумметрическая высота всасывания Ндоп = 6 м. вод. ст; допустимый подпор 2 кгс/см2; КПД насоса 65,6 %; мощность на валу насоса 2,1 кВт; частота вращения 2900 об/мин; масса ЛО 2-31-2 - 31 кг; ЛОЛ 2-31-2 - 26 кг, тип электродвигателя 4А90LA; мощность N =3 кВт; частота вращения 2840 об/мин; масса 28,7 кг.

Тип электродвигателя у этого насоса АОЛ 2-31-2.

Рис.3.1 Сводный график полей H-Q для консольных насосов.

Рис.3.2 Центробежный насос 2К-6а.

Рис. 3.3. Характеристика центробежного насоса типа К.,

Рис 3.4. Габаритные размеры центробежного насоса типа К.

4. Подбор электродвигателя центробежного насоса


От правильного выбора электродвигателя зависят надежность его работы в электроприводе и энергетические показатели в процессе эксплуатации. В тех случаях, когда нагрузка двигателя существенно меньше номинальной, он недоиспользуется по мощности, что свидетельствует об излишних капитальных вложениях, его КПД и коэффициент мощности заметно снижаются.

Электродвигатель подбирается по частоте вращения, по рабочему положению (горизонтальный, вертикальный), мощности, напряжению и виду исполнения.

При выборе типа электродвигателя основных насосов придерживаются примерно следующего принципа. До мощности 250 кВт устанавливают асинхронные двигатели с короткозамкнутым ротором. Если мощности превышают 250 кВт, устанавливают синхронные электродвигатели высокого напряжения.

Мощность необходимая для привода насоса, определяется по формуле

 (4.1)

где κ - коэффициент запаса, учитывающий возможные перегрузки электродвигателя при эксплуатации. Так как мощность, данного нам электродвигателя, меньше 20 кВт, то κ принимаем за κ=1,25.

ρ - плотность перекачиваемой жидкости, кг/м3; g - ускорение силы тяжести, м/с2; Qм - подача насоса, максимально возможная в схеме проектируемой насосной станции; Нм - напор, соответствующий максимально возможной подаче Qм; ηп - КПД передачи.

Для P = 2,3 кВт принимаем трёхфазный электродвигатель АО 2-31 со следующими параметрами: переменный ток, число оборотов - n = 2880 об/мин; ; ; масса - G = 35 кг. [Приводы машин - Муха Т. И]

5. Особенности эксплуатации центробежного насоса


Согласно указаниям инструкции завода-изготовителя по обслуживанию и уходу за насосами и в соответствии с местными условиями эксплуатации должны быть разработаны собственные инструкции и указания по техническому обслуживанию и уходу. В них устанавливают сроки проведения регулярных проверок и ревизий, а также работ по техническому обслуживанию и ремонту. Для каждого насоса заводят эксплуатационный журнал или книгу, по которым можно было бы определить состояние насоса, установить необходимость проведения ревизии и соответствующего вида ремонта. Следует также регулярно проверять эксплуатационную готовность резервных насосов, чтобы IB любое время гарантировать ввод их в эксплуатацию.

При установке агрегатов на открытой площадке следует обратить внимание на необходимость постоянного прогрева при низких температурах (мороз), во время стоянки, а также на своевременное опорожнение от жидкости насосов и трубопроводов. Пуск насоса в холодном состоянии при перекачивании жидкости с различной вязкостью недопустим, так как это может привести к повреждению насоса. Кроме того, необходимо дать указания для проведения работ по техническому обслуживанию агрегатов.

Первую смену масла и чистку масляных полостей в подшипниках с жидкой смазкой проводят после 200 ч эксплуатации, следующую смену масла - после 1500-2000 ч, но не реже одного раза в год. При использовании высококачественных сортов масла (турбинное) допускают большую продолжительность работы.

При использовании муфт с масляной смазкой через 500-600 ч эксплуатации проверяют масло на шлакообразование, а при необходимости его доливают. Масло меняют по истечении 3000 ч эксплуатации.

В практике наибольшее распространение получил метод регулирования работы центробежных насосов с помощью обточки рабочего колеса. Как известно напор насоса находится в квадратичной зависимости от диаметра рабочего колеса и, поэтому уменьшая диаметр колеса с помощью обточки можно существенно менять и характеристики насоса.

Для получения расчётной величины нужного напора центробежного насоса при обточке колеса, необходимо номинальную величину напора умножить на квадрат отношения диаметра обточенного колеса к номинальному диаметру.

Регулировать работу центробежного насоса можно и с помощью изменения сопротивления в потребительской сети.

Изменение условий работы насоса на сеть позволяет регулировать работу насоса в широком диапазоне.

Из графической напорной характеристики центробежных насосов, представляющей собой пологую кривую, видно, что с увеличением подачи уменьшается напор и наоборот. Для каждой конструкции насоса имеется зона оптимальной работы, представляющая собой энергетическую характеристику, определяющая крутизну и максимальную величину КПД.

Рабочая точка на кривой характеристики соответствует максимальному значению КПД насоса.

Местоположение рабочей точки на характеристике определяется "сопротивлением сети". Если менять сопротивление сети, например, закрывая задвижку на напорной линии, то рабочая точка будет смещаться по кривой влево в пределах рабочей зоны, т.е. центробежный насос будет выбирать режим работы на меньшей подаче, так как "вынужден" работать с большим напором, чтобы преодолеть дополнительное сопротивление задвижки.

Другим способом изменения условий работы насоса на сеть является байпасирование, представляющее собой установку регулируемого или нерегулируемого перепуска (байпаса) с напорной линии на всасывание.

В потребительской сети байпасирование приводит к снижению подачи. В результате в потребительской сети можно получить одновременно меньший напор и меньшую подачу (энергия жидкости идёт на сброс).

Снижение напора с помощью перепуска жидкости с напорной линии во всасывающую обеспечивает снижение напора на 10…30 % в зависимости от крутизны напорной характеристики насоса.

6. Техника безопасности и охрана труда


В соответствии с действующими инструкциями к эксплуатации в ремонте насосного оборудования должны допускаться квалифицированные механики и слесари, знающие конструкции центробежных и приводных плунжерных насосов и обладающие определенным опытом обслуживанию, ревизии (сборка, разборка), ремонту, а при необходимости и проверки или испытанию этих насосов. Кроме того, рабочие ремонтирующие насосы, должны быть инструктированы в соответствии с правилами по технике безопасности, действующими на данной перекаченной станции магистрального продуктопровода или нефтепровода.

Вращающиеся или движущиеся механизмы или отдельные детали насосов, двигателей трансмиссий должны иметь надежные ограждения, исключающие опасность для персонала, обслуживающего насосные агрегаты.

Рабочие помещения насосной перекачечной станции должны быть оборудованы вытяжной вентиляцией, обеспечивающей взрывобезопасность условий ее эксплуатации. Исправление или ремонт вращающихся или движущихся частей или деталей во время работы насоса деталей не допускается.

Останавливать насос на ремонт с его разборкой можно только по разрешению начальника перекачечной станции. Насос, подвергаемый ревизии, должен быть остановлен и отключен от трубопроводов, а оставшаяся в нем жидкость должна быть сдренирована.

При ремонте насоса в помещении насосной (если, кроме ремонтируемого, здесь работают и другие насосы, перекачивающие нефть или нефтепродукты) необходимо принимать меры, предотвращающие появление искр. Например, инструмент, которым здесь разрешается пользоваться, должен быть обязательно покрыт медью (омеднен). Персоналу, занятому ремонтом (равно как и обслуживающему действующие насосные агрегаты), категорически запрещается вести какие-либо огневые работы, зажигать огонь, курить и т.п. Во избежание несчастных случаев из-за прорыва прокладок горизонтальных фланцевых разъемов корпусов центробежных насосов, последние должны иметь ограждения в виде козырьков из железа толщиной 1,5-2 мм.

При ремонте центробежного или приводного плунжерного насоса с приводом от электродвигателя последний обесточивают, а на его пусковом устройстве вывешивают плакат "Не включать ”.

Обслуживающий персонал станции и ремонтные рабочие должны спецодежду, рукавицы, а в отдельных случаях предохранительные очки.

Набивку сальников, а также торцовые уплотнения вала разрешается заменять только при остановленном насосе.

во время разборки насоса нефть или нефтепродукты следует немедленно убрать.

Выявление и устранение неисправностей.

. Насос работает нормально, но процесс дозирования прерван:

а) закупоривание клапана - прочистите клапаны или замените их, если невозможно устранить засор;

б) чрезмерная высота всасывания - расположите насос или резервуар таким образом, чтобы снизить высоту всасывания (насос под водоприёмником);

в) чрезмерно вязкая жидкость - уменьшите высоту всасывания или используйте насос с большей пропускной способностью.

. Недостаточная пропускная способность насоса:

а) утечка клапана - убедитесь, что кольцевые гайки затянуты правильно;

б) чрезмерно вязкая жидкость - используйте насос с большей пропускной способностью или уменьшите высоту всасывания (насос под водоприёмником);

в) частичное закупоривание клапана - прочистите клапаны или замените их, если невозможно устранить засор.

. Чрезмерная или нерегулярная пропускная способность насоса:

а) сифонный эффект при нагнетании - проверьте монтаж инжекционного клапана. Установите клапан обратного давления, если этого недостаточно;

б) прозрачная полихлорвиниловая трубка при нагнетании - используйте непрозрачную полиэтиленовую трубку при нагнетании;

в) насос откалиброван неверно - проверьте пропускную способность насоса, связанную с давлением системы.

. Нарушена диафрагма:

а) чрезмерное обратное давление - проверьте давление системы. Проверьте не заблокирован ли инжекционный клапан. Проверьте, присутствует ли засорение между нагнетательными клапанами и точкой нагнетания;

б) работа при отсутствии жидкости - проверьте наличие фильтра (клапана) основания. Используйте датчик уровня, который, останавливает насос, когда химический продукт в резервуаре израсходован;

в) мембрана эксплуатировалась неправильно - если была произведена замена мембраны, убедитесь, что она натянута правильно.

. Насос не запускается:

а) недостаточное электропитание - убедитесь, что данные заводской таблички насоса соответствуют параметрам электрической сети.

Заключение


В данном курсовом проекте приведено описание и принцип работы центробежного насоса типа К, произведён расчет основных гидравлических параметров и рабочего колеса, по исходным данным подобран прототип насоса. Это насос 2К-6а. приведены рисунки рабочего колеса, насосной установки, схема параллелограмных скоростей. Определена мощность электродвигателя для обеспечения работы насоса. В разделе эксплуатации разработаны инструкции и указания по техническому обслуживанию и уходу за насосом. В разделе техника безопасности описаны правила работы с насосом, рассмотрены меры защиты обслуживающего персонала. Приведён список используемой литературы. В приложении представлена спецификация насоса.

Литература


1. Есьман И.Г. Насосы, М. Гостоптехиздат, 1954, 286 с.

. Караев М.А., Меликов М.А., Мустафаева Г.А. О коэффициенте быстроходности центробежных насосов и пересчете их характеристики с воды на более вязкую жидкость. // Известие высших технических учебных заведений Азербайджана, №6, 2003, с.24-27.

. Степанов А.И. Центробежные и осевые насосы. М. Машгиз, 1960.

Башта Т.М. и др.

. Гидравлика, гидромашины и гидроприводы. М. Машгиз, 1970, 246 с.

. Насосы общего назначения типа К. Каталог, М., 1977, 30 с.

. http://www.fokino.ru/ns. htm

. http://document.org.ua/techno/pump/

. http://www.ges.ru/book/book_pumps/

. www.irimex.ru/services/catalog/nasos/

. http://www.chemicalpumps.ru/

11. <http://www.elagr.ru/3/10/14/>

. <http://www.centronasos.ru/>

. <http://vmz-nasos.ru/>

. <http://www.a-a-a.ru/nasos/01.html>

. http://www.allpumps.ru/

. <http://www.hms-pumps.ru/>

. www.multipumps.ru/ <http://www.multipumps.ru/>

. www.rusnasos.ru/ <http://www.rusnasos.ru/>

. www.pumps.net.ru/ <http://www.pumps.net.ru/>

Приложение


Формат

Зона

Поз.

Обозначение

Наименование

Кол

Приме- чание



1


Крышка корпуса

1




2


Корпус

1




3


Уплотняющие кольца

2




4


Рабочее колесо

1


Гайка

4




6


Набивка сальника

1




7


Защитная втулка

1




8


Крышка сальника

1




9


Вал насоса

1




10


Опорный кронштейн

1




11


Шарикоподшипник

1




























Изм.

Лист

№ документа

Под.

Дата


Разработал

Рзаева Р.



 Общий вид центробежного насоса типа К

Литер

Лист

Листов

Проверил

Азизов А.







1

1

Н. контр

Гиримов Г.




 АГНА гр.422.9

Зав. кафедра

Гейдаров Х.





 

Похожие работы на - Расчёт центробежного насоса

 

Не нашли материал для своей работы?
Поможем написать уникальную работу
Без плагиата!
Без нейросетей!