|
Расположение
двигателя
|
Спереди,
продольно
|
|
Тип двигателя
|
Четырехтактный,
с воспламенением от сжатия
|
|
Число цилиндров
|
6
|
|
Расположение
цилиндров
|
V-образное,
угол развала 90º
|
|
Объем
двигателя
|
11,5 л
|
|
Мощность
|
132 кВт (180 л.
с.)
|
|
При оборотах
|
2100
|
|
Крутящий
момент
|
667 Н·м
|
|
При оборотах
|
1500
|
|
Способ
смесеобразования
|
Непосредственный
впрыск
|
|
Диаметр
цилиндра
|
130 мм
|
|
Ход поршня
|
140 мм
|
|
Cтепень сжатия
|
16,5
|
Блок
цилиндров
Цилиндры двигателя ЯМЗ-236 расположены двумя рядами под углом
90° и выполнены в общем блоке совместно с верхней частью картера. Правый ряд
цилиндров смещен относительно левого вперед на 35 мм; это вызвано тем, что на
одной шатунной шейке коленчатого вала устанавливаются два шатуна - один для
правого ряда, другой - для левого.
Блок цилиндров представляет собой жесткую отливку из
низколегированного серого чугуна с точно обработанными посадочными местами для
гильз цилиндров мокрого типа, вкладышей подшипников коленчатого вала, втулок
распределительного вала и топливного насоса высокого давления с приводом. Блок
растачивается в сборе с крышками коренных опор, поэтому они не взаимозаменяемы
и устанавливаются в определенном положении.
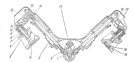
Рис. 1 - Двигатель ЯМЗ-236
Кривошипно-шатунный
механизм
Коленчатый вал изготавливается из высокоуглеродистой
стали методом горячей штамповки, шейки вала закалены токами высокой частоты.
Вал двигателя имеет четыре коренные опоры и три шатунные шейки. Шатунные шейки
вала имеют внутренние полости, закрытые заглушками, где масло подвергается
дополнительной центробежной очистке. Полости шатунных шеек сообщаются
посредством наклонных каналов с поперечными каналами в коренных шейках.
Для уравновешивания двигателя и разгрузки коренных
подшипников от инерционных сил возвратно-поступательно движущихся масс поршней
и шатунов и неуравновешенных центробежных сил на щеках коленчатого вала
установлены противовесы, в сборе с которыми вал балансируется. Кроме того, в
систему уравновешивания входят выносные массы, расположенные в маховике и
закрепленные в виде противовеса на носке коленчатого вала. От осевых смещений
вал фиксируется четырьмя бронзовыми полукольцами, установленными в выточках
задней коренной опоры.
Носок и хвостовик коленчатого вала уплотняются резиновыми самоподжимными
сальниками.
Рис. 2 - Коленчатый вал двигателя ЯМЗ-236
Маховик отлит из серого чугуна и крепится болтами к
заднему торцу коленчатого вала. Болты предохраняются от самоотвинчивания
специальными стопорными пластинами, каждая из которых устанавливается под два
болта. Маховик точно фиксируется относительно шеек коленчатого вала двумя
штифтами. Зубчатый венец маховика служит для пуска двигателя стартером.
Шатун стальной, двутаврового сечения, с косым разъемом
нижней головки. По каналу, просверленному и теле шатуна, масло подводится к
верхней головке. Шатун окончательно обрабатывается в сборе с крышкой, поэтому
крышки шатунов не взаимозаменяемы. На крышке и шатуне со стороны короткого
болта выбит порядковый номер цилиндра.
Рис. 4 - Шатун: 1 - шатун; 2 - втулка верхней головки; 3 -
штифт; 4 - крышка; 5 - длинный болт крышки; 6 - короткий болт крышки; 7 -
замковые шайбы.
Болты крепления крышки предохраняются от самоотвинчивания специальными
замковыми шайбами. На стыке со стороны длинного болта выбиты метки спаренности
в виде двузначного числа, одинакового для шатуна и крышки, и риски,
охватывающей шатун и крышку.
Подшипник нижней головки шатуна снабжен сменными вкладышами,
верхней головки - запрессованной бронзовой втулкой.
Поршни отлиты из высококремнистого алюминиевого сплава.
На поршне расположены три компрессионных и два маслосъемных кольца.
Компрессионные кольца имеют трапецеидальное сечение. Наружная поверхность
верхнего компрессионного кольца покрыта слоем пористого хрома. В головке поршня
расположена камера сгорания. Поршень с шатуном соединяется пальцем плавающего
типа, осевое перемещение которого в поршне ограничивается стопорными кольцами.
Для обеспечения точной посадки поршни и гильзы цилиндров
разбиваются на четыре размерные группы, обозначаемые клеймами А, АА, ААА и АААА
на днищах поршней и на верхних торцах гильз. При сборке поршень и гильзу
подбирают из одних размерных групп.
По посадке пальца в поршень и верхнюю головку шатуна
двигатели старых выпусков имели три размерные группы, обозначаемые клеймами Б,
ББ и БББ на днище поршня, фаске отверстия пальца и на крышке шатуна.
Двигатели, выпущенные заводом после мая 1966 г., разбивки
деталей на размерные группы по посадке пальца не имеют.
Рис. 5 - Поршень
Вкладыши подшипников коленчатого вала и нижней головки
шатуна имеют стальное основание и рабочий слой из свинцовистой бронзы. Верхний
и нижний вкладыши подшипника коленчатого вала не взаимозаменяемы. В верхнем
вкладыше имеются отверстие для подвода масла и канавки для его распределения.
Рис. 6 - Вкладыши подшипников коленчатого вала:
- верхний вкладыш коренного подшипника; 2 - нижний вкладыш
коренного подшипника; 3 - вкладыш нижней головки шатуна.
Оба вкладыша нижней головки шатуна взаимозаменяемы.
Для возможности ремонта коленчатого вала предусмотрены шесть
ремонтных размеров вкладышей. Клеймо ремонтного размера наносится на тыльной
стороне вкладыша, недалеко от стыка.
Стык головки цилиндров и блока уплотняется прокладкой с
окантовками, цилиндровых отверстий и отверстий для прохода охлаждающей
жидкости.
В головке цилиндров размещены клапаны с пружинами, коромысла
клапанов, стойки коромысел и форсунки.
двигатель цилиндр кривошипный шатунный
Седла выпускных клапанов вставные, изготовлены из
специального жароупорного чугуна и запрессованы в гнезда с натягом 0,040 -
0,105 мм. Седла и металлокерамические направляющие втулки клапанов окончательно
обрабатываются после их запрессовки в головку.
Механизм
газораспределения
Распределительный вал, штампованный из углеродистой стали, с
закаленными опорами и кулачками, расположен в развале блока и обслуживает оба
ряда цилиндров. Вращение его осуществляется парой косозубых шестерен от
переднего конца коленчатого вала. Шестерни установлены по меткам. Продольное
смещение распределительного вала ограничивается упорным фланцем.
Рис. 7 - Механизм газораспределения: 1 - распределительный
вал; 2 - толкатель, 3 - штанга толкателя; 4 - впускной клапан; 5 - направляющая
втулка; 6 - шайба пружин клапана; 7 - наружная пружина; 8 - внутренняя пружина;
9 - тарелка пружин клапана; 10 - втулка тарелки пружин клапана; 11 - сухарь; 12
- коромысло; 13 - гайка регулировочного винта; 14 - регулировочный винт; 15 -
ось толкателей; 16 - ось коромысла; 17 - болт крепления оси коромысла; 18 -
седло выпускного клапана; 19 - выпускной клапан.
Клапаны приводятся через качающиеся роликовые толкатели 2
(рис.7), трубчатые штанги 3 с запрессованными в них наконечниками и коромысла
12 с регулировочными винтами 14 для установки теплового зазора. Движение от
распределительного вала к толкателю передается через ролик, установленный на
игольчатых подшипниках. В целях повышения работоспособности в толкатель
запрессована каленая пята из высококачественной стали, служащая упорным
подшипником для штанг.
Коромысла клапанов устанавливаются на индивидуальные оси,
которые крепятся к головке цилиндров болтами с контролируемой затяжкой.
Каждый цилиндр имеет один выпускной 19 и один впускной 4
клапаны, которые изготовлены из жаропрочной стали и перемещаются в
металлокерамических направляющих втулках. Пористые металлокерамические втулки
обеспечивают хорошую смазку пары "втулка - клапан". На каждый клапан
ставится по две цилиндрические пружины: одна с правым, другая - с левым
направлением витков.
Для крепления пружин применен специальный замок,
способствующий вращению клапанов при работе двигателя, что повышает
работоспособность клапана.
2. Тепловой
расчет
Исходные
данные для расчета
1) эффективная мощность Nе=138 кВт;
2) степень сжатия ε=16,8;
) коэффициент избытка воздуха α=1,5;
) отношение хода поршня к диаметру цилиндра S/D=1,08;
) частота вращения коленчатого вала n=2250 об/мин;
) вид топлива - жидкое.
Топливо
В соответствии с типом двигателя принимаем дизельное топливо
(для работы в летних условиях - марки Л, для работы в зимних условиях - марки
З). В соответствии с ГОСТ 305-82 цетановое число не менее 45.
Средний элементарный состав и молекулярная масса топлива
(стр.48 [1]): С = 0,870; Н = 0,126; О=0,004;
Низшая теплота сгорания топлива
Нu = 33,91С + 125,60Н - 10,89 (О - S) - 2,51 · (9Н
+ W) =
=33,91 · 0,870 + 125,6 · 0,126-10,89 · 0,004 - 2,51 · 9 ·
0,126 = 42,44 МДж/кг =42440 кДж/кг.
Параметры рабочего тела
Теоретически необходимое количество воздуха для сгорания
одного килограмма топлива:
кмоль воздуха/кг топлива
кг воздуха/кг топлива
Количество свежего заряда
Количество отдельных компонентов продуктов сгорания
Общее количество продуктов сгорания
кмоль прод. сгор. /кг топлива.
Параметры
окружающей среды и остаточные газы
Давление и температура окружающей среды при работе двигателя
без наддува (стр.64 [1]): рk = р0 = 0,1 МПа; Tk = T0 = 293 K.
Температура и давление остаточных газов:
Высокое значение ε = 16,8 снижает
температуру и давление остаточных газов, а повышенная частота вращения
коленчатого вала несколько повышает Т и р. поэтому можно принять (стр.66 [1]):
r=750 K, pr=1.05·p0=1,05·0.1=0,105
МПа
Процесс впуска.
Температура подогрева свежего заряда.
С целью получения хорошего наполнения цилиндров двигателя принимается
(стр.66 [1])
.
Плотность заряда на впуске
кг/м3
где RВ = 287 Дж/кг град - удельная газовая
постоянная для воздуха.
Потери давления на впуске
Давление в конце впуска:
Коэффициент остаточных газов
Температура в конце впуска
К
Коэффициент наполнения
Процесс сжатия
При работе дизеля на средних режимах можно с достаточной
точностью принять показатель политропы сжатия равным показателю адиабаты,
который определяется по номограмме рис.4.4 (стр.73 [1]):
При ε=16,8 и Та=326
К принимаем k1=1,370, n1=1,365
Давление в конце сжатия:
МПа
Температура в конце сжатия:
К
Средняя мольная теплоемкость в конце сжатия:
а) воздуха:
кДж/ (кмоль·град),
где
К
б) остаточных газов:
- определяем методом интерполяции по табл. 3.9 (стр.60 [1]).
кДж/ (кмоль·град)
в) Рабочей смеси:
Процесс сгорания
Коэффициент молекулярного изменения горючей смеси:
Коэффициент молекулярного изменения рабочей смеси:
;
Теплота сгорания рабочей смеси:
кДж/кмоль раб. см.
Средняя мольная теплоемкость продуктов сгорания:
;
Величина коэффициента использования теплоты
для дизелей с неразделенными камерами
сгорания и хорошо организованным смесеобразованием принимается равным 0,82
(стр.76 [1]).
Степень повышения давления в дизеле: с целью снижения газовых
нагрузок на детали кривошипно-шатунного механизма принимаем λ=2,0 (стр.77 [1]).
Температура в конце видимого процесса сгорания:
;
Максимальное давление сгорания:
МПа
Определим степень предварительного расширения:
Процесс расширения и выпуска
Степень последующего расширения:
Средний показатель адиабаты расширения k2 определяется
по номограмме рис.4.9 (стр.83 [1]), при заданной ε = 16,8 для соответствующих значений α=1,5 и Тz=2199 К, а
средний показатель политропы расширения n2 оцениваем по величине
среднего показателя адиабаты. k2=1,278, n2=1,27.
Давление и температура в конце процесса расширения:
МПа;
К
Проверка ранее принятой температуры остаточных газов:
К;
где
- погрешность расчета.
Индикаторные
параметры рабочего цикла
Теоретическое среднее индикаторное давление:
Среднее индикаторное давление:
МПа,
где коэффициент полноты индикаторной диаграммы принят 
(стр.88 [1]).
Индикаторный КПД и индикаторный удельный расход топлива:
;

;
Эффективные
показатели двигателя
Среднее давление механических потерь. Принимаем
предварительно среднюю скорость поршня vп. ср. =10,2 м/с (стр.137
[1]) получаем:
МПа;
Среднее эффективное давление и механический КПД:
;
;
Эффективный КПД и удельный эффективный расход топлива:
;

;
Основные
параметры цилиндра и двигателя
Литраж двигателя:
л
Рабочий объем одного цилиндра:
л
Диаметр цилиндра и ход поршня:
по условию курсового проекта S/D=1,08
Принимаем D=130 мм, S=1,08·D=1,08·130=141 мм.
Проверка с учетом выбранных S и D:
;
м/с
кВт;
Н·м;
;
кВт/л.
Таблица 1 - Сравнение показателей проектируемого двигателя с
показателями заданного прототипа
Параметры
,


,

,
|
ε
|
|
|
|
|
|
|
Прототип
|
2100
|
11,5
|
132
|
667
|
|
Расчетный ДВС
|
2250
|
11,2
|
137,4
|
583
|
16,8
|
Построение
индикаторной диаграммы
Индикаторную диаграмму строим аналитическим методом.
Масштабы диаграммы: масштаб хода поршня Ms=1 мм в
мм; масштаб давлений Мр=0,04 МПа в мм.
Величины в приведенном масштабе, соответствующие рабочему
объему цилиндра и объему камеры сгорания:
АВ=S/МS=141/1,0 = 141 мм;
ОА = АВ/ (ε-1) = 141/ (16,8-1) =8,9
мм.
Максимальная высота диаграммы (точка z, максимальное давление
сгорания):
рz/Мр= 8,66/0,04 = 216,5 мм.
Ординаты характерных точек:
a/Mp= 0,092/0,04 = 2,3 мм; (давление
конца впуска)
рс/Мр= 4,33/0,04 = 108,3 мм; (давление
конца сжатия)
рв/Мр= 0,321/0,04 = 8,0 мм; (давление
конца расширения)
рr/Мр= 0,105/0,04 = 2,6 мм; (давление
остаточных газов)
р0/Мр=0,1/0,04 = 2,5 мм. (атмосферное
давление)
положение точки z по оси абсцисс:
'z=ОА· (ρ-1) =8,9· (1,255-1) =2,3 мм
Построение политроп сжатия и расширения аналитическим
методом:
а) политропа сжатия
Отсюда
где ОВ=ОА+АВ=8,9+141 = 149,9 мм;
б) политропа расширения
Таблица 2 - Результаты расчета точек политроп
|
№ точек
|
OX, мм
|
OB/OX
|
Политропа
сжатия
|
Политропа
расширения
|
|
|
|
(OB/OX) 1,365
|
px/Mp,
мм
|
px,
МПа
|
(OB/OX) 1,27
|
px/Mp,
мм
|
px,
МПа
|
|
1
|
8,9
|
16,8
|
47,212
|
108,6
|
4,343
|
27,144
|
217,2
|
8,686
|
|
2
|
10,7
|
14
|
36,683
|
84,4
|
3,375
|
21,869
|
174,9
|
6,998
|
|
3
|
12,5
|
12
|
29,722
|
68,4
|
2,734
|
18,263
|
146,1
|
5,844
|
|
4
|
10
|
23,174
|
53,3
|
2,132
|
14,757
|
118,1
|
4,722
|
|
5
|
21,4
|
7
|
14,242
|
32,8
|
1,310
|
9,726
|
77,8
|
3,112
|
|
6
|
30,0
|
5
|
8,997
|
20,7
|
0,828
|
6,563
|
52,5
|
2,100
|
|
7
|
50,0
|
3
|
4,480
|
10,3
|
0,412
|
3,612
|
28,9
|
1,156
|
|
8
|
75,0
|
2
|
2,576
|
5,9
|
0,237
|
2,249
|
18,0
|
0,720
|
|
9
|
149,9
|
1
|
1,000
|
2,3
|
0,092
|
1,000
|
8,0
|
0,320
|
Скругление
индикаторной диаграммы
Фазы газораспределения необходимо устанавливать с учетом
получения хорошей очистки цилиндра от отработавших газов и обеспечения
дозарядки в пределах, принятых в расчете. В связи с этим начало открытия
впускного клапана (точка r') устанавливается за 20° до прихода поршня в в. м.
т., а закрытие (точка а") - через 56° после прохода поршнем н. м. т.;
начало открытия выпускного клапана (точка b') принимается за 56° до прихода
поршня в н. м. т., а закрытие (точка а') - через 20° после прохода поршнем в.
м. т. Угол опережения впрыска топлива (точка с') принимается равным 20°, а
продолжительность периода задержки воспламенения
=8º.
В соответствии с принятыми фазами газораспределения и углом
опережения впрыска топлива определяют положение точек r’, a’,
a’’, c’, f и b’ по формуле для перемещения
поршня:
,
где λ -
отношение радиуса кривошипа к длине шатуна, предварительно принимаем λ=0,27.
Таблица 3 - Результаты расчеты ординат точек
|
Обозначе-ния
точек
|
Положения точек
|
 Расстояние точек от в. м. т. (AX), мм
|
|
|
|
r'
|
20 до в. м. т.
|
20
|
0,076024
|
5,4
|
|
a'
|
20 после в. м.
т.
|
20
|
0,076024
|
5,4
|
56 после н. м.
т.
|
124
|
1,651206
|
116,4
|
|
c'
|
20 до в. м. т
|
20
|
0,076024
|
5,4
|
|
f
|
(20-80)
до в. м. т.
|
12
|
0,02766
|
2,0
|
|
b'
|
56 до н. м. т.
|
124
|
1,651206
|
116,4
|
Положение точки с" определяется из выражения:
МПа;
мм.
Нарастание давления от точки с" до z составляет:
,66-4,98 = 3,68 МПа или
,68/10= 0,37 МПа/град п. к. в.,
где 10° - положение точки zд по горизонтали.
Соединяя плавными кривыми точки r с а', с' с с" и далее с zд
и кривой расширения b' с b" (точка b" располагается обычно между
точками b и а) и линией выпуска b"r'r, получим скругленную действительную
индикаторную диаграмму rа'ас'fс"zдb'b"r.
3. Тепловой
баланс двигателя
Общее количество теплоты введенной в двигатель с топливом:
Теплота эквивалентная работе за 1 с:
Теплота, отдаваемая охлаждающей среде:
где: С-коэффициент пропорциональности (4-хтактных
С=0,45-0,53);число цилиндров;диаметр цилиндра, см;показатель степени
(4-хтактных m=0,6-0,7);частота вращения коленчатого вала, мин
Теплота, унесенная с отработавшими газами:
где:
-273=752-273=479 ºС
Неучтенные потери теплоты:
Таблица 4 - Составляющие теплового баланса
|
Составляющая
|
Q, Дж/с
|
q, %
|
|
Теплота,
эквивалентная эффективной работе
|
137400
|
32,9
|
|
Теплота,
передаваемая охлаждающей среде
|
123405
|
29,6
|
|
Теплота,
унесенная с отработавшими газами
|
113034
|
27,1
|
|
Неучтенные
потери теплоты
|
43488
|
10,4
|
|
Общее
количество теплоты, введенной в двигатель с топливом
|
417327
|
100
|
Вывод: по результатам расчетов благодаря повышению степени
сжатия на 1,8% было получено увеличение мощности двигателя на 2,5% и уменьшение
его литража на 2,6%.
Список
литературы
1. Расчёт
автомобильных и тракторных двигателей. Учеб. пособие для вузов. / А.И. Колчин,
В.П. Демидов. 2-е издание переработанное и дополненное.М., "Высшая
школа", 1980.