Организация управления техносферной безопасностью в строительстве

  • Вид работы:
    Курсовая работа (т)
  • Предмет:
    Безопасность жизнедеятельности
  • Язык:
    Русский
    ,
    Формат файла:
    MS Word
    119,9 Кб
  • Опубликовано:
    2013-06-18
Вы можете узнать стоимость помощи в написании студенческой работы.
Помощь в написании работы, которую точно примут!

Организация управления техносферной безопасностью в строительстве

Министерство образования и науки Российской федерации

Федеральное государственное бюджетное образовательное учреждение

высшего профессионального образования

ТОЛЬЯТТИНСКИЙ ГОСУДАРСТВЕННЫЙ УНИВЕРСИТЕТ

Институт Машиностроения

Кафедра Управление промышленной и экологической безопасностью

Специальность Пожарная безопасность


 

 

Курсовая работа на тему

Организация управления техносферной безопасностью в строительстве



Студент Еркович М. С. ПБбз - 0931

Руководитель УгароваЛ. А.









Тольятти 2013г.

Методика определения показателей по охране труда согласно системе управления охраной труда

Методы изучения причин производственного травматизма и профессиональных заболеваний

При исследовании причин травматизма и профессиональных заболеваний применяют следующие методы: топографический, монографический и статистический.

При топографическом методе на плане участка или цеха отмечают несчастные случаи и причины их изучают на месте происшествия. Монографический метод исследования заключается в детальном изучении машин, технологического процесса, рабочего места, сырья, окружающей среды с позиций потенциальных опасностей и вредностей. Этот метод наиболее эффективен для предупреждения травматизма и профессиональных заболеваний.

Статистический метод исследования позволяет охарактеризовать уровень травматизма в организации и сравнить его с уровнем в аналогичных организациях. В основу метода положено изучение несчастных случаев по актам о несчастных случаях па производстве по форме Н-1 и отчет о пострадавших по форме № 9-т (7-ТВР).

С этой целью введены относительные показатели на 1000 работающих частоты травматизма Кч и тяжести травматизма Кт, которые подсчитывают по следующим формулам:

Кч = 1000 Т/Р; Кт = Д/Т

где Т - количество несчастных случаев за определенный период (месяц, квартал, год);

Р - среднесписочное количество работающих за то же время;

Д - число человеко-дней нетрудоспособности у всех пострадавших за определенное время.

Показатель Кч характеризует количественную сторону травматизма, т. е. сколько было травм за определенное время. Показатель Кт дает возможность определить, сколько человеко-дней нетрудоспособности приходится на одну травму.

Если снижен лишь показатель Кч, это еще не означает, что уровень травматизма понизился; для этого необходимо, чтобы понизился также показатель Кт. Вследствие этого целесообразно применять общий показатель травматизма, равный:

Кобщ = Кч Кт

Этот показатель учитывает количество дней нетрудоспособности на 1000 работающих за отчетный период.

Для учета случаев тяжелых травм в общем травматизме рекомендуется вводить показатель, характеризующий уровень травм с инвалидным и смертельным исходом:

Ксп = 1000 С/Т

где С - количество случаев со смертельным и инвалидным исходом;

Т - общее количество несчастных случаев за отчетный период.

Заключение о тяжести повреждений дают врачи лечебных учреждений.

При статистическом методе анализа профзаболеваний данные используются из формы № 16 (3-1). В этом методике применяют следующие показатели: интенсивный показатель количества случаев или дней нетрудоспособности, приходящийся на 100 работающих,

п = 100 Д/Р,

где Д - количество случаен (или днем) заболеваний;

Р - среднесписочное количество работающих; экстенсивный показатель, определяющий структуру заболевания,

Эп = 100 Дн/Собщ;

где Дн-количество случаев (или дней) нетрудоспособности по одному из видов заболеваний; Собщ-общее количество случаев (или дней) нетрудоспособности; показатель средней длительности одного случая заболевания

Пср=Двр/Свр

где Двр-количество дней временной нетрудоспособности;

Свр- количество случаев временной нетрудоспособности.

Учет и анализ производственного травматизма проводят также с помощью перфокарт. В основу этого учета положен акт о несчастном случае по форме Н-1. Все данные этого акта наносят на лицевую и оборотную стороны иеперфорированной части карты. Шифрованные сведения в форме кодов наносят на лицевую сторону карты, а па оборотной стороне описывают обстоятельства несчастного случая, мероприятия по устранению причин травмы, травматологические и материальные последствия.

Экономическая оценка последствий производственного травматизма и профзаболеваний

Тяжелые увечья людей на производстве, возникающие вследствие несчастных случаев, советское общество рассматривает как невосполнимые. Вместе с тем материальные последствия всех этих случаев на наших предприятиях всесторонне учитываются.

В акте о несчастном случае на производстве по форме Н-1 п. 17 предусматривает учет этих потерь в следующем объеме: число дней нетрудоспособности; выплата по больничному листку; стоимость испорченного оборудования и инструмента, материалов и стоимость" разрушенных зданий и сооружений.

Перечисленный объем потерь включает в основном потери, вызванные непосредственно несчастным случаем. В действительности эти потери значительнее,

Материальные потери (последствия), причиняемые обществу из-за нетрудоспособности работника в связи с травмой, слагаются из следующих затрат и убытков [16]: П1 - выплата пострадавшему по листку нетрудоспособности; П2 - размер пенсии, назначенной пострадавшему в связи с травмой; П3 - то же, близким родственникам пострадавшего в связи с травмой; П4 - выплаты пособий при временном переводе работающих на другую работу в связи с травмой; П5 - возмещение ущерба работающим при частичной потере трудоспособности; П6 - затраты предприятий на профессиональную подготовку рабочих, принимаемых вместо выбывших в связи с травмой; П7 - другие потери, которые в большинстве случаев не учитываются, хотя иногда они могут быть значительными. В итоге общие материальные потери, руб, составят

Мп = П1+П2+П3+П4+П5+П6+П7

Укрупненный подсчет общих материальных потерь исходя из приведенной формулы определяется из зависимости

Мп=Дв З j

где Дв - потери рабочего времени у пострадавших с утратой трудоспособности на один и более рабочий день, временная нетрудоспособность которых закончилась в отчетном периоде (за исследуемый период времени), дн.; З-средняя дневная заработная плата одного работающего, руб.; j-коэффициент, учитывающий все элементы материальных затрат (выплаты по листкам нетрудоспособности, пенсии и т. п.) по отношению к заработной плате (j=1,5.„2,0).

Эффективность мероприятий по улучшению условий и охраны труда. Прогнозирование уронил травматизма и профессиональных заболеваний

Оценку экономической эффективности мероприятий по охране труда, согласно “Определению эффективности мероприятий по улучшению условий труда”, проводят в следующих направлениях: определение материальных последствий -травматизма; затрат времени при введении мероприятий, улучшающих условия труда; сочетание предыдущих двух методов.

Например, рекомендуется подсчитывать годовую экономию от улучшения условий труда (Эмп), достигнутую за счет сокращения потерь, связанных с заболеванием, благодаря уменьшению затрат как по временной нетрудоспособности, так и в связи со стойкой нетрудоспособностью по формуле

Эмп=Ад-Ап

где Ад и Ад-размеры потерь от временной нетрудоспособности до и после внедрения мероприятий по улучшению условий труда. Общие потери от временной нетрудоспособности составляют

=ai(hi+Ni)

где ai --потери рабочего времени от временной нетрудоспособности, ди;- средняя дневная недовыработка продукции в i-м. году и расчете па одного работающего, руб.;средний дневной размер пособий по больничным листам, руб.

Сокращение затрат, вызванное стойкой утратой трудоспособности и постоянным выбытием работников из производства, определяется по формуле

Эмп = Вд - Вп

где Вд и Вц-размеры потерь от стойкой нетрудоспособности до и после улучшения условий труда. Общие потери от стойкой нетрудоспособности, приводящей к постоянному выбыванию работников из производства, составляют

= Lij (Hi + Wi + Ii + Zi)

где Lij - число лет (j), недоработанных до пенсионного возраста всеми лицами, выбывшими из производства в i-м году;средняя годовая выработка продукции на одного работающего в i-м году, руб.;средний годовой размер пенсии инвалидам труда в i-м году, руб.;- средние годовые расходы на подготовку одного работника взамен выбывшего из производства, руб.;i - средний размер прочих затрат и доплат в связи со стойкой нетрудоспособностью и выбытием работника из производства, руб.

На современном уровне развития научно-технического прогресса прогнозирование в области науки, техники, отраслей народного хозяйства является обязательным условием.

Прогнозирование же уровня травматизма и профессиональных заболеваний имеет целью определить дальнейшую тенденцию его изменения на основе значения этого уровня в прошлом и в настоящее время. Это позволяет разрабатывать мероприятия, предупреждающие производственный травматизм и профессиональные заболевания, и планировать финансирование этих мероприятий.

Для прогнозирования уровня травматизма и профзаболеваний как один из вариантов можно применить метод наименьших квадратов.

Предположим, что в какой-то организации имеются статистические данные по травматизму или профессиональным заболеваниям за ряд лет t1, t2, …,tk. Известна также интенсивность травматизма l1, l2, …, lк.

Применив указанный метод, можно построить кривую l = y (t), по которой определяют значение интенсивности травматизма в последующий период, т. е., например, в момент времени t.

l = y (t)

По предполагаемому значению интенсивности травматизма можно определить вероятность безопасной работы по экспоненте

Р* (t) = е-lt*

и сравнить ее с соответствующими вероятностями в последующие годы.

Мероприятия для дальнейшего снижения уровня травматизма или профессионального заболевания необходимо разрабатывать, исходя из этой вероятности. Возможную заболеваемость с временной утратой трудоспособности на 100 работающих при вполне благоприятных условиях труда в днях прогнозируют по формуле

ВУТб = (2,42 4 - 0,167х) 100

где х-средний возраст работающих, лет.


Какие меры безопасности применяются при использовании баллонов с кислородом, ацетиленом, пропаном

Газобалонное оборудование.

При газопламенной обработке металлов (сварка и резка, металлизация и напыление порошковых материалов) применяют кислород, сжатый воздух, ацетилен и другие газы. Для хранения, транспортировки и использования этих газов используют баллоны.

Баллоны работают под давлением до 15МПа, и в случае взрыва от волны мгновенно расширяющегося газа осколки их разлетаются.

Особенно опасен взрыв баллонов с горючим газом, вызывающим пожары.

Основными причинами аварий сосудов, содержащих сжатые, сжиженные и растворенные газы, являются: недостаточная прочность сосудов микротрещины, коррозия, накопление в баллоне металлических частиц, попадание в баллон жировых веществ и др.; превышение расчетного давления в сосудах; заполнение сосудов сжиженным газом сверх нормы; удары сосудов, их нагревание или переохлаждение; неисправность предохранительных устройств на сосудах; нерегулярное освидетельствование и браковка сосудов; наполнение баллонов газами, для которых они не предназначены. В связи с этим кислородные баллоны перед их наполнением промывают растворителями (дихлорэтаном, трихлорэтаном). Взрывы баллонов могут происходить и при ошибочном заполнении баллонов другим газом, например кислородного баллона горючим газом.

Баллоны для сжатых, сжиженных и растворенных газов изготовляют сварными или бесшовными. Сварные баллоны применяют для газов, находящихся под давлением до 3-103 Па, а при рабочих давлениях сосудов выше указанного применяют .только бесшовные (цельнотянутые баллоны). В процессе эксплуатации баллоны подвергают периодическому освидетельствованию,, которое заключается в осмотре наружной и (если возможно) внутренней поверхностей, проверке массы, вместимости и гидравлическим испытаниям. Гидравлические испытания производят пробным давлением, значение которого зависит от рабочего давления сосуда. Под пробным давлением сосуд находится 5 мин.

Исключение из общих правил освидетельствования составляют баллоны с ацетиленом. Ацетилен - горючий и взрывоопасный газ, применяемый широко на строительных площадках для сварки и резки металлоконструкций. Он взрывоопасен в смеси с воздухом. Вследствие особой взрывоопасности ацетилена его хранят в растворенном виде в баллонах, заполненных пористой массой, пропитанной ацетиленом. При периодических испытаниях пористая масса не удаляется, Вместо гидравлических испытаний проводят испытания сжатым азотом под давлением 35-Ю6 Па. Сосуд при этом погружают в воду на глубину не менее 1 м. Производят такое освидетельствование ацетиленовых баллонов на заводе-наполнителе один раз в 5 лет.

Баллоны, предназначенные для наполнения газами, вызывающими коррозию, такими, как хлор, сероводород, сернистый ангидрид, хлористый водород, освидетельствуют один раз в 2 года. Баллоны с некоррозийной средой, постоянно находящиеся под давлением более 0,7-106 Па, освидетельствуют один раз в 10 лет.

Кроме гидравлических испытаний при освидетельствовании проверяют массу баллона и его вместимость. При потере в массе баллона до 10 % или увеличении его вместимости до 2 % баллон переводят на давление ниже первоначального на 15 %. При потере в массе до 15 % или увеличении вместимости до 2,5 % баллон переводят на давление ниже на 50 %. При потере в массе до 20 % и увеличении вместимости до 3 % баллоны допускают к работе при давлении не больше 6-Ю5 Па. При потере в массе больше 20 % и увеличении вместимости больше чем па 3 % баллоны бракуют и к дальнейшей работе не допускают. На корпусе забракованного баллона просверливают отверстие или на резьбе в горловине наносят насечки.

Ацетилен при сжатии полимеризуется. Для исключения самопроизвольного взрыва ацетиленовые баллоны заполняют пористой капиллярной массой, пропитанной ацетоном. При наличии этой массы взрывное разложение ацетилена не распространяется по всему баллону, так как молекулы ацетона разобщают молекулы ацетилена.

Предельное рабочее давление в баллоне принимают для сжатых и растворенных газов при температуре +20°С и для сжиженных газов +50°С. Если температура баллона значительно превышает эти пределы, давление внутри баллона может превысить допускаемое, и тогда неизбежен взрыв баллона.

Для баллонов со сжиженными газами возрастание давления в связи с повышением температуры баллона

=(a/b)Dt

Где Dt-разность температур, °С;

a-коэффициент теплового объемного расширения газа;

b -коэффициент объемного сжатия газа.

Для баллонов, имеющих давление 15 МПа при температуре +20°С, изменение давления в связи с нагреванием газов от оболочки баллона дано ниже:

Температура, оС

-20

0

+20

+40

+80

+100

+140

+180

Давление в баллонах, МПа

13

14

15

16

19

20

22

24


Баллоны нужно предохранять от нагревания солнечной радиацией и от любых источников теплоты, в первую очередь от нагревательных приборов.

Особую опасность для баллонов представляют падение или удар в условиях низких температур 30-40''С, так как в этих условиях сильно снижается ударная вязкость углеродистых сталей.

Основными причинами аварий стационарных сосудов, работающих под давлением, являются неправильное изготовление сосудов, нарушение технологического режима и правил их эксплуатации.

Во избежание использования газов не по назначению предусмотрены различные цвета окраски баллонов, надписи на них и полосы, В табл. 5.9 указаны цвета окраски наиболее часто применяемых баллонов.

Цвета окраски баллонов:

Наименование

Цвет окраски

Надпись

Цвет надписи

Цвет полосы

Азот

Черный

Азот

Желтый

Коричневый

Аммиак

Желтый

Аммиак

Черный

-

Аргон технический

Черный

Аргон технический

Синий

Синий

Ацетилен

Белый

Ацетилен

Красный

-

Бутан

Красный

Бутан

Белый

Водород

Темно-зеленый

Водород

Красный

-

Воздух

Черный

Сжатый воздух

Белый

-

Кислород

Голубой

Кислород

Черный

-

Углекислота

Черный

Углекислота

Желтый

-

Хлор

Защитный

-

-

Зеленый

Другие горючие газы

Красный

Наименование газа

Белый

-

Другие негорючие газы

Черный

Наименование газа

Желтый

-


Баллоны с газами хранят в вертикальном положении в проветриваемом помещении или под навесами, защищающими их от действия прямых солнечных лучей и осадков. Запрещается хранить баллоны на расстоянии менее 1 м от радиаторов отопления и ближе 5 м от открытого огня. Транспортировать баллоны следует на специальных носилках или тележках .

При необходимости ручной переноски ее должны осуществлять два человека. Кислородные баллоны необходимо предохранять от загрязнения каким-либо маслом или жиром, так как смесь масла с чистым кислородом огнеопасна. В связи с этим вся арматура кислородных баллонов монтируется без применения смазки.

Боковые штуцера баллонов с кислородом и другими негорючими газами имеют правую резьбу, а боковые штуцера баллонов с водородом и другими горючими газами - левую.

Тележка для перевозки баллонов с газами

Особенно тщательный уход необходим за содержанием ацетиленовых баллонов. Их следует предохранять от ударов. При сотрясении ацетиленового баллона пористая масса, которой наполнен баллон, оседает, и в нем образуются полости, где давление ацетилена может достигать 6- 10 МПа (при нормальном давлении ацетилен растворяется в ацетоне в соотношении 23 : 1).

Основным устройством, обеспечивающим безопасность пользования баллонами со сжатыми газами, являются редукторы . Редуктор понижает давление сжатого газа до рабочего. По принципу действия их делят на редукторы прямого действия, когда газ, действуя на клапан редуктора, стремится открыть его, и обратного действия, когда газ, действуя на клапан, стремится закрыть его. По числу камер редукторы бывают одно- и двухкамерные. Двухкамерные редукторы обеспечивают большее постоянство рабочего давления, чем однокамерные. Их применяют при больших расходах газа.

Подсоединение баллонов с газом к потребителям этого газа осуществляется посредством шланга. Шланги изготовляют из вулканизированной резины с льняной прокладкой и применяют их для ацетилена при давлении до 3-10° Па, а для кислорода при давлении до 10 Па. При более высоких давлениях следует применять шланги с сетчатой оплеткой.

Ацетиленовые генераторы.

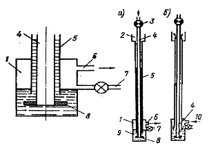
При небрежной газопламенной обработке металла возможен взрыв ацетиленового генератора, если в мундштуке ацетилено - кислородной горелки отсутствует кислород н имеется незначительное давление ацетилена, В этом случае при обратном ударе пламени газ попадает в ацетиленовый шланг и далее в генератор, где ацетилен и взрывается. Для предотвращения обратного удара в газогенератор между ним и горелкой устанавливают предохранительное устройство-водяной затвор. Схема устройства водяного затвора низкого давления (0,01 Па) показана ниже.

В корпус 1 (рис.) через воронку 2 заливают воду до уровня контрольного крана 7, При открытии вентиля 3 газ выходит из трубки 4 через рассекатель 8, затем проходит через слой воды 9 и поступает в корпус 1 и далее через ниппель 6 в шланг к горелке. Проходящий газ повышает давление в корпусе , вследствие чего часть воды вытесняется и заполняет зазор между трубками 4 и 5. Этот водяной зазор препятствует выходу ацетилена в атмосферу.

При обратном ударе пламени в направлении 10 (рис. ) давление в корпусе 1 превысит давление от газа и вода вытеснится в трубку 4. С понижением уровня воды в корпусе 1 конец трубки 5 обнажится и давление газа будет снижено вследствие выхода его через воронку 2 в атмосферу

При температуре ниже нуля в затвор ацетиленового генератора заливают незамерзающую жидкость, в состав которой входит раствор этиленгликоля, хлористого кальция, хлористого натрия или глицерин. Замерзшую воду в затворе отогревают горячей водой или паром.

Если для газовой резки металлов взамен ацетилена применяют жидкое горючее (например керосин), возможен обратный удар пламени в кислородный шланг. В этом случае на кислородном штуцере устанавливают обратный клапан. При обратном ударе взрывная волна гасится в корпусе этого клапана и не проникает в кислородный шланг.

При каких условиях происходит взрывоопасное горение газов

Горение и взрывы газо-, паро- и пылевоздушных смесей.

Смеси газов или паров с воздухом могут гореть лишь при определенных соотношениях. Минимальную и максимальную концентрации горючих газов или паров в воздухе, при которых они могут воспламеняться, называют нижним и верхним концентрационными пределами воспламенения. Концентрации смесей, находящиеся в этих пределах и способные гореть, называются взрывоопасными.

При горении смесей в условиях замкнутых емкостей возникает повышенное давление, приводящее к взрыву. Так, при испарении 0,25 кг бензина в воздухе образуется газовая смесь, взрыв Которой развивает мощность, достигающую 12 тыс. кВт. Этим объясняется, что взрывы вызывают разрушения, пожары и тяжелые формы травматизма (сотрясение мозга, переломы костей, ранения).

Взрывоопасными считают вещества, способные к взрыву или детонации без участия кислорода, воздуха.

Смеси, концентрации которых находятся ниже нижнего и выше верхнего пределов воспламенения, в замкнутых сосудах не горят и поэтому являются безопасными.

Концентрационные пределы воспламенения паров и газов некоторых веществ следующие, %: для паров ацетилена нижний предел - 2,5, верхний-80,8; для бутана нижний - 1,36, верхний - 8,41, для бензина нижний - 0,76, верхний - 5,4.

Пламя по взрывчатой смеси в открытой трубе распространяется со скоростью всего нескольких метров в 1 с, тогда как в закрытой трубе - со скоростью 2000-3000 м/с. При такой скорости сгорание смеси называется детонацией.

При взрыве большинства газов образуется температура в 1500...2000°С и давление до 1,1 МПа (11 ат).

Смеси паров с воздухом по взрывоопасности аналогичны смесям газов с воздухом. Учитывая, что концентрация насыщенных паров жидкости зависит от температуры, эти температуры принято называть нижним и верхним температурными пределами воспламенения

Горючие вещества

Температура само -воспламенения, оС

Предел взрываемости по объёму



нижний

верхний

Бутан

490

1,6

8,5

Пропан

2,3

9,5

Природный газ

550 -750

3,8

13,2


Смеси пыли с воздухом, как и газовые смеси, горят с большой скоростью и взрываются в замкнутых сосудах.

В воздухе пыль находится в состоянии аэрозоля (взвешенной воздухе) или аэрогеля (пыль, осевшая на потолке и поверхностях).

Температура самовоспламенения угольной пыли в состоянии аэрогеля 260°С, в состоянии аэрозоля -969°С.

Опасность пылей характеризуется нижним концентрационным пределом их воспламенения. Пыли, у которых этот предел составляет 65 г/м3 и менее, относят к взрывоопасным, а у которых он выше 65 г/м3 - к пожароопасным.

Для предотвращения развития взрыва пылевоздушных смесей и уменьшения разрешающего действия такого взрыва на пылепроводах и аппаратах (дюкерах, мельницах, сепараторах) устанавливают разрывные мембраны, быстродействующие отсекающие задвижки, а также устройства для подачи в пылепроводы инертных газов (двуокиси углерода или водяного пара).

Опасность взрыва аэровзвесей определяется нижним пределом воспламенения, периодом индукции и температурой самовоспламенения; способностью к самовозгоранию.

Категории взрывоопасных смесей газов и паров с воздухом, а также группы взрывоопасных смесей газов и паров с воздухом по температуре самовоспламенения изложены в ГОСТ 12.1.011-78 “Смеси взрывоопасные”.

Горение в замкнутом объеме.

Особенностью сгорания смеси в замкнутом объеме (при центральном зажигании) является слабый рост давления в начальной стадии распространения пламени. Причиной этого является то, что объем сгоревшего газа пропорционален кубу радиуса пламенной сферы и поэтому относительно невелик при незначительных перемещениях фронта пламени в начале его пути. Так, при отношении радиусов пламенной сферы и сферического сосуда: r : R = 1 : 3 - объем продуктов сгорания равен 1/27 объема сосуда. Если бы исходная смесь не сгорала в этом объеме, а лишь оттеснялась на периферию, то давление возрастало бы не более, чем на 40%.

В соответствии с характером движения газов при сгорании в замкнутом объеме изменяется и скорость перемещения пламени. В начальной стадии горение протекает как бы в условиях свободного расширения газа в неограниченном пространстве. В конце горения скорость пламени приближается к нормальной.

Если в помещении имеются разгерметизированные отверстия (проемы), через которые могут выходить продукты сгорания, то давление взрыва снижается и при достаточной площади проемов может находиться в пределах 10-20 кПа.

Распространение пламени сопровождается многими сложными процессами: теплопередачей, диффузией, химическими превращениями. Эти процессы определяют скорость пламени Uи и структуру зоны горения.

Детонационное горение

Детонационное горение возникает во взрывоопасной среде при прохождении по ней достаточно сильной ударной волны (или волны ударного сжатия). Например, если в замкнутом объеме с горючей газовоздушной смесью взорвать точечный заряд взрывчатого вещества, то по газовой смеси от точки расположения заряда начнет распространяться ударная волна, и которой происходит внезапное (скачкообразное) повышение параметров состояния газа. - давления, температуры, плотности. Повышение температуры газа при сжатии в ударной волне значительно больше, чем при аналогичном, сравнительно медленном адиабатическом сжатии. Абсолютная температура газа, сжатого ударной волной, пропорциональна давлению ударной волны. Следовательно, если ударная волна достаточно сильная, то температура газа под действием ударного сжатия может повыситься до температуры самовоспламенения. Так как смесь реакционноспособна, произойдет химическая реакция. Выделившееся тепло пойдет частично на энергетическое развитие и усиление ударной волны, поэтому она будет перемещаться по смеси не ослабевая. Этот комплекс, представляющий собой ударную волну и зону химической реакции, называют детонационной волной, а само явление - детонацией. Так как химическая реакция при детонации протекает по тому же уравнению, что и при самовоспламенении, определяющим процесс горения, то детонацию можно считать детонационным горением.

Сжатие газа и его нагревание ударной волной тем сильнее, чем больше скорость движения расширяющихся газов, определяемая, в свою очередь, скоростью горения.

Давление в детонационной волне в несколько раз выше давления адиабатического сгорания в жесткой бомбе. При встрече с препятствием - стенкой сосуда - давление в детонационной волне возрастает. В определенных условиях давление в отраженной детонационной волне может в несколько сот раз превосходить начальное (до сгорания). Поэтому детонационное горение, вызывающее сильные разрушения, представляет собой большую опасность при образовании горючих газовых систем.

Детонация газовых смесей может происходить только при определенном минимально необходимом начальном давлении и определенных концентрациях горючего вещества в воздухе (или кислороде).

Какое влияние на величину предела огнестойкости железобетонных конструкций оказывает влажность бетона

Огнестойкость железобетонных и металлических конструкции.

Железобетонные конструкции благодаря их негорючести и сравнительно небольшой теплопроводности довольно хорошо сопротивляются воздействию пожара. Однако они не могут беспредельно противостоять пожару. Современные железобетонные конструкции, как правило, выполняют тонкостенными, без монолитной связи с другими элементами здания, что ограничивает их способности нести свои рабочие функции в условиях пожара до 1 ч, а иногда и менее. Еще меньшим пределом огнестойкости обладают увлажненные железобетонные конструкции. Если повышение влажности конструкции до 3,5% увеличивает предел огнестойкости, то дальнейшее повышение влажности бетона объемной массой более 1200 кг/м3 при кратковременном действии пожара может вызвать взрывообразное разрушение бетона и привести к быстрому разрушению конструкции.

Предел огнестойкости железобетонной конструкции зависит от размерен ее сечения, толщины защитного слоя, вида, количества и диаметра арматуры, марки бетона и вида заполнителя, нагрузки на конструкцию и схемы ее опирания. Предел огнестойкости ограждающих конструкций по прогреву противоположной огню поверхности на 140°С (перекрытия, стены, перегородки)' зависит от их толщины, вида бетона и его влажности. С увеличением толщины и уменьшением плотности бетона предел огнестойкости возрастает.

Предел огнестойкости по признаку потери несущей способности зависит от вида и статической схемы опирания конструкции. Однопролетные, свободно опертые изгибаемые элементы (балочные, плиты, панели и настилы перекрытий, балки, прогоны) при действии пожара разрушаются в результате нагревания продольной нижней рабочей арматуры до определенной критической температуры. Предел огнестойкости этих конструкций зависит от толщины защитного слоя нижней рабочей арматуры, величины рабочей нагрузки и теплопроводности бе-тона. У балок и прогонов предел огнестойкости зависит еще от ширины сечения.

При одних и тех же конструктивных параметрах предел огнестойкости балок меньше, чем плит, так как при пожаре балки обогреваются с трех сторон (со стороны нижней и двух боковых), а плиты - только со стороны одной поверхности.

Предел огнестойкости многопустотных и тонкостенных (ребрами вверх) настилов и панелей перекрытий примерно на 20% меньше предела огнестойкости панелей и плит сплошного сечения.

Выпускаемые заводами крупнопустотные предварительно напряженные настилы" из тяжелого бетона с защитным слоем 20 мм и стержневой арматурой из стали класса А-1У (марок 30 ХГ2С, 80С) имеют предел огнестойкости 1 ч, что позволяет использовать данные настилы в жилых зданиях.

Плиты и панели сплошного сечения из обычного железобетона при защитном слое 10 мм имеют пределы огнестойкости: арматура из стали классов А-1 и А-П-0,75 ч; А-1П (марка 25Г2С)-1 ч.

В ряде случаев тонкостенные изгибаемые конструкции (пустотные и ребристые панели и настилы, ригели и балки при ширине сечения 16 см и менее, не имеющие вертикальных каркасов у опор) при действии пожара могут разрушаться преждевременно по косому сечению у опор. Такой характер разрушения предотвращают путем установки на приопорных участках данных конструкций вертикальных каркасов длиной не менее 1/4 пролета.

Плиты, опертые но контуру, имеют предел огнестойкости значительно выше, чем простые изгибаемые элементы. Эти плиты армированы рабочей арматурой в двух направлениях, поэтому их огнестойкость зависит дополнительно от соотношения арматуры в коротком и длинном пролетах. У квадратных плит, имеющих данное соотношение, равное единице, критическая температура арматуры при наступлении предела огнестойкости составляет 800°С.

С увеличением соотношения сторон плиты критическая температура уменьшается, следовательно, снижается и предел огнестойкости. При соотношении сторон более 4 предел огнестойкости практически равен пределу огнестойкости плит, опертых но двум сторонам.

Предел огнестойкости колонн зависит от схемы приложения нагрузки (центральное или внецентренное), размеров поперечного сечения, процента армирования, вида крупного заполнителя бетона и толщины слоя у продольной арматуры.

Разрушение колонн при нагревании происходит в результате снижения прочности арматуры и бетона. Внецентренное приложение нагрузки уменьшает огнестойкость колонн. Если нагрузка приложена с большим эксцентриситетом, огнестойкое ть колонн в значительной степени зависит от толщины защитного слоя у растянутой арматуры, т. е. характер работы таких колонн при нагревании такой же, как и простых балок. Огнестойкость колонн с малым эксцентриситетом приближается к огнестойкости центрально сжатых колонн. Колонны из бетона на гранитном щебне обладают меньшей огнестойкостью ( ~ на 20%), чем колонны на заполнителе изизвестнякового щебня. Это объясняется тем, что кварц. входящий в состав гранита, разрушается при температуре 570°С, а известняки начинают разрушаться при температуре начала их обжига - 800°С.

При пожарах, как правило, стены обогреваются с одной стороны и поэтому прогибаются или в сторону обогреваемой поверхности, или в обратном направлении.

Стена из центральносжатой конструкции превращается во внецентренно сжатую с увеличивающимся во времени эксцентриситетом. В этих условиях огнестойкость несущих стен в большей степени зависит от нагрузки и их толщины. С увеличением нагрузки и уменьшением толщины стены предел ее огнестойкости уменьшается, и наоборот.

С увеличением этажности зданий нагрузка на стены возрастает, поэтому для необходимой огнестойкости толщину несущих поперечных стен в жилых зданиях принимают равной: в 5-9-этажных домах- 12 см, в 12-этажных- 14 см, в 16-этажных- 16 см, в домах высотой более 16 этажей -18 см и более.

Одно-, двух- и трехслойные самонесущие панели наружных стен подвергаются действию небольших нагрузок, поэтому огнестойкость этих стен обычно удовлетворяет противопожарным требованиям.

Используемая литература

Пчелинцев В. А., Коптев Д. В., Орлов Г. Г. “Охрана труда в строительстве” Москва. Высшая школа. 1991.

Кондратьев А. И., Местечкина Н. М. “Охрана труда в строительстве” Москва. Высшая школа. 1990.

Орлов Г. Г. “Охрана труда в строительстве” Москва. Высшая школа. 1984.

СНИП III-4-80* “Техника безопасности в строительстве” Москва. 1989. Под редакцией Орлова Г. Г.

”Инженерные решения по охране труда в строительстве. Справочник” Москва. Стройиздат. 1985.

Долин П. А. “Справочник по технике безопасности” Москва. Энергоатомиздат. 1984.

СНИП II-12-77 “Защита от шума” Москва. 1978.

СНИП 2-04-02-84 “Водоснабжение. Наружные сети и сооружения”

Похожие работы на - Организация управления техносферной безопасностью в строительстве

 

Не нашли материал для своей работы?
Поможем написать уникальную работу
Без плагиата!
Без нейросетей!