Технологічні схеми промислової підготовки нафти і газу та їх обладнання

  • Вид работы:
    Контрольная работа
  • Предмет:
    Геология
  • Язык:
    Украинский
    ,
    Формат файла:
    MS Word
    212,43 Кб
  • Опубликовано:
    2013-07-28
Вы можете узнать стоимость помощи в написании студенческой работы.
Помощь в написании работы, которую точно примут!

Технологічні схеми промислової підготовки нафти і газу та їх обладнання














Контрольна робота

Технологічні схеми промислової підготовки нафти і газу та їх обладнання

1. Промислові технологічні схеми підготовки нафти

Технологічні схеми підготовки нафти пройшли довгий і складний шлях розвитку та вдосконалення, від використання найпростіших амбарних технологій до впровадження сучасних прогресивних схем з використанням універсального блочно-комплексного обладнання. Схеми підготовки нафтопромислової продукції, як і її збору, завжди являються індивідуальними і залежними від фізико-хімічних властивостей продукції свердловин, об’ємів підготовки, техніко-економічних умов видобутку та реалізації готової продукції.

Незалежно від того, яка технологія лежить в основі промислової підготовки нафти, цей процес повинен передбачати три основні послідовні стадії - руйнування бронюючого шару крапель дисперсної фази, створення сприятливих умов для злиття крапель води та послідуючого відстою нафти і води. Будь-яке порушення послідовності таких операцій приведе до погіршення умов підготовки нафти.

Основною і найбільш поширеною технологією підготовки нафти залишається, так звана, резервуарна (рис.1).

Продукція свердловини може поступати або в сировинні резервуари 1, 4, або, обминаючи їх, прямо в технологічні 3, 6.

Частина сирої, непідготовленої ще нафти відбирається насосом 7а і подається на печі підігріву 8. Звідти підігріта до 60-80°С емульсія повертається в технологічні резервуари, де і підтримує встановлену температуру підготовки всієї кількості нафти. В технологічних резервуарах здійснюється весь необхідний процес зневоднення та знесолення і підготовлена товарна нафта періодично або постійно поступає в товарні резервуари 2, 5, а вода насосом 7в відкачується на установку її підготовки.

Після перевірки якості підготовленої нафти та виміру її маси вона з допомогою насоса 7б направляється на головні споруди магістрального трубопровода і далі на НПЗ. Сировинні резервуари можуть виконувати роль буферних ємностей, які згладжують нерівномірність подачі емульсії на установку підготовки, а також використовуватись для попереднього скиду вільної пластової води.

Рисунок.1. Найпростіша технологічна схема підготовки нафти: 1,4 - сировинні резервуари; 2,5 - буферні: 3,6 - технологічні; 7 - насоси для відкачки сирої нафти (а) та товарної (б); 8 - печі підігріву і полутньої (під товарної) води (В)

Загальна кількість резервуарів УПН та їх об’єм можуть коливатись в широких межах, в залежності від умов підготовки нафтопромислової продукції. Подача деемульгатора може здійснюватися перед установкою підготовки в точках їх подачі, які розглянуті раніше, або безпосередньо перед технологічними резервуарами.

В технологічних резервуарах постійно підтримується водяна подушка висотою в 3-5 м. Емульсія подається в нижню частину резервуара через спеціальний розподільчий пристрій, який забезпечує рівномірне спливання її по всій площі поперечного перетину. Тут і проходить процес руйнування емульсії, коалесценція глобул води та затримка їх в водяній зоні.

Такі резервуари дістали назву гідрофільний фільтр, оскільки шар води немовби фільтрує, затримує воду.

Резервуарна технологія підготовки нафти є достатньо універсальною, надійною і стійкою до перевантажень в випадках нерівномірної подачі емульсії на установку підготовки або значної зміни її якості.

Використовуючи резервуари, можна легко створювати умови для тривалого перебування та відстою в них водонафтових емульсій. Така схема залишається і досі основною при підготовці порівняно невеликих об’ємів нафти.

Основними недоліками резервуарної і практично відкритої технології підготовки нафти є великі втрати тепла, зв’язані із складністю теплоізоляції стінок резервуарів, та не менш значні втрати парів вуглеводів. Існуючі методи вловлювання та використання продуктів випарування (глава VII) поки що застосовують рідко.

На рис .2 приведена більш вдосконалена технологічна схема термохімічної установки підготовки нафти.

Після проходження через сепаратори першої та другої ступені сепарації, які можуть бути розміщені, в залежності від схеми збору, на певній відстані від установки підготовки, емульсія поступає в блок попереднього зневоднення 3. Тут відділяється значна частина вільної води, а емульсія насосом 4 подається в піч підігріву 5 і далі в блоки глибокого зневоднення та знесолення. Подача деемульгатора в емульсію може здійснюватись насосом 4, який забезпечує достатню турбулізацію розчину ПАР з емульсією і, при необхідності, додатково, перед блоком знесолення.

Рисунок 2 Технологічна схема герметизованої установки підготовки нафти: 1,2 - сепаратори відповідно першої та другої ступені сепарації; 3 - блок попереднього зневоднення; 4 - насос; 5 - піч підігріву; 6,7 - блоки зневоднення та знесолення; 8 - сепаратор “гарячої“ сепарації; 9 - товарний резервуар; 10 - компресор

В сепараторах кінцевої ступені “гарячої” сепарації 8 з допомогою компресора 10 відбираються газоподібні вуглеводні і подаються разом з газом перших ступеней сепарації на переробку (ГПЗ), або в деяких сучасних технологічних схемах можуть перероблятись і використовуватись безпосередньо на нафтопромислі.

Частина пластової мінералізованої води, яка виділилась в блоках зневоднення та знесолення повертається знову на вхід в установку підготовки.

Такий технологічний прийом, тобто повторне використання дренажної води, зменшує витрати тепла на підігрів емульсії та дозволяє використати і певну кількість деемульгатора, розчиненого в воді.

Використання для підготовки нафти підігрівальної та відстійної апаратури, що здатна працювати під певним надлишковим тиском, застосування ступені “гарячої” сепарації в певній мірі ліквідує недоліки відкритої резервуарної схеми підготовки нафти.

При значних об’ємах видобутку нафти розроблена та рекомендована для впровадження уніфікована технологічна схема збору та підготовки нафти, газу та води (рисунок.3). Свердловинна продукція після проходження виміряних установок ГЗУ подається на сепараційну установку СУ і звідси рідина поступає безпосередньо на установку підготовки.

Якщо ж технологічні схеми збору передбачають наявність ступеней сепарації та попередного скиду води проміжних), то продукція свердловин буде направлена прямо на відстійник В-1, або, минуючи його, на теплообмінник Т.

Подальша технологія підготовки, в цілому, відповідає вище розглянутій схемі УПН. Вона передбачає попередній підігрів емульсії в теплообмінній апаратурі, подачу в значно обезводнену нафту на виході з відстійника В-2 прісної води, а при потребі, і деемульгатора, знесолення нафти в електродегідраторах і кінцеве розгазування підготовленої нафти в сепараторах кінцевої ступені сепарації КСУ. Всі основні об’єкти системи підготовки передбачають можливість відбору газу і його використання, в тому числі як паливного газу для підігріву емульсії.

Готова (товарна нафта) продукція поступає на установку автоматизованого виміру кількості та якості товарної нафти (“Рубін”) і далі на НПЗ.

Одночасно з підготовкою нафти комплексна система підготовки нафтопромислової продукції передбачає і підготовку попутньої пластової води, дощових та промислових стоків. Детальніше процеси підготовки води розглянуті в главі VII.

Всі основні об’єкти комплексної установки підготовки нафти являються блочними, заводського виготовлення і оснащені системою автоматичного контролю та управління.

Рис 3. Спрощена схема уніфікованої установки підготовки нафти: СУ - сепараційна установка; В-1, В-2 - водовідстійники, П - піч підігріву, Е-1 - електродегідратор; КСУ - кінцева сепараційна установка; БВ - блок водоочистки та відстою; УПС - установка попереднього скиду води; Р - резервуар; Рубін - установка автоматизованої здачі товарної нафти; БД - блок деемульгаторів; Т - теплообмінник

Це дозволяє оперативно нарощувати промислові потужності по переробці нафти і, відповідно, демонтувати частину блоків та перекидати на інші установки при зменшенні об’ємів її підготовки.

Комплексні схеми підготовки нафти в розглянутому вище варіанті впроваджуються на великих нафтових родовищах чи групах родовищ, з об’ємами підготовки в мільйони тонн нафти в рік.

На нафтових родовищах України, які характеризуються порівняно невеликими запасами нафти та річним рівнем її видобутку впроваджені, в основному, резервуарні технології підготовки нафти.

В 70-80 роки відбулась певна реконструкція систем збору і підготовки нафти і газу з використанням блочних установок виміру продукції свердловин, сепарації газу та підготовки нафти. Подальше вдосконалення існуючих систем підготовки нафти є однією з найважливіших задач в галузі нафтогазовидобутку.

2. Блочне автоматизоване обладнання технологічних схем підготовки нафти

Блочні установки підготовки нафти, як і розглянуті раніше установки виміру дебіту та сепарації газу, являються багатофункціональними і високопродуктивними об’єктами, які забезпечують якісну і з мінімальними економічними витратами підготовку нафти.

Основні серії блочного автоматизованого обладнання заводського виготовлення включають.

. Установки деемульсії та обезсолювання, типу УДО-2М, УДДО-3, та їх перші прототипи - сепаратори-підігрівачі СП-1000.

. Нагрівачі нафтопромислової продукції системи збору і підготовки, типу УН-0,2, ПТТ-0,24 ПТ160/100М; НН-2,5; БН-5,4.

. Відстійну апаратуру - відстійники вертикального (ВВР) руху рідини або горизонтального (ВГР).

. Електродегідратори другої ступені зневоднення та знесолення нафти (ЕГ-200-10).

, Установки виміру якості та кількості готової продукції типу “Рубін-2М”.

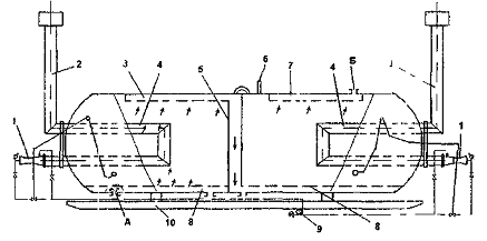
Найбільш досконалими сучасними установками технологічних схем підготовки нафти є деемульсійні установки типу УДО. Блочні установки цього типу (рис.4) дозволяють проводити нагрів емульсії, її руйнування та відстій, а при потребі і знесолення продукції.

нафта газ емульсія блочний

Рисунок 4 Схема установки УДО-3М

Такі установки базуються на використанні стандартних горизонтальних циліндричних ємностей об’ємом 200м3. Установка УБС складається з двох відсіків - нагрівального I та відстійного II. Через патрубок 2 емульсія поступає в апарат, обгинає перегородку 3 і через нижні прорізи поступає в перший відсік, де нагрівається до температури 60°C. Переливаючись через перегородку, підігріта емульсія попадає в колектор 10 і звідси рівномірно по всій площі перетину проходить вверх, через шар води. Тут емульсія остаточно руйнується. Чиста нафта, піднімаючись вверх попадає в збірник 9 і потім в колектор чистої нафти 11. За допомогою клапана 12 вона автоматично виводиться з установки. Газ, який попав в установку разом з нафтою, і той, що виділився в процесі підігріву, поступає в сепаратор 5 і далі в барботер другого відсіку. Тут він збирається в сепараторі 5а і за допомогою регулятора тиску “до себе” 7 направляється на споживання. Вода виводиться з установки за допомогою патрубків, змонтованих в нижній частині.

Система автоматики дозволяє контролювати і регулювати тиск, температуру входу та підігріву емульсії, витрату води та нафти на виході із установки. Для боротьби з відкладанням солей в нагрівальних пристроях передбачена можливість дозування в потік емульсії хімічних реагентів - інгібіторов солеутворення.

Установки типу УДО, як і інші блочні автоматизовані установки, є складними, вимагають висококваліфікованого обслуговування, надійного електропостачання. Вони не допускають різкої зміни технологічного процесу підготовки нафти або об’єму поступлення емульсії.

Нагрівальна апаратура, яка використовується в системі збору і підготовки нафти, характеризується значною кількістю модифікацій. Всі вони являють собою блочні трубчасті печі підігріву нафтопромислової продукції без наявності відстійних секцій і використовують для підігріву нафтопромислової продукції попутний газ.

Нагрівачі нафти типу НН (рис.5) є циліндричною горизонтальною ємністю, змонтованою на пересувному днищі 10.

Внутрішня порожнина ємності розділена перегородкою 5 на два відсіки, обладнані паливними пристроями 4 з газовими інжекційними горілками і димовими трубами 2.

Рисунок 5 Загальний вид установки підігріву рідини, типу НН-2,5

Емульсія поступає в нагрівач через вхідний патрубок А під розподільчу решітку першої секції установки і, піднімаючись вверх, підігрівається, а потім перетікає по перфорованому збірнику 3 в другу секцію, де процес її підігріву повторюється. Підігріта нафтова емульсія разом з вільною водою попадає в збірник 7 і через патрубок Б виводиться з нагрівача. На установці монтується також газовий колектор 9, запобіжний клапан 8, пристрої для обслуговування, огляду та ремонту (люк-лази, робочі площадки). Прилади контролю та регулювання включають датчики тиску, температури. Пропускна здатність установки НН-2,5 складає 3000 т/добу при робочій температурі 60°C. Загальна витрата газу на підігрів дорівнює 360 м3/год.

Більш потужні нагрівачі типу НН-6,3 розраховані на пропускну здатність до 9000 т/добу.

Горизонтальні відстійники призначені для відстою емульсії та розподілу її на нафту і воду і являють собою сталеву циліндричну ємність об’ємом до 200 м3 і діаметром 3400мм (див.рис.6).

Рисунок 5.6 Загальний вигляд відстійника вертикального руху типу ОВД-200 (а) та блочного нафтового відстійника горизонтального руху ОБН 3000/6 (б).

Принципи їх роботи теж грунтуються на гравітаційному розподілі фаз та промиву емульсії в шарі дренажної води. Вхід емульсії в відстійники та вихід води і нафти показано стрілками на рис.6 Для забезпечення рівномірного входу та виходу рідини в середині відстійників монтуються заспокійливі пристрої (перфоровані труби, відбійні пристрої, перфоровані барабани).

Пропускна здатність відстійників коливається в межах 3000-8000 м3/добу, в залежності від властивостей емульсії, її стійкості. При нормальних умовах експлуатації обводненість нафти на виході не повинна перевищувати 0,5%.

Електродегідратори застосовуються для глибокого зневоднення та знесолення; руйнування стійких емульсій (рис.7).

Рисунок 7 Загальний вигляд електродегідратора ЕГ-200-10

Електродегідратор теж являє собою горизонтальну циліндричну ємність об’ємом 200 м3, розраховану на робочий тиск до 1 МПа, оснащену розподілювачами емульсії 5, збірниками нафти 4 і води 6, які виготовлені з перфорованих труб. Ці пристрої практично такі ж, як і в відстійниках ОВД.

Додатково електродегідратор обладнується двома електродами - нижнім 1 і верхнім 2, виконаними у вигляді прямокутних решіток, які встановлюються на відстані 25-40 см одна від одної.

За допомогою трансформатора на електроди подається електричний струм промислової частоти з максимальною напругою електричного поля між електродами 1,6 кВ/см.

Пропускна здатність електродегідратора ЕГ-200-10 складає 500 м3/год.

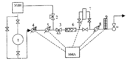
Ще один тип блочного автоматизованого обладнання, яке застосовується в сучасних установках підготовки нафти і розглядується тут, є установка для виміру якості та кількості товарної нафти, або установка автоматизованої здачі готової продукції типу “Рубін”, рис.8.

Рисунок 8 Технологічна схема установки автоматизованої здачі готової продукції (Рубін-2М)

Готова продукція з установки підготовки нафти, минуючи товарні резервуари 1, проходить через датчики якості: вологомір 4 та солемір 5. Якщо вміст домішок відповідає встановленим нормам, то потік нафти направляється дальше через фільтр 6 та лічильник рідини 8 і за допомогою насоса 10 відправляється споживачам (НПЗ). Всі покази приладів поступають в блок місцевої автоматизації БМА, аналізуються тут і фіксуються. Радіоізотопний густиномір 7 та електроконтактний термометр 9 потрібні для точного переводу об’ємної витрати в масову, яка лежить в основі фінансових розрахунків між нафтовидобувними та нафтопереробними підприємствами.

Якщо якість підготовки продукції погіршилась і вміст води та солей перевищує норму, то БМА видає сигнал і з допомогою гідроприводу відкривається відсікач 2 та закривається відсікач 3 і нафта направляється на повторну підготовку. Автоматизовані установки розглянутого типу доцільно використовувати при великих об’ємах підготовки (сотні м3/год). На невеликих нафтопромислах об’єми товарної нафти вимірюються безпосередньо в резервуарах.

Особливості підготовки нафти з аномальними властивостями та руйнування особливо стійких емульсій

Вже відмічена раніше тенденція збільшення видобутку високов’язкої та сірчанистої нафти значно ускладнює процеси їх збору, транспорту та підготовки.

Основні труднощі підготовки важкої нафти зв’язані не тільки з великою її в’язкістю, але й з малою різницею густин води і нафти, яка різко зменшує ефективність гравітаційного відстою. Тому технологічні показники процесу зневоднення такої нафти характеризуються значним часом відстою, до 6-24 год., навіть при досяганні температури до 110°C і при витраті деемульгатора до 150-300 г/т. Емульсії високов’язкої нафти володіють підвищеною міцністю внаслідок того, що в склад їх природних емульгаторів входять, в основному, асфальтосмолисті вуглеводні. Крім того, така нафта схильна до піноутворення, яке теж зменшує ефективність роботи установок сепарації та підготовки.

Тому збір і підготовку важкої нафти необхідно проводити з використанням всіх відомих способів зниження в’язкості емульсії: підігрів, подача розчинників, хімічних речовин - депресаторів, полімерів, транспорт і підготовка в газонасиченому стані. Найбільш доцільним методом є змішування високов’язкої та легкої нафти або газового конденсату при наявності в даному нафтовидобувному районі різних родовищ нафти і газу. Добавка легкої нафти навіть в невеликій кількості до 20% зменшує в’язкість важкої в десять разів. Ще ефективнішою є добавка газового конденсату.

Потрібно також врахувати, що витрати тепла на підігрів газонасиченої нафти менші, ніж дегазованої.

Підготовку високов’язкої нафти ведуть з використанням резервуарної технологічної схеми, яка дозволяє регулювати час відстою і руйнування емульсії в широкому діапазоні.

Значні проблеми існують і при підготовці сірчанистої нафти. В залежності від вмісту сірчанистих сполук, в основному сірководню, нафтові родовища поділяють на три групи: I група з незначним вмістом сірки (0,0015-0,5% мольН); II група з середнім вмістом сірчанистих з’єднань (0,51-2,00% мол) і III група з їх великим вмістом >2,0% мол.

Збір та підготовка нафти першої групи родовищ проводяться за загально прийнятими технологіями без додаткової очистки. Для другої групи родовищ вже необхідно передбачити додаткову очистку газу і нафти та особливе дотримання правил охорони праці і навколишнього середовища.

Значну складність створює збір і підготовка нафти на родовищах третьої групи. Тут потрібні вже і особливі матеріали, захисні покриття, використання інгібіторів корозії та додаткових технологій якісної очистки нафти і газу від сірководню.

Багатоступенева сепарація газу дозволяє відділити значну частину сірководню. Ефективність його відділення буде тим більшою, чим вища температура на останній ступені сепарації. Додатково очистка нафти від сірководню може проводитись методом віддуву. Схема такого процесу зображена на рис.9

Після сепараторів першої та другої ступені нафта подається в нагрівач і далі поступає в колону (десорбер). В нижню частину десорбера подають сухий, без H2S, газ, який розчиняє в собі сірководень. Внутрішня конструкція колони стандартна, із застосуванням різних насадок, контактних тарілок чи решіток. Питома витрата газу складає біля 5 м3/т. Більш універсальним способом очистки нафти від сірководню є метод ректифікації, а також обробки її хімреагентами (водний розчин лугу).

Рисунок 9 - Схема багатоступеневої сепарації з віддувкою нафти сухим газом: 1, 2, 6 - відповідно сепаратори високого, середнього та низького тиску; 3, 5 - підігрівач; 4 - віддувочна колона

Окремою проблемою в процесах підготовки нафти є утворення особливо стійкої емульсії в відстійній апаратурі, так званий, “проміжний шар”. Така емульсія є надзвичайно стійкою, що пояснюється наявністю в бронюючому шарі дисперсної фази великої кількості, тонкодисперсних механічних домішок (продукти руйнування продуктивного пласта, та ті, які попали в пласт при бурінні свердловини, підземних ремонтах, застосуванні методів інтенсифікації). Наявність таких домішок затруднює контакт деемульгатора з бронюючим шаром, тобто його руйнування. З часом висота проміжного шару зростає і нормальний режим роботи відстійної апаратури порушується. Повернення цієї емульсії на повторну переробку є малоефективне і тільки ускладнює нормальний технологічний режим роботи УПН. Залишаються неефективними і всі відомі способи руйнування цих емульсій. Навіть витрата 100-200 г/т деемульгатора та підігрів до 90°C часто є недостатніми для її руйнування. Тому на багатьох пунктах підготовки споруджують відкриті шламонагромаджувачі, куди і скидають емульсію проміжного шару.

З часом її частина все-таки руйнується і деяку кількість нафти відкачують для повторної підготовки, але проблема використання (утилізації) решти емульсії залишається. В даний час продовжуються промислові дослідження та розробляються технології руйнування особливо стійких емульсій або використання їх в інших галузях промисловості.

Стабілізація нафти на промислах

Під стабільністю нафти розуміють її здатність до випаровування легких вуглеводнів на всьому шляху від установок підготовки до нафтопереробного заводу. Якщо такий транспорт передбачає наявність значної кількості проміжних насосних станцій з резервуарними парками, залізничні або танкерні перевезення нафти на значну відстань, то втрати легких вуглеводнів або широкої фракції легких вуглеводнів (ШФЛВ) можуть бути невиправдано великими.

Стабільною вважається нафта з мінімальним вмістом бутан-пропанових фракцій. Відповідно, тиск насичених парів такої нафти буде менше 660 Па. В сучасних установках підготовки нафти, в яких передбачена кінцева ступінь гарячої сепарації з компресорним відбором нафтового газу, товарна нафта є достатньо стабільною. В інших випадках може бути доцільною додаткова стабілізація нафти з використанням ректифікаційних колонок, рис.10.

Основний потік нестабільної нафти подається в установку через теплообмінник 1 та нагрівальну піч 2 в середню частину стабілізаційної колони 3. В нижню відгінну частину її подається газ, який інтинсифікує відпарку низькокиплячих компонентів з нафти та вихід ШФЛВ при одночасному зменшенні тепла.

Рисунок 10 Технологічна схема стабілізації нафти

Менша частина нестабільної нафти з температурою біля 50°C, минуючи піч підігріву, поступає на зрошування стабілізаційної колони. З її верху парогазова суміш відводиться в конденсатор-холодильник 4 і розподіляється в рефлюксивній ємності 5 на несконденсований газ та нестабільний бензин (ШФЛВ). Частина нестабільного бензину теж подається на зрошування стабілізаційної колони. Виходячи з нижньої частини колони, стабільна нафта передає тепло нестабільній в теплообміннику 1 і поступає в систему далекого транспорту до споживачів.

Стабілізація нафти є економічно доцільною при значних об’ємах її підготовки.

. Промислова підготовка нафтового газу

Видобуток нафтового газу певним чином відрізняється від видобутку природного газу. Об’єми видобутку природного газу легко регулювати в залежності від транспортних можливостей та рівня його споживання. Нафтовий газ видобувається разом із нафтою, незалежно від того чи є споживач і на якій відстані він знаходиться.

Крім того, нафтовий газ, на відміну від природного, має високий до 30% вміст пропан-бутанових та більш важких вуглеводів. Безпосереднє його використання в виробництві та побуті без переробки недоцільне або і неможливе. Переробка нафтового газу здійснюється на газопереробних заводах і їх готовою продукцією, крім сухого газу, є широка фракція легких вуглеводів (ШФЛВ), стабільний та нестабільний газові бензини, зріджені гази - пропан, бутан. Останні являються особливо цінною сировиною для хімічних та нафтохімічних виробництв.

Газопереробні заводи являють собою комплекс складних і дорогих об’єктів і їх спорудження може початись тільки при наявності достатніх об’ємів видобутку нафтового газу, які б гарантували нормальну роботу завода впродовж багатьох десятків років.

В даний час в Україні працюють 3 газопереробних заводи, які в стані забезпечити переробку всієї кількості нафтового газу, що добувається. Відмітимо, що річний видобуток його складає майже 1 млрд.м3/рік.

Газопереробні заводи не висувають певних вимог до якості газової продукції, що надходить з промислів, за винятком хіба дотримання деякого мінімального тиску входу газу в заводські установки, яку диктує технологічна схема переробки газу. Тому якість промислової підготовки газу диктується, в першу чергу, необхідністю забезпечення нормальних умов його транспорту на значну відстань по магістральному газопроводу. Крім нестабільних вуглеводів, газ містить в собі вологу та інші домішки, типу сірководень, окисли азоту.

При зміні термодинамічних умов транспорту і, в першу чергу, температури, окремі вуглеводні можуть переходити з газоподібного стану в рідку фазу, а волога конденсуються в крапельну воду. Такий конденсат, як відмічалось раніше, створює додаткові опори при транспорті газу, приводить до пульсації тиску і зменшення пропускної здатності газопроводу. Наявність води спричиняє також появу кристалогідратів, які можуть приводити до повної закупорки трубопроводу.

Тому, для попередження вказаних ускладнень може виникати необхідність попередньої промислової підготовки газу і, в першу чергу, його осушки. Методи осушки нафтового газу є такими ж самими, як і природного (низькотемпературна сепарація, абсорбція та адсорбція). Вони детально висвітлені в навчальній літературі.

В рідких випадках, при особливо високих газових факторах та значних тисках на гирлах свердловин, можна здійснити розподіл нестабільних вуглеводнів на установках низькотемпературної сепарації так, як це робиться при підготовці природного газу. Практично, в більшості випадків, потрібно при осушці нафтового газу застосовувати технології НТС з використанням холодильних установок або абсорбційні методи.

В даний час підготовка нафтового газу на промислах України практично не здійснюється. В той же час мають ще місце значні втрати нафтового газу на окремих родовищах, розташованих на значній відстані від ГПЗ і з порівняно невеликими об’ємами видобутку газу, транспорт якого на далеку відстань, з використанням компресорних станцій є економічно невигідним. В зв’язку з цим, а також, враховуючи необхідність введення в розробку багатьох нових, порівняно невеликих нафтових родовищ, потрібно передбачати промислову підготовку та відбензинування нафтового газу більш простими засобами, ніж будівництво нових газопереробних заводів. Для цього доцільно використовувати створені давно блочні автоматизовані малогабаритні газові установки (МГБУ) з продуктивністю переробки від 40 до 500 тис.м3/добу нафтового газу.

Такі установки призначені для відбензинення газу, що виділяється на останніх ступенях сепарації, і можуть входити в склад установок підготовки нафти.

Робота найпростішої із них, установки МГБУ-40, базується на використанні принципів стиснення газу і наступної переробки рідкої фази в стабілізаційній колоні, рис.11.

Рисунок 11 Технологічна схема блочної автоматизованої установки відбензинення нафтового газу МГБУ-40

Нафтовий газ, який поступає на установку під тиском 0,1¸0,12 МПа проходить сепаратор С-1 і після відділення крапельної рідини стискується в компресорі ГК-1 до 0,5 МПа. Після цього він охолоджується в холодильнику Х-1 і поступає в сепаратор С-2. Тут, внаслідок охолодження проходить конденсація і розподіл рідкої та газової фаз. Підготовлений сухий газ може використовуватись на промислові потреби, а конденсат насосом Н-1 подається через теплообмінник в стабілізаційну колону К-1. Пари пропан-бутанової фракції із стабілізаційної колони охолоджуються і конденсуються в повітряних холодильниках Х-2. Рідка їх фракція стікає в ємність Е-1 і звідси насосом Н-2 йде частково на зрошення стабілізаційної колони, а надлишок поступає на реалізацію.

Рідина, яка стікає знизу колони, поступає в підігрівач П-1. В ємності Е-2 проходить розподіл рідкої та газової фаз. Пари вуглеводнів подаються знову в стабілізаційну колону, а рідина (газовий бензин) віддає надлишок тепла в теплообміннику Т-1, охолоджується в холодильнику Х-3 і відправляється в систему споживання.

Установки МГБУ складаються з багатьох мобільних блоків, встановлених на металічних рамах, повністю укомплектованих приладами контролю та автоматизації і випробуваних в заводських умовах. Їх перевагою є і можливість швидкого переміщення в інші промислові райони нафто-газовидобутку при зміні об’ємів видобутку нафтового газу.

Малогабаритні газові відбензинюючі установки більшої продуктивності використовують абсорбційні методи його підготовки для далекого транспорту.

Література

Попов А. Н. Технология бурения нефтяных и газовых скважин 2003.

Вадецкий Ю. В. Бурение нефтяных и газовых скважин 2003.

Булатов. Справочник по креплению нефтяных и газовых скважин 1981.

Блажевич В. А. РИР при эксплуатации нефтяных месторождений 1981.

Уметбаев В. Г. Капитальный ремонт скважин. Изоляционные работы 2000.

Молчанов А. Г. Подземный ремонт скважин 1986.

Блажевич В. А. Справочник мастера по КРС 1986.

Булатов. Совершенствование гидравлических методов цементирования скважин 1978.

Абатуров В. Г. Физико-механические свойства горных пород и породоразрушающий инструмент 2007.

Гречен Е. Г. Теория и практика работы неориентируемых компановок низа бурильной колонны 2008.

Овчинников В. П. Технологии и технологическая среда бурения искривленных скважин 2008.

Овчинников В. П. Буровые промывочные жидкости 2008.

Д. Съюмен и др., Справочник по контролю и борьбе с пескопроявлениями в скважинах 1986.

Похожие работы на - Технологічні схеми промислової підготовки нафти і газу та їх обладнання

 

Не нашли материал для своей работы?
Поможем написать уникальную работу
Без плагиата!
Без нейросетей!