Приборы и технология угловых геодезических измерений

  • Вид работы:
    Курсовая работа (т)
  • Предмет:
    Геология
  • Язык:
    Русский
    ,
    Формат файла:
    MS Word
    167,38 Кб
  • Опубликовано:
    2013-01-18
Вы можете узнать стоимость помощи в написании студенческой работы.
Помощь в написании работы, которую точно примут!

Приборы и технология угловых геодезических измерений














Приборы и технология угловых геодезических измерений

СОДЕРЖАНИЕ

геодезическое измерение теодолит

введение

основная часть

1. Угловые геодезические измерения

1.1 Классификация теодолитов. Оптико-механические и электронные теодолиты

.2 Устройство и поверки теодолитов

.3 Принципы измерения горизонтальных и вертикальных углов

1.4 Высокоточные угловые измерения

заключение

список использованных источников

введение


Инженерно-геодезические работы являются чрезвычайно важной и неотъемлемой частью комплекса работ по изысканиям, проектированию, строительству и эксплуатации автомобильных дорог, сооружений, объектов лесного хозяйства.

На современном этапе развития научно-технического прогресса происходят фундаментальные изменения технологии и методов проектно-изыскательных работ и строительства инженерных объектов, что находит отражение в изменении состава и методов производства инженерно-геодезических работ.

Современное строительное производство невозможно без широкого использования геодезических приборов, одним из которых является Теодолит.

основная часть


1. Угловые геодезические измерения


Угловые измерения производят для того, чтобы определить в пространстве взаимное положение точек местности. То есть определение горизонтальных и вертикальных углов данных

Для определения планового положения точек измеряют горизонтальный угол. Для определения превышений между точками измеряют вертикальные углы (углы наклона). Под вертикальным углом понимают угол между стороной и ее проекцией на горизонтальную плоскость. Вертикальные углы всегда отсчитываются от проекции к стороне. Если сторона выше проекции, то угол считают положительным, если ниже - отрицательным. Вертикальные углы могут принимать значения в пределах от -90° до +90°.

1.1 Классификация теодолитов. Оптико-механические и электронные теодолиты


Теодолит - геодезический прибор, предназначенный для измерения горизонтальных и вертикальных углов, расстояний углов ориентирования.

Теодолиты быть удобны и просты в обращении, отсчетные шкалы, должны соответствовать зрительным возможностям глаза наблюдателя, конструкция теодолитов должна позволять выполнение поверок и юстировок в полевых условиях.

Теодолиты классифицируют по разным признакам:

·              по физической природе носителя информации (механические, оптические, электронные, кодовые и т. п.)

·              по конструкции отсчетного устройства (простые, повторительные, с уровнем при вертикальном круге, с компенсатором и др.)

·              по точности.

По точности теодолиты делятся на:

·              высокоточные

·              точные

·              технические

Плоскость горизонтального круга и ось вращения трубы должны быть перпендикулярны к вертикальной оси теодолита. Визирная ось трубы должна быть перпендикулярна к оси вращения трубы. Ось вращения алидады и ось вращения горизонтального круга должны проходить через центр кольца делений лимба. При угловых измерениях вертикальная ось теодолита должна совпадать с отвесной линией в точке его стояния. Нарушения геометрической схемы теодолита приводят к ошибкам в отсчетах и в итоге - к ошибкам в конечных результатах угловых измерений. В теодолите должны быть согласованы точность изготовления осевой системы, точность нанесения делений, точность визирования, точность изготовления и компоновки узлов отсчетного устройства, точность изготовления цилиндрических уровней, компенсаторов и т. д.

Гиротеодолит - гироскопическое визирное устройство, предназначенное для определения азимута ориентируемого направления и широко используется при проведении маркшейдерских, геодезических, топографических работ. По принципу действия Гиротеодолит является и принадлежит к типу гирокомпасов. Помимо гироскопического чувствительного элемента, гиротеодолит включает угломерное устройство для снятия отсчётов положения чувствительного элемента и определения азимута (пеленга) ориентируемого направления. Угломерное устройство состоит из лимба с градусными и минутными делениями жестко связанного с его алидадой. Наблюдение ведётся по штриху, проектируемому на зеркале, которое укреплено на чувствительном элементе. При этом визирная линия зрительной трубы будет располагаться параллельно оси гироскопа. Определение азимута, ориентируемого с помощью Гиротеодолита направления, производится по шкале, связанной с теодолитом.При наблюдениях гиротеодолитом все измерения относят к отвесной линии в точке наблюдений и к плоскости горизонта.

Тахеометр - разновидность теодолита, оснащенная электронным устройством для вычисления и запоминания координат точек на местности. В отличие от оптического не повторительного, полностью исключает ошибки снятия и записи отсчета благодаря микропроцессору, выполняющему автоматические расчеты. Электронный теодолит позволят работать в темное время суток.

 

.2 Устройство и поверки теодолитов


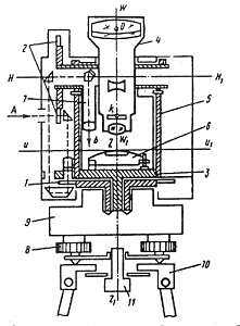
- стеклянный горизонтальный круг; 2 - стеклянный вертикальный круг; 3 - алидада; 4 - зрительная труба; 5 - колонка; 6 - цилиндрический уровень; 1 - окулярная часть отсчетного микроскопа; 8 - подъемный винт; 9 - подставка; 10 - головка штатива; 11 - закрепительный винт

Рис. 1 Схема теодолита

Перед началом производства полевых работ с использованием теодолита осуществляют контроль следующих условий (выполняют поверки):

. Штатив и подставка теодолита должны быть устойчивы, а прибор закреплен становым винтом на штативе.

Для поверки устанавливают прибор на штативе и визируют на какую-либо четко обозначенную точку местности. Взяв рукой подставку теодолита, пытаются слегка повернуть теодолит из стороны в сторону, каждый раз следя за положением перекрестья нитей относительно точки наблюдения. Если положение наблюдаемой точки относительно перекрестья нитей остается неизменным, то условие выполнено.

. Ось цилиндрического уровня горизонтального круга должна быть перпендикулярна оси вращения теодолита.

Для поверки этого условия приводят прибор в рабочее положение и поворачивают алидаду таким образом, чтобы цилиндрический уровень разместился приблизительно параллельно двум подъемным винтам, затем вращением последних точно выводят пузырек уровня в ноль-пункт. Развернув алидаду на 180°, проверяют положение пузырька уровня. Если пузырек остался в ноль-пункте, то условие выполнено. Если пузырек уровня сместился более чем на одно деление, то необходима юстировка. Для этого исправительными винтами цилиндрического уровня возвращают пузырек по направлению к ноль-пункту на половину дуги его смещения, а затем подъемными винтами выводят его в ноль-пункт.

. Вертикальный штрих сетки нитей должен быть перпендикулярен.

Для выполнения этой поверки наводят перекрестье нитей на какую-либо четко обозначенную точку местности А. Действуя наводящим винтом трубы, перемещают ее, следя за положением наблюдаемой точки относительно вертикального штриха сетки нитей. Если точка осталась на вертикальном штрихе, то условие выполнено. Если наблюдаемая точка сошла с вертикального штриха, то необходимо делать юстировку. Для этого снимают защитный колпачок сетки нитей, ослабляют на пол-оборота четыре крепежных винта окуляра и поворачивают его до совмещения вертикального штриха с наблюдаемой точкой, после чего закрепляют окуляр и надевают защитный колпачок.

Угол отклонения визирной оси от нормали к оси вращения трубы называют коллимационной ошибкой. Выполнение данного условия необходимо для того, чтобы при переводе зрительной трубы через зенит визирная ось описывала коллимационную плоскость, а не коническую поверхность.

. Ось вращения зрительной трубы должна быть перпендикулярна оси вращения прибора.

Выполнение данного условия необходимо для того, чтобы коллимационная плоскость после приведения прибора в рабочее положение была вертикальная.

Затем переводят трубу через зенит, наводят ее на точку А, поворачивают вниз и отмечают точку а2. Если обе точки совместились в одной точке а, то условие выполнено. Если нет, то прибор требует ремонта в специализированной мастерской либо должен быть заменен заводом-изготовителем на новый.

1.3 Принципы измерения горизонтальных и вертикальных углов


Измерения горизонтальных и вертикальных углов необходимы при создании разбивочных сетей, прокладке теодолитных ходов, трассировании дорог, каналов и других линейных объектов, создании планово-высотного обоснования топографических съемок, привязке к пунктам государственной геодезической сети, выполнении тахеометрических съемок и решении ряда других задач инженерной геодезии.

Горизонтальным углом Р называют двугранный угол, ребро которого образовано отвесной линией, проходящей через данную точку.

Для измерения горизонтальных углов используют различные приборы, но наиболее часто используют современные оптические теодолиты и тахеометры (номограммные и электронные).

Вертикальным углом (или углом наклона) V называют угол, лежащий в вертикальной плоскости, проходящей через заданное направление и его проекцию на горизонтальную плоскость.

Для измерения углов наклона у оптических теодолитов имеются вертикальные оцифрованные круги - лимбы, наглухо соединенные со зрительной трубой, и отсчетные устройства - алидады, позволяющие определять величины углов наклона с высокой точностью. Конструкция электронных тахеометров обычно позволяет измерять вместо углов наклона зенитные расстояния.

1.4 Высокоточные угловые измерения


Методика измерений углов с высокой точностью и конструкции используемых для этой цели приборов те же, что и при угловых измерениях малой точности.

Особенности производства высокоточных угловых измерений следующие:а) применение более точных приборов, снабженных дополнительными устройствами для учета и ослабления погрешностей измерений;б) производство работ в наиболее благоприятных для измерений внешних условиях (четкая видимость, отсутствие ветра) и времени суток, в течение которого происходит наименьшее искривление визирного луча вследствие рефракции;

в) соблюдение наибольшей симметрии действий в процессе измерений во времени, в расположении отдельных частей прибора относительно внешней среды как на пункте в целом, так и в каждом приеме;

г) точный учет элементов центрировки и редукции; использование в качестве объектов визирования световых целей - зеркал в солнечные дни и фонарей в ночное время;

д) при измерении с сигналов и с других оснований, которые могут иметь кручение под влиянием внешних условий (солнечных лучей, ветра и т. п.), применение поверительной трубы, позволяющей учитывать кручение основания, на котором установлен теодолит;

е) использование методов работы, позволяющих получить в результате измерений ряд направлений так, чтобы каждый угол на пункте как разность направлений определялся с одинаковым весом. Это достигается применением рассмотренных выше способов круговых приемов и измерения углов во всех комбинациях;

ж) увеличение числа измерений (приемов).

Случайная часть погрешностей измерений углов может быть уменьшена до допустимой величины путем увеличения числа измерений (при применении инструментов соответствующей точности). Влияние систематических погрешностей не всегда уменьшается при увеличении числа измерений; для исключения или ослабления этого влияния надо знать возможные их источники и применять соответствующие методы и приемы. В качестве примеров можно привести следующие: при измерении углов между целями, расположенными на существенно разных высотах, необходимо определять наклон горизонтальной оси вращения трубы для введения поправок; при коротких сторонах обращать особое внимание на определение элементов центрировок и редукций; не допускать прохождения визирных лучей через среды с различными температурами для исключения возможности рефракционного искривления лучей визирования и т. п.

В частности, на эти источники погрешностей следует обращать особое внимание в практике инженерно-геодезических работ; здесь в соответствующих случаях возникает необходимость точных угловых измерений, а обстановка измерений способствует тем условиям, при которых систематические ошибки действуют особо неблагоприятно.

заключение


Таким образом, измерения горизонтальных и вертикальных углов необходимы при создании разбивочных сетей, прокладке теодолитных ходов, трассировании дорог, каналов и других линейных объектов. Угловые измерения имеют исключительно прикладное значение в различных отраслях: проектирование, строительство и эксплуатация сооружений, дорог, мостов и других объектов.

список использованных источников

. Г.А. Федотов, «Инжинерная геодезия»:-М.: Высш. шк., 2004г. - 463с.: ил.

Похожие работы на - Приборы и технология угловых геодезических измерений

 

Не нашли материал для своей работы?
Поможем написать уникальную работу
Без плагиата!
Без нейросетей!