Функционирование распределительной сети в характерных режимах

  • Вид работы:
    Дипломная (ВКР)
  • Предмет:
    Физика
  • Язык:
    Русский
    ,
    Формат файла:
    MS Word
    771,78 Кб
  • Опубликовано:
    2013-03-23
Вы можете узнать стоимость помощи в написании студенческой работы.
Помощь в написании работы, которую точно примут!

Функционирование распределительной сети в характерных режимах

Введение

Распределительная электрическая сеть обеспечивает распределение электрической энергии между пунктами потребления. К основным требованиям, предъявляемым к распределительным сетям, относится требование высокой надёжности и бесперебойного питания потребителей в нормальном, ремонтном и аварийном режимах. В случае отключения любой линии или трансформатора необходимо сохранить питание потребителей без ограничения нагрузки.

Постепенный естественный физический износ оборудования, строительных конструкций и материалов в электрических сетях приводит к снижению надежности электроснабжения, а увеличение подключенных к сети нагрузок - к снижению качества электроэнергии и повышению потерь электроэнергии. Имеет место и моральный износ, сущность которого в том, что в результате научно-технического прогресса технически стареют и становятся экономически менее эффективными существующие объекты электрический сетей. Уровень автоматизации объектов становится недостаточным, поэтому возникает необходимость реконструкции сетей с целью их модернизации и технического перевооружения.

Таким образом, при проектировании и реконструкции распределительной сети первостепенное внимание следует уделять обеспечению надежности электроснабжения. В связи с этим требованием формируется схема сети, характер резервирования, выбираются средства автоматизации и тип оборудования. Необходимо создавать и реализовывать проектные решения, соответствующие современному техническому уровню.

1. Обзор и анализ прогрессивных технических решений по распределительным электрическим сетям

Для распределительных воздушных линий (ВЛ) электропередачи достойной заменой деревянных опор являются опоры из стеклопластика [1]. Деревянные опоры имеют ряд недостатков - гниение древесины, повреждение птицами. Стеклопластиковые опоры, изготавливаемые на напряжение 12 кВ, имеют гарантированный срок эксплуатации 80 лет. Эти опоры получили широкое применение в южных районах США.

К достоинствам относятся и следующие свойства этих опор:

малая масса (1/3 от массы деревянной опоры);

возможность установки вручную;

стойкость к ультра-фиолетовому излучению (при изготовлении опор в эпоксидную смолу добавляют специальные ингибиторы, снаружи опоры покрывают полиуретановой смолой);

нет необходимости использования в эксплуатации специальных инструментов (используются те же, что и для деревянных опор).

Обеспечение требуемой надежности ВЛ 0,4-10 кВ возможно при использовании металлических опор [1]. Причем наиболее перспективным является изготовление опор с многогранными стойками из сталей с повышенной коррозийной стойкостью. Проведенные научные исследования по определению сечений для металлических стоек низковольтных опор показали, что несимметричные сечения стоек применять предпочтительнее, так как такие сечения наиболее оптимально воспринимают внешние нагрузки. Значит, имеет место экономия материала при изготовлении опор.

Целесообразно применение стальных многогранных стоек в качестве верхних частей комбинированных сталежелезобетонных опор, что позволяет получить большую экономическую выгоду. Для повышения практичности подземную часть опор можно выполнить из железобетонной детали, устанавливаемой в сверленный котлован.

Антикоррозийная защита современными полимерными материалами может обеспечить сроки эксплуатации металлоконструкций опор до 10-15 лет. Цинкованное покрытие обеспечивает срок службы не менее 25 лет. Такие опоры ВЛ могут сохранять эксплуатационные свойства в различных средах в широком диапазоне темератур и влажности. К тому же стальные оцинкованные и окрашенные опоры имеют хорошие эстетические характеристики.

Таким образом, рассматриваемые опоры обеспечивают: разновидность поперечных сечений, наиболее оптимально воспринимающих внешние нагрузки; оптимальный подбор толщин стенок стоек опор с учётом различных гололедно-ветровых нагрузок; высокотехнологическую сборку и установку, ремонтопригодность; простоту в изготовлении.

Изготовление стальных стоек дороже на 10-20 %, но есть выигрыш при транспортировке, монтаже опор, а также снижаются эксплуатационные издержки.

Применение защищенных проводов позволяет выполнить ВЛ 35 кВ (перевод ВЛ 10 кВ на это напряжение) с использованием стоек опор ВЛ 10 кВ [2]. Защищенные провода имеют ряд преимуществ по сравнению с неизолированными проводами. Линия становится более компактной, т. к. резко сокращаются расстояния между фазами и ширина просеки; исключается отключение линии при кратковременном схлестывании проводов в пролете; не происходят замыкания на землю при касании провода ветками деревьев. Для линий 6-20 кВ в основном применяются провода с одним слоем изоляции, выполненным из светостабилизированного сшитого полиэтилена толщиной 2-3 мм. Некоторые зарубежные энергетические компании используют и трехслойные защищенные провода. Электрическая прочность трехслойных проводов выше, чем однослойных.

Для центральной фазы компактной ВЛ 35 кВ применяют опорный изолятор и трехслойный защищенный провод, а для крайних фаз - гирлянды из трех тарелочных изоляторов (или полимерные изоляторы) и двуслойный защищенный провод.

Грозозащита реконструированной ВЛ может быть выполнена на основе создания на центральной фазе длинно-искрового разрядника антенного типа (РДИА) с использованием изоляционных свойств трехслойного защищенного провода. Для этого на оконцевателе изолятора устанавливают антенну - молниеприемник , а на проводе на расстоянии 1 м от изолятора - прокусывающий зажим, который соединяется с жилой провода. Приведенная система грозозащиты простая и не дорогая.

Антенна в виде металлического стержня устанавливается на фланце опорного изолятора, таким образом она подключается к металлической обвязке. Последняя находится на поверхности защищенного провода. Обвязка вместе с фланцем называется электродом. До удара молнии в линию на антенне длинно-искрового разрядника (РДИ) наводится высокий потенциал. Между электродом и проводом возникает разность потенциалов. Под ее действием формируется и развивается скользящий разряд. Еще до удара молнии в линию скользящий разряд перекрывает поверхность защищенного провода. Значит, изоляция защищенного провода оказывается зашунтированной каналом скользящего разряда, т. е. защищенной от пробоя.

Если происходит удар молнии в антенну или в провод ВЛ, то на проводе и на фланце изолятора возникает перенапряжение. Оно нарастает и по достижении величины разрядного напряжения изолятора последний перекрывается. После прохождения тока грозового перенапряжения через канал перекрытия проходит ток промышленной частоты. По причине большой длины перекрытия в момент перехода тока через ноль дуга гаснет, а линия продолжает бесперебойную работу без отключения.

Число грозовых отключений компактной защищенной воздушной линии 35 кВ снижается примерно в 20 раз по сравнению с ВЛ 35 кВ традиционной конструкции с грозозащитным тросом.

Аварийные отключения ВЛ 6, 10 кВ по причине грозовых перенапряжений составляют около 40 % общего числа отключений. Изоляция распределительных сетей подвергается перекрытиям от перенапряжений при прямых ударах молнии и от перенапряжений при разряде молнии вблизи линии. Применение разрядников и ограничителей перенапряжений (ОПН) не обеспечивает в полной мере надежность электроснабжения потребителей. Искровые воздушные промежутки приводят только к увеличению числа отключений ВЛ, потому что не способны гасить дугу, возникающую при грозовом перекрытии.

Применение РДИ - эффективный, надежный и экономичный способ защиты воздушных линий электропередачи от грозовых перенапряжений и их последствий (например, пережога проводов).

РДИ являются российской разработкой. Принцип действия всех видов РДИ заключается в ограничении грозовых перенапряжений на ВЛ засчет импульсного перекрытия по поверхности разрядника. Главное отличительное достоинство длинно-искровых разрядников - это их неподверженность разрушениям и повреждениям грозовыми и дуговыми токами, поскольку они протекают по воздуху.

Один из видов РДИ - петлевой разрядник РДИП-10, официальное сокращенное название РДИП-10-4-УХЛ1.

Разрядник предназначен для защиты воздушных линий электропередачи напряжением 6,10 кВ трехфазного переменного тока с защищенными и неизолированными проводами от индуктированных грозовых перенапряжений и их последствий. Он рассчитан для работы на открытом воздухе при температуре от минус 60°С до плюс 50°С в течение тридцати лет. Разрядник состоит из согнутого в виде петли металлического стержня, покрытого слоем изоляции из полиэтилена высокого давления. Концы изолированной петли закреплены в зажиме крепления, с помощью которого разрядник присоединяется к штырю изолятора на опоре ВЛ. В средней части петли поверх изоляции расположена металлическая трубка. На проводе ВЛ, напротив металлической трубки разрядника, закрепляется универсальный зажим для создания необходимого воздушного искрового промежутка. Конструктивно-технические параметры рассматриваемого разрядника позволяют производить его монтаж на любых типах опор традиционных ВЛ и ВЛ с покрытыми проводами (ВЛП) и исключают необходимость его обслуживания.

Применение РДИП-10-4-УХЛ1 исключает возможность одновременного перекрытия двух или трех фаз на одной опоре и, соответственно, междуфазных коротких замыканий. Для этого устанавливают по одному разряднику на опору с чередованием фаз, например, на первой опоре разрядник устанавливается на фазу А, на второй - на фазу В, на третьей - на фазу С и т. д. В данной схеме ни один из изоляторов всех трех фаз не перекрывается, потому что каждый из них защищен разрядником. А разрядник расположен или непосредственно рядом с изолятором или на соседней опоре.

Следующие виды длинно-искровых разрядников применяются для защиты ВЛ 6, 10 кВ с защищенными и неизолированными проводами в следующих случаях:

- РДИШ-10 (шлейфового типа) - в случаях, когда необходимо осуществить двойное крепление проводов.

РДИМ-10-1,5 (модульного типа с длиной перекрытия 1,5 м) - для защиты участков линии, подверженных прямым ударам молнии, а также для защиты подходов к подстанциям ВЛ на деревянных опорах или на железобетонных опорах с изоляторами класса напряжения 20 кВ.

РДИМ-10-К (модульного типа, компактный) - для защиты ВЛ компактного исполнения с расстоянием между соседними проводами около 0,5 м и с изоляторами класса напряжения 20 кВ.

РДИШ-10 устанавливаются по одному на опору с чередованием фаз, так же как РДИП.

Широкое применение получили мачтовые трансформаторные подстанции типа МТП напряжением 6…10/0,38 кВ мощностью 25-100 кВ·А и мощностью 160, 250 кВ·А.

Рисунок 1.1- Мачтовая трансформаторная подстанция типа МТП мощностью до 100 кВ·А: 1 - вентильный разрядник (ограничитель перенапряжений); 2 - высоковольтный предохранитель; 3 - трансформатор; 4 - шкаф распределительного устройства.

Подстанция (рисунок 1.1) монтируется на опоре, возможна установка только одного силового трансформатора. Существует вывод трех отходящих линий напряжением 0,38 кВ (как воздушных, так и кабельных), а также фидер уличного освещения с устройством ручного и автоматического включения и отключения. Количество отходящих линий можно изменить. Высоковольтный ввод в ТП - воздушный.

К достоинствам ТП относятся следующие характеристики:

безопасны для окружающей среды;

имеют привлекательный эстетический вид;

конструкция способствует удобному и быстрому монтажу/демонтажу, а также пуску на месте эксплуатации.

Реклоузер - это коммутационное оборудование, выполняющее роль автоматического пункта секционирования воздушных (воздушно-кабельных) линий электропередачи трехфазного переменного тока номинальным напряжением 6…10 кВ с любым режимом работы нейтрали.

Вакуумный реклоузер РВА/TEL предназначен для выполнения следующих функций: автоматическое отключение поврежденных участков; автоматическое повторное включение; автоматический ввод резервного питания; самодиагностика; измерение параметров режимов работы сети; ведение журналов событий в линии; дистанционное управление.

Реклоузеры РВА/TEL обладают следующими отличительными особенностями:

) Отсутствие необходимости в обслуживании.

Конструкция имеет высокую надежность; нет изнашивающихся деталей, поэтому нет необходимости в специальном обслуживании и планово-предупредительных ремонтах на протяжении всего срока эксплуатации.

) По сравнению с другими устройствами секционирования у них выше токи термической и электродинамической стойкости.

) Устройства релейной защиты, управления и автоматики, которыми оснащены реклоузеры, позволяют им надёжно функционировать и при низких температурах наружного воздуха, до минус 40 градусов Цельсия.

) Удобство и простота монтажа на опоры линий: малые габариты и вес (80 кг) реклоузера РВА/TEL упрощают транспортировку и позволяют выполнить его установку на опоры линий без использования специальных подъемных механизмов силами одной оперативной бригады всего за 3-4 часа.

) Встроенная система измерения токов и напряжений датчиков тока и напряжения позволяет использовать РВА/TEL в сетях любой конфигурации, измерять параметры режима сети, вести журналы оперативных и аварийных событий в линии.

) Надежная система бесперебойного питания: герметичная аккумуляторная батарея со сроком службы 10 лет обеспечивает надёжное питание реклоузера и внешних дополнительных устройств (средств передачи информации) при потере основного оперативного питания.

Таким образом, применение реклоузеров в распределительных сетях несомненно позволяет повысить надежность электроснабжения, сократить затраты на обслуживание линий электропередачи.

Широко используются трансформаторы типа ТМГ герметичного исполнения без съемных охладителей и расширителя. Такая конструкция улучшает работу масла в баке трансформатора, исключает увлажнение масла и шлакообразование. Указанные трансформаторы практически не требуют расходов на обслуживание, не нуждаются в профилактических ремонтах в течение всего расчетного срока эксплуатации, который составляет 25 лет.

Для потребителей с однофазной (коммунально-бытовой) или смешанной нагрузкой в сетях напряжением 0,38 кВ самым экономичным вариантом является применение трансформаторов со схемой соединения обмоток "звезда-звезда-ноль" (Y/Yн) с симметрирующим устройством (СУ) типа ТМГСУ [3]. Минский электротехнический завод им. В.И. Козлова изготавливает трансформаторы типа ТМГСУ мощностью 25-250 кВ·А. СУ сокращает потери электроэнергии в трансформаторах и в электросети, снимает повышенный шум трансформаторов при их неравномерной нагрузке по фазам, обеспечивает приемники качественным напряжением, что продлевает срок службы электрооборудования. Трансформаторы с СУ улучшают работу защиты и повышают безопасность работы электрической сети.

Симметрирующее устройство представляет собой отдельную обмотку, уложенную в виде бандажа поверх обмоток высокого напряжения трансформатора со схемой соединения обмоток Y/Yн (рисунок 1.3). Обмотка СУ рассчитана на длительное протекание номинального тока трансформатора, т.е. на полную номинальную однофазную нагрузку.

Рисунок 1.3- Схемы включения основных и дополнительной обмоток трансформатора.

- трехстержневой магнитопровод трехфазного трансформатора.

- обмотки высокого напряжения.

- обмотки низкого напряжения.

- обмотка из компенсационных витков.

- дистанционные клинья.

- конец компенсационной обмотки, подключаемой к нейтрали обмоток низкого напряжения.

- конец компенсационной обмотки, который выводится наружу.

Обмотка СУ включена в рассечку нулевого провода трансформатора Y/Yн . При несимметричной нагрузке появляется ток в нулевом проводе, в магнитопроводе создаются потоки нулевой последовательности в рабочих обмотках трансформатора. Они полностью компенсируются противоположно направленными потоками нулевой последовательности от СУ. Этим предотвращается перекос фазных напряжений, который и вызывается несимметричной по фазам нагрузкой.

Таким образом, применение трансформаторов типа ТМГСУ позволяет снизить потери электроэнергии в трансформаторах и в целом в электрической сети, снимает повышенный шум трансформаторов при их неравномерной нагрузке по фазам, обеспечивает потребителей качественным напряжением и, следовательно, продлевает срок службы электрооборудования.

Характеристика воздушных линий с покрытыми изоляцией проводами напряжением 10 кВ и кабелей с изоляцией из сшитого полиэтилена приведена в разделе 5.

. Постановка задачи

Целью дипломного проекта является реконструкция распределительных электрических сетей 10 и 0,38 кВ района "С".

Для достижения сформулированной цели в данном дипломном проекте поставлены следующие задачи:

а)      Произвести обзор и анализ прогрессивных технических решений по распределительным электрическим сетям.

б)      Оценить степень износа линий и ТП рассматриваемых электрических сетей и разработать варианты реконструкции.

в)      Выбрать конструктивное исполнение линий и ТП.

г)       Выбрать площади сечения проводников и мощности трансформаторов.

д)      Изучить программу для расчета режимов в распределительной сети 0,38-110 кВ "Режим Псков". Выполнить расчет установившегося режима (определение потокораспределения, потерь мощности и уровня напряжения) для условий годового максимума электрических нагрузок (зимний максимум и летний минимум). Для проверки соответствия схемы требованиям надежности электроснабжения выполнить также расчеты послеаварийных режимов. Проанализировать результаты расчетов режимов в распределительных сетях 10 кВ района "С".

е)       Произвести технико-экономическое сравнение вариантов и выбрать наилучший.

ж)      Выбрать режим нейтрали и защиту от перенапряжений.

з)       Оценить целесообразность установки секционирующих и компенсирующих устройств.

и)      Принять необходимые строительные решения и составить перечень работ по реконструкции.

к)      Определить технико-экономических показатели реконструируемого района сети.

л)      Рассмотреть вопросы охраны окружающей среды и охраны труда при работах на ТП 10/0,38 кВ.

3. Формирование исходной информации

За время преддипломной практики была собрана информация о городской электрической сети напряжением 10 кВ г. Слуцка. Электрические схемы выше указанной сети и схемы на карте местности изображены в графической части (лист 1 и лист 2). А также электрическая схема сети изображена на рисунке 3.1.

Распределительная электрическая сеть напряжением 10 кВ получает питание от трех подстанций (ПС) 110/10 кВ с трансформаторами, оснащенными устройством регулирования напряжения под нагрузкой (РПН).

На ПС "Лучники" установлено два трансформатора ТДТН-25000/110 и ТДН-16000/110. На ПС "Новодворцы" и ПС "Сахарный завод" установлены по два трансформатора ТДН-10000/110. Рассматриваемая распределительная сеть содержит 120 трансформаторных подстанций (ТП) 10/0,38 кВ общей мощностью 74023 кВ·А. Общая протяженность воздушных линий (ВЛ) напряжением 10 кВ 24,109 км, а кабельных линий (КЛ) - 98,709 км. ТП оснащены на стороне ВН устройством регулирования напряжения без возбуждения (ПБВ) с пределами регулирования ±(2×2,5)%.

Расчетные климатические условия: район по гололеду - I, по ветру - II.

Режимная информация для рассматриваемой сети составлена на основе данных замеров нагрузок (тока) со стороны 10 кВ по трем понижающим подстанциям с высшим напряжением 110 кВ в режиме наибольших и наименьших нагрузок. По заданному суммарному току центров питания (ЦП) вычисляем ток каждой ТП пропорционально номинальным мощностям их трансформаторов [4] по формуле:

 (3.1)

где - заданный ток ЦП, А; - суммарная номинальная мощность трансформаторов i-ой ТП, кВ·А; - суммарная номинальная мощность трансформаторов всех ТП, кВ·А; n - количество ТП в сети.

Активные и реактивные мощности нагрузок каждой ТП вычисляем по формулам:

 (3.2)

 (3.3)

где  - ток i-ой ТП, А;  - коэффициент мощности; - номинальное напряжение сети, кВ.

Расчетный коэффициент мощности на шинах 10 кВ ЦП и нагрузок всех ТП принимаем 0,9. В режиме наибольших нагрузок (в зимние сутки) по данным замеров наибольшее значение суммарного тока трех центров питания . В режиме наименьших нагрузок (в летние сутки) - . По известным маркам проводов и длинам участков линий находим активные и реактивные сопротивления, используя справочные данные по удельным сопротивлениям. По заданным номинальным мощностям трансформаторов из каталожных данных задаемся активными и реактивными сопротивлениями трансформаторных участков сети. Для расчета режимов (наибольших и наименьших нагрузок, послеаварийного) используем программу для расчета распределительных электрических сетей 0,4-10 кВ "Режим Псков". Поскольку главной задачей расчета режимов является определение токов (мощностей) в ветвях, уровня напряжений и падение напряжения в узлах для выбора параметров электрической сети, то потери холостого хода трансформаторов не учитываем [4]. Используем схемы замещения линий и трансформаторов, состоящие из последовательно соединенных активного и индуктивного сопротивлений. В технико-экономических расчетах потери мощности холостого хода необходимо учтем, т. к. они соизмеримы с нагрузочными потерями. Удельная стоимость ВЛ, КЛ 10 кВ и ТП 10/0,38 кВ по данным предприятия электрических сетей г. Слуцка по состоянию на 01.01.2009 г.:

а) ВЛ - 12 201 446 бел. руб./км;

б) КЛ - 21 240 765 бел. руб./км.

Рассчитанные данные сведем в таблицу 3.1.

Таблица 3.1- Активная и реактивная нагрузка ТП

Суммарная номинальная мощность трансформаторов ТП, кВ·А

Нагрузка


В режиме наибольших нагрузок

В режиме наименьших нагрузок


Активная, кВт

Реактивная, квар

Активная, кВт

Реактивная, квар

800

258,46

125,18

108,00

52,3

1260

407,08

197,16

170,11

82,4

400

129,23

62,59

54,00

26,20

100

32,31

15,65

13,50

6,54

500

161,55

78,24

67,50

32,70

250

80,77

39,12

33,75

16,35

1630

525,62

255,05

220,10

106,60

640

206,78

100,15

86,40

41,85

63

20,36

9,86

8,50

4,10

350

113,08

54,77

47,30

23,00

630

203,54

98,58

85,05

41,20

200

64,62

31,30

27,00

13,10

650

210,01

101,71

87,80

42,50

1030

332,78

161,17

139,10

67,35

2000

646,16

312,95

270,00

130,77

320

103,38

50,07

43,20

20,92


4. Разработка вариантов реконструкции распределительных электрических сетей

В районе частного сектора Ячево (лист 1 графической части) необходимо осуществить электроснабжение строящегося коттеджного поселка, состоящего из 32 коттеджей площадью 120…140 м2 без электрической сауны с плитами на природном газе. В поселке имеется канализационная насосная станция. Находящийся вблизи поселок получает питание от комплектных трансформаторных подстанций КТП 76 и КТП 89. Поскольку их реконструкция производилась пять лет назад, то нецелесообразно производить замену трансформаторов на более мощные и проводить от них линии напряжением 0,38 кВ большой протяженности. Принимаем решение осуществить электроснабжение поселка от вновь установленной подстанции. В двух разработанных вариантах подстанции размещаем вблизи центра электрических нагрузок с целью уменьшения протяженности ВЛ 0,38 кВ. Одним из вариантов является сооружение мачтовой трансформаторной подстанции (МТП) 10/0,4 кВ и подвести к ней воздушно-кабельные линии от существующих трансформаторных подстанций ТП 110 и ТП 32 напряжением 10/0,4 кВ. Осуществляем питание потребителей по двум линиям 10 кВ, так как проектируемая МТП будет снабжать электроэнергией потребителей не только третьей, но и второй категории. Так как ТП 110 и ТП 32 находятся в границе города, то подводим к ним кабельные линии. За границей земель города проводим воздушные линии. На ТП 32 потребуется реконструкция РУ 10 кВ. Для присоединения новых потребителей нужно установить камеру КСО-366 3н с выключателем нагрузки. На РУ 10 кВ ТП 110 имеется резервная ячейка. Вторым вариантом является сооружение комплектной трансформаторной подстанции проходного типа (КТПП). Воздушно-кабельные линии проводим к КТПП от ТП 143 и ТП 32. На ТП 32 потребуется расширение РУ 10 кВ путем установки дополнительной камеры КСО. На ТП 143 имеется резервная ячейка. На рисунке 4.1 приведена схема электрических соединений ТП-32 до реконструкции.

Рисунок 4.1 - Схема электрических соединений ТП 32

электрический сеть распределительный трансформаторный

5. Выбор конструктивного исполнения линий и ТП

Трансформаторные подстанции (ТП) электрических сетей оборудованы трансформаторами типа ТМ и ТМГ. Трансформаторы ТМГ более надежные и требуют более низких эксплуатационных затрат, чем ТМ. Это обосновано следующими характеристиками:

Трансформаторы ТМГ герметичного исполнения с полным заполнением маслом, без маслорасширителей и без воздушной или газовой подушки.

Перед заливкой масло дегазируется, полностью отсутствует контакт масла с окружающей средой, а значит исключено увлажнение, окисление масла, а значит масло практически не меняет свойств на протяжении всего срока службы и имеет высокую электрическую прочность.

Нет необходимости в проведении профилактических, текущих и капитальных ремонтов в течение всего срока эксплуатации.

В проекте в состав оборудования МТП и КТПП включаем трансформатор типа ТМГ.

Линии электропередачи распределительных сетей выполнены воздушными (ВЛ), кабельными (КЛ) или воздушно-кабельными (КВЛ).

На ВЛ напряжением 0,38 кВ широкое применение получил самонесущий изолированный провод (ВЛИ), а при напряжении 10 кВ - покрытый провод (ВЛП). Эти провода имеют ряд преимуществ по сравнению с неизолированными проводами:

а) исключение возникновения междуфазных коротких замыканий, а также замыканий провода на землю;

б) уменьшение требуемой ширины просеки в лесных массивах, что снижает затраты на монтаж;

в) уменьшение габаритов до земли и инженерных сооружений, значит уменьшается высота и соответственно стоимость опор;

г) повышение надежности работы при гололедообразовании;

д) снижение затрат на эксплуатацию, и повышение надежности электроснабжения потребителей, так как исключены короткие замыкания из-за схлестывания проводов в пролете, обрывы из-за падения деревьев;

е) снижение возможности поражения электрическим током при монтаже, ремонте и эксплуатации, а также при работах вблизи линии.

По сравнению с традиционными линиями ВЛИ имеют более низкое реактивное сопротивление.

Они могут состоять из трех изолированных фазных проводов, выполненных из уплотненных алюминиевых проволок, скрученных поверх несущего нулевого провода. Рассмотрим характеристики СИП-1, СИП-2, СИП-1 А, СИП-2 А, СИП-4, СИПн-4, СИПс-4.

Всю механическую нагрузку в проводах СИП-1 и СИП-2 несет нулевой провод. Он выполняется из сталеалюминиевого провода или провода из алюминиевого сплава. В проводах СИП-1 и СИП-2 несущий нулевой провод выполняется неизолированным. Провода СИП-1А и СИП-2А содержат изолированный нулевой провод, в них все четыре провода являются несущими, значит механическая нагрузка распределена между всеми проводниками. Таким образом, эти провода технологичнее.

В проводах СИП-1 и СИП-1А      изоляция выполняется из термопластичного светостабилизированного полиэтилена, в проводах СИП-2 и СИП-2А - из сшитого светостабилизированного полиэтилена.

В проводе СИП-4 фазные и нулевой провода выполнены из алюминия и имеют одинаковую площадь сечения. Изоляцию СИП-4 выполняют из термопластичного светостабилизированного полиэтилена, СИПн-4 имеют светостабилизированный полимерный состав, не поддерживающий горение, СИПс-4 - из сшитого светостабилизированного полиэтилена.

Провода ВЛИ скручены в жгут и прикрепляются с помощью кронштейнов и арматуры к опорам, а для линий напряжением до 1 кВ - к стенам зданий и сооружений.

На ВЛП напряжением 10 кВ применяют одножильный самонесущий изолированный провод СИП-3 . Он состоит из токопроводящей жилы и изолирующей оболочки из сшитого светостабилизированного полиэтилена. Жила площадью сечения 35 - 150 мм выполнена из алюминиевого сплава высокой прочности или алюминиевого провода, упрочненного стальной проволокой.

Таким образом, при проектировании сетей отдаем предпочтение проводу 0,38 кВ СИП-1А, как наиболее технологичному, а для ВЛП 10 кВ - СИП-3.

В эксплуатации при напряжениях 0,38... 10 кВ широкое применение получили кабели с алюминиевыми или медными жилами в алюминиевой или свинцовой оболочке, с защитными покровами или же без них, с бумажной изоляцией, нормально пропитанной вязким составом или пропитанной нестекающим составом, а также с пластмассовой изоляцией.

Рассмотрим кабели различной конструкции с изоляцией из сшитого полиэтилена (СПЭ-кабели) [5].

Преимущества СПЭ-кабелей заключаются в следующем:

- Пропускная способность на 15...30% выше по сравнению с кабелями с бумажно-масляной изоляцией того же сечения;

Небольшая масса и меньший диаметр делают прокладку, монтаж, ремонт таких кабелей, соединительных муфт и концевых заделок дешевле и проще, чем кабелей традиционного исполнения;

Отсутствие жидких компонентов в изоляции, что позволяет осуществлять прокладку кабелей вертикально;

Низкая повреждаемость по сравнению с кабелями с бумажной изоляцией;

Применение одножильных кабелей исключает двух- и трехфазные короткие замыкания. Однако следует отметить, что при этом увеличивается ширина трассы кабельной линии;

СПЭ-кабели допускают более высокую температуру нагрева по сравнению с кабелями традиционного исполнения: длительно допустимая температура нагрева жилы кабеля +90 °С.

Марки одножильных СПЭ-кабелей 10 кВ [6]:

- ПВП (с медной жилой), АПВП(с алюминиевой жилой) - кабель одножильный с изоляцией из сшитого полиэтилена, с оболочкой из полиэтилена. Применяется для стационарной прокладки в земле (траншеях), если кабель защищён от механических повреждений;

ПвПу(с медной жилой), АПвПу(с алюминиевой жилой) - то же, с усиленной оболочкой из полиэтилена. Для прокладки по трассам сложной конфигурации.

- ПвВ (с медной жилой), АПвВ(с алюминиевой жилой) - кабель одножильный с изоляцией из сшитого полиэтилена, с оболочкой из поливинилхлоридного пластиката. Для стационарной прокладки в кабельных сооружениях и производственных помещениях.

ПвВнг (с медной жилой), АПвВнг(с алюминиевой жилой) - кабель одножильный с изоляцией из сшитого полиэтилена, с оболочкой из поливинилхлоридного пластиката пониженной горючести. То же, при групповой прокладке.

Таким образом, СПЭ-кабели являются более практичными. Они более надёжные в эксплуатации и их прокладка, монтаж, ремонт дешевле и проще, чем кабелей традиционного исполнения.

На РУ ТП 32 устанавливаем камеру КСО-366 3н из каталога ОАО "Белэлектромонтаж" [8]. Cхема главной цепи камеры приведена на рисунке 5.1.

Рисунок 5.1 - Схема главной цепи камеры КСО-366 3н

Основные параметры камеры: номинальное напряжение - 10 кВ, наибольшее рабочее напряжение - 12 кВ, номинальный ток главных цепей - 630 А, номинальный ток сборных шин - 630 А, номинальный ток отключения выключателя нагрузки - 630 А, вид управления аппаратами - ручной привод, степень защиты IP20, срок службы - 25 лет.

В данном дипломном проекте для электроснабжения коттеджного поселка применяется мачтовая трансформаторная подстанция типа МТП мощностью 250 кВ·А напряжением 10 кВ, произведенная республиканским унитарным предприятием "Минский электротехнический завод им. В.И. Козлова".

Мачтовая трансформаторная подстанция - открытая трансформаторная подстанция, все оборудование которой установлено на конструкциях или на опорах ВЛ на высоте, не требующей ограждений подстанции. МТП сооружают на П-образной конструкции, состоящей из железобетонных стоек. Схема размещения оборудования на опоре приведена на листе формата А1 графической части (лист 6) и на рисунке .

Особенности МТП:

         выводы отходящих линий напряжением 0,38 кВ - воздушные;

         установка, монтаж и подключение к сети осуществляется на двух опорах (в соответствии с действующими типовыми проектами);

         степень защиты оболочки шкафа РУНН - IP34;

         цепи ВН МТП устойчивы к токам короткого замыкания 10 кА в течение 3 сек.

Основные технические параметры МТП приведены в таблице 1.1.

Таблица 1.1 - Основные технические параметры МТП

Наименование параметра

Значение параметра

Тип трансформатора

ТМГ

Схема и группа соединения обмоток трансформатора

Y/Yн-0

Номинальная мощность трансформатора, кВ·А

250

Номинальное напряжение на стороне ВН, кВ

10

Номинальное напряжение на стороне НН, кВ

0,4

Номинальный ток трансформатора на стороне ВН, А

14,45

Номинальный ток плавкой вставки предохранителя ВН, А

31,5

Номинальный ток трансформатора на стороне НН, А

361,0

Номинальный ток отходящих линий, А

№ 1

250


№ 2

100


№ 3

100


линия освещения

16


В комплект оборудования МТП входят: трехфазный силовой трансформатор мощностью 250 кВ·А, разъединитель с приводом, высоковольтные предохранители, разрядники 10 кВ и распределительное устройство (РУ) 0,4 кВ. Разъединитель устанавливается на концевой опоре ВЛ напряжением 10 кВ, что обеспечивает безопасные условия работы на подстанции после его отключения.

По конструкции МТП состоит из отдельных элементов, которые устанавливаются методом сборки для совместной работы на месте монтажа в единый комплекс [9].

Подстанция состоит из следующих элементов:

разъединительный пункт, состоящий из трехполюсного разъединителя РЛНД-10, ручного привода ПРНЗ-10, металлоконструкций для крепления разъединителя и привода, соединительных элементов между разъединителем и приводом;

блок высоковольтных предохранителей с разрядниками РВО-10 и вводными изоляторами подводящей линии от разъединителя;

силовой трансформатор с платформой для его установки и площадкой обслуживания с перилами и лестницей;

распределительное устройство низкого напряжения (РУНН), расположенное в шкафу;

траверсы для крепления изоляторов отходящих линий напряжением 0,38 кВ, в том числе линии уличного освещения.

Изоляторы применяем фарфоровые.

В шкафу РУНН расположена низковольтная аппаратура распределения, учета и управления электроэнергией, а также ограничители перенапряжения низкой стороны 0,4 кВ (ОПН-0,4). Выход проводов осуществляется через короб.

Расположение разъединителя на концевой опоре делает более удобным отключение оборудования и обеспечивает безопасные условия работы на подстанции, хотя это требует наличия второго контура заземления. Однако допускается использовать и общий контур заземления для МТП и для разъединителя при условии расположения опоры МТП на расстоянии 5 м от концевой опоры ВЛ 10 кВ. При этом применяется разъединитель с заземляющими ножами, расположенными со стороны нагрузки.

Широко применяемые КТП имеют ряд существенных недостатков:

Низкий срок службы (10 - 15 лет).

Попадание пыли и влаги внутрь КТП, что может привести к перекрытию изоляции.

В холодное время аппараты быстро выходят из строя.

Обслуживание КТП в дождливую погоду вызывает опасность.

Требуется регулярная покраска КТП.

Таким образом, МТП экономически и технически выгоднее, чем КТП. Установка оборудования на опоре (двух опорах для трансформаторов мощностью 160 и 250 кВ·А) позволяет исключить нежелательное проникновение в подстанцию и сэкономить средства для ограждения подстанции.

Рисунок 1.1 - Схема размещения оборудования мачтовой трансформаторной подстанции на опоре: 1- высоковольтный предохранитель, 2- площадка обслуживания, 3- вентильные разрядники, 4 - трансформатор.

. Выбор площади сечения проводников и мощности трансформаторов

Площади сечения проводов воздушных линий с покрытыми изоляцией проводами и жил кабелей с изоляцией из сшитого полиэтилена выбираем по длительно допустимому току нагрева [5]:

, (6.1)

где  - наибольший рабочий ток, протекающий по проводникам, А;

 - длительно допустимый по нагреву ток, А.

Значение тока , соответствующее условию (6.1), находим по справочным данным [5]. Сечение, которому соответствует этот ток, принимаем.

Проверяем провода по термической стойкости к действию токов короткого замыкания (КЗ) [5]:

 (6.2)

где  - действующее значение установившегося тока КЗ, А;

 - время прохождения тока КЗ, с;

- коэффициент, зависящий от термостойкости изоляции.

Потеря напряжения до наиболее удаленной точки  не должна превышать допустимого значения[5]:

 (6.3)

Для сети напряжением 10 кВ допустимую потерю напряжения принимаем равной 0,6 кВ[5].

Для однотрансформаторных подстанций номинальную мощность трансформатора выбираем из условия[5]:

, (6.4)

где  - мощность нагрузки, кВ·А.

Для определения наибольшего рабочего тока, протекающего по проводникам, производим по программе "Режим Псков" расчет режимов наибольших, наименьших нагрузок, а также послеаварийного режима. Для этого задаемся значениями минимальных площадей сечений, допустимых по условию механической прочности [5]. Для ВЛП 10 кВ принимаем сечение 35 мм2 для ответвления (СИП-3 1×35), 70 мм2 для магистрали (СИП-3 1×70), для СПЭ - кабеля 50 мм2 (АПвПу 1×50/16-10, АПвП 1×50/16-10). Марки проводников из электронных каталогов [6] и [7].

Определяем точки нормального разрыва в сети, позволяющие получить наименьшие потери мощности. Рассчитываем всю схему и производим контроль напряжений узлов и токов по ветвям для всей схемы, показанной на рисунке 3.1 в разделе 3. Приводим результаты расчета тех районов сети, к которым в различных вариантах и различных режимах принадлежит реконструируемый участок сети.

На рисунке 6.1 приведена распределительная линия (диспетчерский номер РЛ-266), которая в режиме наибольших и наименьших нагрузок питает реконструируемый участок сети для первого варианта, а на рисунке 6.2 - для второго варианта. Электрические схемы для расчета послеаварийных режимов для первого и второго вариантов приведены соответственно на рисунках 6.3 и 6.4. Схемы замещения всех указанных выше электрических схем приведены на рисунках 6.5-6.8. Результаты расчетов находятся в приложении А.

На ПС "Лучники", "Новодворцы" и "Сахарный завод" работают все трансформаторы и междусекционные выключатели нормально отключены. Для послеаварийных режимов и режимов наибольших нагрузок рассмотрены также случаи, когда один из трансформаторов находится в плановом ремонте, значит работает один трансформатор и междусекционные выключатели включены. Производим контроль загрузки трансформаторов из формуле [5]:

, (6.4)

где  - коэффициент загрузки трансформатора;

 - полная расчетная мощность нагрузки на шинах 0,38 кВ ТП, кВ·А;  - номинальная мощность трансформатора ПС, кВ·А.

Для двухтрансформаторных подстанций в послеаварийном режиме на время максимума нагрузок (общей продолжительностью до 6 ч в сутки в течение не более пяти суток) оставшийся в работе трансформатор может быть загружен до 140 % своей номинальной мощности [5].

Расчетная нагрузка коттеджей, присоединенных к ТП, определяется по формуле [5]:

, (6.5)

где  - количество коттеджей, присоединенных к ТП;

 - удельная расчетная нагрузка электроприемников коттеджей, кВт/коттедж.

Полная расчетная нагрузка коттеджного поселка:

 (6.6)

где  - расчетный коэффициент мощности, принимаем равным для всей сети 0,9.

Реактивную нагрузку находим по формуле:

. (6.7)

Полная расчетная силовая нагрузка насосной станции коттеджного поселка находится по формуле [фад]:

 (6.6)

где  - расчетный коэффициент мощности, принимаем равным 0,9;

 - активная мощность электродвигателя станции, кВт;

 коэффициент полезного действия электродвигателя.

Для коттеджного поселка, состоящего из 32 коттеджей площадью 120…140 м2 без электрической сауны с плитами на природном газе, удельную расчетную нагрузку коттеджей принимаем по таблице П.2.2 [5]: = 2,95 кВт/коттедж.

По формуле (6.5) находим расчетную активную нагрузку коттеджного поселка:

.

Полная и реактивная расчетная нагрузка коттеджного поселка:

.

Предполагается возрастание нагрузки поселка на 20%. Тогда полная расчетная нагрузка:


В поселке имеется канализационная насосная станция, в которой установлены два электродвигателя мощностью 75 кВт. Коэффициент полезного действия электродвигателя 0,93. Один из двигателей находится в резерве, второй - в работе. Нагрузка насосной станции определяется по формуле (6.6):

.

Суммарная нагрузка коттеджного поселка равна:


Выбираем трансформатор с номинальной мощностью

Активная и реактивная нагрузка коттеджного поселка соответственно равны

,

По результатам расчета для первого варианта наибольший рабочий ток, протекающий в режиме наибольших нагрузок по ветвям, , . Длительно допустимые по условию нагрева токи по ветвям равны:

, ,

Падение напряжения до наиболее удаленной точки на данном участке не превышает допустимого значения для нормального режима =0,6 кВ:


Для первого варианта в послеаварийном режиме падение напряжения до наиболее удаленных точек меньше

:   

Для второго варианта наибольший рабочий ток протекает по контролируемым ветвям в послеаварийном режиме: , . Указанные значения токов не превышают длительно допустимых по нагреву . Наибольшее падение напряжения не превышает допустимого для послеаварийного режима значения 1 кВ.

Проверяем выбранные проводники на термическую стойкость по условию (6.2). Для СПЭ-кабелей при односекундном токе КЗ 4,7 кА и коэффициенте C=97 [5]:


Условие термической стойкости выполняется.

Для провода марки СИП-3 1×70 при односекундном токе КЗ 6,4 кА и коэффициенте C=97:


Условие термической стойкости выполняется.

Для провода марки СИП-3 1×35 при односекундном токе КЗ 3,2 кА и коэффициенте C=97:


Условие термической стойкости выполняется.

Выбранные площади сечения проводников по условию механической прочности проверены по допустимому току нагрева, по допустимой потере напряжения и условию термической стойкости.

7. Технико-экономическое сравнение вариантов

Проекты расширения, реконструкции сети реализуются в течение одного года. Поэтому полагаем, что капитальные затраты осуществляются в первый год реализации проекта, а со второго года после начала строительства начинается эксплуатация сети с неизменными ежегодными издержками. Сравнение вариантов производим по критерию минимума приведенных затрат. Расчет ведется по формулам, изложенным в [4, ст.530-540], [5, стр. 50-54].

Предпочтение отдается тому из вариантов, приведенные затраты у которого наименьшие. Критерий минимума затрат:

, (6.1)

где Ki и Иi - соответственно капитальные затраты и издержки в первый год для i-го варианта реконструкции;

E - норма дисконта (принимаем равной 0,12).

Капитальные затраты состоят из капитальных затрат в линии электропередач и подстанции. В расчетах используем укрупненные показатели.

, (6.2)

Капитальные затраты в кабельные линии электропередач определяются по формуле:

, (6.3)

где - коэффициенты, значения которых зависят от марки кабеля и номинального напряжения;

- площадь сечения жилы одной фазы кабеля, мм2;

- длина линии, км.

Значения коэффициентов для СПЭ - кабелей на напряжение 10 кВ рассчитаны по данным заводов-изготовителей [5] на начало 2007 г., поэтому не используем коэффициент удорожания.

Капитальные затраты в воздушные линии с покрытыми изоляцией проводами примем в 1,5 раза больше капитальных затрат в воздушные линии традиционного исполнения того же сечения. Стоимость ВЛ напряжением 10 кВ на железобетонных опорах в тыс. руб. определим по формуле согласно [5]:

, (6.4)

где - коэффициент удорожания, принимаем 6560.

Стоимость мачтовой трансформаторной подстанции определяем по формуле согласно [5]:

, (6.5)

где - номинальная мощность трансформатора, кВ·А.

Ежегодные издержки состоят из отчислений на амортизацию объектов электрической сети, расходов на эксплуатацию и стоимости потерянной энергии.

Отчисления на амортизацию и эксплуатацию определяем по формуле:

, (6.6)

где ра и рэ - соответственно норма на амортизацию и норма на текущий ремонт и эксплуатацию.

Для воздушных линий на железобетонных опорах принимаем ра=0,024, рэ=0,004 из [4], для кабельных линий ра=0,053, рэ=0,02, для электрооборудования и распределительных устройств ПС ра=0,064, рэ=0,03.

Стоимость потерянной электроэнергии в электрической сети рассчитаем по формуле:

, (6.7)

где t - время наибольших потерь, ч;

DRН, DRХ - соответственно нагрузочные потери мощности в сети и потери мощности холостого хода трансформаторов, кВт;

b - стоимость 1 кВт·ч нагрузочных потерь мощности и потерь мощности холостого хода трансформаторов, принимаем равным 120 бел. руб./кВт·ч;

Т - время работы в году рассматриваемого элемента сети.

Таким образом, ежегодные издержки определяются по формуле:

. (6.8)

Определим время наибольших потерь по формуле [2]:

, (6.9)

где  - значение времени использования наибольшей активной мощности, ч.

Принимаем время использования наибольшей полной и активной мощности  Время работы в году рассматриваемого элемента сети =8760 ч.

Приведем пример расчета для первого варианта.

Определим по формуле (6.9) время наибольших потерь:

.

Стоимость кабельных линий 302-83 (кабель марки АПвПу сечением 50 мм2) и 79-301 (кабель марки АПвП сечением 50 мм2) рассчитаем по формуле (6.3):


Рассчитаем стоимость воздушных линий 302-81, 81-301 и 81-89 (провод СИП-3 сечением 35 мм2 и сечением 70 мм2):

,

,

.

Значит суммарная стоимость воздушных линий реконструируемого района:

.

Стоимость камеры КСО 366 3н с выключателем нагрузки принимаем по каталожным данным [8] .

Стоимость МТП определим по формуле (6.5):


Полные капитальные затраты для первого варианта реконструкции составляют .

Отчисления на амортизацию и эксплуатацию определяем по формуле (6.6):


Нагрузочные потери мощности рассматриваемого участка сети по результатам расчета в линиях 4,5 кВт, на трансформаторном участке 82-89 2,8 кВт.

Потери мощности холостого хода на трансформаторном участке 82-89 0,82 кВт.

Стоимость потерянной электроэнергии в электрической сети рассчитаем по формуле (6.7):

Общие издержки составляют 4214,25тыс.бел.руб.

Аналогично производим расчеты для второго варианта. Результаты расчета кабельных линий сведем в таблицу 6.1, воздушных - в таблицу 6.2.

Таблица 6.1- Стоимость кабельных линий для второго варианта

Номер ветвей схемы

Длина кабельного участка, км

Марка и сечение кабеля

Полная стоимость, тыс.бел.руб.

144-301

0,33

АПвПу 1×50

4698,39

302-83

0,24

АПвП 1×50

3159,24


Таблица 6.1- Стоимость воздушных линий для второго варианта

Номер ветвей схемы

Длина воздушной линии, км

Марка и сечение провода

Полная стоимость, тыс.бел.руб.

301-89

0,78

СИП-3 1×70

18164,13

89-302

0,44

СИП-3 1×70

10246,43


Стоимость КТПП принимаем из каталога [3]:


Стоимость камеры КСО- 366 3н аналогична той, которую рассчитали в первом варианте. Суммарные капитальные затраты для второго варианта равны Отчисления на амортизацию и эксплуатацию  Нагрузочные потери мощности рассматриваемого участка сети по результатам расчета в линиях 0,6 кВт, на трансформаторном участке 82-89 2,8 кВт. Потери мощности холостого хода на трансформаторном участке 82-89 0,82 кВт.

Стоимость потерянной электроэнергии

Общие издержки составляют 4235,677тыс.бел.руб.

Приведенные затраты для первого варианта:

.

Приведенные затраты для второго варианта:

.

Приведенные затраты меньше у первого варианта, значит он экономически выгоднее. Стоимость потерянной электроэнергии для второго варианта меньше, чем для первого, так как вследствие разных точек размыкания сети по рассматриваемому участку во втором варианте передается меньшая активная мощность. По данным результатов расчета режимов суммарные потери мощности по всей сети отличаются незначительно. В первом варианте нагрузочные потери активной и реактивной мощности в режиме наибольших нагрузок равны соответственно 550,4 кВт и 624,3 квар, а для второго варианта - 548,5 кВт и 622, 5квар.

Второй вариант из-за большей протяженности требует гораздо больших капитальных затрат на строительство, аренду земли и издержек на ремонт и эксплуатацию. По надежности электроснабжения варианты считаем равными, поскольку принятые схемы электроснабжения соответствуют нормам проектирования распределительных сетей 10 кВ[10].

. Выбор режима нейтрали

В реконструируемой электрической сети используется система компенсированной нейтрали. Дугогасящие реакторы (ДГР) подключены к нейтралям трансформаторов собственных нужд. Индуктивный ток, проходящий через реактор, компенсирует емкостный ток линии. При однофазном замыкании ток в месте замыкания фазы на землю существенно уменьшается, а значит снижается вероятность повторных зажиганий заземляющей дуги и связанных с ней перенапряжений, а также вероятность возникновения междуфазных коротких замыканий.

Дуговые перенапряжения создают условия для перехода в двух- и трехфазные замыкания, а при длительном замыкании с падением фазного провода на землю неотключенная линия создает опасность поражения людей и животных электрическим током. А также из-за замыкания на землю могут возникать феррорезонансные перенапряжения в цепях измерительных трансформаторов.

Однако при существующем режиме нейтрали повышенные напряжения на неповрежденных фазах и опасность поражения людей все же остаются. Это связано со сложностью оперативного обеспечения резонансной настройки ДГР с емкостью сети. Оказывается, что при несимметрии емкостных проводимостей фаз сети ДГР в нормальном режиме работы увеличивает напряжение смещения нейтрали. Следовательно невозможно полностью устранить перемежающиеся дуговые замыкания и перенапряжения. Кроме того, при настройке ДГР, близкой к резонансной, ток замыкания на землю может оказаться слишком малым. А это вызывает трудности для создания простой и селективной релейной защиты, способной отключать повредившиеся линии, подключенной к данной секции шин ПС.

Для исключения указанных выше недостатков, повышения электробезопасности и надежности сети следует осуществить резистивное заземление нейтрали на питающих подстанциях (через высокоомный или низкоомный резистор).

При заземлении нейтрали через резистор в месте замыкания ток состоит из двух составляющих: емкостного тока и активного тока, обусловленного включением в нейтраль активного сопротивления резистора. В результате появляется возможность определить присоединение, на котором произошло замыкание на землю, и принять меры по его устранению, а также выбрать простую токовую релейную защиту, действующую на отключение поврежденного присоединения или на сигнал. Это обеспечит электробезопасность людей, находящихся вблизи линии. Кроме того, заземление нейтрали позволяет снижать уровень перенапряжений, возникающих в сети.

Сопротивление резистора выбирается равным или до 2,5 раза большим суммарного емкостного сопротивления всех линий, подключенных к данной секции шин напряжением 10-35 кВ. К низкоомному заземлению нейтрали относится заземление через резистор сопротивлением до 10 Ом. Высокоомное заземление имеет в цепи резистор с более высоким сопротивлением.

Низкоомное резистивное заземление нейтрали применяется в тех случаях, когда замыкание на землю должно быть отключено быстро (автоматически). Это достигается за счет того, что обеспечивается ток в нейтрали, достаточный для работы релейной защиты. В тех случаях, когда сеть при замыкании на землю может работать длительно, до обнаружения места замыкания, применяют высокоомное заземление. При этом достигается снижение перенапряжений, повышается электробезопасность, но обеспечивается ток, достаточный для работы релейной защиты на сигнал и обнаружения присоединения, на котором произошло замыкание на землю.

Соответствующим выбором сопротивления резистора можно сохранить малые значения токов замыкания на землю и прежние требования к сопротивлению заземляющих устройств.

Так как применение низкоомных резисторов требует значительных капитальных затрат на изготовление резисторов или на изменение контуров заземления ПС, то целесообразнее рассмотреть возможность заземления нейтрали через высокоомный резистор, включаемый в нейтраль специального заземляющего трансформатора (в сети 10 кВ).

Таким образом, резистивное заземление нейтрали позволяет повысить надежность и электробезопасность сети. Повышение надежности сети достигается засчет снижения кратности и продолжительности дуговых перенапряжений при однофазных замыканиях на землю, что предотвращает появление двойных замыканий на землю, феррорезонансных колебаний в цепи измерительных трансформаторов напряжения, а также развития многофазных замыканий по всей сети, отходящей от данной секции шин центра питания. Наличие резервирования элементов сети и оснащение ее средствами автоматики позволяет отключать линии напряжением 10 кВ с замкнувшейся на землю фазой, не приводя к существенному недоотпуску электроэнергии потребителям.

9. Защита от перенапряжений

Волны грозовых перенапряжений возникают во время грозы в электрических линиях, распространяются по сети и воздействуют на изоляцию как самих линий, так и электрооборудования подстанций. Поскольку Республика Беларусь находится в зоне со среднегодовой грозовой продолжительностью от 40 до 80 часов [11], то установка устройств защиты от грозовых перенапряжений обязательна.

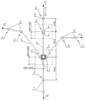
При прохождении ВЛП по населенной местности устанавливаем на опорах вентильные разрядники РВО-10. При прохождении ВЛП по ненаселенной местности используем петлевой разрядник РДИП-10 (при промежуточном (одинарном) креплении провода). Применение длинно-искровых разрядников предотвращает повреждение защитной изолирующей оболочки и обрыв провода из-за пережога его дугой после грозового перекрытия изоляторов. Указанные разрядники устанавливаются по одному на опоре параллельно изолятору одной из фаз с последовательным их чередованием (рисунок 9.1).

Рисунок 9.1- Установка на опорах разрядников РДИП-10

Поясняющая схема выполнения грозозащиты приведена на рисунке 9.2.

Рисунок 9.2 - Поясняющая схема выполнения грозозащиты воздушно-кабельной линии

В населенной местности располагаются анкерные концевые опоры К1, К2 и К3 и промежуточная П3.

На опорах анкерного типа используются натяжные изолирующие подвески со снятием изоляции 0,5 м от мест крепления провода: НКК-1-1Б (для провода сечением 35 мм2) на концевой опоре К1, анкерной ответвительной АО и анкерной угловой АУ; НБ-2-6А (для провода сечением 70 мм2) на концевых К2 и К3. В этом случае допускается не применять разрядник РДИП-10 [12].

Таким образом, РДИП-10 применяем только на промежуточных опорах П1, П2, П4, П5 и П6.

Одним из основных средств грозозащиты является заземление опор ВЛП [12]. Удельное эквивалентное сопротивление земли принимаем от 155 Ом·м по таблице 4.3 [13]. Железобетонные опоры в населенной и ненаселенной местности должны быть заземлены. Поскольку на ВЛП применяем штыревые изоляторы ШФ20-Г, то сопротивление заземляющих устройств опор в ненаселенной местности допускается не нормировать [12]. При этом подземная часть опор со стойками СВ110-49 обеспечивает контакт с грунтом на площади не менее 500 см2 (имеется нижний выпуск диаметром 10 мм и длиной не менее 1600 мм).

ВЛП присоединяется к подстанциям ТП-32 и ТП-110 при помощи кабельных вставок. Для защиты кабеля в месте присоединения кабеля к ВЛП на концевых опорах (К1 и К2) устанавливаем комплект вентильных разрядников. Сопротивление заземляющего устройства разрядников при удельном эквивалентном сопротивлении земли до 500 Ом·м принимаем [13] не более 10 Ом. Кабельные линии защищаются по обоим концам. На РУ 10 кВ ТП, к которым присоединяются кабельные линии, установлены вентильные разрядники [13].

Выполнение заземления опор в разделе 11.

Подходы ВЛП к трансформаторным подстанциям специальных защитных мер (подвеска грозозащитного троса, установка разрядников) не требуют [12].

Сопротивление заземления промежуточной опоры П3 (установлен вентильный разрядник) не должно превышать 15 Ом (удельное эквивалентное сопротивление грунта 155 Ом·м).

На анкерной ответвительной АО и анкерных концевых К3 и К2 установлены высоковольтные разъединители, согласно [12] сопротивление заземляющего устройства не должно превышать 10 Ом. В этом случае вокруг указанных опор на глубине 0,5 м для опор К3 и К2 и на глубине 1 м для ответвительной (пахотные земли) пролаживаем замкнутый горизонтальный заземлитель (контур), к которому присоединяется заземляющее оборудование. Контур прокладываем на расстоянии 0,8-1 м от опоры. К горизонтальному заземлителю привариваются выпуски стойки и подкоса опор 10 кВ.

На опоре, на которой расположено оборудование МТП, устанавливаются вентильные разрядники РВО-10. Сопротивление заземляющего устройства для МТП не более 4 Ом.

Устанавливаемое оборудование обладают улучшенными техническими характеристиками

10. Оценка целесообразности установки секционирующих и компенсирующих устройств

В рассматриваемой сети для возможности отделения поврежденных участков сети применяется секционирование с помощью коммутационной аппаратуры - выключателей (масляные, вакуумные, воздушные, выключатели нагрузки), разъединителей.

Для потребителей первой и первой особой категории выполнено устройство автоматического ввода резервного питания (АВР) на междусекционных воздушных или масляных выключателях и выключателях на отходящих линиях 10 кВ. Если ТП питает потребителей в основном второй категории, то устройство АВР установлено на стороне 0,38 кВ.

На проектируемой кабельно - воздушной линии устанавливаем секционирующие разъединители на анкерной ответвительной опоре и на концевой в месте соединения кабельной и воздушной линии, а также на концевой опоре перед МТП (рисунок 9.2).

При необходимости отключения поврежденной линии или проведения ремонта на каком-либо участке или на одной из подстанций с помощью секционирующих разъединителей делаем необходимые переключения, чтоб на время проведения ремонтов не прерывать электроснабжение потребителей. Для секционирования используем также выключатели нагрузки на ТП-110 и ТП-32.

Установка компенсирующих устройств по результатам расчета режимов не требуется, поскольку отклонение напряжения не выходит за допустимые пределы ±5 %. Произведен расчет с учетом роста нагрузок всей сети на 25 %. По данным расчета падения напряжения до наиболее удаленных потребителей не превышают 6 % внормальных режимах и 10 % в послеаварийных, и токи по ветвям не превышают длительно допустимых по нагреву.

11. Строительные решения

Проектируемая ВЛП пересекает несудоходную реку шириной 4 м (в местах пересечения), которая относится к небольшому переходу. Ставим концевые опоры (К1 и К2 на рисунке 9.2 раздела 9), которые находятся ближе всего к переходам на расстоянии не менее 11,5 м (прибавляем 3 м к длине надземной части стойки опоры). Согласно [11] допускается установить на данных переходах после анкерной концевой промежуточную и анкерную угловую опоры. Угол пересечения водного препятствия не нормируется, пересечение выбираем в наиболее узких местах. Течение реки неагрессивно, размыв берегов не происходит, значит специальных мер не применяем.

Пересечения линий разного напряжения отсутствуют. Трасса линии проходит в легкодоступном для транспорта месте, вблизи существующих дорог (карта местности на листе 1 графической части). При строительстве линий нет необходимости в вырубке просек и сносе строений. Трасса проходит частично проходит по пахотным землям.

Количество, тип опор и расстояния между ними можно увидеть на рисунке 9.2 раздела 9. Длины пролетов в зависимости от типов опор (промежуточные, сложные) и местности (населенная, ненаселенная), на которой они установлены определены по таблице 3.28 [12].

При повороте ВЛП на 51º применяем анкерную угловую опору. Ответвление отклоняется от перпендикуляра к магистральной линии на 13,5º, что допустимо для ответвительной опоры согласно [12].

Для устройства заземлений на железобетонных опорах в качестве заземляющего проводника (заземляющего спуска), выполняющего функцию магистрали заземления, применяем арматуру стойки и подкоса (нижний и верхний заземляющие выпуски). Заземление металлических элементов опор, находящихся в верхней части этих опор, выполняем присоединением их к верхнему заземляющему выпуску. К нижнему выпуску стойки при необходимости приваривается дополнительный заземлитель.

Базовые элементы, из которых сооружаются заземлители для опор, изготавливаются из круглой стали диаметром 10 мм с длиной горизонтального и вертикального заземлителя по 2,5 м или по 5 м.

Заземляющее устройство МТП (рисунок 11.1) создается из замкнутого контура, проложенного вокруг площадки занимаемой электрооборудованием подстанции на расстоянии 0,8-1 м. Применение вертикальных заземлителей для МТП не требуется [13]. К горизонтальному заземлителю привариваются выпуски стойки и подкоса опор 0,38 и 10 кВ. Согласно таблице 4.7 [13] применение дополнительных заземлителей не требуется при трех отходящих линиях 0,38 кВ от подстанции при удельном сопротивлении земли 155 Ом·м. Пример выполнения заземления для МТП и концевой опоры с разъединителем на рисунке 11.1.

На рисунке 11.1 цифрами обозначено: 1-стойки опоры мачтовой подстанции, 2-заземляющий проводник (выпуск стойки), 3-привод разъединителя, 4-стойка концевой опоры ВЛП 10 кВ с разъединителем, 5- подкос концевой опоры ВЛП 10 кВ, 6-горизонтальный заземлитель, 7- концевая опора ВЛ 0,38 кВ, 8-анкерная опора ВЛ 0,38 кВ.

Три одножильных кабели прокладываем в одной траншее горизонтально по непроезжей части улиц (по техническим полосам в виде газонов). Глубина заложения кабельной линии в траншее не менее 0,7 м. Расстояние между кабелями в траншее принимаем равным наружному диаметру кабелей [13], 27 мм. Минимальный радиус изгиба при прокладке - пятнадцать диаметров кабеля.

При прохождении кабельной линии под проезжей частью улиц прокладываем кабельную линию в асбестоцементных трубах.

На расстоянии по 1 м с каждой стороны от крайних кабелей над подземными кабельными линиями устанавливаем охранную зону. На концах кабельной линии устанавливаем концевые термоусаживаемые муфты, которые обязательно заземляются.

Рисунок 11.1-Заземляющее устройство для МТП 10/0,4 кВ с тремя отходящими линиями 0,38 кВ

На рисунке создано два заземляющих контура - для МТП и концевой опоры с высоковольтным разъединителем и вентильными разрядниками.

. Охрана окружающей природной среды

Передача и распределение электрической энергии по сетям напряжением 10 кВ является безотходным технологическим процессом и не сопровождается вредными выбросами в окружающую природную среду. Уровень шума и вибрации, которые могут создаваться оборудованием ТП, воздушными и кабельными линиями, не превышает величин, допустимых по действующим Строительным нормам. Поэтому в проекте мероприятия по снижению уровня производственного шума и вибрации не предусматриваются. Подстанция безопасна для окружающей среды и имеет привлекательный эстетический вид.

Поскольку на пути трассы ВЛ нет лесных массивов, то вырубка просек не происходит. Во время проведения ремонтно-монтажных работ плодородный слой почвы не нарушается.

По данным таблицы П.3.4 [5] площадь отчуждения земли под железобетонные опоры составляет: под промежуточную одностоечную опору - 4,4 м2, под анкерную угловую с одним подкосом, анкерную ответвительную и анкерную концевую - по 15 м2 под каждую из опор.

. Охрана труда

Организация работ по охране труда на предприятии

Охрана труда изучает условия возникновения и причины производственных травм и заболеваний работающих, аварий, пожаров, разрабатывает мероприятия по их предупреждению, созданию здоровых и безопасных условий труда [15]. Поскольку полностью безвредные и безопасные условия работы создать пока нереально, задача охраны труда сводится к тому, чтобы путём осуществления разноплановых мероприятий свести к минимуму воздействие на человека опасных и вредных производственных факторов, возникающих на рабочих местах, максимально уменьшить вероятность несчастных случаев и заболеваний работающих, обеспечить комфортные условия труда.

Термин "охрана труда" употребляется в широком и узком смысле. В первом - это комплекс правовых мер, направленных против необоснованных увольнений и переводов работников, отклонений от нормального режима работы и отдыха. В узком смысле под "охраной труда" понимаются системы организационно-правовых мер, обеспечивающих соблюдение правил и норм техники безопасности, производственной санитарии и гигиены труда, охраны труда женщин и подростков.

В Трудовом кодексе Республики Беларусь имеется специальная глава, которая посвящена охране труда (глава 16, статьи 221-232). В данном правовом акте определено, что охрана труда - это система обеспечения безопасности жизни и здоровья работников в процессе трудовой деятельности, включающая правовые, социально-экономические, организационные, технические, психофизиологические, санитарно-гигиенические, лечебно-профилактические, реабилитационные и иные мероприятия и средства. Государственное управление охраной труда реализуется на республиканском, отраслевом и региональном уровнях.

Мероприятия по охране труда и их проведение всегда экономически выгодны и целесообразны, так как они стимулируют сокращение убытков от несчастных случаев, уменьшение расходов на компенсации промышленных вредностей и опасностей, сохранение работоспособности и т.д.

Для организации работы и осуществления контроля по охране труда на предприятии имеется специалист по охране труда или соответствующая служба из числа лиц, имеющих необходимую подготовку. Служба охраны труда подчиняется непосредственно руководителю предприятия, его заместителю или главному инженеру и приравнивается к основным производственно-техническим службам.

Функции службы:

         контроль за соблюдением законодательных и иных нормативных правовых документов по охране труда, в том числе осуществление контроля за: соблюдением "Правил расследования и учета несчастных случаев на производстве и профессиональных заболеваний"; наличием в подразделениях предприятия инструкций по охране труда; правильным расходованием средств, выделенных на выполнение мероприятий по охране труда; составление перечней профессий, должностей и видов работ, на которые разработаны инструкции по охране труда;

         оперативный контроль за состоянием охраны труда на предприятии, в том числе осуществление контроля за: выполнением работниками требований инструкций по охране труда; правильным содержанием производственных и вспомогательных помещений; безопасной эксплуатацией оборудования, инструментов, инвентаря, транспортных средств; правильной организацией рабочих мест и процессов; соблюдением установленных сроков выдачи и испытаний средств индивидуальной защиты; техническим состоянием машин и оборудования; соблюдением графиков замеров опасных и вредных производственных факторов;

-        организация работ по профилактике производственного травматизма, в том числе: участие в расследовании несчастных случаев на производстве и профессиональных заболеваний, анализе их причин; контроль за выполнением мероприятий по устранению причин производственного травматизма;

-        технический надзор за строящимися и реконструируемыми объектами в части соблюдения норм охраны труда, в том числе: участие в работе комиссий по приемке в эксплуатацию законченного строительства или реконструированных объектов производственного назначения; проведение совместно с соответствующими службами предприятия проверок технического состояния зданий, оборудования;

         участие в планировании мероприятий по охране труда, составление отчетности по установленным формам и ведение документации;

-        организация пропаганды по охране труда, консультирование работников по вопросам охраны труда, в том числе: организация работы кабинета по охране труда на предприятии; организация проведения лекций, участие в подготовке наглядных пособий при организации учебных кабинетов, проведение конкурсов и общественных смотров по охране труда;

         организация проведения обучения по охране труда, проверки знаний, инструктажей работников предприятия, в том числе: оказание методической помощи руководителям подразделений предприятия при разработке и пересмотре инструкций по охране труда; разработка программы проведения вводного инструктажа по охране труда и его проведение; контроль за своевременным и качественным проведением обучения, проверка знаний и всех видов инструктажей по охране труда у работников предприятия.

Таким образом, каждый работник имеет право на охрану труда. Нормы и последовательность реализации указанного права предусмотрены законодательством.

Техника безопасности при реконструкции ТП 10/0,38 кВ

Монтаж и эксплуатация силовых трансформаторов

Трансформаторы устанавливаются в соответствии требованиями действующих ПУЭ [11]. Во время монтажа новых или вышедших из капитального ремонта трансформаторов до включения их под напряжение производятся их осмотр и испытания в соответствии с нормами. Результаты осмотра, испытаний и приемки оформляются записями в паспортах и протоколами.

Разрешается не проводить внутренний осмотр со вскрытием вновь устанавливаемых трансформаторов при отсутствии соответствующего указания завода-изготовителя. Осмотр со вскрытием проводят при наружных повреждениях, допущенных при транспортировании или хранении и вызывающих предположение о возможности внутренних повреждений.

Для обеспечения длительной надежной эксплуатации трансформаторов обслуживающий персонал соблюдает температурные и нагрузочные режимы, уровни напряжения, нормы на качество и изолирующие свойства масла, содержит в исправном состоянии устройства охлаждения, регулирования напряжения, защиты масла [16].

На баки однофазных трансформаторов наносится расцветка фаз. На баках трехфазных трансформаторов и на баках средних групп однофазных трансформаторов делаются надписи, указывающие мощность и порядковые подстанционные номера трансформаторов.

Двери трансформаторных пунктов и камер запираются на замок и на них укрепляются предупреждающие плакаты.

Трансформаторы, оборудованные устройством газовой защиты, устанавливаются так, чтобы крышка имела подъем по напряжению к газовому реле не менее - 1,5 %, а маслопровод от трансформатора к расширителю - не менее 2 - 4 %. Выхлопная труба снабжается мембраной и соединяется с верхней частью расширителя. На маслопроводе между расширителем и газовым реле устанавливается кран.

При обслуживании трансформаторов обеспечиваются удобные и безопасные условия наблюдения за уровнем масла, газовым реле, а также для отбора проб масла и проб газа. Осмотр высоко расположенных частей (3 м и более) работающих трансформаторов IV габарита и выше производится со стационарных лестниц с учетом требований правил техники безопасности. Для наблюдения за уровнем масла предусматривают освещение маслоуказателей в темное время суток, если общего освещения недостаточно.

Трансформаторные установки оснащаются противопожарными средствами в соответствии с требованиями действующих ПУЭ. Автоматический пуск установки пожаротушения дублируется дистанционным пуском со щита управления и ручным пуском. Устройства ручного пуска располагаются в месте, не подверженном действию огня.

Каждый масляный трансформатор устанавливают в отдельной камере. Допускается установка в одной общей камере двух масляных трансформаторов мощностью не более 1 МВ·А каждый, имеющих общее назначение, управление и защиту. Сухие трансформаторы или имеющие негорючее заполнение устанавливаются в общей камере.

На всех маслонаполненных трансформаторах, оборудованных расширителем, устанавливаются термометры для измерения температуры масла. Трансформаторы с совтоловым наполнением для контроля за давлением внутри бака оснащаются мановакуумметрами и реле давления, срабатывающими при давлении внутри бака выше 600 кПа (6 кгс/см2). При увеличении давления выше нормы (50 кПа (0,5 кгс/см2)) обслуживающий персонал снижает нагрузку трансформаторов. Уровень масла в расширителе неработающего трансформатора поддерживают на уровне не ниже контрольных черт, соответствующих уровням масла в трансформаторе при температуре окружающей среды минус 45 ºС, плюс 15 ºС, плюс 40 ºС.

В распределительных электрических сетях напряжением 20 кВ включительно проводятся измерения нагрузок и напряжений трансформаторов не реже двух раз в год период максимальных и минимальных нагрузок. Для каждой электроустановки в зависимости от графика нагрузки с учетом надежности питания потребителей определяется количество одновременно работающих трансформаторов.

Для трансформаторов, имеющих катки, в фундаментах предусматривают направляющие. Для закрепления трансформаторов на направляющих используют упоры, устанавливаемые с обеих сторон трансформатора. Трансформаторы до 2 т, не снабженные катками, допускается устанавливать непосредственно на фундаменте.

На фундаментах трансформаторов предусматривают места для установки домкратов, создающих уклон трансформатора.

Трансформаторы устанавливаются так, чтоб отверстие выхлопной трубы не было направлено на близко установленное оборудование. Для выполнения этого требования устанавливают заградительный щит против отверстия трубы.

Вентиляция помещений трансформаторов создается такой, чтоб при номинальной их нагрузке (с учетом перегрузочной способности) и максимальной расчетной температуре окружающей среды нагрев трансформаторов не превышал максимально допустимого. Согласно ПУЭ соблюдают, чтоб разность температур воздуха, выходящего из помещения и входящего в него, не превышала 15 ºС.

Принудительная циркуляция масла в системе охлаждения трансформатора осуществляется непрерывно независимо от нагрузки и автоматически включается и отключается при включении и отключении трансформатора. Эксплуатация таких трансформаторов производится обязательно с системой сигнализации о прекращении циркуляции масла, охлаждающей воды или остановке вентиляторов дутья.

При наличии маслоохладителей с водяным охлаждением маслонасос устанавливается до маслоохладителя по ходу масла. Давление масла в маслоохладителях превышает давление пропускаемой через них воды.

Для трансформаторов с принудительным охлаждением допускаются аварийные режимы работы при прекращении циркуляции масла или воды либо при остановке вентиляторов дутья. Длительность указанных режимов устанавливается местными инструкциями в соответствии с результатами испытания или заводскими данными.

При включении масловодяного охлаждения трансформаторов в первую очередь пускается масляный насос, а затем водяной. При отключении сначала отключается водяной насос, а затем масляный. Водяной насос пускается при температуре масла не ниже 10 ºС.

При эксплуатации трансформаторов предусматриваются меры по предотвращению замораживания маслоохладителей, насосов и водяных магистралей согласно местным инструкциям.

Обслуживающий персонал следит за тем, чтоб при номинальной нагрузке температура верхних слоев масла не превышала (если заводами изготовителями не оговорены иные температуры): у трансформаторов с системой охлаждения ДЦ (принудительная циркуляция масла с дутьем) 75 ºС, с системами охлаждения М (естественная циркуляция масла и воздуха) и Д (естественная циркуляция масла и принудительная циркуляция воздуха) 95 ºС.

Работа трансформаторов с системой охлаждения масла Д допускается с отключенным дутьем:

а)      при нагрузке меньше номинальной и температуре верхних слоев масла не выше 55 ºС;

б)      при отрицательных температурах окружающего воздуха и температуре масла не выше 45 ºС (независимо от нагрузки).

Дутьевое охлаждение включается автоматически при достижении температуры масла 55 ºС или номинальной нагрузки независимо от температуры масла.

Персонал, обслуживающий трансформаторы, оборудованные переключателем коэффициентов трансформации ПБВ (переключатель без возбуждения), проверяет не менее 2 раз в год перед наступлением зимнего максимума и летнего минимума нагрузки правильность установки коэффициента трансформации.

При осмотре трансформаторов проверяют следующее: показания термометров и мановакуумметров; состояние кожухов трансформаторов и отсутствие течи масла, соответствие уровня масла в расширителе температурной отметке и наличие масла в маслонаполненных вводах; состояние маслоохлаждающих и маслосборных устройств, а также изоляторов; состояние ошиновки кабелей, отсутствие нагрева контактных соединений; исправность устройств сигнализации и пробивных предохранителей; состояние сети заземления; состояние маслоочистных устройств непрерывной регенерации масла, термосифонных фильтров и влагопоглощающих патронов; состояние трансформаторного помещения.

Трансформаторы выводятся из работы при необходимости немедленной замены масла по результатам лабораторных анализов. Предприятию, которое имеет на балансе маслонаполненное оборудование, необходимо хранить неснижаемый запас изоляционного масла в объеме не менее 110 % вместимости наиболее вместимого аппарата.

Работы на коммутационных аппаратах с автоматическими приводами и дистанционным управлением

Установку снятых предохранителей, включение отключенных цепей и открытие задвижек при подаче воздуха, а также снятие на время опробования плакатов "Не включать. Работают люди" и "Не открывать. Работают люди" осуществляет оперативный персонал или по его разрешению производитель работ. Дистанционно включать или отключать коммутационный аппарат для опробования разрешается лицу, ведущему наладку или регулировку, либо по его требованию оперативному персоналу.

После опробования при необходимости продолжения работы на коммутационном аппарате лицом из оперативного персонала или по его разрешению производителем работ должны быть выполнены технические мероприятия, требуемые для допуска к работе.

Перед допуском к работе на коммутационных аппаратах (выключателях, выключателях нагрузки, отделителях, короткозамыкателях, разъединителях) с дистанционным управлением осуществляют следующее:)         отключают силовые цепи привода, цепи оперативного тока и цепи подогрева;

б) закрывают на замок задвижки на трубопроводе подачи воздуха в бак выключателей или на пневматические приводы и выпускают в атмосферу имеющийся в них воздух, при этом спускные пробки (клапаны) оставляются в открытом положении;

в) приводят в нерабочее положение включающий груз или включающие пружины;

г) вывешивают предупреждающие плакаты "Не включать. Работают люди" на ключах дистанционного управления и "Не открывать. Работают люди" на закрытых задвижках.

Неизолированные токоведущие части помещают в камеры, ограждают сетками, чтобы защититься от случайных прикосновений к ним. При размещении неизолированных токоведущих частей вне камер расстояния между ними, а также от неизолированных токоведущих частей до заземленных конструкций и ограждений, пола и земли соблюдают согласно ПУЭ [11].

Влагонепроницаемость (герметичность) воздушных выключателей проверяют при пониженном давлении в соответствии с заводскими инструкциями.

Перед подъемом на воздушный выключатель для испытаний и наладки отключают цепи оперативного тока;

блокируют кнопку местного управления и пусковые клапаны либо ставят около выключателя проинструктированного члена бригады, который допускал бы к оперированию выключателем (после включения оперативного тока) только одно определенное лицо по указанию производителя работ.

Во время нахождения людей на воздушном выключателе, находящемся под давлением, прекращаются все работы в шкафах управления и распределительных шкафах. Во время отключения и включения воздушных выключателей при опробовании, наладке и испытаниях люди удаляются от выключателя на безопасное расстояние или в укрытие.

Перед допуском к работе, связанной с пребыванием людей внутри воздухосборников, закрывают задвижки на всех воздухопроводах, по которым подавался воздух, запирают их на замок, вывешивают на задвижках плакаты "Не открывать. Работают люди"; выпускают воздух, находящийся под давлением в воздухосборнике, оставив открытыми пробку в его верхней части и спускную задвижку; отсоединяют от воздухосборника воздухопровод подачи воздуха и устанавливают на нем заглушки.

Монтаж измерительных приборов, устройств релейной защиты, вторичных цепей, устройств автоматики, телемеханики и связи. Работы с электросчетчиками

Для обеспечения безопасности работ, проводимых в цепях измерительных приборов и устройств релейной защиты, все вторичные обмотки измерительных трансформаторов тока и напряжения имеют постоянное заземление. В сложных схемах релейной защиты для группы электрически соединенных вторичных обмоток трансформаторов тока независимо от их числа выполняют заземление только в одной точке.

При необходимости разрыва токовой цепи измерительных приборов и реле цепь вторичной обмотки трансформатора тока предварительно закорачивается на специально предназначенных для этого зажимах.

В цепях между трансформатором тока и зажимами, где установлена закоротка, не производят работы, которые могут привести к размыканию цепи.

При производстве работ на трансформаторах тока или в их вторичных цепях необходимо соблюдать следующие меры безопасности:

а)      шины первичных цепей не используются в качестве вспомогательных токопроводов при монтаже или токоведущих цепей при выполнении сварочных работ;

б)      цепи измерений и защиты присоединяются к зажимам указанных трансформаторов тока после полного окончания монтажа вторичных схем;

в)      при проверке полярности приборы до подачи импульса тока в первичную обмотку надежно присоединяются к зажимам вторичной обмотки.

Работа в цепях устройств релейной защиты, автоматики и телемеханики (далее РЗАиТ) производится по исполнительным схемам; работа без схем, по памяти, запрещается. При работах в устройствах РЗАиТ используются специальные электротехнические инструменты с изолирующими рукоятками.

При работах в цепях трансформаторов напряжения с подачей напряжения от постороннего источника снимаются предохранители со стороны высшего и низшего напряжений и отключаются автоматы от вторичных обмоток.

При необходимости производства каких-либо работ в цепях или на аппаратуре РЗАиТ при включенном основном оборудовании принимаются дополнительные меры против его случайного отключения.

Переключение, включение и отключение выключателей, разъединителей и другой аппаратуры, пуск и остановка агрегатов, регулировка режима их работы, необходимые при наладке или проверке устройства РЗАиТ, производятся только оперативным персоналом.

Установка и снятие электросчетчиков и других измерительных приборов, подключенных к измерительным трансформаторам, производятся по наряду со снятием напряжения двумя лицами, из которых одно имеет группу по электробезопасности не ниже IV, а второе - не ниже III. Установку и снятие электросчетчиков непосредственного включения допускается производить по распоряжению одному лицу с группой по электробезопасности не ниже III. Установка и снятие электросчетчиков, а также присоединение измерительных приборов для проверки выполняются со снятием напряжения. Присоединение измерительных приборов, установка и снятие электросчетчиков, подключенных к измерительным трансформаторам, при наличии испытательных блоков или специальных зажимов, позволяющих безопасно закорачивать токовые цепи, выполняются без снятия нагрузки и напряжения.

14. Организация работ по реконструкции

Доставка основных материалов, конструкций и оборудования на трассу воздушно-кабельной линии осуществляется автомобильным транспортом подрядчика.

Проект производства работ по сооружению линий разрабатывается подрядчиком.

Потребность в основных строительных механизмах и транспортных средствах для проведения реконструкции приведена в технологических картах.

Последовательность технологических операций при выполнении строительно-монтажных работ регламентируется следующими технологическими картами:

ТК 1-1-10 - организация погрузок и разгрузок конструкций и материалов на трассу ВЛП 10 кВ;

ТК 1-2-10 - организация труда для сборки опор на пикетах;

ТК 1-3-10 - установка опор с бурением котлованов;

ТК 1-4-10 - монтаж проводов;

ТК 4-4 - организация труда на заготовку кабельных вставок напряжением 10 кB;

ТК 4-7 - фазировка кабельных и кабельно-воздушных линий 6-10 кВ;

ТТК -07-09/1 СН-2.2-2004 - для прокладки кабельной линии до 10 кВ.

ТТК -07-09/1 СН-1.2-2003 - для заземляющих устройств.

Во время сооружения линий все ТП и КТП находятся в работе за счет питания со стороны действующих линий. Места проживания строителей и монтажников, средства доставки их к месту работы и обратно предусмотрены.

В конкретной технологической карте приводятся последовательность и особенности выполнения работ: cостав бригады, количество человек; норма времени, человеко-час; комплектующие изделия и материалы; средства защиты и меры безопасности; условия проведения работ; приспособления, инструменты, инвентарь.

Например, для установки камеры КСО-366 норма времени составляет 9,87 человеко-час; на монтаж заземлителя на железобетонной опоре ВЛ 10 кВ - 4,2 человеко-час на один заземлитель; на установку сложной железобетонной опоры с подкосом на ВЛ 10 кВ с применением бурильной машины - 12,41 человеко-час на одну опору; на установку концевой термоусаживаемой муфты для кабеля сечением до 120 мм2 - 10,5 человеко-час.

15. Технико-экономические показатели

Приведем следующие обобщенные данные технических и экономических показателей реконструируемого района электрической сети:

а) протяженность линий электропередачи:

 (15.1)

где - протяженность i-ой линии, км;

n - количество линий.

Вычисляем для кабельных и воздушных линий.

б) передаваемая активная мощность:

 (15.2)

где активная мощность го потребителя, кВт.

в) передаваемая электроэнергия:

 (15.3)

где время использования максимальной нагрузки го потребителя, ч.

г) потери мощности:

 (15.4)

где нагрузочная составляющая потерь мощности в линиях и трансформаторах, принимается по данным расчета режима наибольших нагрузок из программы "Режим Псков", кВт;

потери холостого хода в трансформаторах, кВт.

д) потери электроэнергии:

 (15.5)

где нагрузочная составляющая потерь электроэнергии, кВт.ч;

составляющая потерь холостого хода, кВт.ч.

е) нагрузочные потери электроэнергии находим по формуле:

, (15.6)

где t - время наибольших потерь, ч.

ж) потери электроэнергии холостого хода находим по формуле:

, (15.7)

где Т - время работы в году рассматриваемого элемента сети.

з) потери электроэнергии в процентах к передаваемой электроэнергии:

 (15.8)

и) нагрузочные потери электроэнергии в процентах к передаваемой электроэнергии:

 (15.9)

и) потери холостого хода электроэнергии в процентах к передаваемой электроэнергии:

 (15.10)

к) стоимость передачи электроэнергии:

 (15.11)

где - приведеные затраты, тыс. бел. руб.

л) удельные капитальные затраты на воздушные и кабельные линии раздельно:

 (15.12)

 (15.13)

где ,  - капитальные затраты на воздушные и кабельные линии соответственно, тыс. бел. руб;

где ,  - протяженность воздушных и кабельных линий соответственно, км.

м) себестоимость электроэнергии:

, (15.14)

где  - издержки (годовые эксплуатационные расходы), тыс. бел. руб.

Протяженность линий электропередачи:


Количество устанавливаемых трансформаторов Nтп=1.

Передаваемая активная мощность:


Передаваемая электроэнергия:


Нагрузочные потери мощности:


Потери мощности холостого хода в трансформаторе:


Полные потери мощности:


Нагрузочные потери электроэнергии находим по формуле (15.6):

.

Потери электроэнергии холостого хода находим по формуле(15.7):


Полные потери электроэнергии:


Потери электроэнергии в процентах:


Стоимость передачи электроэнергии:


Себестоимость передачи электроэнергии:


Удельные капитальные затраты на воздушные и кабельные линии раздельно:


Результаты расчета сведены в таблицу 15.1.

Таблица 15.1- Результаты расчета технико-экономических показателей

Наименование показателей

Обозначение

Размерность

Величина

Передаваемая энергия

W

тыс.кВт·ч

2781,98

Суммарная длина ВЛ

Lв

км

0,75

Суммарная длина КЛ

Lк

км

0,33

Число трансформаторов

Nтп

-

1

Удельные капитальные затраты на воздушные линии

Куд.вл

тыс.бел. руб./км

21732,81

Удельные капитальные затраты на кабельные линии

тыс.бел. руб./км

14765,84

Капитальные затраты на ТП

Ктп

тыс.бел. руб./км

8853,45

Капитальные затраты на воздушные линии

Квл

тыс.бел.руб.

16299,61

Капитальные затраты на кабельные линии

Ккл

тыс.бел.руб.

4651,24

Суммарные капитальные затраты на линии

Кл

тыс.бел.руб.

20950,85

Полные капитальные затраты

К

тыс.бел.руб.

29804,31

Норма отчислений на амортизацию (для ВЛ на ж/б опорах)

равл

%

2,4

Норма отчислений на текущий ремонт и эксплуатацию (для ВЛ на ж/б опорах)

рэвл

%

0,4

Норма отчислений на амортизацию для КЛ

ракл

%

5,3

Норма отчислений на текущий ремонт и эксплуатацию для КЛ

рэкл

%

2

Норма отчислений на амортизацию для электрооборудования ПС

рапс

%

6,4

Норма отчислений на текущий ремонт и эксплуатацию электрооборудования ПС

рэпс

%

3

Нагрузочные потери электроэнергии

∆Wн

тыс.кВт·ч %

14,37 0,52

Потери электроэнергии холостого хода

∆Wх

тыс.кВт·ч %

7,18 0,26

Суммарные потери электроэнергии

∆W

тыс.кВт·ч %

21,55 0,77

Стоимость 1кВт·ч нагрузочных потерь электроэнергии и 1кВт·ч потерь электроэнергии х.х.

β

тыс.бел.руб./ кВт·ч

0,12

Издержки (годовые эксплуатационные расходы)

И

тыс.бел.руб.

4214,25

Приведенные затраты

З

тыс.бел.руб.

7790,77

Себестоимость передачи электроэнергии

Се

тыс.бел.руб./ кВт·ч

1,52

Стоимость передачи электроэнергии

Сп

бел.руб./ кВт·ч

2,80


Заключение

В проекте довольно полно рассмотрен вопрос о функционировании распределительной сети в характерных режимах - нормальном (наибольших и наименьших нагрузок) и аварийном. Правильно выбранные сечения проводников воздушно-кабельных линий позволили получить допустимые уровни потери напряжения в наиболее удаленных точках от центра питания.

При проектировании района сети первостепенное внимание было уделено обеспечению надежности электроснабжения (согласно категории потребителей по надежности). Создано резервирование питания потребителей новопостроенного коттеджного поселка по линиям напряжения 10 кВ.

Принятые проектные решения соответствуют современному техническому уровню. Приведены основные характеристики и достоинства устанавливаемого оборудования: мачтовой подстанции, воздушных линий с покрытыми изоляцией проводами, кабелей с изоляцией из сшитого полиэтилена.

Установленное оборудование обладает улучшенными техническими свойствами в сравнении с аналогичными конструкциями традиционного исполнения.

Список использованных источников

1.      В.Д. Семенко, В.И. Костиков. Опоры для ЛЭП 0,4 кВ. Новые решения. - М.: "Энергетика и электрификация", №8, 2001. - 14 с.

2.      Г.В. Подпоркин, Н.Н. Тиходеев. О сооружении компактных ВЛ 35 кВ с использованием защищенных проводов. - М.: "Энергетик", №8, 2004. - 22 с.

3.      Сердешнов А., Протосовицкий И., Леус Ю., Шумра П. Симметрирующее устройство для трансформаторов. Средство стабилизации напряжения и снижения потерь в сетях 0,4 кВ // Журнал "Новости электротехники", - 2005. - №1(31).

.        Герасименко А.А., Федин В.Т. Передача и распределение электрической энергии. - Ростов-н/Д.: Феникс; Красноярск: Издательские проекты, 2006. - 720 с.

5.      Проектирование распределительных электрических сетей: Учебное пособие /Г.А. Фадеева, В.Т. Федин; под общ. ред. В.Т. Федина. - Минск: Выш. шк., 2009.-365 с.: ил.

.        . ЗАО "Севкабель". - Электрон. дан. (1 файл). - М., [2007]. - Режим доступа: http://www.tdsevcable.ru/apvp.html, свободный. - Кабели силовые с изоляцией из сшитого полиэтилена на напряжение 10 кВ. - Яз. русский.

7.           ЗАО "Севкабель". - Электрон. дан. (1 файл). - М., [2007]. - Режим доступа: http://www.tdsevcable.ru/apvpu.html, свободный. - Кабели силовые с изоляцией из сшитого полиэтилена на напряжение 10 кВ. - Яз. русский

8.      OOО "Электрощит". - Электрон. дан. (1 файл). - М., [2006]. - Режим доступа: http://www.esnn.ru/catalog/15/333_kso_366_3n.html, свободный. - Камеры КСО-366 3н. - Яз. русский.

.        Справочник по электрическим сетям 0,4 - 35 кВ и 110 - 1150 кВ. - Т.4./ Е.Ф. Макаров. - М., 2005.

.        Нормы проектирования электрических сетей напряжением 0,38-10 кВ сельскохозяйственного назначения. Минск, 1994.

11.    Правила устройства электроустановок/Минэнерго СССР - 6-е изд., перераб. и доп. - М.: Энергоатомиздат, 1986. - 640 с.: ил.

12.    Стандарт государственного производственного объединения электроэнергетики "БЕЛЭНЕРГО". Железобетонные опоры для воздушных линий электропередачи напряжением 10 кВ с проводами, покрытыми защитной изолирующей оболочкой - Мн., 2007.

.        Методическое пособие по проектированию, строительству и эксплуатации заземляющих устройств распределительных электрических сетей напряжением 0,4-10 кВ в Белорусской энергосистеме - Мн., 2004.

.        Компания "Инфотон". - Электрон. дан. (1 файл). - М., [2009]. - Режим доступа: http://www.infoton.ru/price.php, свободный. - Прайс-лист на электрооборудование и трансформаторы. - Яз. русский.

.        Лазаренков А.М., Филиянович Охрана труда в энергетической отрасли: Учеб. пособие для вузов. - 4-е изд., перераб. и доп. - М.: 2004г.

16.    Правила технической эксплуатации электроустановок потребителей и Правила техники безопасности при эксплуатации электроустановок потребителей, 4-е изд., перераб. и доп. - М.; ЗАО "Ксения", 2008. - 671 c.

17.    Основные направления совершенствования эксплуатация электрических сетей/М.А. Короткевич. - Мн.: ЗАО "Техноперспектива", 2003.-373 с.: ил.

.        Эксплуатация электрических сетей: учебник/М.А. Короткевич. - Мн.: Выш. шк., 2005.-364 с.: ил.

.        Электрические системы и сети: Учебник /Г.Е. Поспелов, В.Т. Федин, П.В. Лычёв - Мн.:УП "Технопринт", 2004. - 720 с.

.        Местные электрические сети. В.В. Керного, Г.Е. Поспелов, В.Т. Федин. Под общ. ред. Г.Е. Поспелова. Мн., "Вышэйш. школа", 1972.-376 с.

.        Электрические системы и сети. Проектирование: Учебное пособие для втузов, 2-е изд., испр. и доп./ Г.Е. Поспелов, В.Т. Федин. - Мн., "Вышэйш. школа", 1988.-308 с.: ил.

.        Пособие к курсовому и дипломному проектированию для электроэнергетических специальностей вузов: Учебное пособие, 2-е изд., перераб. и доп./ В.М. Блок, Г.К. Обушев, Л.Б. аперно и др.; Под ред. В.М. Блок. - М.:Высш. шк., 1990.-383 с.: ил.

.        Минский электротехнический завод им. В.И. Козлова, каталог, 2008.

.        Справочник по строительству электрических сетей 0,38-35 кВ/ С.В. Гордон, П.И. Ерохин, Е.С. Кирнов и др.: Под ред. Д.Т. Комарова.-М.: Энергоиздат, 1982.

.        Сооружение линий электропередачи. - 3-е изд., перераб. и доп./ С.В. Гордон. - М.: Энергоатомиздат, 1984.- 432 с.: ил.


Не нашли материал для своей работы?
Поможем написать уникальную работу
Без плагиата!
Без нейросетей!