Расчет секционной печи для нагрева труб
Исходные данные
1. Тип и название печи Проходная секционная
печь для скоростного нагрева труб
2. Размеры труб
.1 наружный диаметр dтр=50
мм
.2 толщина стенки Sтр=1мм
.3 длина l
=12
м
3. Марка стали(плотность, кг/м3)
малоуглеродистая, 7850 кг/м3
4. Производительность печи P
=0,3 т/ч
. Число ручьев n=1
шт
Разрыв между трубами в печи м 0,5
. Температура в 1 секции печи tc
0С выбрать
. Температура трубы 0С
.1 начальная tмнач
=20 0С
.2 конечная tмкон
=600 0С
. Топливо
|
Наименование
топлива
|
Состав
сухого топлива в объемных %
|
Влажность
W
г/м3
|
|
CH4
|
C2H4
|
C2H6
|
C3H8
|
C4H10
|
C5H12
|
CO2
|
N2
|
Всего
|
|
|
Природный
газ Туймазинского
мр
|
57,50
|
0,00
|
15,00
|
11,00
|
8,00
|
4,00
|
1,50
|
3,00
|
100
|
28
|
9. Температура подогрева воздуха tв
=3700С
. Коэффициент расхода воздуха αв
=1,08
. Тип горелок выбрать
. Размеры рабочего пространства секции
.1 длина Lc=1,5
м
.2 диаметр Dc
=1,0 м
. Размеры рабочего пространства тамбура
.1 длина Lт=0,5
м
.2 диаметр Dт=0,5
м
. Размеры проема между секцией и тамбуром
.1 диаметр Dпр=0,3
м
.2 толщина lпр
= 0,2 м
. Футеровка секции
.1 материал шамотно-волокнистые плиты ШВП-350
.2 толщина Sс=300
мм
. Футеровка тамбура
.1 материал муллитокремнеземистый войлок
МКВР-200
.2 толщина Sт=200
мм
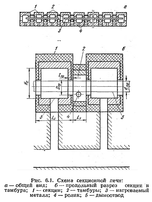
1. Краткое описание печи и ее схема
Секционные печи скоростного нагрева применяют
для нагрева больших партий однородного сортамента трубной заготовки и труб
диаметром до 200 мм и длиной не менее 2,5-3 м. Иногда в этих печах нагревают
квадратную заготовку небольших размеров.
Секционные печи состоят из установленных в одну
линию отапливаемых камер. (секций) и расположенных между ними неотапливаемых
тамбуров, в которых находятся транспортирующие ролики. Ролики косо расположены,
что обеспечивает непрерывное вращение заготовки во время нагрева. Заготовки
можно перемещать в печи в один, два или три ряда (ручья). Каждая секция имеет
самостоятельное," отопление - и дымоотбор; несколько секций объединяют в
общую систему регулирования (зону). Длина секции 1,5- 1,75 м, поперечные
размеры на 0,4-0,6 м больше поперечных размеров нагреваемой заготовки; длина
неотапливаемого тамбура 0,35 - 0,5 м.
2. Расчет теплообмена в рабочем пространстве
печи
. Наружная поверхность трубы (на 1 м длины), м2
2. Внутренняя поверхность кладки (на
1м длины), м2
3. Угловой коэффициент излучения
кладки на трубу
4. Приведенный коэффициент
излучения, Вт/(м2.К4)
5. Приведенный коэффициент излучения
с учетом конвекции, Вт/(м2.К4)
3. Расчет нагрева труб
. Температура кладки, оС
Принимаем температуру кладки:
. Температура трубы, оС
· Начальная
· Конечная
(задаемся)
· Средняя
3. Теплотворность металла при средней
температуре, Вт/(м.К)
4. Средняя теплоемкость металла в
интервале температур нагрева,

. Число Старка
<0,15 --- тело тонкое
6. Коэффициент
заполнения печи
где: l- длина
трубы, t-разрыв
между трубами в печи.
. Масса одного метра трубы, т/м
т/м
8 Продолжительность нагрева трубы в
секции, ч
где: n-число
ручьев; Lc-длина
секции; M- масса 1 м
длины заготовки; P- производительность печи; kз-
коэффициент заполнения печи.
. Коэффициент формы
10. Начальный
температурный фактор, К-3
К-3
. Конечный температурный фактор, К-3
К-3
12. Конечная температура трубы, оС
. Расчет горения топлива (состав
исходного газа, состав и калориметрическая температура продуктов горения)
Пересчет сухую массу на влажную, в
исходном топливе появляется H2O (сумма
каждой составляющей = 100%)
Таблица №1
|
Наименование
топлива
|
Состав
сухого топлива в объемных, %
|
Влажность
W г/м3
|
|
CH4
|
C2H4
|
С2H6
|
C3H8
|
C4H10
|
C5H12
|
CO2
|
N2
|
Всего
|
|
|
Природный
газ Мухановского м/р.
|
57,50
|
0,00
|
15,00
|
11,0
|
8,00
|
4,00
|
1,50
|
3,00
|
100
|
28
|
|
Состав
влажного топлива в объемных, %
|
|
|
Природный
газ Мухановского м/р.
|
55,57
|
0,00
|
14,5
|
10,6
|
7,73
|
3,87
|
1,45
|
2,9
|
100
|
|
Дано: n=1,08;
Tв=370 оС

а). Определим теплоту сгорания
природного газа, пользуясь табличными значениями тепловых эффектов горения
горючих компонентов топлива.
б). Определение расхода воздуха
необходимого для горения количества и состава продуктов сгорания ведется на 100
м3 исходного топлива, а вычисления делаются в табличной форме.
Реакция окисления горючих
компонентов топлива:
CH4+2O2=2H2O(пар)
С2H4+3O2=2CO2+2H2O(пар)
C2H6+7/2O2=2CO2+3H2O(пар)
C3H8+5O2=3CO2+4H2O(пар)H10+13/2O2=4CO2+5H2O(пар)H12+8O2=5CO2+6H2O(пар)
Таблица № 2
|
Топливо
|
Воздух,
м3
|
Образуется
продуктов сгорания, м3
|
|
Состав
|
Содержание,
м3, %
|
O2
|
N2
|
Всего
|
CO2
|
H2O
|
O2
|
N2
|
Всего
|
|
CH4
|
55,57
|
111,14
|
|
|
55,57
|
111,14
|
|
|
|
|
C2H6
|
14,5
|
50,75
|
|
|
29
|
29
|
|
|
|
|
C3H8
|
10,6
|
53
|
|
|
31,8
|
42,4
|
|
|
|
|
C4H10
|
7,73
|
50,245
|
|
|
30,92
|
38,65
|
|
|
|
|
C5H12
|
3,87
|
30,96
|
|
|
19,35
|
23,22
|
|
|
|
|
CO2
|
1,45
|
---
|
|
|
1,45
|
|
|
|
|
|
N2
|
2,9
|
---
|
|
|
|
|
|
5,07
|
|
|
H2O
|
3,4
|
---
|
|
|
|
3,4
|
|
|
|
|
n=1
|
100
|
296,1
|
1113,9
|
168,09
|
247,81
|
|
1124,2
|
1540
|
|
%
|
|
21
|
79
|
100
|
11
|
16
|
|
73
|
100
|
|
n=1,08
|
|
319,8
|
1203,012
|
1522,8
|
168,09
|
247,81
|
34,86
|
1228,77
|
1663,2
|
|
%
|
|
21
|
79
|
100
|
10,1
|
15
|
2,096
|
73,88
|
100
|
в). Находим плотность компонентов газа и
продуктов сгорания топлива.
, кг/м3
г). Составим материальный баланс
горения.
Поступило:
м3 топлива, в том числе:
CH4=> 55,57∙0,714=39,68
кг
C2H6=> 14,5∙1,339=19,41
кг
C3H8=> 10,6∙1,964=20,82
кг
C4H10=> 7,73∙2,589=20
кг
C5H12=> 3,87∙3,214=12,44
кг
CO2=> 1,45∙1,964=2,85
кг
N2=> 2,9∙1,25=3,63
кг
H2O=> 3,4∙0,804=2,734
кг
Всего топлива: 121,6 кг
Воздуха 1758,46 м3 , в том числе:
О2 => 319,8 ∙ 1,429=457 кг N2=>
1228,77∙1,25=1536 кг
Всего воздуха: 1993 кг
Итого: топлив + воздух =
121,6+1993=2114,6 кг
Получено продуктов сгорания 1663,2м3
, в то числе:
CO2=>
168,09∙1,964=330,13 кг
H2O=> 247,81∙0,804=199,24
кг
О2=> 34,86∙1,429=49,81 кг
N2=>
1228,77∙1,25=1536 кг
Всего: 2115,18кг
Невязка баланса:
е). Определение колориметрической
температуры горения топлива методом последовательных приближений.
где
=0 - в таблице энтальпий, энтальпия
зависит от T
при температуре Tв=370 оС
=> Cв=1,318
кДж/(м3К) =>
кДж/м3
кДж/м3
Задаемся Т1=2100 оС
кДж/м3
кДж/м3
кДж/м3
кДж/м3
Т2=2200 оС
кДж/м3
кДж/м3
кДж/м3
кДж/м3
кДж/м3
. Тепловой баланс печи
. Химическое тепло топлива, кВт
. Физическое
тепло воздуха, кВт
. Средняя теплоемкость металла в
секции, кДж/(кг
K)

. Расход тепла на нагреве труб, кВт
. Температура уходящих продуктов
сгорания ,⁰С
. Потери тепла с уходящими
продуктами сгорания, кВт
. Температура внутренней поверхности
кладки секции, ⁰C
. Материал (толщина, мм) кладки
секции
Шамотно-волкнистые плиты ШВП-350
9. Удельный тепловой поток через
кладку, кВт/м2
. Поверхность
кладки, м2
11. Потери тепла через кладку, кВт
. Неучтенные потери, кВт
кВт
. Уравнение теплового баланса
. Расход газа, м3/ч
. Тепловая мощность, кВт
кВт
6. Расчет расхода топлива по секции
. Химическое тепло топлива, кВт
. Физическое тепло воздуха, кВт
. Расход тепла на нагреве труб, кВт
. Потери тепла с уходящими
продуктами сгорания, кВт
. Потери тепла через кладку, кВт
. Неучтенные потери, кВт
кВт
. Расход газа, м3/ч
.Тепловая мощность, кВт
кВт
. Потребление тепла печью,кВт
.Удельный
расход тепла, кДж/кг
. Определения основных размеров и
параметров печи
. Количества секций, шт
N=1шт
.Длина печи, м
. Общая продолжительность нагрева, ч
. Скорость перемещения трубы в печи,
м/ч
. Удельное время нагрева, мин/см
8. Расчет горелок
По расчетам горения топлива общий
расход газа на печь составляет
=0,0006 м3/с; теплота сгорания
топлива - Qн = 53,66
МДж/м3; температура подогрева воздуха - tв=370 0С, tг=20 0С,
=1,08,
=16,09м3.
Принимаем давление газа перед
горелкой 5 кПа
Давление воздуха 3 кПа
Нормализованные горелки типа “труба
в трубе” вида ДВМ-20. По графику определяем, что при данном давлении пропускная
способность горелки для газа с заданной теплотой сгорания составит VВ=0,01 м3/с.
По таблице находим, что полученному
значению к соответствует горелка с диаметром носика dн.г.=30,
т.е. горелка ДВМ-20. Считая газ холодным, т.е. Тг=Т0=293 К, находим скорость
истечения газа из сопла:
Количества воздуха
м3/с
Расчетной расход воздуха
м3/с
Диаметр газового сопла определяется
по графику: d2=12мм
Расчетной пропускной способность по
газу определяется
м3/с
Скорость истечения газа и воздуха из
горелки равен: v=60м/с
Горелка типа «труба в трубе» малой мощности для
газов с высокой теплотой сгорания: 1 - газовое сопло; 2 - воздушная коробка
секционный печь труба газ
Литература
1.
В.С. Мастрюков. Теория, конструкция и расчёты металлургических печей. М.,
Металлургия, 1986(1972, 1978)
.
Металлургические печи. Атлас. Учебное пособие для вузов. В.И. Миткалинный, В.А.
Кривандин и др. 3-е издание, перераб. и доп. М., Металлургия, 1987г
.
Расчет нагревательных и термических печей. Справочник. Под ред. В.М. Тымчака и
В.Л. Гусовского Издательство М., Металлургия, 1987г стр 76-84