|
№
варианта
|
Число
пазов Z1
|
Число
сегментов sст
|
Хорда
H, мм
|
Число
пазов в сегменте Zs=Z1/s
|
Число
пазов на полюс и фазу q1
|
Число
параллельных ветвей а
|
Число
проводов в пазу uп
|
Пазовое
(зубцовое) деление tz1, мм
|
Линейная
нагрузка А, А/м
|
|
1
|
72=2×2×2×3×3
|
6
|
865
|
12
|
1140,05556456
|
|
|
|
|
|
2
|
72=2×2×2×3×3
|
8
|
662
|
9
|
3
|
1
|
14
|
0,055
|
56456
|
|
3
|
72=2×2×2×3×3
|
9
|
592
|
8
|
3
|
1
|
14
|
0,055
|
56456
|
|
4
|
72=2×2×2×3×3
|
12
|
488
|
6
|
3
|
1
|
14
|
0,055
|
56456
|
|
5
|
72=2×2×2×3×3
|
18
|
300
|
3
|
3
|
1
|
14
|
0,055
|
56456
|
Наилучший результат дает вариант 3, который и
принимаем для дальнейших расчетов
(сегменты штампуются из листов
);
Ширина паза (предварительно) по
(10.21)
Поперечное сечение эффективного
проводника обмотки статора (предварительно) по (10.22)
где
(AJ1 по рис.10.16 кривая 3).
Число элементарных проводников
Возможная ширина изолированного
проводника по (10. 25)
Двухсторонняя толщина изоляции
Предварительная ширина элементарного
проводника с изоляцией
.
Ширина этого проводника без изоляции
Выбираем изоляцию катушек класса
нагревостойкости В по табл. 3.5.
Размеры проводников обмотки статора.
Принимаем, что эффективный проводник состоит из 4 элементарных (
). Марка
провода ПСД.
По табл. П.3.2 размеры медного
проводника
(с изоляцией
.
Ширина паза (уточненная) по (10.27).
Высота паза по (10.28)
где
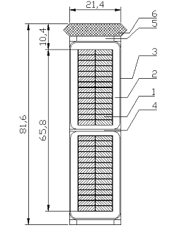
Масштабный эскиз паза представлен на
рис.2.1.
Рис. 2.1 - Паз статора
Плотность тока в проводнике обмотки статора
(уточнённое значение)
Проверка индукции в зубе
(приближенно) по (10.31)
лежит в пределах
Проверка индукцию в спинке статора
(приближенно) по (10.32)
лежит в пределах
и Bα находятся в
допустимых пределах.
Перепад температуры в изоляции паза
по (10.33)
Таблица 2.1 - Спецификация паза
(изоляция класса нагревостойкости В)
|
Позиция
на рис.3.1
|
Наименование
|
Число
слоев
|
Толщина,
мм
|
|
|
по
ширине
|
по
высоте
|
по
ширине
|
по
высоте
|
|
1
|
Провод
ПСД 228
|
|
|
|
|
|
2
|
Лента
теклослюдитинитовая ЛС 9
слоевВпол-нахлеста66
|
|
|
|
|
3 Лента
стеклянная ЛЭС ( покровная
)
Двухсторонняя
толщина изоляции одной катушки2 слояВстык0,4
,20,4
|
6,2
|
|
|
|
|
|
|
4
|
Стеклолист
СТ1 толщиной 1мм
|
-
|
2
|
-
|
2
|
|
5
|
Стеклолист
СТ толщиной 0,5мм Общая толщина изоляции на паз Разбухание изоляции Допуск на
укладку
|
-
- - -
|
2
- - -
|
-
6,2 0,1 0,2
|
2
15,83 1,2 0,2
|
|
6
|
Клин
|
-
|
-
|
-
|
5,0
|
|
Всего
|
|
|
21,4
|
81,6
|
Градиент температуры в пазовой изоляции
Произведённая проверка показала, что
размеры паза выбраны удачно.
Витки фазы обмотки статора по
(10.37)
Шаг обмотки по (10.38)
(из 1-го в 9-ой паз).
,
Коэффициент укорочения шага по
(10.39)
Коэффициент распределения обмотки
статора по (10.40)
Обмоточный коэффициент
Исходя из заданного отношения Mm/Mн≈2,2
по рис. 10.18 находим xd*≈1,3.
Приближённое значение воздушного
зазора по (10.44)
Принимаем воздушный зазор под
серединой полюса 0,0065м (6,5 мм). Зазор под краями полюса
Среднее
значение воздушного зазора
Ширина полюсного наконечника по
(10.47)
Примем
(§ 10.9)
Радиус дуги полюсного наконечника по
(10.45)
Высота полюсного наконечника по
табл. 10.9 при
Длина сердечника полюса и полюсного наконечника
Расчётная длина сердечника полюса по
(10.52).
Принимаем
Предварительная высота полюсного
сердечника по (10.48)
Коэффициент рассеяния полюсов по
(10.50). Из табл.
Ширина полюсного сердечника по
(10.51).
Задаемся
(полюсы
выполнены из стали Ст3 толщиной 1мм)
Выбираем
Эскиз полюсов дан на рис. 2.2.
Рис. 2.2 - Полюсы ротора
Так как
то
принимаем крепление полюсов с помощью хвостом к шихтованному остову.
Длина ярма (обода) ротора по (10.53)
Выбрано
=0,05м.
Минимальная высота ярма ротора по
(10.54)
Принято
- уточняется
по чертежу.
3. Расчет демпферной обмотки
Число стержней пусковой обмотки на
полюсе =8.
Поперечное сечение стержня
демпферной обмотки по (10.55)
Диаметр стержня по (10.56) [материал
стержня ―
медь]
Выбираем dc=14,5·10-3 м, тогда
qc=164,7·10-6 м2.
Зубцовый шаг на роторе по (10.57)
Принимаем z=0,005
Проверяем условия (10.60)
Пазы ротора выбираем круглые,
полузакрытые.
Диаметр паза ротора
Раскрытие паза bs´hs=3,5´2,5мм.
Длина стержня по (10.61)
Сечение короткозамыкающего сегмента
По табл. П3.5 выбираем прямоугольную
медь 10´65 мм
(сечение qк,з=649мм2)
4. Расчёт магнитной цепи
Для магнитопровода статора выбираем
сталь 1511 (ГОСТ 214273-75) толщиной 0,5 мм. Полюсы ротора выполняют из стали
Ст3 толщиной 1 мм. Крепление полюсов к ободу магнитного колеса осуществляем с
помощью хвостовиков к шихтованному ободу. Толщину обода (ярма ротора) принимаем
hj=117мм.
Магнитный поток в зазоре находим по
(10.62), Вб
По рис. 10.21 при
, α=0,7 и
находим кВ=1,145, αδ=0,66.
Уточнённое значение расчётной длины статора по
10.64
Индукция в воздушном зазоре по
(10.63), Тл

Коэффициент воздушного зазора
статора по (10.67)
Коэффициент воздушного зазора ротора
по (10.67)
Коэффициент воздушного зазора по
(10.66)
Магнитное напряжение воздушного
зазора по (10.65), А
Ширина зубца статора на высоте
hп1 от его
коронки по (10.70)
Индукция в сечении зубца на высоте
hп1 по
(10.69), Тл
Магнитное напряжение зубцов статора
по (10.68), А
Индукция в спинке статора по
(10.74), Тл
Магнитное напряжение спинки статора
по (10.72), А
x
- по рис. 10.22.
Высота зубца ротора по (10.76)
Ширина зубца ротора на высоте
от его
коронки по (10.78)
Индукция в зубце ротора по (10.77),
Тл
Магнитное напряжение зубцов ротора
по (10.75), А
Удельная магнитная проводимость
рассеяния между внутренними поверхностями сердечников полюсов по (10.81)
Удельная магнитная проводимость между
внутренними поверхностями полюсных наконечников по (10.82)
где
Удельная магнитная проводимость
рассеяния между торцевыми поверхностями по (10.83)
Удельная магнитная проводимость для
потока рассеяния
Магнитное напряжение ярма статора,
зазора и зубцов полюсного наконечника
.
Поток рассеяния полюса по (10.80),
Вб
Поток в сечении полюса у его основания, Вб
Индукция в полюсе по (10.84), Тл
Магнитное напряжение полюса по
(10.79), А
где
Магнитное напряжение стыка между
полюсом и ярмом ротора по (10.86), А
Индукция в ободе магнитного колеса
(ярме ротора) по (10.88), Тл
Магнитное напряжение в ободе
магнитного колеса по (10.87)
Магнитное напряжение сердечника полюса , ярма
ротора и стыка между полюсом и ярмом, А
Магнитодвижущая сила обмотки
возбуждения на один полюс по (10.89)
Результаты расчёта магнитной цепи
сводим в табл. 5.1.
При переводе магнитных напряжений Fδza , Fmj и потока Фm
в относительные единицы за базовые значения соответственно приняты МДС FB0 и Ф
при Е1*=1.
По табл. 5.1 на рис. 4.1. построена
в относительных единицах характеристика холостого хода.
Рис. 4.1 - Характеристика холостого
хода: 1 - расчетная характеристика; 2 - нормальная характеристика
Таблица 4.1
|
Параметр
|
Е1*
и Ф*
|
|
0.5
|
1
|
1.1
|
1.2
|
1.3
|
|
Е1
, В Ф=0,548·10-4Е1 , Вб Вδ=1,8175·10-4Е1
, Тл Fδ=1,06·Е1
, А Вz1=2,73·10-4Е1 , Тл Нz1 , А/м Fz1=0,1265·Нz1 , А Вα=2,31·10-4Е1
, Тл x
Нα
, А/м
Fα=37,7·10-2ξНα
, А
Вz2=2,65·10-4Е1 , Тл Нz2 , А/м Fz2=1,71·10-2Нz2 , А Fδzα=Fδ+Fz1+Fα+Fz2
, А
Фσ=4,27·10-6Fδzα
, Вб
Фm=Ф+Фσ=0,548·10-4Е1+
+4,27·10-6Fδzα
, Вб Вm=0,267·10-3Е1+0,208·10-4Fδzα , Тл
Нm , А/м Fm=25,5·10-2Нm , А Fδmj=250·Вm
, А Вj=0,24·10-3Е1+0,1881·10-4Fδzα , Тл
Нj , А/м Fj=20,27·10-2Нj ,А Fmj=Fm+Fδmj+Fj , А
FВ0=Fδzα+Fm+Fδmj+Fj
, А
FВ0*
Фm*
Fδzα*
Fmj*
|
3031
0,083 0,456 2905 0,898 325 26,53 0,599 0,63 148 28,77 0,698 345 5,9 2967
0,009 0,093 0,724 345 79,6 181 0,61 295 38,1 260,7 3266 0,37 0,56 0,34 0,029
|
6062
0,167 0,912 5811 1,797 23000 1878 1,198 0,5 780 120,35 1,396 1490 25,5 7834
0,025 0,192 1,496 2270 523,9 374 1,26 960 124,1 897,9 8856 1 1,15 0,89 0,101
|
6668
0,183 1,004 6392 1,976 55600 4539 1,318 0,4 1200 148,12 1,536 2880 49,2 11130
0,035 0,219 1,708 4750 1096 427 1,44 1700 219,7 1523 12870 1,45 1,31 1,257
0,172
|
7275
0,2 1,095 6973 2,156 111000 9062 1,438 0,33 2500 254,59 1,676 6230 106,2
16400 0,052 0,252 1,969 14000 3231 492 1,66 5950 768,9 3723 20890 2,36 1,51
1,851 0,42
|
Средняя длина витка обмотки статора
Длина лобовой части обмотки статора
по (9.139)
Активное сопротивление обмотки
статора
при J=15°С.
при J=75°С
Активное сопротивление обмотки
статора в относительных единицах по (10.96)
;
где
Индуктивное сопротивление рассеяния
по (10.97)
Коэффициент магнитной проводимости
пазового рассеяния по (10.98)
Коэффициент магнитной проводимости
между стенками паза по табл. 10.22
Размеры паза определяем по рис.
10.44 и 3.1: h2=65мм; bп1=21мм; h1=11мм; h0=6,5 мм.
При b=y1/tп=0,889
по (9.156)
Коэффициент магнитной проводимости
по коронкам зубцов по (10.99)
lк=
.
при
из рис. 10.26
Коэффициент магнитной проводимости
лобового рассеяния по (9.159)
Коэффициент магнитной проводимости
дифференциального рассеяния по (10.100)
Индуктивное сопротивление рассеяния
в относительных единицах
Индуктивное сопротивление продольной
реакции якоря в относительных единицах по (10.102)
определяем из по рис. 10.23. По
характеристике холостого хода табл. 5.1 для E1*=1 FB0=5811; для E*=0,5
Индуктивное сопротивление поперечной
реакции якоря в относительных единицах по (10.103)
=0,42 по рис.10.24.
Синхронное индуктивное сопротивление по
продольной оси в относительных единицах
Синхронное индуктивное сопротивление
по поперечной оси в относительных единицах
По данным табл.5.1 на рис.5.2
построены частичные характеристики намагничивания, а на рис.5.3 зависимость E*=
.
Рис. 4.2 -Частичные характеристики
намагничивания
Из векторной диаграммы (рис. 5.4) по
Iн,ф ,Uн,ф, cosj определяем
Ed*=1,06;
находим
, а затем по
(рис.10.25) kq=0,77,kd=0,94, k=0,0022.
Рис. 4.3 - Зависимость E*=
Находим МДС:
где
По найденной МДС из характеристики
определяем
ЭДС
отложив
которую на векторной диаграмме, получим направление, а затем и модуль
Находим
Из характеристики
по
находим
Рис. 4.4 - Векторная диаграмма для
номинальной нагрузки
Магнитодвижущая сила продольной
реакции якоря
По сумме
из
характеристики
определяем
Поток полюса
Из характеристики
по потоку
определяем
Магнитодвижущая сила обмотки
возбуждения в относительных единицах при номинальной нагрузке
Магнитодвижущая сила обмотки
возбуждения
. Расчет обмотки возбуждения
Выбираем однорядную обмотку с
лобовой частью в виде полуокружности. Изоляция нагревостойкости класса В.
Средняя длина витка обмотки
возбуждения по (10.109)
где
Для питания обмотки возбуждения из
табл.10.10 выбираем тиристорное возбудительное устройство ТВУ-65-320 (
).
Напряжение на кольцах с учетом переходного падения напряжения в щеточном
контакте принимаем
Сечение проводников обмотки
возбуждения (предварительное значение) по (10.107)
где
Ток возбуждения по (10.111)
Принимаем
Число витков обмотки возбуждения по
(10.112)
Меньший размер прямоугольного
проводника обмотки по (10.114)
Принимаем
По табл. П-29 выбираем проводник с
размерами
Расстояние между катушками соседних
полюсов по (10.116)
Плотность тока в обмотке возбуждения
(уточненное значение)
Превышение температуры обмотки возбуждения по
(10.119)
Уточненное значение высоты полюса
Так как расхождение с ранее
выбранной высотой
составляет
-2.7%, то
перерасчет магнитного напряжения полюса не производим.
Активное сопротивление обмотки
возбуждения по (10.120)
Напряжения на кольцах возбуждения
при номинальной нагрузке и
по (10.121)
Коэффициент запаса возбуждения по
(10.122)
Находится в пределах 1.1-1.2
6. Расчет параметров и постоянных
времени
Индуктивное сопротивление обмотки
возбуждения по (10.123)
Индуктивное сопротивление рассеяния
обмотки возбуждения по (10.124)
Индуктивное сопротивление рассеяния
пусковой обмотки по продольной оси по (10.125).
По отношению
при
из
рис.10.37 определяем
Из рис.10.36:
Тогда
Индуктивное сопротивление рассеяния
пусковой обмотки по поперечной оси по (10.126)
Активное сопротивление обмотки
возбуждения при J=75°C по (10.135)
Активное сопротивление пусковой
обмотки по продольной оси при J=75°C по (10.136)
=cк,з=1.
Активное сопротивление пусковой обмотки по поперечной
оси при J=75°C
по (10.137)
Постоянная времени обмотки
возбуждения при разомкнутых обмотках статора демпферной (пусковой) по (10.139)
где w=2pf.
Постоянная времени обмотки
возбуждения при замкнутой обмотке статора по (10.140)
где
Постоянные времени демпферной
(пусковой) обмотки при разомкнутых обмотках статора и возбуждения:
по продольной оси по (10.141)
по поперечной оси по (10.142)
Постоянные времени демпферной
(пусковой) обмотки по продольной оси при замкнутой накоротко обмотке
возбуждения и разомкнутой обмотке статора по (10.143)
Постоянная времени демпферной
(пусковой) обмотки по продольной оси при замкнутых накоротко обмотке
возбуждения и обмотке статора по (10.144)
где
Постоянная времени демпферной
(пусковой) обмотки по поперечной оси полюсов при замкнутой накоротко обмотке
статора по (10.145)
где
Постоянная времени обмотки статора при короткозамкнутых
обмотках ротора
где
при работе машины на малое внешнее
сопротивление (короткое замыкание)
Полученные результаты сводим в табл.
6.1.
статор обмотка двигатель
цепь
Таблица 6.1 - Постоянные времени
синхронной машины
|
Td0,c
|
Td’,
c
|
Tkd0,
c
|
Tkq0,c
|
T’’kdв,
c
|
T’’kd,
c
|
T’’kq,
c
|
Ta,
c
|
|
2,54
|
0,52
|
0,183
|
0,165
|
0,038
|
0,02
|
0,028
|
0,08
|
7. Масса активных материалов
Масса зубцов статора по (10.147)
где
Масса ярма статора по (10.148)
Масса меди обмотки статора по
(10.149)
Масса меди обмотки возбуждения по
(10.150)
Масса меди стержней демпферной
обмотки по (10.151)
Масса меди короткозамыкающих колец
по (10.152)
Масса стали полюсов по (10.153)
Масса стали обода ротора по (10.154)
Полная масса меди по (10.155)
Полная масса активной стали по (10.156)
8. Потери и КПД
Основные электрические потери в
обмотке статора по (10.159)
Потери на возбуждение по (10.161)
Магнитные потери в ярме статора по
(10.162)
Магнитные потери в зубцах статора по (10.163)
Механические потери по (10.164)
Поверхностные потери в полюсных наконечниках по
(10.165)
где
Добавочные потери при нагрузке
где
Общие потери при номинальной
нагрузке по (10.166)
Коэффициент полезного действия по (10.168)
Удельный тепловой поток на 1м2
внутренней поверхности статора по (10.169)
Превышение температуры внешней поверхности
статора над температурой охлаждающего воздуха по (10.170)
Плотность теплового потока с внешней
поверхности лобовых частей по (10.171)
(удельная проводимость меди при 750С
периметр
паза по рис. 3.1
)
Превышение температуры внешней
поверхности лобовых частей обмотки статора над температурой охлаждающего
воздуха по (10.172)
Перепад температуры в пазовой
изоляции обмотки статора (см п.30)
.
Среднее превышение температуры
обмотки статора по (5-83)
. Характеристики синхронного
двигателя
Рабочие свойства машины определяются
ее характеристиками. Для генераторов основными характеристиками являются
внешняя, регулировочная, нагрузочная, а также характеристики холостого хода и
короткого замыкания.
Внешняя характеристика.
Внешние характеристики могут быть
построены при помощи регулировочных характеристик. Если внешняя характеристика
должна быть построена при Iвн=const и cosjн=const,
то её две точки Uн при I=Iн и U0 при I=0 известны. Для определения
промежуточных точек надо построить две-три регулировочные характеристики при
Uн<U<U0(достаточно взять небольшие пределы изменения I) и провести прямую
линию от Iвн параллельную оси абсцисс. Точки пересечения этой линии с регулировочными
характеристиками для различных U дают, следовательно, значения U при
соответствующих токах I.
Регулировочная характеристика.
Для построения регулировочной
характеристики надо задаться значениями тока статора I при U=const и cosj=const и найти при помощи
векторных диаграмм соответствующие им значения тока возбуждения Iв. Если
требуется построить регулировочную характеристику при Uн=const и cosjн =const, то достаточно найти
две-три промежуточные точки ( при I<Iн), так как её крайние точки Iво при I=0
и при I=Iн известны из расчета машины.
Нагрузочная характеристика.
Определяет зависимость U=f(i*f) при
I=const, cosj=const и
f=const показывает, как изменяется напряжение генератора U c изменением тока
возбуждения if при условии постоянства тока нагрузки I и cosj. Из числа разнообразных
нагрузочных характеристик наибольший практический интерес представляет так
называемая индукционная нагрузочная характеристика, которая соответствует чисто
индуктивной нагрузке генератора, когда cosj=0.
Обычно она снимается для I=Iн=const.В нашем случае cosjн=0.8=const.
Характеристика холостого хода.
Определяет зависимостьU=f(if) при
I=0 и f=fн. Очевидно, что в режиме холостого хода U=E. Если х.х.х. различных
синхронных генераторов изобразить в относительных единицах, полагая: U* =U/Uн;
i*f = if / ifно
Где ifно - ток холостого хода при
U=Uн, то эти х.х.х. будут мало отличаться друг от друга. Поэтому при расчетах
различных режимов работы энергетических систем, в которых работает много
генераторов, для упрощения расчетов принимается, что х.х.х. всех
турбогенераторов, а также х.х.х. всех гидрогенераторов, выраженные в
относительных единицах, одинаковы и соответствуют некоторым средним данным
реальных характеристик генераторов. Такие характеристики называются
нормальными.
Характеристика короткого замыкания.
Характеристика короткого замыкания (х.к.з.)
снимается при замыкании зажимов всех фаз обмотки якоря накоротко ( симметричное
кз ) и определяет зависимость I=f(if ) при U=0 и f=f.
Если пренебречь весьма незначительным активным
сопротивлением якоря (Ra=0), то сопротивление цепи якоря в режиме короткого
замыкания будет чисто индуктивным.
Литература
1.
Проектирование электрических машин: Учеб. пособие для вузов / И.П. Копылов,
Ф.А. Горяинов, Б.К. Клоков и др.; Под ред. И.П. Копылова. - М.: Энергия, 1980.-
496 с.
.
Проектирование электрических машин: Учеб. пособие для вузов/ И.П. Копылов, Б.К.
Клоков и др.; Под ред. И.П. Копылова. - М.: Высш. Шк., 2005.-767 с.