|
Величина
|
Размерность
|
Значение
|
Название
характеристики
|
|
кг/м31767плотность топлива
|
|
|
|
|
R
|
Дж/кг
|
308
|
газовая
постоянная
|
|
К3294температура горения топлива
|
|
|
|
|
п
|
-
|
1,13
|
показатель
политропии
|
|
u1
|
мм/с
|
1,9
|
скорость
горения топлива при нормальных условиях
|
|
-0,3показатель чувствительности
|
|
|
|
|
В
|
°С
|
440
|
термохимический
коэффициент
|
|
МПа4предельное напряжение сжатия
|
|
|
|
|
МПа0,7предельное напряжение растяжения
|
|
|
|
|
Е
|
МПа
|
16
|
модуль
упругости
|
|
%31относительное удлинение
|
|
|
|
|
ТСТ
|
°С
|
-70
|
температура
стеклования
|
|
Н×с/кг2445удельный импульс
|
|
|
|
Эластичность топлива определяет выбор типа заряда - вкладной
или скрепленный с корпусом двигателя. Для скрепленного заряда существует
опасность растрескивания и отслоения от стенок корпуса при деформациях
двигателя. По этой причине для изготовления скрепленных зарядов пригодны только
эластичные топлива, имеющие предельное удлинение eпр и не менее 12…15% менее
эластичные топлива пригодны только для вкладных зарядов.
Температурой стеклования ТСТ называется такая
температура, при охлаждении до которой топливо теряет свою эластичность и
переходит в хрупкое состояние. Эксплуатация ракет при температуре заряда ниже ТСТ
недопустима. Поэтому желательно выбирать топливо, температура стеклования,
которого ниже -500 °С.
В соответствии с этими требованиями выбираем твердое ракетное
топливо СТ 15/18 со скрепленным типом заряда.
Как будет показано ниже, при принятой программе движения
ракеты, параметры ее движения в любой момент времени, а, следовательно, и
дальность полета, зависят от следующих факторов:
относительной массы топлива
; (1.9)
начальной тяговооружености двигателя
; (1.10)
начальной нагрузки на миделево сечение
; (1.11)
удельного импульса двигателя IУ.
Иначе говоря, дальность полета ракеты можно представить в виде
функции
.
Эту зависимость можно рассматривать как обратную функцию вида
.
Оказывается и стартовая масса ракеты m0 при
известном топливе, ККС, материалах конструкции может быть представлена в виде
функции,
,
а имея в виду зависимость относительной массы топлива
.
Таким образом, если известны максимальная дальность полета Lmax, масса полезной нагрузки mПН, то при выбранных программе полета, топливе, материалах
конструкции и ККС, задача баллистического расчета (определение относительного
потребного запаса топлива
) и проведение весового анализа
(определение стартовой массы m0 и масс составных частей mi) могут быть решены, если известны IУ, n0 и PМ.
Проектными параметрами ракеты называют совокупность исходных
величин, задавшись которыми можно однозначно определить основные
баллистические, весовые, тяговые и геометрические характеристики ракеты (при
условии, что заданы Lmax, mПН и
выбраны тип топлива, конструкционные материалы, ККС и программа полета).
Проектные параметры должны удовлетворять ряду требований, а
именно:
должны однозначно определять характеристики ракеты;
должны существенно влиять на основные характеристики ракеты;
должны быть независимыми;
должны иметь большой диапазон изменения и их рациональные значения
можно достаточно предсказать.
Хотя в уравнениях движения и весовых уравнениях фигурируют в
основном параметры IУ, n0 и PМ, практическими параметрами для РДТТ следует
считать:
давление в камере pK;
давление на срезе сопла pa;
начальную тяговооруженность n0;
относительное удлинение заряда
.
Удельный импульс, являющийся характеристикой энергетических
возможностей топлива и организации рабочего процесса в камере ракетного
двигателя, можно определить по формуле
; (1.12)
, (1.13)
где
коэффициент потерь удельного импульса в
камере сгорания;
коэффициенты потерь удельного импульса в сопле и на органах
управления соответственно;
работоспособность продуктов сгорания топлива, зависящая от рода
топлива;
степень расширения сопла, является функцией степени расширения
газа
и показателя процесса истечения n, т.е.
. (1.14)
; (1.15)
. (1.16)
Таким образом, для выбранного топлива величина удельного импульса
будет определена как на земле (
МПа), так и в пустоте
, если выбраны значения давления в камере pK и на срезе сопла pa.
От величины давлений в камере сгорания pK и на срезе сопла pa зависят удельный импульс IУ, размеры и масса двигателя, т.е. значения давлений pK и pa влияют на массу и на летные
характеристики ракеты.
При повышении давления в камере сгорания непрерывно увеличивается
удельный импульс РДТТ IУ. Но с повышением pK растет и масса конструкции двигателя,
т.к. потребная толщина несущей оболочки камеры сгорания прямо пропорциональна
давлению в камере сгорания. В итоге давление pK выгодно повышать лишь до определенных
значений. Обоснованный выбор давления pK требует прямых расчетов и последующего анализа параметров ракеты
при различных значениях pK.
Исследования показывают, что давление в камере сгорания,
отвечающее минимуму стартовой массы ракеты при заданных Lmax и mПН,
зависит в основном от свойств топлива, конструкционных материалов для
двигателя, относительной длины заряда
и находится в пределах 5…10 МПа.
Выбор давления на срезе сопла производится на основе следующих
соображений. Понижение p0 (до определенного предела) при неизменном
pK приводит к росту удельного импульса, но
одновременно требует увеличения длины сопла, а стало быть, массы сопла и массы
основного отсека. Суммарное влияние давления pa таково, что существует вполне
определенное значение давления, при котором для обеспечения заданной дальности
полета Lmax требуется ракета наименьшей массы.
Оптимальные значения pa
лежат обычно в пределах 0,05…0,09 МПа. Причем чем больше дальность пуска, тем
меньше оптимальное значение pa, а
меньшему значению pa соответствует и меньшее наивыгодное
значение давления в камере сгорания pK.
При строгом подходе к решению задачи баллистического
проектирования описание наивыгоднейших значений pa и pK должно осуществляться совместно. Само
решение задачи тогда должно сводиться к прямому расчету стартовой массы m0 при различных сочетаниях pK и pa, построению графиков
и выбору такой комбинации pK и pa, при которой m0 = min, т.е. должна решаться задача оптимизации
параметров pK, pa по критерию минимума стартовой массы
ракеты m0.
Начальная тяговооруженность двигателя n0 предопределяет
величину ускорения ракеты, а стало быть, набора скорости, что приводит к
изменению гравитационных и аэродинамических потерь скорости и изменению
величины нагрузок, действующих на корпус ракеты. С увеличением n0 интегральные гравитационные потери уменьшаются (ракета быстро
удаляется от центра притяжения), суммарные аэродинамические потери возрастают
(ракета плотные слои атмосферы проходит с большой скоростью), нагрузки на
корпус ракеты также возрастают.
Изменение потерь скорости приводит к изменению потребного запаса
топлива
, изменению нагрузок на корпус ракеты
предопределяет изменение толщины стенок корпуса, а все вместе взятое влияет на
величину стартовой массы ракеты m0.
Отыскание оптимального значения n0 должно
сводиться к прямому расчету стартовой массы m0 при
различных значениях n0 и выбору из этой совокупности того значения, при котором
стартовая масса имеет минимальное значение.
Из опыта создания ракет можно рекомендовать следующие значения:
- для управляемых ракет с вертикальным стартом;
- для управляемых ракет с наклонным стартом.
Относительное удлинение заряда
во многом предопределяет тяговооруженность ракеты. Действительно,
тяга двигателя равна
,
где
площадь горящей поверхности, зависящая
как от формы заряда, так и его длины lз.
Оказывается, что ракета с двигателем твердого топлива может
обладать хорошими характеристиками только при определенном сочетании свойств
топлива, формы заряда и его относительной длины.
Плотность твердых топлив
колеблется в пределах от 1700 до 2000 кг/м3. Выбор
формы заряда также ограничен. Поэтому большое значение имеет подбор топлив с
приемлемой скоростью горения u и выбор
относительной длины заряда
.
Расчеты показывают, что рациональное значение
лежит обычно в пределах 3…5. Задача
состоит в подборе такого сочетания формы заряда и скорости горения, которое
обеспечило бы близкое к оптимальному удлинение заряда. Для решения данной
задачи получим уравнение, связывающее эти параметры.
По определению, нагрузка на миделево сечение
. (1.17)
Тяга двигателя у Земли
, (1.18)
где
площадь горящей поверхности,
рассчитываемая по выражению
.
Коэффициент формы заряда kФ представляет собой отношение площади
горящей поверхности канального заряда к длине канального заряда, а
диаметр внутреннего канала.
При проектировании канально-щелевого, звездообразного заряда можно
принять kФ =1,8…3,0. Тогда нагрузка на миделево сечение запишется
. (1.19)
Здесь
показывает соотношение диаметров заряда и
ракеты. При проектировании можно принять, что
для скрепленного заряда и
для вкладного заряда.
Имея в виду условие прочности заряда
, отношение
.
Тогда окончательно можно записать
Па.
Порядок предварительного выбора значений проектных параметров
следующий:
. Выбираются значения pK и pa.
В работе принимаем pK =
8 МПа, а pa =0,07 МПа.
. Для выбранного типа топлива и значений pK, pa рассчитываются удельный импульс на Земле
и в пустоте
по выражениям (1.12) (1.13)
соответственно:
; *
.
. Рассчитывается скорость горения топлива u, соответствующая выбранному давлению в камере сгорания pK
м/с,
где
подставляется в МПа;
u1, n - некоторые константы для данного топлива
(таблица 1.2).
. Выбирается значение начальной тяговооруженности n0, исходя из типа проектируемой ракеты (n0
принимаем равным 4).
. Из области рациональных значений 3…5 выбирается относительное
удлинение заряда
. Большему значению тяговооруженности
соответствует большее значение
. Допускается относительная длина заряда до 7 единиц.
. По формуле (1.17) рассчитывается нагрузка на миделево сечение.
Если PM оказывается в пределах (0,6…1,2)×105 Па для управляемой ракеты,
то предварительный выбор проектных параметров можно считать удавшимся. В
противном случае следует пересмотреть значения проектных параметров.
Кроме параметров pK, pa, n0,
, PM в уравнениях движения и в весовых
уравнениях будем использовать и другие параметры. В частности:
идеальное время работы двигателя
c;
текущее значение относительной массы ракеты
,
причем
относительная масса ракеты в конце
активного участка траектории, равная (с учетом времени работы двигателя
)
.
При пуске на максимальную дальность в конце активного участка
траектории топливо должно все выгореть, поэтому относительный запас топлива
,
где
коэффициент, учитывающий достартовый и
гарантийный запасы топлива.
Одна и та же дальность полета может обеспечиваться при различных
сочетаниях проектных параметров pK, pa, n0,
. Но изменение сочетания проектных
параметров влечет изменение стартовой массы и размеров ракеты. Задачу по
отысканию сочетания проектных параметров, обеспечивающих наиболее приемлемый
вариант ракеты, называют задачей оптимизации проектных параметров. Она может
быть сформулирована следующим образом.
Определить значения проектных параметров pK, pa, n0,
, которые при выбранных
конструктивно-компоновочной схеме ракеты, типе топлива, конструкционных
материалах, законе управления, а также заданных Lmax и mПН
обеспечивают наименьшее значение стартовой массы ракеты m0.
В принципиальном плане данная постановка задачи не вызывает особых
трудностей ее решения. Трудности обусловлены огромным объемом вычислений,
которые немыслимы без использования ЭВМ.
В первом разделе приведена классификация управляемых
баллистических ракет и требования предъявляемые к ним. Управляемые
баллистические ракеты классифицируются по ряду признаков: по месту старта и
цели; по боевому назначению; по типу двигателя; по типу СУ; по числу ступеней и
способам их соединения.
Тактико-технические требования основываются на анализе боевого
применения проектируемой ракеты и должны учитывать накопленный опыт создания
аналогичных ракет, а также технические возможности. Конечной целью разработки
ракеты является достижение максимальной эффективности ее действия как боевого
средства, удобства эксплуатации и технологичности изготовления. Кроме того, все
предъявляемые требования должны обеспечить безотказный пуск ракеты в заданное
время и ее полет по заранее рассчитанной программе. Особый акцент делается на
производственно-экономические требования. Тактико-технические требования,
предъявляемые к проектируемой ракете значительно выше, чем требования,
предъявляемые к предыдущим ракетам того же класса. Заказчику нужна ракета,
имеющая небольшие габариты и массу с высокой точностью попадания. Ракета должна
использоваться в различных климатических условиях, и в любой местности.
Кроме того, в первом разделе дипломной работы проведен выбор и
обоснование схемы ракеты.
Прежде чем приступить непосредственно к расчету стартовой массы и
геометрических размеров, необходимо провести баллистический расчет.
Основной целью баллистического расчета является определение
относительного потребного минимального запаса топлива
, обеспечивающего достижения требуемой
дальности Lmax. Решение данной задачи основывается на
анализе уравнений движения ракеты, которые в зависимости от принятых допущений
могут иметь различную степень сложности.
2. Баллистический расчет
2.1 Уравнения движения ракеты
При проектировании рассматривают упрощенные уравнения движения
центра масс ракеты относительно стартовой системы координат, связанных с
Землей, которую считают неподвижной. Будем пренебрегать боковым движением и
влиянием вращательного движения ракеты на дальность. Кроме того, для
управляемой ракеты будем считать СУ идеальной, т.е. в каждый момент времени
угол тангажа u равен своему
программному значению.
Для вывода уравнений движения на активном участке траектории
рассмотрим схему сил, действующих на ракету (рисунок 2.1). Движение будем
рассматривать в центральном поле тяготения относительно осей прямоугольной
стартовой системы координат, начало которой совпадает с точкой старта.
При принятых допущениях уравнения движения примут вид:
(2.1)
где m - текущие значение массы ракеты;
P - сила тяги двигателя;
RX, RY - сила лобового сопротивления и подъемная
сила;
u - угол тангажа;
θ - угол наклона вектора скорости к плоскости
стартового горизонта;
h - полярный угол;
g - ускорение свободного падения.
Рисунок 2.1 - Траектория движения ракеты
Поскольку при решении прямой задачи баллистического
проектирования характеристики ракеты неизвестны, то преобразуем уравнения
движения так, чтобы они были записаны через проектные параметры.
Относительная масса ракеты
,
где
идеальное время.
Тогда текущее значение массы рассчитывается по формуле
.
Сила тяги ракетного двигателя равна
,
где
,
сила тяги в пустоте и на Земле соответственно;
,
давление воздуха на данной высоте и на
поверхности Земли соответственно.
Считаем, что атмосферное давление
меняется с высотой согласно принятой модели атмосферы.
Учитывая, что
,
найдем
,
где
,
значения удельного импульса в пустоте и на Земле, являющегося
характеристикой топлива и выбранных значений давления в камере сгорания и на
срезе сопла.
Известно, что сила лобового сопротивления определяется по формуле
.
Тогда
.
По аналогии можно записать, что
.
Пользуясь понятием коэффициента перегрузки
(
), уравнения движения (2.1) ракеты можно записать в виде
(2.2)
где
(2.3)
Система дифференциальных уравнений (2.2) оказывается оправданной
как для активного, так и для пассивного участков траектории. Необходимо лишь
иметь ввиду, что на активном участке траектории
, а на пассивном
. Кроме того, относительная масса ракеты на пассивном участке
траектории неизменна, т.е.
.
Для целей расчета корпуса ракеты на прочность нужны значения
коэффициентов перегрузки по осям связанной системы координат
(2.4)
Для определения правых частей дифференциальных уравнений в
соответствии с рисунком 2.1 имеем
;
;
В начальный момент времени, т.е. в точке старта ракеты, когда
естественно необходимо принять
, где
начальный угол тангажа (угол старта ракеты).
Коэффициенты аэродинамической силы СX и CY можно рассматривать по приближенным
зависимостям
(2.5)
где
(2.6)
(2.7)
(2.8)
;
. (2.9)
2.2 Определение составляющих стартовой массы ракеты
Задача определения стартовой массы ракеты однозначного
решения не имеет, так как масса ракеты включает массу многих отдельных
элементов.
Стартовая масса ракеты m0 обычно определяется из уравнения
существования ракеты. Необходимо определить относительную массу проектных
частей корпуса ракеты
, которые определяются на основе метода
весового подобия по существующим прототипам ракет с учетом статистических
данных. Стартовая масса ракеты представляется в виде масс, так называемых
проектных частей.
Для проектируемой ракеты с РДТТ:
, (2.10)
где mПО - масса приборного отсека;
mдв - масса
двигателя;
mТ - масса
топлива;
mХО - масса
хвостового отсека;
mОУ,С -
масса органов управления и стабилизации;
mарм -
масса арматуры;
mПН - масса
полезной нагрузки, равная
. (2.11)
Разделив правую и левую части уравнения на m0 и решив уравнение относительно m0, получим
уравнение существования ракет - уравнение Балховитинова
, (2.12)
где
коэффициент качества двигателя;
относительная масса конструкции, определяемая по формуле
. (2.13)
В выражении (2.13) приняты следующие обозначения:
относительные массы i-х отсеков;
относительная масса приборного отсека;
относительная масса хвостового отсека;
относительная масса органов управления и стабилизации;
относительная масса арматуры.
Исходя из исходных данных задания
кг и
кг масса полезной нагрузки проектируемой
ракеты (2.11) равна
кг.
Известно, что коэффициент качества двигателя для управляемых
баллистических ракет лежит в пределах от 0,2 до 0,25. Для проектируемой ракеты
принимаем
.
Относительные массы приборного, хвостового отсеков и других
элементов конструкции зависят от стартовой массы ракеты и определяются из
графиков, полученных на основе прямых расчетов и данных прототипа
;
;
;
.
По формуле (2.13) определяем относительную массу конструкции
.
Имея относительный запас топлива
по выражению (2.12) определим стартовую массу ракеты
кг.
Масса отдельных проектируемых частей и отсеков определяется
на основе стартовой массы, т.е.
. (2.14)
Тогда
кг;
кг;
кг;
кг;
кг;
кг.
Таким образом, общая масса ракеты равна
кг.
2.3 Определение геометрических характеристик ракеты
Геометрические размеры ракеты с РДТТ определяются размерами,
входящих в него частей, а именно - БЧ, приборного и хвостового отсеков, а также
двигательной установки. В частности выражение для расчета общей длины ракеты
может быть представлено в виде
,
где lГЧ - длина головной части;
lПО - длина
приборного отсека;
lКС - длина
камеры сгорания двигательной установки;
lХО - длина
хвостового отсека.
Основными параметрами, характеризующими геометрические размеры
РДТТ, являются его длина и диаметр. Диаметр двигателя, как правило, равен
диаметру ракеты. Числовые значения этих величин могут быть получены по
соответствующим формулам:
;
,
где lз - длина заряда твердого топлива;
lСБ - длина
соплового блока;
наружный диаметр заряда (без бронировки);
коэффициент увеличения двигателя по сравнению с длиной заряда;
коэффициент, учитывающий бронировку заряда и толщину камеры
сгорания.
В дальнейших расчетах принимаем
и
.
Как правило, приборы, находящиеся в хвостовом отсеке,
размещены вокруг соплового блока, поэтому длина хвостового отсека совпадает с
длиной соплового блока.
В качестве заряда выбираем скрепленный заряд, поэтому щели на
заряде расположены по его торцам.
Исходными данными для расчета являются:
характеристика заряда: скрепленный, с торцевым расположением
четырех щелей, бронированный по наружной поверхности и заднему торцу;
- стартовая масса ракеты
кг;
масса топлива
кг;
удлинение заряда
;
время работы двигателя
с;
сила тяги на Земле, равная
Н.
Толщина горящего свода определяется по следующему выражению
м. (2.15)
С учетом диаметра воспламенителя, определенного из условия
прочности, диаметр заряда равен
, (2.16)
где
.
Принимаем
, тогда
м.
Для определения диаметра внутреннего канала твердотопливного
заряда необходимо обеспечить выполнение двух условий. Первое - обеспечение
устойчивости горения твердотопливного заряда и второе - обеспечение его
прочности.
Из условия обеспечения устойчивости горения диаметр внутреннего
канала рассчитывается по формуле вида
. (2.17)
Принимаем
, тогда
м.
Из условия обеспечения прочности заряда диаметр внутреннего канала
определяется по следующему выражению
м. (2.18)
Окончательно принимаем диаметр канала
м.
Площадь поверхности горения заряда равна
м2. (2.19)
По статистическим данным ширина щели равна
м. (2.20)
Длина заряда со щелями на одном торце
, (2.21)
м.
После того, когда определена длина заряда, необходимо
уточнить удлинение заряда
. (2.22)
Определяем глубину щелей
м. (2.23)
Диаметр двигателя рассчитывается по формуле
м. (2.24)
Длина двигателя равна
м. (2.25)
Длина БЧ определяется на основе данных об аналогах и
прототипах, а именно
м. (2.26)
Аналогично определяется длина приборного отсека
м. (2.27)
Учитывая, что длина хвостового отсека равна длине соплового блока,
получим
м. (2.28)
В заключение необходимо рассчитать относительное удлинение ракеты
м. (2.29)
Таким образом, закончено общее проектирование ракеты, т.е.
определены ее масса, масса составных частей, геометрические размеры всей ракеты
и ее элементов.
Таким образом, во втором разделе дипломной работы по заданным
исходным данным: максимальной дальности пуска
км и массе полезной нагрузки
510 кг, а также данным, полученным в первом разделе, проведен
баллистический расчет проектируемой ракеты с использованием ЭВМ. В результате
получена величина относительного запаса топлива
, которая в дальнейшем использована для расчета геометрических и
массовых характеристик ракеты.
Получены следующие характеристики спроектированной
одноступенчатой твердотопливной ракеты:
длина - 8,38 м;
диаметр - 0,84 м;
масса ракеты - 3911 кг;
относительное удлинение ракеты - 9,94.
3. Конструирование ракеты
С отрицательными последствиями конструкции ракеты с
отделяемой БЧ приходиться мириться, т.к. для ракет с большими дальностями
полета преимущество, заключающееся в величине стартовой массы ракеты более
существенно. И связано это со следующими факторами.
Известно, что чем больше дальность полета ракеты, тем большую
скорость она должна иметь в конце АУТ. Аэродинамические нагрузки пропорциональны
квадрату скорости, а тепловые - изменяются примерно по закону кубической
параболы.
Плотные слои атмосферы АУТ все ракеты (независимо от
дальности) проходят практически с одинаковыми скоростями (скорость всех ракет в
пределах высоты от земли до 20 км изменяется от нуля до некоторой величины
примерно для всех ракет с одинаковым темпом). Из этого следует, что
максимальные аэродинамические и тепловые нагрузки АУТ различных ракет примерно
одинаковы.
В плотные слои атмосферы ПУТ различные ракеты входят с разными
скоростями. Если ракета большой дальности пуска, то она в разреженных слоях
атмосферы приобрела большую скорость и с этой скоростью входит в плотные слои.
Если же дальность пуска небольшая, то она входит в плотные слои ПУТ примерно с
такой же скоростью, что и прошла АУТ (рисунок 3.1).
Рисунок 3.1 - К определению целесообразности отделения БЧ
Таким образом, максимальные нагрузки ПУТ существенно зависят
от дальности пуска. Откуда следует, что при пусках на дальности до 300 км,
максимальные нагрузки АУТ и ПУТ соизмеримы и корпус ракеты рассчитывается на
эти максимальные нагрузки.
При дальности более 300 км максимальные нагрузки ПУТ
значительно больше нагрузок АУТ и чем больше дальность полета, тем больше эта
разность. Тогда оказывается, что масса корпуса ракеты, рассчитанной по
нагрузкам ПУТ, будет больше массы ракеты, рассчитанной по нагрузкам АУТ.
Например, тепловые потоки, подводимые к корпусу ракеты на ПУТ
при дальностях чуть более 300 км в пять раз превышают тепловые потоки АУТ. При
дальности 600 км тепловые потоки ПУТ уже в десять раз превышают тепловые потоки
АУТ.
В связи с изложенным выше, корпус боевой и ракетной части
(если БЧ неотделимая) требуется защищать от действия высоких температур при
полете на ПУТ, применяя теплозащитные покрытия, за счет чего увеличивается
масса ракеты. Здесь необходимо отметить, что с увеличением дальности пусков вес
теплозащитного покрытия ракеты увеличивается по закону кубической параболы.
Применение отделяемой в полете БЧ исключает необходимость
усиления и применения теплозащитного покрытия корпуса ракетной части, поскольку
он рассчитывается на нагрузки АУТ, которые (при больших дальностях) гораздо
меньше нагрузок ПУТ. Корпус ракетной части оказывается более легким, а,
следовательно, стартовая масса ракеты уменьшается.
Для ракеты с отделяемой в полете БЧ отпадает необходимость в
стабилизирующем оперении, поскольку стабилизация на АУТ обеспечивается системой
управления, а на ПУТ в стабилизации нуждается лишь БЧ.
Следовательно, применение отделяемой в полете БЧ для ракет
большой дальности пуска является не только целесообразным, но и необходимым.
Для управляемых в полете на АУТ твердотопливных ракет
отделение БЧ является желательным ввиду необходимости борьбы с нестабильным по
величине импульсом последействия при выключении двигателя.
Большой разброс импульса последействия в ракетах с РДТТ
является основной причиной низкой точности пусков, что делает целесообразным
применение отделяемых БЧ при меньших, чем у ракет с ЖРД, дальностях пуска.
Таким образом, применение отделяемых в полете БЧ позволяет
уменьшить стартовую массу ракеты и повысить точность пусков.
Кроме того, применение отделяющихся БЧ увеличивает
вероятность преодоления противоракетной обороны противника, т.к. усложняется
задача опознавания цели, поскольку корпус ракеты и БЧ движутся по различным
траекториям. Радиус зоны поражения, в которой корпус отделяющейся БЧ может
подвергнуться механическому разрушению, меньше радиуса зоны поражения корпуса
ракеты, имеющего обычно меньшую, чем у БЧ, прочность и жесткость.
3.1 Требования, предъявляемые к системам отделения и
их принципиальные схемы
К системам разделения относят системы отделения БЧ, системы
разделения ступеней и системы сброса хвостовых отсеков или различного рода
обтекателей. Принципиально все эти системы идентичны.
Система отделения БЧ предназначена для ее надежного крепления
к корпусу ракеты при помощи быстроразъемного устройства, а также для отделения
БЧ в конце АУТ.
Система отделения должна обеспечивать выполнение следующих
основных требований:
надежное крепление БЧ к корпусу при наземной эксплуатации и в
полете;
должна быть компактной и иметь небольшую массу;
должна обеспечивать надежное отделение БЧ и минимальное ее
возмущение при разделении;
должна быть безопасной и простой в эксплуатации.
Заметим, что под надежным понимают такое отделение, при
котором исключается догон отделившейся БЧ корпусом ракеты, а следовательно, и
их взаимное соударение. Для этого энергия, используемая для отделения должна
быть достаточной, а само отделение происходить в расчетный момент времени по
команде СУ.
Не выполнив эти условия, отделение может не произойти вовсе,
или БЧ получит чрезмерные возмущения, существенно изменяющие параметры ее
движения и увеличивающие рассеивание.
В процессе отделения относительное ускорение, скорость и
перемещение корпуса ракеты и БЧ должны быть стабильными от ракеты к ракете и
возможно ближе соответствовать расчетным; отклонение их от расчетных приводит к
рассеиванию точек падения БЧ.
Требование минимальных возмущений является определяющим при
выборе принципиальной схемы системы отделения применительно к конкретной
ракете. Учитывают это требование и при выборе момента отделения.
При отделении БЧ может получить два вида возмущений:
отклонение вектора абсолютной линейной скорости и угловые скорости вращения
относительно ее ЦМ.
Основной причиной, вызывающей отклонения вектора абсолютной
скорости, является разброс таких параметров, как импульс тяги последействия
двигателя, время срабатывания системы отделения, масса ракеты в момент
отделения, энергетические характеристики системы отделения.
Причинами появления угловых скоростей вращения БЧ вокруг
собственного ЦМ могут быть: упругие поперечные колебания корпуса ракеты в
период отделения, наличие эксцентриситета тяги последействия и эксцентриситета
в действии сил механизмов отделения. Заметим, что возмущения вектора абсолютной
скорости приводят к отклонению точек падения в результате рассеивания
траекторий всего ПУТ, тогда как угловые скорости вращения БЧ, вызывают отклонение
точек падения в результате рассеивания траекторий лишь на атмосферном ПУТ
вследствие ухудшения условия стабилизации БЧ.
Надежность крепления БЧ к корпусу ракеты должна
обеспечиваться на всех этапах эксплуатации от момента пристыковки до момента
отделения. Детали средств крепления должны быть рассчитаны на нагрузки,
возникающие при работах с ракетой при подготовке ее к пуску, при пуске и на
активном участке траектории. Средства крепления БЧ ракет подвижных ракетных
комплексов, кроме того, необходимо рассчитывать на нагрузки, возникающие при
транспортировке.
Компактность и небольшая масса системы являются очень важными
для ракет, поскольку увеличение массы конструкции ракеты уменьшает дальность
полета, а увеличение габаритов может ухудшить ее аэродинамические
характеристики и условия эксплуатации. Желательно, чтобы устройства системы
отделения не требовали специальных объемов внутри отсеков, а использовали
объемы корпуса ракеты, остающиеся незаполненными. При размещении агрегатов
системы отделения над обводом ракеты особенно важно, чтобы их габариты были
небольшими в целях уменьшения аэродинамических сил.
Система отделения состоит из механизма крепления БЧ к корпусу
ракеты, механизма разведения и элементов электроавтоматики.
Первые крепят БЧ к корпусу ракеты и освобождают БЧ от
некинематической связи с корпусом в момент отделения. Вторые сообщают
относительное движение БЧ и корпусу. Для сообщения относительного движения
механизмы отделения используют либо энергию, аккумулированную в них, либо
энергию встроенного потока воздуха.
В качестве средств крепления БЧ к корпусу ракеты обычно
применяются быстроразъемные устройства:
разрывные болты;
шариковые замки;
цанговые замки;
клеммные кольца.
Для ориентации БЧ и корпуса ракеты используются направляющие
штыри или шпильки. Разрывные болты, шариковые и цанговые замки, клеммные кольца
работают только на растяжение. Направляющие шпильки работают на срез,
воспринимая перерезывающие силы и крутящие моменты.
Разрывные болты имеют осевой канал, заполненный
пиротехническим составом с воспламенителем, дающим форс пламени, для поджига
пиротехнического состава. Канал герметизируется. В момент разделения
электрический сигнал подается на воспламенитель, происходит воспламенение
пиротехнического состава с выделением большого количества газов, благодаря чему
создается высокое давление в канале разрывного болта. От сил давления болт
разрывается по ослабленному поперечному сечению (сечение с кольцевой проточкой)
и силовая связь двух элементов, скрепленных болтом, нарушается. Разрывные болты
просты по устройству, имеют небольшую массу, однако, при большем количестве
(более трех) болтов трудно обеспечить одновременность их разрыва. Кроме того,
при затяжке разрывные болты требуют применения моментных ключей.
Шариковые замки осуществляют силовую связь между скрепляемыми
деталями при помощи шариков, часть поверхности которых опирается на выступы
одной детали, а другая часть - на элемент второй детали.
Утапливая шарики в одну из деталей, нарушается силовая связь
с другой деталью и происходит их быстрое рассоединение.
Цанговые замки осуществляют силовую связь между скрепляемыми
элементами с помощью цангового захвата.
Шариковые и цанговые замки сложнее по конструкции, чем
разрывные болты. Их масса больше массы разрывных болтов, однако, они позволяют
быстрее соединить детали друг с другом, чем с помощью разрывных болтов.
Разрывные болты, шариковые и цанговые замки могут применяться
по одному (при расположении их на продольной оси БЧ корпуса ракеты) или по
несколько штук.
В последнем случае они располагаются по периметру поперечного
сечения и соединяют между собой стыковочные шпангоуты и корпус ракеты. При
центральном расположении (на продольной оси БЧ) разрывные болты или шариковые
(цанговые) замки должны иметь большую массу, чтобы обеспечить прочность
(нераскрытие) стыка БЧ и корпуса. При расположении их по периметру шпангоуты
оказываются нагруженными сосредоточенными осевыми силами в местах постановки
шариковых (цанговых) замков и разрывных болтов, что требует усиления и
утяжеления шпангоутов.
Клеммные кольца выполняются из шарнирно-соединенных
сегментов, имеющих в поперечном сечении корытообразную форму, стяжного винта и
разрывных болтов, разрушающих кольцо. КК обеспечивает высокую надежность стыка
и разрушения силовой связи между отсеками за счет равномерно распределенной
нагрузки по периметру шпангоутов.
Нарушение механической связи БЧ с корпусом ракеты не
обеспечивает их надежного разделения. Для разделения БЧ с корпусом необходимо
приложить усилие. Это усилие создает механизм разведения.
В зависимости от места приложения и направления действия сил,
от действия которых происходит отделение БЧ, возможны три группы механизмов:
тормозящие (ускоряющие);
расталкивающие;
комбинированные.
Первый тип механизмов притормаживает корпус ракеты; второй -
расталкивает БЧ и корпус ракеты силами, действующими в направлении их
продольных осей; третий - сочетает расталкивание или притормаживание с
поворотом корпуса ракеты вокруг ЦМ.
Торможение ракетной части производится следующими средствами:
тормозными двигателями;
соплами противотяги;
аэродинамическими силами (тормозные щитки).
Система с тормозными двигателями практически не вызывает
возмущений БЧ и хотя является более тяжелой, чем любая расталкивающая система
находит широкое применение.
Сопла противотяги идентичны системе с тормозными двигателями.
Торможение корпуса РЧ аэродинамическими силами возможно на
ракетах, у которых отделение происходит в достаточно плотных слоях атмосферы.
Принципиально могут использоваться ускоряющий (двигатель на
БЧ) или комбинированный механизмы.
Расталкивающие механизмы действуют на БЧ и корпус силами в
направлении продольной оси ракеты. К таким устройствам относятся:
пружинные;
пневматические;
пороховые механизмы (толкатели).
Пружинный толкатель самый простой и надежный (но, как правило,
самый тяжелый) может выполняться в виде одной или нескольких автономных
толкателей - пружин.
Источником энергии пружинного толкателя является
потенциальная энергия сжатия пружины. Для пневматических и пороховых механизмов
источником энергии служит сжатый газ.
Пневмотолкатель представляет собой шток с поршнем, помещенный
в цилиндр, закрепленный на корпусе ракеты. Ось цилиндра совпадает с осью
ракеты. Отделение БЧ происходит в результате воздействия штока на БЧ в момент,
когда за поршнем создается необходимое давление при сравнительно малом весе.
Толкатель состоит из корпуса, стакана, цилиндра, порохового
заряда и электровоспламенителя. Корпус толкателя закреплен на крышке,
соединенный с задним шпангоутом, а стакан толкателя соединен гайкой со втулкой
рамы.
Рама состоит из шпангоута, труб и втулки. На трубах рамы
закреплены разъемы для электрической стыковки изделия с системой автоматики
ракетной части. Механическая стыковка боевой и ракетной частей производится
через шпангоут рамы БЧ аналогично стыковке штатных БЧ. На нисходящем участке
траектории по команде СУ на отделение БЧ срабатывают электровоспламенители, а
затем детонирующие дистанционные удлиненные заряды устройств разрезания
клеммного кольца, после чего через 0,1 с - электровоспламенитель толкателя.
Клеммное кольцо сбрасывается, рама с ракетной частью отделяется от БЧ, а через
0,1 с толкатель с требуемым усилием обеспечивает разведение БЧ и ракетной части
на требуемое расстояние. При этом расстыковываются отрывные разъемы и разобщают
цепи приборов боевой и ракетной частей.
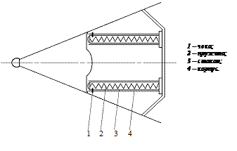
На рисунке 3.7 показана одна из возможных принципиальных схем
пружинного толкателя. Толкатели удерживаются во взведенном состоянии чеками 1,
фиксирующими стаканы 3 в корпусах 4. По окончании пристыковки БЧ чеки 1
удаляют, в результате стаканы 3 опираются на днище корпуса БЧ. При обрыве
разрывных болтов пружины 2 разжимаются и расталкивают БЧ и корпус ракеты.
Пружинные толкатели являются самыми тяжелыми из расталкивающих механизмов, но
зато и самыми простыми.
Рисунок 3.7 - Принципиальная схема пружинного толкателя
Для надежного разделения ракетной части и БЧ выбрали пружинный
расталкивающий механизм, как самый простой и надежный. Поэтому при дальнейшем
расчете механизма отделения БЧ остановимся именно на пружинном механизме
(толкатель).
3.2 Конструкция и расчет механизма отделения
Решая задачи расчета, сделаем следующие допущения:
угол атаки вследствие его малости полагаем равным нулю;
угловые колебания ракеты относительно поперечных осей в момент
отделения отсутствуют;
масса корпуса ракеты и аэродинамические силы за время отделения
остаются постоянными;
силами сопротивления штепсельных разъемов и пневматических за
малостью пренебрегаем.
Уравнение относительного движения имеет вид:
, (3.1)
где
относительное перемещение корпуса ракеты и
БЧ;
сила механизма отделения;
аэродинамические силы лобового сопротивления БЧ и корпуса ракеты;
сила тяги в период последействия;
масса БЧ и корпуса ракеты в момент отделения.
Допустим, что расталкивающий механизм включается в действие по
окончании периода последействия, поэтому тяга двигателя отсутствует (P = 0).
Необходимое условие отделения - получение положительного
относительного ускорения
, тогда из уравнения (3.1) имеем
,
откуда необходимая сила отталкивания будет равна
. (3.2)
При выполнении этого условия отделение произойдет, но не
исключается догон корпусом ракеты отделившейся БЧ. Таким образом, неравенство
(3.2) является необходимым, но недостаточным условием отделения.
Расчеты показывают, что резкое возрастание сил лобового
сопротивления происходит при отходе БЧ на некоторую длину L0. При этом лобовое сопротивление корпуса ракеты возрастает на
значительно большую величину (из-за волнового сопротивления, вышедшего из
аэродинамической тени переднего торца), чем лобовое сопротивление БЧ (в
результате появления донного разрежения). Их величины определяются диаметрами и
аэродинамическими формами БЧ и корпуса ракеты.
Таким образом, чтобы надежно определить БЧ, необходимо обеспечить
ее отход от корпуса ракеты на некоторую длину L0 (будем
назвать ее достаточной длиной отхода). Расчеты показывают, что длиной отхода L0 будет
м,
где
диаметр корпуса ракеты.
Выполнение этого условия и будет достаточным условием отделения.
Запишем уравнение относительного движения после окончания работы
механизма
, (3.3)
Начальными условиями для решения уравнения (3.3) будут
при
,
,
где
относительная скорость БЧ в конце хода
толкателя;
рабочий ход толкателя, который принимаем равным
м.
Решение уравнения (3.3) запишется так:

(3.4)
На пути хода толкателя от 0 до 10 скорость
возрастает от 0 до V0, а затем вновь падает до 0. Для надежного отделения в конце его
должно быть
при
,
. (3.5)
Если через
обозначить относительную скорость
отделения в конце хода толкателя, необходимую, чтобы обеспечить условия (3.5),
то систему (3.4) можно записать в виде
(3.6)
Решая систему (3.6) найдем требуемую относительную скорость в
конце хода толкателя
м/с. (3.7)
Рассмотрим далее методы определения действительной относительной
скорости движения БЧ в процессе работы механизма. Для этого запишем уравнение
(3.1) в несколько иной форме:
. (3.8)
Произведем замену переменных:
.
В результате получим дифференциальное уравнение с разделяющимися
переменными. Проинтегрировав его левую часть в пределах от 0 до V, а правую от 0 до 10, получим:
м/с, (3.9)
где
полная работа расталкивающего механизма.
Запишем выражения для определения работы AF, совершаемой пружинным толкателем. Сила
толкателя в этом случае падает в функции длины его хода по линейному закону
, (3.10)
а полная работа определяется из выражения
Дж, (3.11)
где
начальная сила пружины в исходном сжатом
состоянии.
Здесь предполагается, что в конце хода толкателя пружина окажется
полностью разжатой.
Подставив найденные для работы выражения в выражение (3.9),
получим формулы относительной скорости V0 в конце
работы толкателей в функции их конструктивных характеристик. Чтобы надежно
отделить БЧ, необходимо выполнить условие
.
Допустив
и воспользовавшись уравнениями (3.7)…
(3.11), найдем требуемые для этого значения расталкивающей силы:
.
Допустив в выражении (3.9) найдем
Н.
Выводы
При написании данного раздела произведен анализ и расчет
механизма отделения БЧ. Исходя из анализа и расчетов в качестве средств
крепления БЧ к корпусу применили быстроразъемные устройства: разрывные болты,
имеющие герметизированный осевой канал, заполненный пиротехническим составом с
воспламенителем. Из возможных трех групп механизмов отделения выбраны
расталкивающие механизмы, которые действуют на БЧ и корпус силами в направлении
продольной оси ракеты. В качестве расталкивающего устройства отделения
применили пружинный толкатель.
Пружинный толкатель выбран самый простой и надежный, который
выполнен в виде нескольких автономных пружин-толкателей. В результате
проведенного расчета расталкивающего механизма отделения БЧ получены следующие
данные:
- достаточная длина отхода
м;
требуемая относительная скорость в конце хода толкателя
м/с;
действительная относительная скорость движения БЧ
м/с;
полная работа пружинного толкателя
Дж;
требуемое значение расталкивающей силы
Н.
Заключение
В результате выполнения дипломной работы спроектирована
одноступенчатая твердотопливная ракета с отделяемой в полете БЧ, управляемая в
полете на всей траектории и предназначена для поражения объектов противника,
находящихся на удалении до 310 км.
Эксплуатация ракеты возможна при температуре от -40 до +500°С и влажности воздуха до
98%. Пуск ракеты осуществляется в любых погодных условиях при скорости ветра до
20 м/с.
Выбрана ККС ракеты, ее основные проектные параметры,
конструкционные материалы из которых изготавливаются корпуса отсеков, выбрано
смесевое топливо СТ 15/18 с высокими энергетическими характеристиками, что
позволило провести баллистический расчет и получить массовые и геометрические
характеристики ракеты:
стартовая масса ракеты m0 = 3911 кг;
масса топлива mТ = 2453,76 кг;
длина ракеты lp = 8,38 м;
диаметр ракеты dp = 0,84 м;
относительное удлинение
= 9,94 м.
Проведен баллистический расчет на ЭВМ, в результате которого определены
относительная масса ракеты
= 0,3849 и относительный запас топлива на борту
= 0,6247.
В соответствии с заданием на дипломную работу разработана система
отделения БЧ, обеспечивающая надежное крепление БЧ к корпусу ракеты с помощью
разрывных болтов. Эти механизмы крепления компактны, имеют небольшую массу,
безопасны в эксплуатации и обладают простой конструкцией. В качестве механизма
отделения БЧ разработанной ракеты были выбраны расталкивающие механизмы
отделения, а именно - пружинные механизмы (толкатели), т.к. они обеспечивают
надежное отделение БЧ и минимальное возмущение ее движения в процессе
отделения. В проектируемой ракете предложено использовать несколько автономных
пружинных толкателей.
В результате проведенного расчета механизма отделения БЧ,
вычислено необходимое и достаточное условие отделения, относительная скорость
БЧ после разделения, найдены требуемые значения расталкивающей силы,
обеспечивающие надежную работу расталкивающего механизма.
Спроектированная ракета полностью отвечает требованиям
современного ракетостроения и по своим характеристикам не уступает
соответствующим мировым аналогам.
Список источников
1.
Алемасов В.Е., Дрегалин А.Ф., Тишин А.П. Теория ракетных двигателей / Под ред.
В.Е. Алемасова. - М.: Машиностроение, 1989. - 464 с.
.
Белов Г.В. Основы проектирования ракет. - М.: Машиностроение, 1980. - 345 с.
.
Выбор и расчет основных параметров РДТТ: Методические рекомендации по курсовому
и дипломному проектированию. - МО СССР, 1983. - 231 с.
4.
Золин Б.И., Савин Н.В. Основы теории и конструкции ракет. - М.: Военное издательство
МО СССР, 1971. - 324 с.
.
Конструкция управляемых баллистических ракет/ Под ред. А.М. Синюкова. - М.:
Военное издательство МО СССР, 1999. - 444 c.
6.
Методические рекомендации по проектированию тактических ракет. - Саратов:
СВВКИУ РВ, 1980. - 48 с.
7.
Николаев О.М. Инженерное проектирование управляемых баллистических ракет с
РДТТ. - М.: Воениздат, 1979. - 276 с.
.
Разумеев В.Ф., Ковалев Б.К. Основы проектирования баллистических ракет на
твердом топливе. - М.: Машиностроение, 1976. - 356 с.
9.
Синюков А.М. Баллистические ракеты на твердом топливе. - М.: Воениздат, 1980. -
178 с.
.
Фахрутдинов И.Х. Ракетные двигатели твердого топлива. - М.: Машиностроение,
1981. - 223 с.