Проектирование летательных аппаратов с жидкостным реактивным двигателем и твердотопливным реактивным двигателем на максимальную дальность
Аннотация
Приходько А.Е. Проектирование летательных аппаратов с жидкостным
реактивным двигателем и твердотопливным реактивным двигателем на максимальную
дальность: Курсовой проект по дисциплине «Основы проектирования летательных
аппаратов» - Челябинск: ЮУрГУ, 2014г. - 51с., 7 илл., 5 таб., библиография
литературы - 2 наименования.
В данном курсовом проекте решаются обратная задача баллистического
проектирования двухступенчатой ракеты с ЖРД и трёхступенчатой ракеты с РДТТ.
Расчёт ведётся на максимальную дальность при заданных стартовой массе и массе
полезной нагрузки. После
этих расчётов проведён анализ графических зависимостей дальности от давлений в
камере сгорания и на срезе сопла.
Оглавление
Введение
. Расчет баллистической ракеты
с ЖРД
.1 Исходные данные
.2 Выбор
конструктивно-компоновочной схемы ракеты
.3 Определение характеристик
топлива
.4 Выбор проектных параметров и
программы движения ракеты
.5 Расчет удельных импульсов
двигателей
.6 Определение относительных
масс топлива
.7 Баллистический расчет
.8 Массовые характеристики
ракеты
.9 Геометрические характеристики
ракеты
.10 Тяговые характеристики ракеты
.11 Исследование влияния давления
в камере сгорания первой ступени на максимальную дальность
. Расчет баллистической ракеты
с РДТТ
.1 Исходные данные
.2 Выбор
конструктивно-компоновочной схемы ракеты
.3 Характеристики топлива и
материалов
.4 Выбор проектных параметров и
программы движения ракеты
.5 Расчет удельных импульсов
двигателей
.6 Определение относительных
масс топлива
.7 Баллистический расчет
.8 Массовые характеристики
ракеты
.9 Геометрические характеристики
ракеты
.10 Тяговые характеристики ракеты
.11 Исследование влияния давления
в камере сгорания первой ступени на максимальную дальность
Вывод
Список использованной литературы
Введение
Целью выполнения курсовой работы по проектированию баллистических ракет
является освоение основ процесса создания
ракетных систем, получение знаний, умений и навыков практического решения задач баллистического
проектирования на ранних стадиях
разработки ракет и ракетных комплексов.
В работе используется приближенный метод решения,
основанный на эмпирических зависимостях и коэффициентах, полученных на основе статистической
обработки опытных данных ракетостроения, а также выявление основных факторов,
оказывающих влияние на те или иные характеристики проектируемой ракеты.
В ходе решения задачи баллистического проектирования выбираются
конструктивно-компоновочная схема ракеты, проектные параметры, определяются
основные характеристики топлива, удельные импульсы ступеней, рассчитываются
массовые характеристики ракеты, выбирается программа выведения.
Методика, изложенная в [1] может использоваться на стадии технических
предложений (предэскизного проектирования). Достоинствами этой методики по
сравнению с точной, являются малая трудоемкость и наглядность.
1. Расчет
баллистической ракеты с ЖРД
.1 Исходные
данные
Спроектировать двухступенчатую ракету c ЖРД на максимальную дальность со следующими исходными
данными:
-
масса полезной нагрузки
= 1800 кг,
стартовая
масса ракеты
= 40000 кг,
компоненты
топлива: азотный тетраоксид (N2O4) и
аэрозин-50.
.2 Выбор
конструктивно-компоновочной схемы ракеты
Целесообразно выбрать ракету с несущими баками. Баки имеют общее днище.
Топливные отсеки выполнены из алюминиево-магниевого сплава АМг-6 и имеют
вафельную конструкцию. Боевая часть управляемая. Будем полагать, что каждая
ступень ракеты снабжена двигательными установками замкнутой схемы, первая
ступень - четырехкамерная, вторая ступень - однокамерная. Камеры сгорания
закреплены в кардановых подвесах и могут отклоняться на небольшой угол от оси
ракеты. Это обеспечивает управление полетом первой ступени по тангажу, рысканию
и крену. Для управления по крену второй ступени используются дополнительные
газовые сопла.
Каждая камера сгорания имеет собственные турбонасосный агрегат (ТНА) и
жидкостный газогенератор (ЖГГ), работающие на основных компонентах. ТНА каждой
камеры закреплен непосредственно на головке камеры и поворачивается вместе с
нею.
Для поворота камер используют по две рулевые гидравлические машины,
рабочей жидкостью в которых служит само горючее, отбираемое из магистрали
высокого давления. Наддув баков осуществляется газами от ТНА.
1.3 Определение
характеристик топлива
Основные характеристики топлива выбираем из таблицы [1]:
-
стандартный расчетный удельный импульс
= 2858
м/с;
газовая
постоянная
= 366 Дж/кг×град;
показатель
адиабаты
= 1,176;
стандартная
температура горения
= 3353° К;
плотность
окислителя
= 1443 кг/м3;
плотность
горючего
= 899 кг/м3;
плотность
топлива
= 1193 кг/м3;
коэффициент
массового соотношения окислителя и горючего
= 2,015.
ракета
баллистический движение дальность
1.4 Выбор
проектных параметров и программы движения ракеты
В соответствии с рекомендациями [1], принимаем следующие величины
проектных параметров:
-
начальная тяговооруженность первой ступени ракеты
= 1,8;
начальная
тяговооруженность второй ступени ракеты
= 1,2;
давление
в камере сгорания двигателя первой ступени
= 25
МПа;
давление
в камере сгорания двигателя второй ступени
= 22
МПа;
давление
на срезе сопла двигателя первой ступени
= 0,05
МПа;
давление
на срезе сопла двигателя второй ступени
= 0,01
МПа.
Коэффициент
соотношения относительных масс топлива
, а также
коэффициент соотношения стартовых масс
определяем
из условия обеспечения максимальной дальности полета
.
Диаметр
корпуса ракеты:
(1.1)
Приняв
относительную длину ракеты
=10, а
среднюю плотность
=820 кг/м3,
получаем:
м.
Принимаем
=1,9 м.
В
этом случае начальная поперечная нагрузка на мидель ракеты:
(1.2)
кг/м2.
Программа
движения ракеты на активном участке траектории описывается зависимостью:

(1.3)
где
- относительная масса израсходованного топлива,
зависящая от времени полета.
Угол
наклона вектора скорости к местному горизонту в конце активного участка
траектории определяем по зависимости:
(1.4)
Значение
коэффициента силы лобового сопротивления ракеты в зависимости от числа Маха при
проектных расчетах характеризуется зависимостью:
(1.5)
.5 Расчет
удельных импульсов двигателей
Удельные импульсы двигателей на расчетном режиме:
, (1.7)
где
=0,95 - коэффициент, учитывающий несовершенство
процессов в камере сгорания:
(1.8)
(1.9)
Так
как для заданного топлива показатель адиабаты
= 1,176,
то:
Для
двигателя первой ступени:
м/с.
Для
второй ступени:
м/с.
Удельные
импульсы двигателей в пустоте:
(1.10)
где
- температура горения топлива в К.
Таким
образом, температура горения топлива:
Удельный
импульс на Земле для двигателя первой ступени ракеты вычисляем по формуле:
(1.11)
Коэффициент
''пустотного'' приращения:
(1.12)
.6 Определение
относительных масс топлива
Вначале
найдем оптимальное соотношение масс ступеней. Для этого вычислим стартовую
массу второй ступени для ряда значений относительной массы топлива первой
ступени
. Выбираем диапазон изменения
= 0,55 - 0,8. Стартовая масса второй ступени:
(1.13)
где
- удельная плотность двигательной установки ЖРД i-ой
ступени, включающая удельные плотности составляющих двигательной установки,
вычисляемые с размерностью кг/кН тяги;
-
коэффициент пропорциональности массы хвостового отсека;
-
относительная толщина стенки бака (для баков из алюминиевого сплава 3×10-3);
-
плотность материала (для баков из алюминиевого сплава 2700 кг/м3).
-
диаметр.
В
свою очередь:
(1.14)
где
- удельная плотность камеры сгорания;
-
удельная плотность ТНА;
-
удельная плотность газогенератора;
-
удельная плотность трубопровода;
-
удельная плотность арматуры;
-
удельная плотность рамы.
(1.15)
Значения
удельных плотностей составляющих определяются по формулам:
(1.16)
; (1.17)
; (1.18)
; (1.19)
; (1.20)
=0,102.
где
- массовый секундный расход двигательной установки i-ой
ступени;
- тяга
двигательной установки i-ой ступени в кН;
-
давление подачи топлива в камеру сгорания i-ой ступени в МПа.
Тяга
двигательной установки первой ступени:
; (1.21)
Массовый
секундный расход двигательной установки первой ступени:
(1.22)
Давление
подачи топлива в камеру сгорания:
(1.23)
;
;
Коэффициент
пропорциональности массы хвостового отсека
для
ракет рассматриваемого класса принимаем равным 0,016, тогда:
В
случае использования многокамерной двигательной установки значение параметра
необходимо увеличить на 10-20%.
Так
как в нашем случае первая ступень имеет четырехкамерную двигательную установку,
то:
Далее
вычисляем массу второй ступени
с
различными значениями относительной массы топлива первой ступени
, т.е. для
=0,55;0,6…0,8:
Оптимальному
распределению стартовой массы по ступеням ракеты будет соответствовать
наибольшее (максимальное) значение приведенного коэффициента заполнения ракеты
топливом:
(1.24)
Для
определения
необходимо вычислить относительную массу топлива
второй ступени
для каждой величины массы второй ступени
.
. (1.25)
Для
определения значений
нужно предварительно вычислить для каждого из
выбранных величин
значения удельной плотности двигательной установки
второй ступени
и ее составляющих -
,
,
,
,
,
, массового секундного расхода двигательной установки
второй ступени
, тяги двигательной установки второй ступени
.
Тяга
двигательной установки второй ступени:
. (1.26)
Массовый
секундный расход двигательной установки второй ступени:
(1.27)
Удельная
плотность двигательной установки второй ступени:
(1.28)
а
удельные плотности ее составляющих:
(1.29)
; (1.30)
; (1.31)
; (1.32)
; (1.33)
=0,102.
Вычисляем
их значения:
Удельная
плотность трубопровода:
Удельная
плотность арматуры:
Таким
образом, удельная плотность двигательной установки:
Теперь
можно найти значения относительной массы топлива второй ступени
:
Таким
образом, приведенные коэффициенты заполнения ракеты топливом для каждого
варианта расчета:
Коэффициент
соотношения относительных масс топлива находим следующим образом:
(1.34)
А
коэффициент соотношения стартовых масс:
(1.35)
Все
полученные расчетные данные сведены в таблицу1.
Таблица
1 - характеристики ракеты
|
Параметр
|
N варианта
|
|
1
|
2
|
3
|
4
|
5
|
6
|
|
404040404040
|
|
|
|
|
|
|
|
1,81,81,81,81,81,8
|
|
|
|
|
|
|
|
706,32706,32706,32706,32706,32706,32
|
|
|
|
|
|
|
|
1,4531,
4531, 4531, 4531,
4531, 453
|
|
|
|
|
|
|
|
0,0160,0160,0160,0160,0160,016
|
|
|
|
|
|
|
|
1,043871,043871,043871,043871,043871,04387
|
|
|
|
|
|
|
|
0,550,60,650,70,750,8
|
|
|
|
|
|
|
|
15,1613,0710,988,8976,8094,722
|
|
|
|
|
|
|
|
1,21,21,21,21,21,2
|
|
|
|
|
|
|
|
178,468153,891129,314104,73780,1655,59
|
|
|
|
|
|
|
|
1,15891,17821,20921,26091,35191,5351
|
|
|
|
|
|
|
|
0,0160,0160,0160,0160,0160,016
|
|
|
|
|
|
|
|
1,043871,043871,043871,043871,043871,04387
|
|
|
|
|
|
|
|
0,80370,78340,75540,71410,64740,5216
|
|
|
|
|
|
|
|
1,461,3061,1621,020,8630,652
|
|
|
|
|
|
|
|
0,91170,91340,91440,91420,91190,9043
|
|
|
|
|
|
|
|
0,3790,3270,27450,2220,170,118
|
|
|
|
|
|
|
Так
как при прочих равных условиях дальность полета эквивалентной одноступенчатой
ракеты тем больше, чем выше приведенный коэффициент заполнения ракеты топливом,
то для дальнейших расчетов принимаем вариант с наибольшим значением
=0,9144.
1.7 Баллистический
расчет
Для
выполнения баллистического расчета принимаем коэффициент распределения
относительных масс топлива по ступеням ракеты
=1,162 (
=0,2745), что соответствует наибольшему значению
=0,9144.
Поскольку
дальность полета ракеты по баллистической траектории определяется значением ее
скорости в конце активного участка траектории
, то в
первую очередь необходимо определить эту скорость.
(1.36)
где
- коэффициент потери скорости, зависящий от дальности
полета, удельного импульса и начальной тяговооруженности ступеней аппарата, в
данном расчете
=1,2;
-
средний удельный импульс для аппарата с ЖРД, приближенно равен:
(1.37)
где
- количество ступеней.
По
таблице, представленной в [1], при значении
6000 м/с
дальность полета
6000 км, а при
6500 м/с
-
8000 км. Используя метод линейной интерполяции,
находим дальность полета ракеты при полученной скорости. (Рисунок 1.1)
Рисунок
1.1 - График зависимости дальности от конечной скорости.
Таким
образом, конечная скорость
=6714,5
м/с, дальность
=9072 км.
.8 Массовые
характеристики ракеты
Используя результаты расчетов из таблицы 1, находим:
-
стартовая масса первой ступени
=40000
кг;
стартовая
масса второй ступени
=10980 кг;
масса
разгонного блока первой ступени:
масса
разгонного блока второй ступени:
масса
топлива первой ступени:
масса
топлива второй ступени:
масса
конструкции ракеты с полезной нагрузкой и остатками топлива:
масса
«сухой» ракеты:
(1.38)
.9 Геометрические
характеристики ракеты
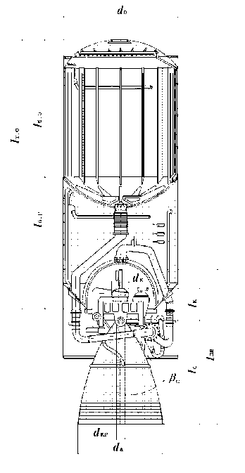
Основные геометрические величины, из которых формируется облик разгонного
блока жидкостной ракеты, представлены на рисунке 1.2.
Рисунок 1.2 - Разгонный блок ракеты с ЖРД.
. Калибр ракеты:
. Диаметр
критического сечения сопла камеры сгорания:
(1.39)
где
- массовый секундный расход топлива, приходящийся на
одну камеру.
Так
как двигательная установка первой ступени четырехкамерной, то массовый расход
одной камеры сгорания равен:
(1.40)
тогда
3. Диаметр
выходного сечения сопла камеры сгорания:
(1.41)
где
(1.42)
Численные
значения:
. Диаметр
камеры сгорания:
(1.43)
. Длина
камеры сгорания:
(1.44)
где
- приведенная длинна камеры сгорания.
Так
как для ЖРД с дожиганием принимаем
то:
. Длина
сопла двигателя:
(1.45)
поэтому
. Длина
двигателя ракеты:
(1.46)
Тогда
8. Длина
бака горючего:
. Длина
бака окислителя:
10.
Длина топливного отсека:
(1.47)
Следовательно,
.
Длина отсека с полезной нагрузкой:
где
- длина боевого блока, м (для ракет данного класса
=1,5 м).
Так
что,
12.
Полная длина ракеты:
(1.49)
По
результатам выполненных расчетов конструктивно-компоновочная схема
проектируемой ракеты представлена на рисунке 1.3.
Рисунок 1.3 - Конструктивно-компоновочная схема двухступенчатой ракеты с
ЖРД
.10 Тяговые
характеристики ракеты
Тяга двигателя:
-
первой ступени (на Земле)
второй
ступени (в пустоте)
Секундный
массовый расход топлива:
двигателями
первой ступени
двигателем
второй ступени
Время
работы двигателя:
(1.50)
Для
первой ступени:
для
второй ступени:
.11 Исследование
влияния давления в камере сгорания первой ступени на максимальную дальность
Исследование проводится путем последовательного получения решения
обратной задачи для ряда значений давления в камере сгорания первой ступени,
близких к рекомендуемым pк1
= 17…25 МПа.
График зависимости максимальной дальности полета ракеты от давления в
камере сгорания первой ступени на рисунке 1.4 показывает, что оптимальным
давлением в камере сгорания первой ступени для данной ракеты является pк1 = 20 МПа.
Таблица
2 - зависимость
|
№
|
1
|
2
|
3
|
4
|
5
|
6
|
7
|
8
|
9
|
|
, МПа171819202122232425
|
|
|
|
|
|
|
|
|
|
|
Lmax, км
|
9093,5
|
9106,9
|
9115
|
9118,3
|
9117
|
9111,5
|
9102,1
|
9088,9
|
9072,3
|
Рисунок 1.4 - График зависимости максимальной дальности полета ракеты от
давления в камере сгорания первой ступени
2. Расчет баллистической ракеты с РДТТ
.1 Исходные
данные
Спроектировать трехступенчатую ракету с РДТТ на максимальную дальность со
следующими исходными данными:
-
масса полезной нагрузки
стартовая
масса ракеты
топливо
- перхлорат аммония 80%, полибутадиен 20%.
.2 Выбор
конструктивно-компоновочной схемы ракеты
Выбираем трехступенчатую ракету с последовательным соединением ступеней,
каждая из которых выполнена в одном калибре. Первая и вторая ступени имеют
моноблочную конструкцию. Ступени соединены цилиндрическими переходными отсеками.
В передней части ракеты третьей ступени располагаются боевые блоки и система их
разведения.
Двигатели всех ступеней имеют одно центральное частично утопленное
поворотное сопло. На второй и третьей ступенях используются РДТТ с системой
пантографов. C помощью поворотных сопел обеспечивается управление ракетой по
тангажу и рысканью. Для управления по крену используются дополнительные
ракетные двигатели. Двигатели всех ступеней работают до полного выгорания
топлива. Точность стрельбы при этом обеспечивается текущей корректировкой
траектории при помощи бортового вычислительного комплекса, прогнозирующего
точность попадания.
Для изготовления зарядов используется смесевое топливо, состоящее из 80%
перхлората аммония, 20% полибутадиена . Принимаем заряды щелевой формы. Заряд
скреплен с корпусом клеящим составом, и его задний торец покрыт бронировкой.
2.3 Характеристики
топлива и материалов
Основные характеристики топлива выбираем из таблицы [1]:
-
стандартный расчетный удельный импульс
газовая
постоянная
показатель
адиабаты
температура
горения 
плотность
топлива
скорость
горения топлива
В
качестве материалов для изготовления двигателей выбираем: конструкционный
стеклопластик для корпуса с пределом прочности
и
плотностью
; титановый сплав для сопла плотностью
; для защиты от тепловых воздействий ТЗП на основе
совмещенного связующего с
; для бронировки заряда - покрытие на основе
фенолоформальдегидной смолы высокой плотности
.
.4 Выбор
проектных параметров и программы движения ракеты
В соответствии с рекомендациями [1], принимаем следующие величины
проектных параметров:
-
давление в камере сгорания двигателя первой ступени
= 9 МПа,
давление
в камере сгорания двигателя второй ступени
= 8 МПа,
давление
в камере сгорания двигателя третьей ступени
= 7 МПа,
давление
на срезе сопла двигателя первой ступени
= 0,06
МПа,
давление
на срезе сопла двигателя второй ступени
= 0,02
МПа,
давление
на срезе сопла двигателя третьей ступени
= 0,01
МПа.
2.5 Расчет
удельных импульсов двигателей
Удельные импульсы двигателей при выбранных давлениях в камерах сгорания и
на срезе сопел двигателей для расчетных режимов работы определяются по формуле:
=
+
, (2.1)
где
= 0,96 - коэффициент, оценивающий влияние
несовершенства процессов в камере сгорания на относительное уменьшение
удельного расчетного импульса
(примем
равным 0,96).
=
м/с;
=
м/с;
=
м/с.
Температура
горения рассчитывается по формуле:
=
+
; (2.2)
°К;
°К;
°К.
Удельные импульсы в пустоте определяются по формуле:
; (2.3)
м/с;
м/с;
м/с.
Удельный импульс на Земле для двигателя первой ступени ракеты можно
вычислить по формуле:
; (2.4)
м/с.
Коэффициент ''пустотного'' приращения:
. (2.5)
.6 Определение
относительных масс топлива
Если предположить, что коэффициенты относительных масс у всех ступеней
одинаковы:
=
=
, (2.6)
то
потребные массы ступеней образуют геометрическую прогрессию [1]:
. (2.7)
Отсюда
следует, что стартовые массы ступеней трехступенчатой ракеты со стартовой
массой
определятся соответственно по формулам:
,
.
В
результате получим:
кг,
кг.
Для
определения калибра ракеты воспользуемся следующей зависимостью:
, (2.8)
где
- стартовая масса ракеты в тоннах.
Так
что
м.
Выберем
калибр ракеты
= 1,85 м, и всю ракету выполним в одном калибре.
В
таком случае начальная поперечная нагрузка на мидель ракеты
кг/м2.
Расчет
относительных масс топлива и удлинений зарядов проведём методом
последовательных приближений [1].
Найдем
массы РДТТ всех ступеней по формуле
, (2.9)
где
; коэффициент пропорциональности массы хвостового
отсека bхо для
проектируемой ракеты принимаем равным 0,016:
кг,
кг,
кг.
Масса
РДТТ складывается из массы двигательной установки и полной массы топлива
за вычетом достартового расхода
:
+
[(1+
. (2.10)
Если
известны отдельные составляющие этой формулы, то по заданной массе РДТТ можно
определить
. Затем легко можно вычислить относительную массу
топлива
. (2.11)
В
итоге приходим к следующим результатам.
1. Относительная масса цилиндрической части
камеры сгорания
, (2.12)
где
=1,2 - статистический коэффициент;= 1,2- коэффициент
безопасности;
- предел
прочности, МПа;
-
плотность материала обечайки, кг/м3:
кг/м3,
кг/м3,
кг/м3.
. Относительная
масса переднего и заднего днищ
; (2.13)
кг/м3,
кг/м3,
кг/м3.
. Относительная
масса тепловой защиты:
, (2.14)
где
по данным статистики
= 10-6 м2/с.
Относительная
толщина свода горения
должна удовлетворять условию
. (2.15)
Здесь
относительный диаметр критического сечения сопла
. (2.16)
Примем
=
=0,4,
= 0,38.
Тогда: 
мм,
=
мм.
Следовательно,г1
= 4,37
= 10,52 мм/с,
кг/м3,г2
= 4,37
= 10,04 мм/с,
кг/м3,г3
= 4,37
= 9,52 мм/с,
кг/м3.
. Относительные
массы бронировки заряда
(2.17)
Для
щелевого заряда
= 2,
= -
0,11,
= 0,6, коэффициент
= 0,1
мм/с и является постоянным для данного бронирующего материала:
кг/м3,
кг/м3,
кг/м3,
кг/м3,
кг/м3,
кг/м3.
. Относительная
масса сопла
, (2.18)
где
= 20° - угол полураствора конического
сопла;
= 6∙10-3 - относительная толщина
стенки сопла;
= 12∙10-3 - относительная толщина
слоя теплозащитного покрытия:
(2.19)
(2.20)
;
,
,
,
. Коэффициент
относительной массы узлов крепления
; (2.21)
,
,
.
. Относительная
масса топлива
; (2.22)

,

.
. Масса
РДТТ
+
[(1+
. (2.23)


Полученные
выражения для масс РДТТ должны равняться заданным:
Из
этих уравнений находим относительные длины зарядов:
Теперь
можно определить значения относительного диаметра критического сечения сопла
двигателей:
; (2.24)
,
,
и
проверить выполнение условия
:
,
,
.
Так
как необходимое условие выполняется для всех ступеней, то можно определить
относительные массы топлива:
(2.25)
(2.26)
Полученные
результаты расчетов сведем в таблицу 3.
Таблица 3 - результаты расчета параметров ракеты
|
Паpаметp
|
№ ступени
|
|
1
|
2
|
3
|
|
кг40000127654073,6
|
|
|
|
|
кг265958487,12708,5
|
|
|
|
|
мм/с10,5210,049,52
|
|
|
|
|
кг/м337,9433,7229,5
|
|
|
|
|
кг/м318,9716,8614,75
|
|
|
|
|
0,1480,0850,05
|
|
|
|
|
0,40,40,38
|
|
|
|
|
м1,851,851,85
|
|
|
|
|
, мм740740703
|
|
|
|
|
кг/м311,3911,6611,68
|
|
|
|
|
кг/м311,3911,6611,68
|
|
|
|
|
кг/м3-2,134-2,237-2,36
|
|
|
|
|
кг/м311,6412,212,87
|
|
|
|
|
15,4332,7350,54
|
|
|
|
|
кг/м311,4326,9146,95
|
|
|
|
|
0,60,5660,529
|
|
|
|
|
кг/м31296,851296,851273,1
|
|
|
|
|
3,010,9360,285
|
|
|
|
|
0,6180,6020,565
|
|
|
|
|
кг24717,17682,92301,1
|
|
|
|
|
м/с2506--
|
|
|
|
|
м/с2746,92889,82909,8
|
|
|
|
.7 Баллистический
расчет
Воспользовавшись формулой (1.6). Принимая Kv = 1,18, вычисляется величина
конечной скорости полета:
м/с,
=
м/с.
Используя метод линейной интерполяции и табл. 3.1 [1] можно найти полную
дальность полета ракеты L = 7851 км.
.8 Массовые
характеристики ракеты
Используя результаты расчетов, находим:
-
стартовая масса первой ступени
=
40000кг;
стартовая
масса второй ступени
= 12765 кг;
стартовая
масса третьей ступени m03 =
4073,6 кг;
масса
разгонного блока первой ступени
=
-
=
-
12765 = 27235 кг;
масса
разгонного блока второй ступени
=
- m03 =
-
4073,6 = 8691,4 кг;
масса
разгонного блока третьей ступени m*03 = m03 -
=
,6
- 1300 = 2773,6 кг;
масса
топлива первой ступени
=
= 0,618·40000
= 24720 кг;
масса
топлива второй ступени
=
= 0,602·12765
= 7684,53 кг;
масса
топлива второй ступени mт3 =
= 0,565·4073,6 = 2301,58 кг;
масса
конструкции ракеты с полезной нагрузкой и остатками топлива
=
-
-
- mт3 = 40000
- 24720- 7684,53- 2301,58 = 5293,89 кг;
масса
«сухой» ракеты
-(
-
) (
+
+ mт3 ) =
,89-
0,01· (24720+7684,53+ 2301,58) = 4952 кг.
2.9 Геометрические
характеристики ракеты
Основные геометрические величины, из которых формируется облик разгонного
блока ракеты с РДТТ, представлены на рисунке 4.
Вычислим для каждой ступени основные геометрические параметры РДТТ.
. Диаметр внутреннего канала заряда
; (2.27)
Рисунок
2.1 - Разгонный блок ракеты с РДТТ
. Диаметр критического сечения:
; (2.28)
м;
м;
м.
. Диаметр
среза сопла:
; (2.29)
м;
м;
м.
. Диаметр
входа в сопловой насадок:
; (2.30)
м;
м;
м.
. Диаметр
отверстия под воспламенитель:
; (2.31)
м;
. Длина
закритической части сопла:
, (2.32)
где
= 0,45 - коэффициент укорочения профиля сопла:
м;
м;
м.
. Длина
утопленной части сопла:
,
где z = 0,3…0,5 - коэффициент
утопленности сопла, принимаем равным 0,3:
м;
м;
м.
. Длина
докритической части сопла:
; (2.33)
м;
м;
м.
. Длина
сопла:
; (2.34)
м;
м;
м.
.
Длина воспламенителя:
; (2.35)
м.
.
Длина днища:
; (2.36)
м.
.
Длина цилиндрической обечайки корпуса:
(2.37)
м;
м;
м.
13. Диаметр отверстия под сопло:
(2.38)
м;
м;
м.
.
Длина двигателя каждой ступени со сложенными сопловыми насадками:
для
первой ступени:
м;
для
второй ступени:
м;
для
третьей ступени:
м.
При
вычислении длин двигателей второй и третьей ступеней принято во внимание, что
вылет складывающихся сопел двигателей составляет половину
и треть
соответственно,
а так же конструктивно взята длина головной части
.
Полная длина ракеты:
=
м,
Все
рассчитанные геометрические характеристики сведены в таблицу 4.
Таблица 4 - массовые и геометрические характеристики ракеты
|
Паpаметp
|
№ ступени
|
|
1
|
2
|
3
|
|
кг40000127654073,6
|
|
|
|
|
кг247207684,532301,58
|
|
|
|
|
м1,851,851,85
|
|
|
|
|
м0,370,370,444
|
|
|
|
|
3,010,9360,285
|
|
|
|
|
мм/с10,5210,049,52
|
|
|
|
|
0,1480,0850,05
|
|
|
|
|
м0,22740,1580,092
|
|
|
|
|
15,4332,7350,54
|
|
|
|
|
м1,0760,9040,656
|
|
|
|
|
м0,610,4370,294
|
|
|
|
|
м0,37030,37030,3703
|
|
|
|
|
м1,1241,0470,806
|
|
|
|
|
м0,3370,3140,242
|
|
|
|
|
м0,7870,7330,564
|
|
|
|
|
м0,2190,1260,074
|
|
|
|
|
м6,4041,9910,607
|
|
|
|
|
м0,1850,1850,185
|
|
|
|
|
м0,5550,5550,555
|
|
|
|
|
м7,0142,2090,705
|
|
|
|
По рассчитанным геометрическим характеристикам конструктивно -
компоновочная схема трехступенчатой ракеты с РДТТ представлена на рисунке 5.
Рисунок 2.2- Конструктивно - компоновочная схема трехступенчатой ракеты с
РДТТ
2.10 Тяговые
характеристики ракеты
Время работы двигателя:
-
первой ступени:
= 740 / 10,52 = 70,32 с;
второй
ступени:
= 740 / 10,04 = 73,71 с;
третьей
ступени:
= 703 / 9,52 = 76,86 с,
Секундный
массовый расход:
первой
ступени
= 24720/ 70,32 = 351,52 кг/с;
второй
ступени
= 7684,53 / 73,71 = 104,23 кг/с;
третьей
ступени
= 2301,58 / 76,86 = 31,15 кг/с,
Тяга
двигателя:
первой
ступени (на Земле)
= 351,52×2506 = 880,89
кН;
второй
ступени (в пустоте)
104,23×2889,8 = 301,22
кН;
третьей
ступени (в пустоте)
31,15×2909,8 = 90,64 кН,
Начальная тяговооруженность:
-
первой ступени
;
второй
ступени
;
третьей
ступени
.
.11 Исследование
влияния давления в камере сгорания первой ступени на максимальную дальность
Исследование проводится путем последовательного получения решения обратной
задачи для ряда значений давления в камере сгорания первой ступени, близких к
рекомендуемым pк1 = 6…12 МПа.
Используя метод линейной интерполяции, рассчитываем максимальную
дальность полета трехступенчатой баллистической ракеты с РДТТ. Полученные результаты
вносим в таблицу 5 и строим по ним график. График зависимости максимальной
дальности полета ракеты от давления в камере сгорания первой ступени на рисунке
6 показывает, что оптимальным давлением в камере сгорания первой ступени для
данной ракеты является pк1
= 9 МПа, что и
было сделано в работе.
Таблица
5 - зависимость
|
№
|
1
|
2
|
3
|
4
|
5
|
6
|
7
|
|
, МПа6789101112
|
|
|
|
|
|
|
|
|
Lmax, км
|
7741,16
|
7798,1
|
7834,49
|
7850,96
|
7847,95
|
7825,82
|
7784,85
|
График зависимости максимальной дальности от давления в камере сгорания
первой ступени представлен на рисунке 2.3.
Рисунок 2.3 - График зависимости максимальной дальности полета ракеты от
давления в камере сгорания первой ступени
Вывод
В данной курсовой работе был проведен приближенный расчет двухступенчатой
ракеты с ЖРД и трёхступенчатой ракеты с РДТТ на максимальную дальность при
заданных стартовой массе и массе полезной нагрузки.
Зависимость максимальной дальности полета от давления в камере сгорания
первой ступени для ракет с ЖРД и с РДТТ имеет экстремум, обусловленный тем, что
при повышении давления до некоторого значения доминирующую роль оказывает
возрастание удельного импульса двигательной установкой, приводящее к увеличению
дальности. А затем доминирующее влияние оказывает увеличение массы двигательной
установки и всей ракеты в целом;
Список
использованной литературы
1. Павлюк
Ю.С. Баллистическое проектирование ракет: Учебное пособие для вузов. -
Челябинск: Изд. ЧГТУ, 1996. -114 с.
2. Павлюк
Ю.С., Сакулин В.Д., Усков П.Н. Курсовая работа по проектированию баллистических
ракет. - Челябинск: Изд. ЮУрГУ, 2008. -109 с.