Эксплуатация подземных газопроводов
1. Приемка и ввод в
эксплуатацию подземных газопроводов
Приемка газопроводов. Приемка
законченных строительством подземных газопроводов, сооруженных в соответствии с
действующими Правилами безопасности и требованиями СНиП, должна производиться
приемочной комиссией. В состав приемочной комиссии включают представителей
заказчика (председатель комиссии), генерального подрядчика и эксплуатационной
организации (предприятия газового хозяйства или газовой службы предприятия).
Представителя органов
Госгортехнадзора России включают в состав приемочной комиссии при приемке
объектов, подконтрольных этим органам.
Генеральный подрядчик на каждый
законченный объект предъявляет приемочной комиссии в одном экземпляре следующую
документацию:
· комплект рабочих
чертежей на строительство предъявляемого к приемке объекта с надписями,
сделанными лицами, ответственными за производство строительно-монтажных работ,
о соответствии выполненных в натуре работ этим чертежам или внесенным в них
проектной организацией изменениям;
· сертификаты
заводов-изготовителей (их копии, извлечения из них, заверенные лицом,
ответственным за строительство объекта) на трубы, фасонные части, сварочные и
изоляционные материалы;
· технические
паспорта заводов-изготовителей (или их копии) на оборудование, узлы,
соединительные детали, изоляционные покрытия, изолирующие фланцы, арматуру
диаметром свыше 100 мм, а также другие документы, удостоверяющие качество
оборудования (изделий);
· строительный
паспорт и протоколы проверки качества сварных стыков, акт разбивки и передачи
трассы для подземного газопровода;
· журнал учета работ
(для подземных газопроводов протяженностью свыше 100 м) - по требованию
заказчика;
· акт приемки
предусмотренных проектом установок электрохимической защиты;
· схему сварных
стыков подземных газопроводов.
Приемочная комиссия должна
проверить представленную дополнительную документацию и соответствие
смонтированного газопровода этой документации требованиям СНиП и Правилам
безопасности в газовом хозяйстве Госгортехнадзора России.
Комиссия имеет право проверить
любые участки газопровода: провести разборку, просвечивание или вырезку стыков,
а также повторное испытание газопровода.
Если объект принят, то
оформляется акт, являющийся разрешением на ввод газопровода в эксплуатацию.
Все газопроводы перед их присоединением к
действующим газопроводам должны подвергаться внешнему осмотру и контрольной
опрессовке бригадой, производящей пуск газа. Важный этап ввода газопроводов в
эксплуатацию - их испытание на герметичность путем контрольной опрессовки.
Газопроводы на герметичность испытывают воздухом или инертным газом.
Рис. 1. Схема установки для
испытания подземных газопроводов на герметичность
1 - газопровод; 2 -
конденсато-сборник; 3 - задвижки; 4 - заглушки; 5 - пружинный манометр; 6 -
трубопровод от компрессора; 7 - краны; 8 - ртутный манометр; 9 - дорожное
покрытие; 10 - продувочная свеча
Испытание на герметичность
производят после засыпки газопровода и выравнивания температуры воздуха в
газопроводе с температурой грунта, окружающего газопровод. На рис. 1 показана
схема установки для испытания подземных газопроводов на герметичность.
Подземные газопроводы всех
давлений подлежат контрольной опрессовке давлением 0,02 Мпа, при этом падение
давления не должно превышать 10 даПа в 1 ч. Если участки газопроводов низкого
давления отключены гидрозатворами, то их контрольная опрессовка может
производиться давлением 400 даПа, при этом падение давления не должно превышать
5 даПа за 10 мин.
Ввод газопроводов в
эксплуатацию. До пуска газа в газопроводы необходимо осмотреть газовые
сети и ГРП и проверить исправность всего оборудования. Газопроводы при пуске
газа должны продуваться газом до вытеснения всего воздуха. Окончание продувки
определяют путем анализа или сжигания отбираемых проб, при этом объемная доля
кислорода в пробе газа не должна превышать 1 % по объему, а сгорание газа
должно происходить спокойно, без хлопков.
При необходимости освобождения
от газа газопроводы должны продуваться воздухом или инертным газом до полного
вытеснения газа. Окончание продувки определяется путем анализа, при этом
остаточная объемная доля газа в продуваемом воздухе не должна превышать 20 % от
нижнего предела воспламеняемости. Во время продувки газопроводов газовоздушная
смесь должна выпускаться в места, где исключена возможность попадания ее в
здания, а также воспламенения от источников огня.
2. Способы очистки внутренней
полости трубопроводов
Очистка полости трубопроводов выполняется одним
из следующих способов:
промывкой с пропуском очистных поршней или
поршней-разделителей;
продувкой с пропуском очистных поршней, а при
необходимости и поршней-разделителей;
продувкой без пропуска очистных поршней.
Очистка полости линейной части и лупингов
нефтепроводов, газопроводов и нефтепродуктопроводов должна, как правило,
выполняться продувкой воздухом с пропуском ерша-разделителя.
Технология проведения очистки
Промывка или продувка осуществляется одним из
следующих способов:
с пропуском очистного или разделительного
устройства;
без пропуска очистного или разделительного
устройства.
Промывку и продувку с пропуском очистных или
разделительных устройств следует выполнять на трубопроводах диаметром 219 мм и
более.
Промывку и продувку без пропуска очистных или
разделительных устройств допускается производить:
на трубопроводах диаметром менее 219 мм;
на трубопроводах любого диаметра при наличии
крутоизогнутых вставок радиусом менее пяти диаметров трубопровода или при длине
очищаемого участка менее одного километра.
Очистку полости подводных переходов трубопроводов
диаметром 219 мм и белее, прокладываемых с помощью подводно-технических
средств, производят:
промывкой с пропуском поршня-разделителя в
процессе заполнения водой для проведения первого этапа гидравлического
испытания;
продувкой с пропуском поршня или протягиванием
очистного устройства перед проведением первого этапа пневматического испытания.
Промывка
Промывке подвергают трубопроводы любого
назначения, испытание которых предусмотрено в проекте гидравлическим способом.
Пропуск очистного или разделительного устройства
по трубопроводу осуществляется под давлением жидкости, закачиваемой для
гидравлического испытания.
Впереди очистного или разделительного устройства
для смачивания и размыва загрязнений заливают воду в объеме 10-15 % объема
полости очищаемого трубопровода.
Принципиальная схема производства
работ при промывке с пропуском очистного или разделительного устройства
приведена на рис. 1
<#"606149.files/image002.gif">
Рис.1. Принципиальная схема
производства работ при промывке трубопроводов:
а - подготовка участка к проведению
промывки; б - подача воды перед поршнем-разделителем; в - пропуск
поршня-разделителя в потоке воды; г -подготовка участка к испытанию; 1 -
очищаемый участок; 2 и 7- перепускные патрубки с кранами; 3 -
поршень-разделитель; 4 -коллектор; 5 - наполнительные агрегаты; 6 - подводящий
патрубок; 8- линейная арматура; 9 -сливной патрубок.
Пропуск очистного или
разделительного устройства в потоке жидкости обеспечивает удаление из
трубопровода не только загрязнений, но и воздуха, что исключает необходимость
установки воздухоспускных кранов (кроме кранов, предусмотренных проектом для
эксплуатации), повышает надежность обнаружения утечек с помощью манометров.
Промывка считается законченной,
когда очистное или разделительное устройство выйдет из трубопровода не
разрушенным.
При промывке без пропуска очистного
или разделительного устройства качество очистки обеспечивается скоростным
потоком жидкости.
Принципиальная схема промывки без
пропуска очистных и разделительных устройств приведена на рис. 2
<#"606149.files/image004.gif">
Рис.2. Принципиальная схема промывки
без пропуска очистных или разделительных устройств:
а - подготовка участка к проведению
промывки; б - подача воды; в -подготовка участка к испытанию; 1 - очищаемый
участок; 2 -подводящий патрубок; 3 - кран; 4 - наполнительные агрегаты; 5-
линейная арматура; 6 - сливной патрубок.
Продувка
Продувку выполняют сжатым воздухом
или природным газом, поступающим из ресивера(баллона), непосредственно от
источника природного газа или высокопроизводительных компрессорных установок.
Для продувки могут быть использованы
также инертные газы, подводимые к трубопроводам от газовых установок
промышленных предприятий. Ресивер для продувки создается на прилегающем участке
трубопровода, ограниченном с обеих сторон заглушками или запорной арматурой.
При заполнении ресивера воздухом
передвижные компрессорные станции можно использовать по одной или объединить их
в группы. В последнем случае нагнетательные трубопроводы каждого компрессора
подключают к коллектору, по которому воздух подают в ресивер.
Принципиальная схема продувки
трубопроводов сжатым воздухом приведена на рис. 3
<#"606149.files/image005.gif">
Рис. 3.Принципиальная схема продувки
трубопроводов воздухом:
а - участок подготовлен к продувке
плеча П; б - выпуск поршня из плеча П; в -участок подготовлен к продувке плеча
I; г - выпуск поршня из плеча I; I и 5 - очистные поршни; 2,3,4- перепускные
патрубки с кранами; 6 - коллектор; 7 - подводящий патрубок; 8 - продувочный
патрубок.
Продувку с пропуском очистных
поршней проводят в следующем порядке:
закачивают воздух по патрубку 7 и
коллектору 6 в плечо 1 (см. рис.3
<#"606149.files/image007.gif">
Очистной полиуретановый поршень с чистящими
щетками ОПП-Т
Очистка полости трубопровода от строительного
мусора, мягких (в т.ч. нефтяных) и частично твердых отложений, удаление
конденсата; проведение работ по продувке, промывке, испытанию или консервации
строящихся и эксплуатируемых магистральных, промысловых трубопроводов, в т.ч.
трубопроводов с запорной арматурой имеющих равнопроходное внутреннее сечение; предварительное
и окончательное удаление жидкости, в т.ч. вытеснение нефти и нефтепродуктов из
трубопроводов;
Поршень полиуретановый манжетный ППМ
Назначение:
Очистка полости трубопровода от строительного
мусора, мягких (в т.ч. нефтяных) и частично твердых отложений, удаление
конденсата; проведение работ по продувке, промывке, испытанию или консервации
строящихся и эксплуатируемых магистральных, промысловых трубопроводов, в т.ч.
трубопроводов с запорной арматурой имеющих равнопроходное внутреннее сечение;

Очистка полости трубопровода от строительного
мусора, мягких (в т.ч. нефтяных) и частично твердых отложений, удаление
конденсата; проведение работ по продувке, промывке, испытанию или консервации
строящихся и эксплуатируемых магистральных, промысловых трубопроводов, в т.ч.
трубопроводов с запорной арматурой имеющих равнопроходное внутреннее сечение.
Очистной полиуретановый поршень (ОПП)
Очистной поршень с полиуретановыми дисками
(ОПП), предназначен для очистки полости трубопровода от строительного мусора,
грунта, поверхностного рыхлого слоя ржавчины и окалины, мягких (в т.ч.нефтяных)
и частично твёрдых отложений методом протягивания, продувки, промывки и
вытеснения в потоке воды, а также для предварительного запуска при удалении
воды после гидроиспытаний.
Стальной очистной поршень "ЕРШ"
Очистной поршень типа "ЕРШ"
предназначен для очистки полости трубопроводов диаметром 159-1420 мм. от
строительного мусора, поверхностного рыхлого слоя ржавчины и окалины, нефтяных
отложений методом протягивания или продувки
Очистной поршень-разделитель (ОПР-М)
Поршень ОПР-М предназначен для очистки полости
строящихся и действующих магистральных трубопроводов от загрязнений и
отложений, удаления воды, конденсата, газовоздушных пробок, разделения нефти и
нефтепродуктов при последовательной перекачке.
4. Технология проведения
аварийно-восстановительных ремонтов
Ремонтные работы представляют
собой совокупность мер по поддержанию газопроводов и других сооружений в
состоянии технической готовности и по сохранению этими сооружениями необходимых
эксплуатационных качеств.
Основное внимание должно быть
сосредоточено на предупреждении аварий и поддержании газопроводов и
оборудования в хорошем состоянии, что достигается с помощью системы
планово-предупредительного ремонта.
Система
планово-предупредительного ремонта представляет собой комплекс периодически
осуществляемых организационно-технических мероприятий по надзору и уходу за
сооружениями, предусматривает выполнение профилактических работ, текущего и
капитального ремонтов.
К профилактическим работам
относят периодические осмотры, а также устранение мелких неисправностей,
выявленных в процессе осмотра.
Текущий ремонт заключается в
устранении небольших неисправностей и повреждений газопроводов и сооружений, а
также в проведении ревизий отдельного оборудования.
В процессе капитального ремонта
заменяют изношенные узлы и детали, разбирают оборудование, заменяют отдельные
участки газопровода. При капитальном ремонте устраняют износ и восстанавливают
первоначальное состояние газопроводов и оборудования.
Своевременное и качественное проведение
ремонтных работ способствует улучшению использования газопроводов и сооружений
и обеспечивает бесперебойное снабжение потребителей газом.
Текущий ремонт. Все работы по
текущему ремонту можно подразделить на две группы:
профилактический ремонт,
выполняемый в процессе эксплуатации и планируемый заранее по объему и времени
его выполнения;
непредвиденный ремонт,
выполняемый в срочном порядке.
Непредвиденный текущий ремонт
заключается в срочном исправлении повреждений, которые не могут быть заранее
обнаружены и устранены при профилактическом ремонте.
К текущему ремонту относят
следующие работы:
· устранение
снежно-ледяных закупорок, удаление конденсата путем заливки растворителя в
газопровод, обогрев места ледяной закупорки паром, шуровка газопровода
проволокой;
· устранение
закупорок, не подлежащих растворению, путем вырезки окон в газопроводах,
демонтажа отдельных участков газопровода, продувки газопровода инертным газом,
приведение в порядок настенных указателей, закрепление опор и креплений
надземных газопроводов;
· устранение мелких
дефектов и утечек газа на арматуре, ремонт разрывов стыков вваркой катушек,
ремонт отдельных мест повреждений изоляцией;
· устранение провеса
газопроводов, усиление сварных стыков на газопроводах;
· очистка колодцев от
грязи, проверка состояния крышек колодцев, устранение перекосов и других
неисправностей, проверка и закрепление лестниц и скоб;
· ремонт стенок
колодцев, восстановление отмостки, уплотнение крышек газовых колодцев;
· проверка, осмотр и
чистка задвижек и компенсаторов, смазывание червяка задвижки, проверка и
набивка сальника, проверка исправности приводного устройства, плотности
соединения задвижек и компенсаторов, их окраска;
· устранение
перекосов крышек и коверов, проверка плотности резьбовых соединений, смазывание
резьбы пробок и кранов, устранение повреждений оголовков и стояков
конденсатосборников и контрольных трубок;
· наращивание (или
обрезка) выводных трубок конденсатосборников, гидрозатворов и контрольных
трубок;
· растворение льда в
стояках конденсатосборников и гидрозатворов специальными растворителями с
последующим удалением конденсата;
· очистка
конденсатосборников от грязи путем подачи через стояк воды с последующим
удалением осадка насосом;
· замена неисправных
деталей конденсатосборников и гидрозатворов.
Устранение закупорок. Опыт
эксплуатации подземных газопроводов показывает, что встречаются следующие виды
закупорок:
· водяные, ледяные;
· смоляные или
нафталиновые;
· закупорки
посторонними предметами.
В газах нефтяных, нефтегазовых
и чисто газовых месторождений всегда имеется некоторое количество воды. Вода в
газах - это чрезвычайно вредная примесь. При соответствующих величинах
температуры и давления газ в присутствии капельной влаги образует гидраты
углеводородов, наличие воды снижает теплоту сгорания газа.
Главная помеха при эксплуатации
газопроводов - образование гидратов. Эффективный способ предупреждения
образования гидратов - осушка газа непосредственно в начале газопровода. Эти
работы обычно проводят до подачи газа в магистральные газопроводы.
Несмотря на то, что газ до
подачи в городские газовые сети тщательно очищают и осушают, в нем содержится
некоторое количество влаги. При определенных условиях влага конденсируется и
происходит процесс ее накопления в газопроводах. Эту влагу необходимо
периодически удалять из газопроводов через специально сооруженные
конденсатосборники. При несвоевременной откачке конденсата конденсатосборники
переполняются и подача газа может прекратиться.
Наличие водяных закупорок
характеризуется пульсацией давления газа в газопроводе. Это объясняется тем,
что из-за уменьшения проходного сечения газопровода уменьшается количество
проходящего газа, давление перед закупоркой увеличивается, а после закупорки
уменьшается.
Газ проходит до тех пор, пока его давление
достаточно, чтобы преодолеть сопротивление, создаваемое водяной пробкой.
Устранение закупорок путем
шуровки металлическими шомполами, заливки растворителей или подачи пара
производится при давлении газа в газопроводе не более 500 даПа.
Нельзя применять открытый огонь
для отогрева наружных полиэтиленовых, стальных санированных и внутренних
газопроводов.
Работы должны проводиться в
шланговых или кислородно-изолирующих противогазах. До начала работ по прочистке
газопроводов необходимо предупредить потребителей о необходимости отключения
газовых приборов до окончания работ.
Из конденсатосборников
необходимо откачать воду. Если откачка результатов не дает, то наиболее
вероятно, что на газопроводе имеются прогибы. Они часто возникают на участках,
где газопровод перекопан поперечными котлованами.
Ликвидация закупорок в прогибах
связана со значительными трудностями, так как приходится раскапывать
газопровод. После установления места прогиба приступают к просверливанию
газопровода и спуску воды. После спуска воды необходимо исправить прогиб или
установить конденсатосборник.
Ледяные закупорки (пробки)
могут образоваться в зоне мерзлого грунта или в тех случаях, когда заполненный
водой участок газопровода зимой оказался открытым.
Ледяные пробки возникают при
транспортировании влажного газа через не утепленные места газопроводов (в
местах раскопок, на наружных газопроводах и т.д.). В этом случае
конденсирующиеся водяные пары выпадают в виде инея и постепенно уменьшают
проходное сечение газопровода.
Ликвидируют ледяные закупорки
путем прогрева отдельных участков газопровода паром или электрическим током.
Образовавшаяся в результате прогрева вода должна удаляться из газопроводов.
В период строительства из-за
небрежности в газопроводах могут остаться строительный мусор, куски дерева,
инструмент. В процессе эксплуатации вокруг этих предметов скапливаются
переносимые газом мелкие вещества: песок, окалина и т.д. По мере накопления
этих веществ и с увеличением расхода газа образуются закупорки посторонними
предметами. Их устраняют с помощью ерша или вырезают отдельные участки
газопровода. Работы эти очень трудоемки и связаны с отключением подачи газа. Во
избежание подобных закупорок необходимо очищать газопроводы во время
строительно-монтажных работ и перед вводом в эксплуатацию продувать их
воздухом.
Резьбовые и фланцевые
соединения, которые разбирались для устранения закупорок в газопроводе, после
сборки необходимо проверить на герметичность мыльной эмульсией или с помощью
высокочувствительных газоанализаторов.
Многие ремонтные работы
производятся с помощью газовой резки и сварки. Газовую резку и сварку на
действующих газопроводах можно производить при давлении газа 40... 200 даПа,
при этом во время выполнения работ следует осуществлять постоянный контроль за
давлением газа. Если давление снизится ниже 40 даПа или повысится свыше 200
даПа, работы необходимо прекратить.
Поврежденные сварные стыки
(трещины, разрыв) ремонтируют путем вварки катушек длиной не менее 200 мм или
установкой лепестковых муфт.
Сварные стыки с другими
дефектами (непровар, поры, шлаковые включения), а также каверны на трубе
глубиной более 30 % от толщины стенки могут усиливаться установкой муфт с
гофрой или лепестковых муфт (рис. 4).
На стыки с трещинами должны
навариваться лепестковые муфты, а на стыки с такими дефектами, как шлаковые
включения, непровар, -усилительные лепестковые муфты или муфты с гофрой.
Наварку муфт проводят по специальной инструкции.
Рис. 4. Ремонтные муфты: а - с
гофрой; б - лепестковая; 1 - муфта; 2 - газопровод
Мели на газопроводе появились
продольные трещины размером более 0,8 м, то необходимо сначала отключить подачу
газа и только потом вваривать катушки требуемой длины. После этого сварные
соединения испытывают на плотность и отключенный участок газопровода продувают
газом.
Сварные стыки и участки труб
полиэтиленовых газопроводов, имеющих дефекты и повреждения, должны вырезаться и
заменяться вваркой катушек длиной не менее 500 мм с применением муфт с
закладными электронагревателями. Узлы неразъемных соединений и соединительные
детали, которые не обеспечивают герметичность, следует вырезать и заменять
новыми. Полиэтиленовые газопроводы могут ремонтироваться путем вварки
соединений полиэтилен - сталь, рассчитанных на рабочее давление в газопроводе.
При механических повреждениях
стальных труб со смещением их относительно основного положения как по
вертикали, так и по горизонтали, необходимо одновременно с проведением работ по
устранению утечек газа вскрывать и проверять радиографическим методом по одному
ближайшему стыку в обе стороны от места повреждения. Если в этих стыках будут
обнаружены разрывы и трещины, необходимо дополнительно вскрывать и проверять
радиографическим методом следующий стык.
Неплотности в арматуре
устраняют, заменяя отдельные детали, прокладки, подтягивая болты фланцевых
соединений и заменяя сальниковую набивку.
Капитальный ремонт. При
капитальном ремонте подземных газопроводов выполняют следующие работы:
· все виды работ,
выполняемых при текущем ремонте;
· замена изоляции
газопроводов, восстановление стенки трубы с заменой изоляции, наложение заплат,
вырезка и врезка новой катушки, замена отдельных участков труб;
· ремонт кладки
колодцев с разборкой и заменой перекрытия, ремонт гидроизоляции и штукатурка
колодцев, смена лестниц и ходовых скоб, наращивание высоты колодцев;
· вынос отдельных
участков газопроводов на фасады зданий;
· разборка задвижек и
смена износившихся деталей, шабровка, расточка или замена уплотнительных колец,
смазывание;
· демонтаж или замена
конденсатосборников и гидрозатворов, ремонт и замена коверов;
· прокладка отдельных
участков газопроводов.
Порядок обследования и
назначение газопроводов на капитальный ремонт определяются действующими
руководящими документами.
Состояние металла труб нужно
определять во всех шурфах, вскрываемых в процессе эксплуатации газопровода в
целях проведения ремонта изоляции или устранения утечек газа.
Качество сварных стыков
проверяют, если в процессе эксплуатации на данном газопроводе обнаружены
дефекты стыков.
Осмотр подземных стальных
газопроводов в целях определения состояния защитного покрытия металла труб
(путем вскрытия на газопроводах контрольных шурфов длиной не менее 1,5 м)
должен выполняться только в местах выявления повреждений укрытия, а также там,
где использование приборов затруднено индустриальными помехами.
Для визуального обследования
должны выбираться участки, подверженные наибольшей коррозионной опасности,
места пересечения газопроводов с другими подземными коммуникациями. При этом
должно вскрываться не менее одного шурфа на каждые 500 м распределительных
газопроводов и на каждые 200 м газопроводов-вводов.
Газопроводы, включенные в планы
капитального ремонта или замены, должны обследоваться не реже одного раза в
год, при этом особое внимание следует уделять выявлению различных дефектов и
механических повреждений.
Механические повреждения
газопроводов. Механические повреждения газопроводов и сооружений на них в 20 %
случаев вызваны небрежной работой строительных организаций, проводящих раскопку
траншей, котлованов и др.
Наибольшее количество механических повреждений
приходится на газовые вводы. Это объясняется тем, что большинство
строительно-монтажных и других работ, при производстве которых повреждаются
газопроводы, ведется вблизи зданий.
Чаще всего возникают следующие
механические повреждения:
· раздавливание и
разрыв газопроводов малых диаметров при осадке сооружений, пересекающих
газопроводы (коллекторов теплосети, колодцев водопровода и канализации);
· обрыв ввода при
осадке грунта, которым засыпались пазухи около фундамента вновь выстроенного
здания;
· отрыв ввода от
распределительного газопровода или разрыв ввода при раскопке траншей
экскаваторами;
· случайные пробоины
тела трубы пиками отбойных молотков при разработке мерзлого грунта;
· обрыв гидрозатвора
на вводе при обвале незакрепленной стенки раскопанной рядом траншеи;
· коррозионные
повреждения газопроводов.
Повреждения газопроводов
сопровождаются значительными утечками газа и проникновением его в подвалы
зданий и другие подземные коммуникации и сооружения.
Особая опасность возникает при
проникновении газа в подвальные помещения зданий. Если место проникновения газа
установлено, необходимо вдоль фундамента на глубину около 1 м выкопать траншею,
чтобы прекратить доступ газа через фундамент и дать ему выход в атмосферу.
Механические повреждения
встречаются также на распределительных газопроводах в основном из-за нарушения
правил производства строительно-монтажных работ. Распределительные газопроводы
имеют большое количество устройств (конденсатосборники, отключающие приборы,
установленные в колодцах, контрольные трубки и пункты и т.д.), повреждение
которых может привести к серьезным авариям.
Крышки коверов ломаются чаще
всего в тех местах, где они установлены не в одной плоскости с дорожным
покрытием. Проломы чугунных крышек часто приводят к повреждению арматуры.
Стальные крышки продавливаются и в результате изгибаются. Поврежденная арматура
может стать причиной пожаров, так как вытекающий газ воспламеняется от искр,
вылетающих из выпускных патрубков транспорта, или других источников огня.
В тех местах, где газопроводы
проложены вблизи трамвайных путей или под трассой движения троллейбусов,
возникает вибрационное колебание дорожного покрытия. Колебания, передаваясь на
газопроводы, могут стать причиной разрыва стыков. Особенно опасны вибрационные
колебания для газопроводов, проложенных под мостами, по которым проходят
трамвайные и троллейбусные линии. Опасны для сварных стыков и ударные нагрузки.
На практике имели место случаи разрыва стыков при забивке свай вблизи
газопроводов и трамбовке грунта над газопроводом различными ударными
механизмами.
Наибольшая опасность возникает
при производстве строительных работ экскаваторами или бульдозерами вблизи
газопроводов.
Характерные повреждения,
возникающие при небрежной работе этих механизмов:
· пробоины в стенках
газопровода зубьями ковша экскаватора;
· деформация труб и
повреждение изоляции;
· обрыв отключающих
устройств, труб и т.д.
Большинство таких повреждений
можно предотвратить, если строительные организации до начала работ получат от
соответствующих представителей газового хозяйства письменное уведомление
установленной формы о порядке производства работ вблизи газопровода с указанием
мер предосторожности и эскиз с привязками и глубиной прокладки газопровода.
Правила безопасности
предусматривают, что при производстве земляных работ вблизи газопроводов
ударные механизмы для рыхления грунта можно применять на расстоянии не ближе 3
м от газопровода.
Ремонт запорных устройств.
Вскрытие и замена установленного на подземных газопроводах оборудования должны
производиться на отключенном участке газопровода.
До начала ремонтных работ,
связанных с разъединением газопроводов (замена задвижек, снятие и установка
заглушек, фланцев, прокладок и др.), необходимо отключить имеющуюся защиту от
электрической коррозии и установить на разъединяемых участках газопровода
перемычку в целях предотвращения искрообразования.
В колодцах с перекрытиями нельзя производить
сварочные работы и резки на газопроводе без отключения и продувки его воздухом
или инертным газом. На период отключения газопровода после запорных устройств
следует устанавливать заглушки. В газовых колодцах сварочные работы, а также
замену задвижек, компенсаторов, изолирующих фланцев можно производить после
снятия перекрытий.
В загазованных колодцах и
коллекторах нельзя производить ремонтные работы с применением открытого огня.
Для спуска рабочих в колодцы,
не имеющие скоб, и котлованы необходимо применять металлические лестницы с
приспособлением для их закрепления у края колодца, а также резиновые башмаки
для предотвращения искрения и скольжения. В колодцах и котлованах должны
находиться не более двух человек в спасательных поясах и противогазах. При этом
на поверхности земли с наветренной стороны колодца, котлована должны находиться
два человека и держать концы веревок от спасательных поясов, вести непрерывное
наблюдение за воздухозаборными патрубками шланговых противогазов и рабочими,
находящимися в колодце, котловане.
Характерные неисправности запорных
устройств - утечки газа в сальниках и во фланцевых соединениях.
В процессе эксплуатации
задвижек и кранов возникают такие неисправности, как отрыв фланца, поломка
нажимной буксы сальника, поломка крышки сальника самосмазывающегося крана,
трещины в корпусе задвижек. Утечки газа, вызванные этими неисправностями,
чрезвычайно опасны и могут быть причиной серьезных аварий.
Утечки газа во фланцевых
соединениях устраняют подтягиванием болтов или сменой прокладок. Перед
установкой новых прокладок фланцы очищают от сурика, белил и прокладок. Работы
проводят при давлении газа в газопроводе 40...200 даПа с соблюдением мер
безопасности.
Утечки газа в сальниках
устраняют подтягиванием сальника или сменой сальниковой набивки. Большинство
утечек связано с тем, что сальник набит не специальной набивкой, а обыкновенной
паклей, смазанной тавотом или солидолом. Такая набивка недолговечна. Многое
зависит и от равномерного натяжения нажимной буксы с помощью накидных болтов.
Односторонняя перетяжка болтов может вызвать надлом фланца буксы и привести к
утечке газа. Необходимо следить за тем, чтобы сальник не был сильно затянут,
так как это может привести к изгибу шпинделя и выходу из строя задвижки.
Набивку сальников запорной
арматуры, разборку резьбовых соединений конденсатосборников на подземных
газопроводах среднего и высокого давлений можно проводить при давлении газа не
более 0,1 Мпа.
Если задвижка закрыта не
полностью и для закрытия или открытия требуется большое усилие, то следует
проверить шпиндель задвижки, который может оказаться погнутым. В этом случае
заменяют шпиндель или полностью задвижку.
Могут быть случаи, когда
задвижка легко закрывается, шпиндель исправен, но отключение негерметичное. Это
является следствием того, что задвижки эксплуатировались с не полностью
открытыми запорными дисками и под действием различных примесей в газе часть
дисков износилась и задвижки потеряли герметичность. Характерные повреждения
чугунных задвижек - различного рода трещины во фланцах и корпусе. Такие
задвижки не ремонтируют, а заменяют.
Новую задвижку устанавливают
вместе с компенсатором. При этом гайки на стяжных болтах освобождают, чтобы
обеспечить работу компенсаторов.
Перед установкой компенсатора
проводят его предварительную растяжку или сжатие с учетом температуры
окружающего воздуха. Характерная неисправность компенсаторов - утечки газа из
фланцевых соединений, возникающие вследствие повторяющихся растягивающих и
сжимающих усилий, которые приводят к ослаблению болтовых креплений фланцев и
могут вызвать срыв резьбы у болтов.
Ремонт конденсатосборников и
гидрозатворов. Наибольшее количество утечек газа из конденсатосборников и
гидрозатворов приходится на резьбовые соединения и краны. Наиболее слабое место
- стояки конденсатосборников. Если стояки изготовлены из шовных труб, то при
нарезке резьбы, сварке и обрезке трубы продольный шов стояка дает трещины, что
сопровождается интенсивным выходом газа в окружающее пространство. Трещины
продольного шва стояка могут образоваться и в результате изгиба стояка под
действием динамических нагрузок, передаваемых при просадке ковера от
движущегося транспорта.
Конденсатосборник и его стояки могут
подвергаться коррозии, что приводит к утечкам газа.
Характерные признаки наличия
отверстия в конденсатосборниках:
· выделение пены при
откачке конденсата;
· загрязнение
конденсата окружающим грунтом;
· трудность откачки
конденсата;
· отсутствие вакуума
при работе насоса.
Конденсатосборники и
гидрозатворы, поврежденные коррозией, не ремонтируют, а заменяют новыми.
Ремонт стояков связан с
трудоемкими операциями по вскрытию дорожного покрытия, раскопке грунта, снятию
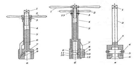
ковера и т.д. На рис. 5 показан набор инструментов для ремонта стояков
конденсатосборни-ков низкого давления.
С помощью торцевого ключа (см
рис. 5, а) снимают муфты. Для этого ключ надевают головкой на муфту, поворотом
рукоятки опускают клин и плотно прижимают им сухарь к муфте. Ключ вращают с
помощью воротка, надеваемого на квадратную головку шпинделя, далее приступают к
обрезке стояка, для чего применяют труборез.
Режущая часть трубореза (рис.
5, б) - ролик. Перед установкой трубореза на стояк необходимо вращением
рукоятки подачи установить клин в крайнее верхнее положение, вследствие чего
под действием пружины режущий ролик выходит из пустотелой полости головки.
Перед обрезкой стояк предварительно очищают от изоляции.
Труборез вращают с помощью
воротка. Вращением рукоятки опускают клин и создают нажим ролика на стояк. Для
разметки стояка на определенную длину используют стержень-ограничитель, имеющий
нарезку с одного конца. Перемещением гайки по резьбе стержня устанавливают
длину отрезаемой трубы.
Для нарезки резьбы на стояке
используют торцевой клупп (рис. 5, в). Для этого плашку вставляют в гнездо
корпуса клуппа и зажимают ее направляющей гайкой.
Для наращивания стояков
гидрозатворов и конденсатосборников производят раскопку и снятие ковера.
В конденсатосборниках высокого
давления часто наблюдаются утечки газа из неплотных кранов. Недостаточной
герметичностью отличаются пробковые краны, когда они плохо притерты или гайка
на хвостовике не обеспечивает достаточного натяжения. Для предотвращения утечки
газа через неплотный кран в свободную муфту крана ввертывают глухую пробку,
которая при пользовании краном вывертывается. При небрежном выполнении этих
операций также могут возникнуть утечки газа.
Рис. 5. Набор инструментов для
ремонта конденсатосборников низкого давления: а - торцевой ключ
1 - квадрат для воротка; 2 -
рукоятка подачи; 3 - гайка подачи; 4 - шпиндель; 5 - трубка подачи; 6 - клин; 7
- сухарь; 8 - головка ключа; 9 - ребро; б- труборез: 1 - вороток; 2 - рукоятка
подачи; 3 - стопор гайки; 4 - трубка подачи; 5 - шпиндель; б, 10 - кольца
скольжения; 7 - клин; 8 - режущий ролик; 9 - державка ролика; 11 - головка; 12
- направляющая гайка; 13 - гайка подачи; в - торцевой клупп: 1 - квадрат для
воротка; 2 - штанга; 3 - корпус; 4 - стопорный болт; 5 - гнездо для плашки; 6 -
направляющая гайка
После окончания работ вносят соответствующие
коррективы в техническую документацию. Капитально отремонтированные газопроводы
и сооружения принимаются специальной комиссией, которая составляет акт приемки
объекта с указанием объема выполненных работ и их качества.