Топливо и смазочные материалы

  • Вид работы:
    Контрольная работа
  • Предмет:
    Другое
  • Язык:
    Русский
    ,
    Формат файла:
    MS Word
    579,96 Кб
  • Опубликовано:
    2013-01-13
Вы можете узнать стоимость помощи в написании студенческой работы.
Помощь в написании работы, которую точно примут!

Топливо и смазочные материалы

Свойства бензинов, определяющие подачу их в смесеобразующую систему

топливо смазка синтетический

Надежное и качественное образование горючей смеси во многом определяет полное сгорание топлива и в целом экономичную работу двигателя. Качество смеси зависит от конструкции карбюратора и топливоподающей системы и от физико-химических свойств применяемого топлива, основными из которых являются испаряемость топлива и давление насыщенных паров. Под испаряемостью понимают свойство топлива переходить из жидкого в газообразное состояние.

В двигателях топливо сгорает, находясь только в газообразном состоянии.

Этому процессу должны предшествовать полное испарение жидкого топлива и хорошее перемешивание образовавшихся паров с воздухом. Неиспарившаяся часть топлива (в виде жидкой фазы) не сгорает, что ведет к перерасходу топлива, а также разжижает моторное масло. Последнее обуславливает повышенный износ деталей двигателя.

Полнота испарения топлива возрастает при повышении скорости движения воздуха и температуры испарения. Эта температура зависит от начальной температуры поступающего воздуха и от скрытой теплоты испарения топлива. С увеличением молекулярной массы углеводородов в топливе повышаются его плотность и температура кипения, а испаряемость ухудшается.

Испарение различают статическое, примером которого является испарение топлива из резервуаров при его хранении, и динамическое, которое происходит в условиях относительного перемешивания жидкого топлива и воздуха. Последнее имеет место в карбюраторе при образовании топливовоздушной смеси. Испаряемость топлива оценивается его фракционным составом, который характеризуется температурными пределами выкипания отдельных частей топлива (фракции).

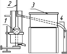
Фракционный состав определяют по ГОСТ 2177-82 перегонкой его на специальном приборе (рис. 1.1). Для этого в колбу 1 наливают 100 мл исследуемого топлива и нагревают до кипения. Температуру паров топлива фиксируют с помощью термометра 2. Пары топлива поступают в холодильник 3, где конденсируются и далее в виде жидкой фазы поступают в мерный сосуд 4. Температура, при которой происходит падение первой капли, условно считают температурой начала кипения.

Рис. 1.1 Прибор для определения фракционного состава топлива: 1- колба; 2-термометр; 3- холодильник; 4- мерный сосуд.

Рис. 1.2 Кривая фракционной разгонки автомобильного бензина А-76: 1-пусковая; 2 - рабочая; 3 - концевая или хвостовая фракция

Затем фиксируют температуру, при которой в мерном сосуде накапливаются 10, 20, 30% и т.д. перегоняемого топлива. Процесс перегонки заканчивается, когда после достижения своего наивысшего значения температура начинает падать. Оставшаяся в колбе часть топлива называется остатком. Объем ее измеряют отдельно. Разность между взятым объемом топлива (100 мл) и суммой объемов отгона в мерном сосуде и остатком в колбе представляют потери, характеризующие летучесть топлива. По результатам перегонки строят кривую фракционной разгонки топлива ( рис. 1.2).

ГОСТ на бензины предусматривает определение температуры начала кипения, выкипания 10, 50, 90% топлива и конец кипения.

Первая пусковая фракция выкипания 10% топлива характеризует его пусковые свойства, чем ниже температура выкипания этой фракции, тем лучше пуск двигателя. Для бензинов 10% топлива должно выкипать при температуре не выше 55 - 70°С. Причем, чем ниже температура воздуха, тем меньше значение ее.

Температура выкипания 10% топлива. Зная температуру выкипания 10% бензина t10%, можно определить минимальную температуру tn (°С), при которой возможен легкий пуск двигателя:

=0,5t10%-50,5 (1.16)

Легкие пусковые фракции топлива необходимы главным образом в период пуска и прогрева двигателя, поэтому вид бензина для двигателей выбирают в зависимости от температуры окружающего воздуха.

В летнее время при относительно высокой температуре воздуха легкие фракции бензина испаряются в топливопроводах, что может привести к образованию паровых пробок и нарушению питания двигателя. Поэтому бензин с максимально допустимым значением выкипания 10% должен обеспечивать легкий пуск холодного двигателя в зимнее время, надежную работу прогретого двигателя без образования паровых пробок.

Содержание легкокипящих углеводородов в бензинах ограничивается также температурой начала кипения, значение которой для всех марок должно быть не ниже 35°С. Такое условие необходимо для уменьшения потерь легкокипящих углеводородов бензина от нагревания при хранении в случае нагревания резервуаров солнцем. Часть бензина от 10 до 90% выкипания называют рабочей фракцией. Температура ее испарения не должна превышать160 -180°С. Чем однороднее углеводородный состав бензина, тем более круто поднимается кривая разгонки в своей средней части. Бензин с такими свойствами позволяет двигателю устойчиво и экономно работать на всех эксплутационных режимах и обеспечивает хорошую приемистость (переход с одного режима на другой). Рабочую фракцию нормируют также по температуре выкипания 50% бензина.

Тяжелые углеводороды бензина в интервале свыше 90% выкипания представляют собой концевые, или хвостовые, фракции, которые крайне нежелательны в топливе (рис. 1.2). Они полностью не испаряются и, значит, не сгорают. Наличие этих фракций обуславливает неполное сгорание топлива, повышение износов деталей за счет смывания масла с гильз цилиндров и разжижение моторного масла (снижение его смазывающей способности).

Кроме фракционного состава, испаряемость топлива характеризуется также давлением насыщенных паров. Давление, которое развивают пары, находящиеся в условиях равновесного состояния с жидкостью при данной температуре, называется давлением паров данной жидкости. С повышением температуры это давление возрастает. Чем выше давление насыщенных паров топлива, тем лучше его испаряемость и тем меньше теплоты потребуется для его испарения. Однако использование топлива с высоким давлением насыщенных паров приводит к образованию паровых пробок, снижению наполнения цилиндров и, следовательно, к падению мощности. Давление насыщенных паров для летних бензинов допускается не выше 0,667 кПа (500 мм рт. ст.), для зимних - 0,667 - 0,933 кПа (500 - 700 мм рт. ст.). От значения давления насыщенных паров бензина зависит температура воздуха, при которой возможен пуск двигателя.

Состав и свойства сжиженных газообразных топлив

Основные компоненты сжиженных газов (ГНС), как современного топлива для двигателей - это пропан , бутан  и их смеси. Получают эти углеводороды из газов, выходящих из буровых скважин вместе с нефтью и из газообразных фракций, получаемых при различных видах переработки нефтепродуктов и каменных углей. Эти углеводороды, содержащие по 3, 4 атома углерода, имеют высокую критическую температуру. Повышением давления и понижением температуры можно все газы превратить в жидкости. Для каждого газа имеется предельная температура, выше которой он не может быть сжижен как бы не увеличивали давление (это и есть критическая температура) для этого необходимо понизить температуру.

Критическая температура представляет собой температуру, при которой плотности жидкости и ее насыщенного пара становятся равными и граница раздела между ними исчезает. Давление насыщенных паров при критической температуре называется критическим давлением. При температуре выше критической вещество может находиться только в газообразном состоянии независимо от внешнего давления. Так как критические температуры пропана (+96,8 °С) и бутана (+152,9 °С) выше обычных температур окружающей среды, оба углеводорода при небольшом давлении (без охлаждения) можно перевести в жидкое состояние. К примеру, при +20 °С пропан сжижается при 0,716, а бутан - при 0,103 МПа. Поэтому компоненты ГНС - бутан и пропан могут храниться в сжиженном состоянии при температуре от -40 °С до +45 °С при давлении до 1,6 МПа.

Газ нефтяной сжиженный (ГНС), который ранее назывался сжиженным нефтяным газом (СНГ) регламентируется по ГОСТ 27578-87 "Газы углеводородные сжиженные для автомобильного транспорта" предусматривает выпуск двух марок: ПА -пропан автомобильный (применяют при температуре до -20...-35 °С) и ПБА - пропан-бутан автомобильный (применяют при температуре до -20 °С).

Для более низких температур предусмотрено применение ЭПА - этан-пропана автомобильного по ТУ 38.1011184-89. Производство и поставка ЭПА для автотранспорта осуществляются только по прямым договорам между поставщиками и потребителями.

На автомобильные газонаполнительные станции поступает также и газ по ГОСТ 20448-90 "Газы углеводородные сжиженные для коммунально-бытового и промышленного потребления. Технические условия". По этим техническим условиям производятся топлива двух марок: смесь пропан-бутановая зимняя (СПБТЗ) и смесь пропан-бутановая летняя (СПБТЛ), с содержанием пропана 75% и 34% соответственно. Для этих газов предусмотрены более широкие допуски на содержание компонентов, в том числе вредных с точки зрения воздействия на двигатель и топливную аппаратуру (например, серу и ее соединения, непредельные углеводороды и другие).

Срабатываемость и сроки замены моторных масел

Скорость срабатывания введенных в масло присадок зависит прежде всего от следующих факторов: типа и теплонапряженности двигателя, его технического состояния, условий эксплуатации, качества используемого топлива. Однако расход присадок приходится на выполнение ими своих основных функций. Часть присадок теряется с угаром масла. Оптимальный уровень концентрации присадок в какой-то мере поддерживают своевременными доливами свежего масла. Срабатывание присадок приводит к изменению многих показателей качества масла, снижается щелочное число, ухудшаются моющие свойства, повышается коррозионность и т.д.

Таким образом, в работавшем масле происходят глубокие изменения: накапливаются продукты превращения углеводородов масел, загрязнения, попавшие с воздухом и топливом, увеличивается количество агрессивных соединений. Во всех случаях качество масла ухудшается быстрее, если оно неправильно подобрано для двигателя данного типа и его качество не отвечает требованиям ГОСТ.

Однако несмотря на глубокие изменения качества при работе масла в двигателях, основной его углеводородный состав меняется незначительно. Если из масла удалить все механические примеси и продукты окисления, общее количество которых обычно не превышает 4-6%, то вновь можно получить базовое масло хорошего качества. Именно на этом принципе и основана регенерация (восстановление) и повторное использование масел.

Значение оптимизации периодичности смены масла трудно переоценить. Если сроки смены масла необоснованно завышены, эксплуатационники сталкиваются с ухудшением его свойств, возрастают отложения в двигателе, увеличивается его износ и, как следствие, расход масла на угар. При необоснованном снижении сроков смены масла увеличивается расход масла из-за частой его смены. В последние годы сроки смены масел значительно увеличены, благодаря улучшению качества масел. Сроки смены моторных масел находятся в пределах 10-18 тыс. км - они, как правило, приурочиваются к техническому облуживанию ТО-2 или ТО-1.

Увеличение сроков смены масел рассматриваются в настоящее время как один из реальных путей экономии нефтяных ресурсов, так как очевидно, что более длительная работа смазочного масла без смены предопределяет и более экономичную эксплуатацию автомобилей.

Загустители пластичных смазок и их виды

В качестве масляной основы смазок используют различные масла нефтяного и синтетического происхождения. Загустителями, образующими твердые частицы дисперсной фазы, могут быть вещества органического и неорганического происхождений (мыла жирных кислот, парафин, такие термостойкие материалы, как силикагель, бентонит, сажа, органические пигменты и т.п.). Размеры частиц дисперсной фазы очень малы - 0,1-10 мкм. Наиболее характерная форма частиц загустителя - мелкие шарики, ленты, пластинки, иголки, сростки кристаллов и др. Пространственный каркас, например, мыльных смазок состоит из вытянутых плоских лентообразных или игольчатых частиц.

Для большинства смазок на долю дисперсионной среды - жидкого масла приходится от 70 до 90% массы смазок. Это объясняет тот факт, что многие их свойства зависят от масляной основы, хотя важнейшие характеристики определяются все же типом загустителя. Так, природа, фракционный состав, молекулярная масса загущаемых масел полностью определяют испаряемость смазок. От вязкости дисперсионной среды во многом зависят вязкостные характеристики смазок, например, прокачиваемость смазки при низких температурах. От вязкостных характеристик дисперсионной среды смазок зависит в основном сопротивление вращению в таком важном узле трения, как подшипник качения, а также почти целиком (частично еще и от концентрации загустителя) - низкотемпературные свойства смазок.

Содержание дисперсной фазы загустителя в пластичных смазках колеблется от 5 до 30% и обычно составляет 10-20%. Тем не менее именно он определяет основные эксплуатационные характеристики смазки. Поскольку дисперсионная среда не оказывает такого влияния на свойства смазки, их принято классифицировать по природе загустителя: мыльные (загущены мылами высших жирных кислот), углеводородные (загущены твердыми углеводородами), силикагелевые (загущены силикагелем) и др.

Мыльные смазки. Загустителями в мыльных смазках являются мыла (соли высших жирных кислот). Причем все чаще применяют комплексные мыла. Мыла для производства смазок получают нейтрализацией высших жирных кислот гидроокисями металлов - щелочами.

Углеводородные смазки. Их получают, сплавляя нефтяные масла с твердыми углеводородами - парафином, церезином, а также с побочным продуктом депарафинизации - петролатумом, представляющим собой сложную смесь парафинов и церезинов различной молекулярной массы. Углеводородные смазки занимают исключительное место среди консервационных (защитных) смазок благодаря таким свойствам, как невысокая температура плавления и обратимость структуры, абсолютная нерастворимость в воде. Их можно легко наносить на металлические детали и поверхности, окуная, например, в расплавленную смазку при 60-120 °С, распылением, при помощи кисти и т.д. Толщину защитного слоя можно легко регулировать, изменяя, например, температуру расплава. Даже тонкий слой углеводородной смазки (около 0,5 мм) надежно защищает поверхность от проникновения воды и пара.


Пластические массы относятся к полимерным высокомолекулярным синтетическим материалам. Их можно сваривать, прессовать и прокатывать как металл. Из них можно отливать детали самой сложной формы.

Термореактивные пластмассы (реактопласты) при повторном нагревании вследствие протекания необратимых химических реакций превращаются в твердые труднорастворимые и неразмягчающиеся (неплавкие) вещества. Поэтому формирование деталей из термореактивных пластмасс должно опережать процесс образования самой пластмассы, так как в противном случае оно будет затруднено или невозможно. Термореактивные пластмассы получают поликонденсацией низкотемпературных веществ при повышенной температуре, сопровождающейся отщеплением побочных продуктов (воды, спирта и др.). Термореактивная смола переходит в термостабильное состояние при температуре 160-200 °С. Из числа термореактивных смол наиболее часто применяют в качестве связующих фенольно-формальдегидные, полиэфирные, эпоксидные, кремнийорганические (полисилоксановые), меламино-формальдегидные и др. В отвержденном состоянии большинство термореактивных смол по сравнению с термопластичными меньше изменяют физические и механические свойства при нагреве, обладают малой хладотекучестью, т.е. ползучестью под влиянием постоянно действующей нагрузки. К термореактивным пластмассам относят фенопласты, аминопласты, пресс-композиции на основе кремнийорганических и полиэфирных смол.

Фенопласты давно известный и широко распространенный вид пластических масс. В чистом виде фенолоальдегидные пластики (литой резит) используют очень редко из-за повышенной хрупкости; их усиливают наполнителями, а также модифицируют совмещением с синтетическим каучуком и некоторыми термопластами. Классифицируют фенопласты по наполнителю. При изготовлении автомобильных деталей из фенопластов наиболее часто применяют так называемые слоистые пластики: асботекстолит, текстолит, карболит.

Накладки дисков сцепления и тормозов могут быть изготовлены из асботекстолита с добавкой каолина.

Из специального текстолита изготовляют шестерни распределительного вала двигателей, опорные шайбы крыльчатки водяных насосов двигателей, опорные шайбы распределительных валов и другие детали. Из карболита изготовляют крышку и ротор прерывателя-распределителя, изоляторы катушки зажигания и другие детали.

В автомобилестроении из стеклопластиков изготовляют кузова и другие крупногабаритные и высоконагруженные детали.

На основе термопластичных и термореактивных смол изготовляют пенопласты и поропласты, обладающие высокой эластичностью. Пенопласты, например, пенополиуретан ПУ-101 используется для изготовления автомобильных подушек и спинок. Пластические массы используют при ремонте автомобилей. Для выравнивания поверхности кузовов применяют пластмассы в виде паст и порошков.

Эпоксидные пасты применяют для выравнивания поверхности кузовов. Они обладают высокой адгезией к металлам, значительной механической прочностью, эластичностью, малой усадкой, химической стойкостью к нефтепродуктам, воде, растворам солей, щелочам, кислотам, некоторым растворителям. Эпоксидные смолы используют также как конструкционный, электроизоляционный материал и как связующее при изготовлении стеклопластиков и пресс-композиций. Они применяются в качестве клеев холодного и горячего отверждения, а также используются для противокоррозионных и водостойких покрытий, обладающих хорошей атмосферо и светостойкостью, взамен сварки при ремонте кузовов, трещин на рубашке охлаждения и в клапанной коробке блока цилиндров, пробоин (до 25 мм) стенок рубашки охлаждения блока цилиндров, трещин головки цилиндров, обломов в головке цилиндров в месте крепления датчика и указателя температуры воды, пробоин до 70 мм в поддоне картера двигателя и др. Отремонтированные детали надежно работают при температуре, не превышающей 100-120 °С. Пластмассовые порошки (ПФН-12 и ТПФ-37) применяются для выравнивания поверхности кузовов и кабин путем газопламенного напыления при температуре 210-220 °С. Покрытия из порошков ПФН-12 и ТПФ-37 стойки к действию органических кислот, масел, имеют высокий предел прочности на разрыв. Полиамидные (капроновые) порошки используют для получения антифрикционных слоев подшипников скольжения. Капрон, особенно в сочетании с закаленной сталью, обладает исключительной износостойкостью и практически исключает износ сопряженной детали, он имеет незначительный коэффициент трения и поэтому частично допускает работу без смазки. Капроновое покрытие защищает металл от коррозии и действия щелочей, слабых кислот, бензина, ацетона. Обладает низкой температурной стойкостью - температура в узле трения с капроном должна быть от -30° до +80 °С. Более жестко ограничиваются и удельное давление, и скорость скольжения. Полиамидную массу - капрон используют при ремонте автомобилей для изготовления методом литья под давлением декоративных и конструкционных деталей. Номенклатура изготовляемых деталей широка, назовем втулки рессор, крестовин карданного шарнира и шкворня поворотной цапфы; шестерню привода спидометра, масленки подшипника выключения сцепления, сливные краники, кнопки сигнала, рукоятки рычага переключения передач и др.

Задача 1

Определить марку и возможность применения в автомобильном двигателе бензина со следующими показателями эксплуатационных свойств:

-октановое число (ОЧМ) по моторному методу 72;

-температура перегонки 10% бензина 54ºС;

-температура перегонки 50% бензина 110ºС;

-температура перегонки 90% бензина 165ºС;

-температура конца перегонки бензина 190ºС;

-давление насыщенных паров P=950 гПа;

содержание фактических смол, на 100мл топлива 11мг;

индукционный период, 840 мин;

содержание серы S=0,2%;

кислотность, KOH=4,2 мг на 100 мл топлива;

Используя номограммы (рисунок П1), определяем температуры окружающего воздуха, при которых в случае использования данного топлива:

паровые пробки в системе питания двигателя образуются при температуре окружающего воздуха t= 3ºС;

-затрудняется пуск двигателя при t= -33 ºС до - 19 ºС;

запуск холодного двигателя становится невозможным при t=-33 ºС и ниже;

-ухудшается приёмистость двигателя от t=-19 ºС и ниже;

наблюдается разжижение масла в двигателе при t=-14 ºС до + 6 ºС;

-наблюдается интенсивный износ двигателя при t=-14 ºС и ниже.

Данный бензин А-76 не содержит водорастворимых кислот и щелочей, механических примесей и воды. Является нестандартным, несоответствует ГОСТ 2084-77. Возможно его применение в Алтайском крае в зимний период эксплуатации. Бензин, не отвечающие техническим требованиям, может быть использован по прямому назначению после доведения его показателей до норм ГОСТа (например, смешением данного бензина с другим бензином, имеющим запас качества по соответствующим показателям).

Особенности работы двигателя ЗМЗ-406 на данном бензине: подходит для карбюраторного двигателя в качестве зимнего топлива. Обеспечивает легкий пуск в зимнее время, но увеличивает вероятность образования паровых пробок (при t= 3ºС и выше) . Ввиду низкого октанового числа возникнет детонационное сгорание, металлический стук и дымный выхлоп. Ухудшается приёмистость двигателя, увеличиваются отложения. В данном бензине содержание фактических смол превышает норму, в результате чего образуется нагар на деталях камеры сгорания двигателя. Индукционный период ниже нормы из-за этого снижается химическая стойкость бензина к окислению. Уменьшается допустимый срок хранения. В результате повышенной кислотности данного бензина в двигателе возрастает коррозионная активность.


Задача 2

Определить марку и возможность применения в дизельном двигателе автомобиля КамАЗ топлива со следующими показателями эксплуатационных свойств:

цетановое число 50;

температура перегонки 50% топлива 270°С;

температура перегонки 96% топлива 350°С;

плотность при 20°С 830 кг/;

вязкость при 20°С 1,7 /с;

температура застывания -40°С;

температура вспышки 38°С;

коэффициент фильтруемости 5,0;

-содержание фактических смол, на 100 мл топлива 45 мг;

зольность %

Подробно описать особенности работы двигателя на данном топливе.

Данное дизельное топливо нестандартное, не соответствует ГОСТ 305-82. Выдерживает испытание на медной пластинке(т.е. не содержит серы). Возможно применять в зонах холодного климата (для дизелей общего пользования).

Данное дизельное топливо нерекомендуется для постоянного пользования в дизельном двигателе КамАЗ так как ЦЧ выше нормы вследствие этого происходит ухудшение экономичности и повышается дымность отработавших газов. Так как вязкость имеет заниженный параметр, то увеличивается износ плунжерных пар. В результате использования данного дизельного топлива увеличиваются отложения в топливной системе и камере сгорания, происходит снижение надежности двигателя. Так же снижается сохраняемость качества. Коэффициент фильтруемости завышен это свидетельствует об ухудшении чистоты топлива, связанной с наличием воды, механических примесей, смолистых веществ, мыл нафтеновых кислот. Ухудшается подача топлива, увеличивается износ деталей топливной аппаратуры. В результате завышенной кислотности возрастает коррозионная активность и склонность топлива к отложениям в системе питания и камере сгорания. В данном топливе содержание фактических смол также выше нормы, в результате происходит увеличение отложений в топливной системе и камере сгорания. Образуются осадки на фильтре, трубопроводах и топливном боксе. Происходит снижение надёжности двигателя.

Задача 3

Определить по номограмме (рисунок П2) индекс вязкости моторного масла, используя следующие данные:

Вязкость масла при температуре 100°С равна 12/с;

Вязкость масла при температуре 50°С равна 100/с.

Определяем индекс вязкости моторного масла по номограмме, восстанавливаем перпендикуляры от известных значений вязкости при 50° и 100 °С для данного масла и точка пересечения с прямой на номограмме покажет индекс вязкости для данного масла. В нашем случае ν =30/с.

Рис.

Список литературы

1.Васильева Л.С. Автомобильные эксплуатационные материалы: учебник [для вузов]/ Л.С. Васильева. -М.:Транспорт, 1986. - 279 с.

Похожие работы на - Топливо и смазочные материалы

 

Не нашли материал для своей работы?
Поможем написать уникальную работу
Без плагиата!
Без нейросетей!