Разработка противовыбросового оборудования

  • Вид работы:
    Курсовая работа (т)
  • Предмет:
    Другое
  • Язык:
    Русский
    ,
    Формат файла:
    MS Word
    1,86 Мб
  • Опубликовано:
    2013-02-05
Вы можете узнать стоимость помощи в написании студенческой работы.
Помощь в написании работы, которую точно примут!

Разработка противовыбросового оборудования

СОДЕРЖАНИЕ

ВВЕДЕНИЕ

. АНАЛИЗ КОНСТРУКЦИЙ ПРЕВЕНТОРНЫХ УСТАНОВОК

1.1 Плашечные превенторы

.2 Универсальные превенторы

1.3 Вращающиеся превенторы

2. ОБОСНОВАНИЕ ВЫБОРА КОНСТРУКЦИЙ ПРЕВЕНТОРОВ

. КОНСТРУКТИВНЫЕ ОСОБЕННОСТИ УНИВЕРСАЛЬНЫХ ПРЕВЕНТОРОВ

4. РАСЧЕТ универсального превентора

4.1 Расчет уплотнителя

.2 Расчет усилия на поршень необходимый для герметизаций

устья скважины

5. ОХРАНА ОКРУЖАЮЩЕЙ СРЕДЫ

ЗАКЛЮЧЕНИЕ

СПИСОК ИСПОЛЬЗОВАННОЙ ЛИТЕРАТУРЫ

ВВЕДЕНИЕ

В настоящее время нефтяная промышленность переживает большой подъем. За последние годы созданы новые образцы буровых машин и комплексов, оказавших заметное влияние на производительность буровых работ и ускорение темпов роста добычи нефти и газа. Успехи бурения неразрывно связаны с новейшими научными разработками в области расчетов и проектирования буровых машин, повышения их технического уровня и надежности. Для закрепления достигнутых успехов необходимо постоянно расширять объемы разведочного и эксплуатационного бурения путем дальнейшего повышения производительности буровых машин, механизации тяжелого ручного труда, оптимизации и автоматизации буровых работ. В связи с этим необходимо проведение работ по перевооружению буровых предприятий высокопроизводительными автоматизированными установками. Именно это позволит обеспечить необходимый прирост объема буровых работ.

Выбросы нефти и газа, по вызывающим их причинам, можно подразделить на два основных вида:

) выбросы, вызванные причинами технологического характера;

) выбросы, вызванные причинами технического характера.

К первым следует отнести неправильную оценку пластового давления, в связи с чем производится неправильный выбор параметров бурового раствора (удельный вес, вязкость, статическое напряжение сдвига); подъем бурового инструмента из скважины с сальником на долоте или замках с затяжкой и расхаживанием, что сопровождается поршневым эффектом, прямым следствием которого является снижение противодавления на пласт, отсюда вызов притока из пласта; подъем бурильного инструмента из скважины на высоких скоростях в продуктивной зоне или близко лежащих к этой зоне пластах, в особенности при бурении скважин малыми размерами долот (в этих случаях также имеет место поршневой эффект); бурение в сильно поглощающих пластах.

Противовыбросовое оборудование представляет собой комплекс, предназначенный для управления проявляющей скважиной с целью предотвращения открытых фонтанов и охраны окружающей среды от загрязнения. Основная задача комплекса - сохранение находящегося в скважине бурового раствора и проведение операций по его замещению (глушение скважин).

Комплекс противовыбросового оборудования обеспечивает проведение следующих работ: герметизацию скважин, включающую закрывание-открывание плашек без давления и под давлением; спускоподъем колонны бурильных труб при герметизированном устье, включая протаскивание замков, расхаживание труб, подвеску колонн на плашки и удерживание колонн в скважине плашками при выбросе; циркуляцию бурового раствора с созданием регулируемого противодавления на забой; оперативное управление гидроприводными составными частями оборудования.

С ростом глубины бурения значительно увеличивается и рабочее давление превенторов. Постоянно разрабатываются и готовятся к производству новые конструкции противовыбросового оборудования, отвечающие возросшим требованиям бурения. На основе накопленного опыта, научно-исследовательских и опытно-конструкторских работ, а также новейших достижений в нефтяном машиностроении и смежных областях науки и техники противовыбросовое оборудование непрерывно совершенствуется: повышается его долговечность и надежность, снижается масса, сокращается металлоемкость и трудовые затраты на его изготовление, эксплуатацию и ремонт. Это обусловило широкую номенклатуру моделей и модификаций превенторов и компоновки превенторных установок, используемых в отечественной и зарубежной практике бурения разведочных и эксплуатационных скважин [1].

1. АНАЛИЗ КОНСТРУКЦИЙ ПРЕВЕНТОРНЫХ УСТАНОВОК

Противовыбросовое оборудование представляет собой комплекс, состоящий из сборки превенторов, манифольда и гидравлического управления превенторами, предназначенный для управления проявляющей скважиной в целях обеспечения безопасных условий труда персонала, предотвращения открытых фонтанов и охраны окружающей среды от загрязнения в умеренном и холодном макроклиматических районах.

Область применения противовыбросового оборудования - строительство и капитальный ремонт нефтяных и газовых скважин.

Основные задачи комплекса - сохранение находящегося в скважине бурового раствора и проведение операций по его замещению (глушение скважины) другим с требуемыми параметрами.

Комплекс противовыбросового оборудования обеспечивает проведение следующих работ:

·  герметизацию скважины, включающую закрывание и открывание плашек (уплотнителя) без давления и под давлением;

·        спуск и подъем колонны бурильных труб при герметизированном устье, включая протаскивание замковых соединений, расхаживание труб, подвешивание колонны труб на плашки и удержание ее в скважине плашками при выбросе;

·        циркуляцию бурового раствора с созданием регулируемого противодавления на забой и его дегазацию;

·        оперативное управление гидроприводными составными частями оборудования.

Основные параметры противовыбросового оборудования и его составных частей соответствуют требованиям ГОСТ 13862 - 90 и данным приведенным в таблице 1.

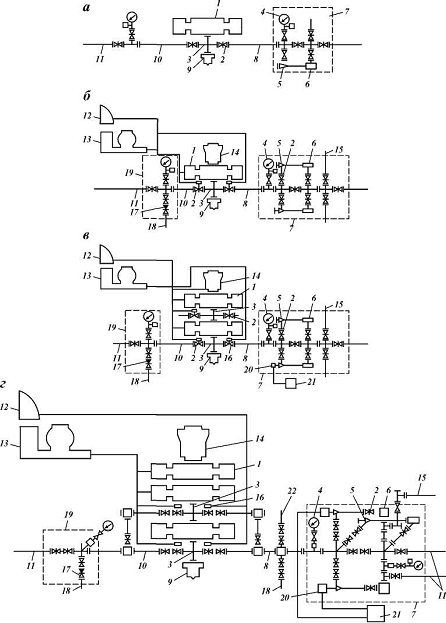
В соответствии с ГОСТом предусмотрено 10 типовых схем обвязки противовыбросового оборудования:

схемы 1 и 2 - с механическим (ручным) приводом превенторов;

схемы 3-10 - с гидравлическим приводом превенторов.

На рисунке 1 приведены схемы 1, 3, 7 и 10. Схема включает блок превенторов (плашечные с ручным или гидравлическим управлением, кольцевой, соединительные катушки и крестовина), станцию гидроуправления превенторами и гидроуправляемыми задвижками и манифольд противовыбросового оборудования, состоящий из блока глушения, блока дросселирования с запорной и регулирующей арматурой, напорных трубопроводов и блока сепаратора бурового раствора.

Таблица 1

Основные параметры противовыбросового оборудования

Условный диаметр прохода противовыбросового оборудования, мм

Рабочее давление, МПа

Условный диаметр прохода манифольда, мм

Номинальное давление станции гидропривода (для схем 3-10), МПа

Максимальный диаметр трубы, проходящий с трубодержателем (подвеской) через противовыбросовое оборудование, мм



Для бурения

Для ремонта



100

14; 21; 35; 70*1)

80

50; 65; 80

10,5; 14; 21; 35

-

180

14; 21*2); 35*2); 70;105




127

230

35*3); 70*3)




146

280

21; 35; 70*4); 105




194

350

21; 35*3); 70




273

425

21; 35




340

476

35; 70




377

14; 21




426

680

7; 14




560

*1)Изготовитель - МНПЭК. *2)Изготовитель - ПО «Баррикады». *3)Изготовитель - ОАО «ВЗБТ». *4)Изготовитель - Пермский машиностроительный завод




Рисунок 1 - Типовые схемы обвязки противовыбросового оборудования по ГОСТ 13862-90:

а - схема 1; б - схема 3; в - схема 7; г - схема 10; 1 - плашечный превентор; 2 - задвижка с ручным управлением; 3 - крестовина; 4 - манометр с запорным и разрядным устройствами; 5 - регулируемый дроссель с ручным управлением; 6 - гаситель потока; 7 - блок дросселирования; 8 - линия дросселирования; 9 - устье скважины; 10 - линия глушения; 11 - прямой сброс; 12 - вспомогательный пульт; 13 - гидроуправление превенторами с основным пультом; 14 - кольцевой превентор; 15 - отвод к сепаратору; 16 - задвижка с гидроуправлением; 17 - обратный клапан; 18 - отвод к буровым насосам; 19 - блок глушения; 20 - регулируемый дроссель с гидроуправлением; 21 - пульт управления дросселем; 22 - отвод к системе опробования скважины

Типовые схемы обвязки противовыбросового оборудования по ГОСТ 13862 - 90 устанавливают минимальное число необходимых составных частей блока превенторов и манифольда, которые могут дополняться в зависимости от конкретных условий строящейся или ремонтируемой скважины.

В противовыбросовом оборудовании для бурения допускается уменьшение условного диаметра прохода линий, соединяемых с дросселем, и линий глушения до 50 мм, увеличение условного диаметра прохода линий дросселирования до 100 мм. При этом условный диаметр прохода боковых отводов устьевой крестовины должен быть не более условного диаметра прохода подсоединяемой линии манифольда.

Допускается также применять станции гидропривода с номинальным давлением из следующего ряда: 16; 25; 32; 40 МПа.

Условное обозначение противовыбросового оборудования по ГОСТ 13862 - 90 состоит из слова «оборудование», шифра, построенного по приведенной ниже схеме, и наименования нормативно-технического документа на поставку или стандарта:

ü диаметр условный прохода ОП, мм;

ü  диаметр условный прохода манифольда, мм;

ü  рабочее давление, МПа;

ü  тип исполнения изделия по коррозионной стойкости - в зависимости от скважинной среды (таблица 2);

ü  обозначение модификации, модернизации (при необходимости).

Таблица 2

Коррозионное исполнение противовыбросового оборудования

Скважинная среда с объемным содержанием

Обозначение коррозионно-стойкого исполнения

СО2 - до 6 % СО2 и H2S - до 6 % каждого СО2 и H2S - до 25 % каждого

К1 К2 КЗ


Пример условного обозначения противовыбросового оборудования (ОП) по схеме 6 на рабочее давление 35 МПа с условным диаметром прохода превенторного блока 280 мм и манифольдом с условным диаметром прохода 80 мм: оборудование ОП6-280/80x35, ГОСТ 13862-90.

То же для противовыбросового оборудования по схеме 9 на рабочее давление 70 МПа с условным диаметром прохода превенторного блока 280 мм, превентором с перерезывающими плашками и манифольдом с условным диаметром прохода 80 мм: оборудование ОП9с-280/80х70, ГОСТ 13862-90.

Принципиальная схема противовыбросового оборудования приведена на рисунке 2.

В комплект превенторных установок входят плашечные, универсальные и вращающиеся превенторы, а также система трубопроводов обвязки с задвижками или кранами высокого давления, имеющими дистанционное управление.

Противовыбросовая установка подразделяется на две системы: герметизирующую и управляющую. К системе герметизации устья скважины относятся превенторы с устройствами для гидравлического, пневматического или механического воздействия на уплотняющий элемент. К системе управления относятся задвижки или краны с гидравлическим или механическим управлением штуцеры, отбойные камеры, а также отводы с приспособлениями для присоединения к различным агрегатам.

Манифольд противовыбросового оборудования состоит из линий дросселирования и глушения, которые соединяются со стволовой частью противовыбросового оборудования и представляют собой систему трубопроводов и арматуры (задвижки с ручным и гидравлическим управлением, регулируемые дроссели с ручным и гидравлическим управлением, манометры и др.).

Рисунок 2- Принципиальная схема противовыбросового оборудования

1- установка превенторов; 2- манифольд; 3- основной пульт управления; 4- вспомогательный пульт; 5- ручной привод

Линия глушения соединяется с буровыми насосами и служит для закачки в скважину утяжеленного раствора по межтрубному пространству. При необходимости линию глушения можно использовать для слива газированного промывочного раствора в камеру-дегазатор циркуляционной системы буровой установки. Линия дросселирования служит для слива промывочного раствора и отбора флюидов из скважины с противодавлением на пласт, а также для закачки жидкости в скважину с помощью цементировочных агрегатов.

Манифольды противовыбросового оборудования рассчитывают на рабочее давление: 21, 35, 70 МПа. По конструкции задвижек манифольды делятся на два типа: МП- с клиновыми задвижками и МПП- с прямоточными задвижками. Манифольды типа МП в блочном исполнении имеют шифр МПВ. Шифр манифольдов дополняется цифрами, указывающими диаметр их проходного отверстия и рабочее давление (например МПВ-80´35). В современных манифольдах диаметр проходного отверстия принимается равным 80 мм для всех схем противовыбросового оборудования.

Задвижки манифольда имеют ручное и гидравлическое дистанционное управление. Главными являются задвижки с гидравлическим управлением, осуществляемым посредством гидроцилиндра двойного действия, поршень которого соединяется с шибером задвижки.

Дроссели (штуцеры) имеют ручное или гидравлическое дистанционное управление и служат для создания противодавления на пласт с целью плавного регулирования скорости потока жидкости, поступающей из скважины. Работа дросселя регулируется осевым перемещением конического наконечника, в результате которого изменяется проходное сечение дросселя.

В линиях глушения и дросселирования применяются высококачественные бесшовные трубы. Фланцевые соединения манифольда уплотняются металлическими кольцевыми прокладками. Базовой деталью для монтажа стволовой части и манифольда противовыбросового оборудования является устьевая (верхняя) крестовина колонной головки. При несоответствии диаметров крестовины и превентора между ними устанавливается переводная катушка или переводной фланец. Линии манифольда должны быть прямыми и отведены от дорог, линий электропередач и других сооружений. Поворот линии манифольда допускается в исключительных случаях и только с применением стальных кованых угольников.

Манифольд устанавливается на санях с телескопическими стойками, позволяющими регулировать высоту его расположения в пределах 0,65-1,25 м в зависимости от положения колонной головки над устьем скважины, изменяющегося после спуска и цементирования очередной обсадной колонны. Высота разъемного желоба устанавливается по расстоянию между фланцевой катушкой и ротором буровой установки [5].

Основным элементом противовыбросового оборудования является превентор. В связи с множеством требований, предъявляемых данному типу оборудования, существуют различные конструкции превенторов.

Плашечный превентор - наиболее распространенный тип предназначен для герметизации устья скважины при наличии и отсутствии труб в скважине.

Универсальные превенторы обладают более широкими возможностями. Они герметизируют устье скважины при наличии и отсутствии в ней подвешенной колонны труб и вместе с тем позволяют, сохраняя герметичность устья скважины, проворачивать бурильную колонну и протаскивать трубы вместе с муфтами и бурильными замками. Универсальный превентор способен герметизировать устье скважины независимо от диаметра и геометрической формы уплотняющего элемента.

Вращающиеся превенторы предназначены для герметизации кольцевого зазора между устьем скважины и бурильной колонной и обеспечения возможности вращения, подъема и спуска бурильной колонны при герметизированном устье. В составе противовыбросового оборудования вращающийся превентор используется при роторном бурении с очисткой забоя от выбуренной породы газом, воздухом или аэрированным промывочным раствором, а также при обратной промывке скважины и вскрытии пластов с высоким пластовым давлением [1].

.1 Плашечные превенторы

Плашечные превенторы предназначены для герметизации устья при наличии в скважине труб или в отсутствие их; применяют для эксплуатации в умеренном и холодном макроклиматических районах.

Плашечные превенторы обеспечивают возможность расхаживания колонны труб при герметизированном устье в пределах длины между замковыми или муфтовыми соединениями, подшивание колонны труб на плашки и ее удержание от выталкивания под действием скважинного давления.

Установлена следующая система обозначения плашечного превентора:

ü тип перевентора и вид привода - ППГ (плашечный с гидроприводом), ППР (плашечный с ручным приводом), ППС (плашечный с перерезывающими плашками);

ü  конструктивное исполнение - с трубными или глухими плашками - не обозначается;

ü  диаметр условный прохода, мм;

ü  рабочее давление, МПа;

ü  тип исполнения - в зависимости от скважинной среды (Kl, K2, КЗ).

Плашечные превенторы с гидравлическим управлением предназначены для герметизации устья скважины в целях предупреждения выброса. Технические характеристики плашечных превенторов даны в таблице 3.

Устройство плашечного превентора с гидравлическим управлением типа ППГ показано на рисунке 3. Корпус 2 превентора представляет собой стальную отливку с вертикальным проходным отверстием и цилиндрическими фланцами с резьбой для шпилек. Соединение шпильками позволяет уменьшить высоту превентора, однако требует точной его подвески при монтаже противовыбросового оборудования, обеспечивающей совпадение осей шпилек и отверстий фланца. На опорных поверхностях фланцев имеются канавки для уплотнительной стальной кольцевой прокладки восьмигранного сечения.

Корпус превентора снабжен горизонтальной сквозной полостью для размещения плашек 18. Снаружи полость закрывается боковыми крышками 1 и 6, которые крепятся к корпусу болтами 5. Стыки крышек с корпусом уплотняются резиновыми прокладками 4, установленными в канавках крышек. Используются и откидные крышки, шарнирно соединяемые с корпусом, позволяющие осуществлять быструю смену плашек. Для предотвращения примерзания плашек в корпус превентора встраиваются трубки 15 для подачи пара в зимнее время. На боковых торцах крышек посредством шпилек крепятся гидроцилиндры 7 двустороннего действия для закрытия и открытия превенторов. Усилие, создаваемое гидроцилиндром, должно быть достаточным для закрытия превентора при давлении на устье скважины, равном рабочему давлению превентора.

Штоки поршней 8 снабжены Г-образным выступом для соединения с оправкой плашек. Под давлением рабочей жидкости, нагнетаемой из коллектора 3 по трубкам 19 в наружные полости гидроцилиндра, поршни перемещаются во встречном направлении и плашки закрывают проходное отверстие превентора. При нагнетании рабочей жидкости во внутренние полости гидроцилиндров плашки раздвигаются и открывают проходное отверстие превентора. Поршни и штоки, а также неподвижные соединения гидроцилиндров уплотняются резиновыми кольцами 9, 13, 14.

Гидравлическое управление превентором дублируется ручным механизмом одностороннего действия, используемым при отключении и отказах гидравлической системы, а также при необходимости закрытия превентора на длительное время. Ручной механизм состоит из шлицевого валика 10 и промежуточной резьбовой втулки 12, имеющей шлицевое соединение с поршнем. Вилка 10 посредством вилки 11 кардана и тяги соединяется со штурвалом, вынесенным на безопасное расстояние от устья скважины. При вращении валика по часовой стрелке резьбовая втулка 12 приводится в прямолинейное движение и перемещает поршень до замыкания плашек превентора. Расчетное время закрытия превентора составляет 10 секунд при использовании гидравлической системы и 70 секунд при ручном управлении. При обратном вращении винта поршни остаются неподвижными, а резьбовые втулки благодаря шлицевому соединению с поршнями возвращаются в исходное положение. После перемещения резьбовых втулок в исходное положение превентор можно открыть при помощи гидравлической системы управления.

Рисунок 3- Плашечный превентор

В плашечных превенторах применяют трубные плашки для герметизации устья скважины с подвешенной колонной бурильных или обсадных труб и глухие плашки при отсутствии труб в скважине. При необходимости используют специальные плашки для перерезания труб.

Плашки состоят из резинового уплотнения 16 и вкладыша 17, соединенных с корпусом болтами и винтами. Армированные металлические пластины придают уплотнителю необходимую прочность и противодействуют выдавливанию резины при расхаживании колонны труб. Наработка уплотнителя измеряется числом циклов закрытия превентора и суммарной длиной труб, протаскиваемых через закрытый превентор со скоростью 0,5 м/ч при давлении в гидроцилиндре и скважине не более 10 МПа. Согласно нормам, средняя наработка до отказа уплотнителя должна составлять не менее 300 закрытий превентора без давления и обеспечивать возможность протаскивания более 300 м труб через закрытый превентор.

В структурно-поисковом бурении используются плашечные превенторы типа ППБ (ППБ-307×320) с электрическим приводом. Они состоят из следующих основных деталей и узлов: корпус, крышки, телескопические винтовые штоки, боковой приводной вал. Корпус превентора представляет литую стальную коробку, имеющую вертикальное проходное отверстие и горизонтальное отверстие прямоугольной формы, в которое с двух сторон вставляются плашки. Прямоугольное отверстие с двух сторон закрывается откидными крышками и уплотняется резиновыми прокладками. Крышка состоит из корпуса, стакана, присоединяемого на винтах к корпусу, биметаллических втулок и резиновых манжет. В крышке смонтированы винт и шток, образующие телескопическую винтовую пару. На выводном конце винта насажана звездочка. Во внешнюю ступицу корпуса крышки вставляется валик, на квадратный конец которого насажена звездочка с полукарданом для присоединения к электрическому управлению. Телескопическое устройство приводится в действие через звездочки, соединяемые втулочно-роликовой цепью, от бокового приводного вала. Кроме электрического дистанционного управления предусмотрен ручной привод для управления превентором в случае отключения электричества и для длительной его фиксации в закрытом положении.

Разработан и испытан плашечный превентор с односторонним приводом ПГО-230×320 Бр, плашки которого посредством рычагов перемещаются от одного силового цилиндра. Благодаря этому в превенторах ПГО плашки сходятся в центре проходного отверстия независимо от соосности превентора и подвешенной колонны труб.

В целях снижения высоты стволовой части противовыбросового оборудования пользуются сдвоенными превенторами, заменяющими два обычных плашечных превентора. При наличии агрессивных сред используется противовыбросовое оборудование в коррозионно-стойком исполнении со специальным покрытием внутренней полости превентора.

Техническая характеристика плашечного превентора приведена в таблице 3.

Таблица 3

Техническая характеристика плашечных превенторов

Показатель

Типоразмер превентора


ППР-180х21(35)

ППГ-230х70

ППГ-280х70

ППГ-350х35

ППГ-180х70КЗ

ППГ2-180х70КЗ

Условный диаметр прохода, мм

180

230

230

280

350

180

Рабочее давление, МПа: Пробное В системе гидроуправления

 21 (35) 42 (70)  -

 35 70  10.0




 70 105  21

Тип управления

Ручной

гидравлический

Диаметр условных труб, уплотняемый плашками, мм

42-140

73-168

60-194

73-273

33-127

Нагрузка на плашки, кН (тс): от массы колонны труб выталкивающая

560(56) 160(16)

1100(110) 450(45)

2700(270) 800(80)

2500(250) 1100(110)

1600(160) 560(56)


Габаритные размеры (длина, ширина, высота), мм

1800x540x540

2085x670x310

2630x790x405

310x660x950

2900x1250x450


Масса, кг

1315

840

1660

5900

2700



Плашечные превенторы не обеспечивают герметизации устья скважины, если на уровне плашек располагаются ведущая труба, бурильный замок, муфта и другие части колонны труб, диаметр и геометрические формы которых не соответствуют установленным в превенторе плашкам. При закрытом превенторе допускается медленное расхаживание колонны в пределах гладкой части труб и невозможно вращение, спуск и подъем бурильной колонны [2].

Пример условного обозначения плашечного превентора с гидроприводом, условным диаметром прохода 350 мм на рабочее давление 35 МПа для сред типа К2: ППГ - 350х35К2.

Основные показатели надежности плашечного превентора обеспечивают периодическую проверку его на функционирование путем закрытия на трубе, опрессовкой буровым раствором или водой и открытия, а также возможностью расхаживания бурильной колонны на длине трубы под избыточным давлением. Показатели надежности плашечных превенторов установлены ГОСТ 27743-88.

1.2  Универсальные превенторы

Универсальные превенторы предназначены для герметизации устья скважины при наличии колонны труб или в отсутствие ее.

Установлена следующая система обозначения универсальных превенторов:

ü ПУ - превентор универсальный;

ü  конструктивное исполнение:

1-е конической наружной поверхностью уплотнителя;

- е со сферической наружной поверхностью уплотнителя;

ü диаметр условный прохода, мм;

ü  рабочее давление, МПа.

Кольцевой уплотнитель универсального превентора должен позволять: протаскивание колонны труб общей длиной не менее 2000 м при давлении в скважине не более 10 МПа с замковыми муфтовыми соединениями со специальными фасками, снятыми под углом 18°; расхаживание и проворачивание колонны; открытие и закрытие превентора на расчетное число циклов; быструю замену кольцевого уплотнителя без демонтажа превентора.

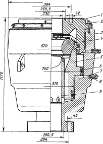
Универсальный превентор ПУ1-230x35 (рисунок 4) состоит из корпуса 3, крышки 1, плунжера 5, кольцевого уплотнителя 4, втулки 9. Корпус, плунжер и крышка - стальные отливки ступенчатой формы. Крышку ввинчивают в корпус с помощью прямоугольной резьбы. Кольцевой уплотнитель - массивное резиновое кольцо, армированное металлическими вставками двутаврового сечения.

Корпус, плунжер и крышка образуют в превенторе две гидравлические камеры а и б, изолированные манжетами. Камера а - распорная и служит для открытия превентора, камера б - запорная и служит для его закрытия. Под давлением масла, подаваемого в запорную камеру из системы гидроуправления, плунжер движется вверх, перемещая кольцевой уплотнитель; последний при этом герметизирует устье скважины вокруг любой части бурильной колонны, а также в ее отсутствие. Для открытия превентора масло подается в распорную камеру, плунжер перемещается вниз, кольцевой уплотнитель расширяется, принимая первоначальную форму. Жидкость из запорной камеры вытесняется в сливную линию гидравлического управления.

Уплотнители (рисунок 5) обеспечивает герметизацию устья при спущенных в скважину трубах диаметром до 194 мм. Время закрытия превен-тора - 30 с.

Конструкция универсальных превенторов ПУ1 - 280x35, ПУ1 - 350x35 аналогична конструкции ПУ1 -230x35.

Рисунок 4 - Универсальный превентор ПУ1-230x35

1 - крышка; 2 - ограничитель; 3 - корпус; 4 - кольцевой уплотнитель; 5 - плунжер; 6 - манжета; 7 - уплотнительное кольцо; 8 - штуцер; 9 - втулка

Универсальные превенторы с гидравлическим управлением типа ПУГ обладают более широкими возможностями. Они герметизируют устье скважины при наличии и отсутствии в ней подвешенной колонны труб и вместе с тем позволяют, сохраняя герметичность устья скважины проворачивать бурильную колонну и протаскивать трубы вместе с муфтами и бурильными замками. Универсальный превентор способен герметизировать устье скважины независимо от диаметра и геометрической формы уплотняемого предмета.

Рисунок 5 - Уплотнители универсальных превенторов типа ПУ1 (а) и типа ПУ2 (б)

Показатель надежности уплотнительных манжет - средняя наработка на отказ, нормируемое значение которого предусматривает безотказную их работу при протаскивании колонны труб длиной не менее 2000 м при давлении в скважине до 10 МПа. Для предохранения уплотнительных манжет от преждевременных повреждений торцы бурильных замков и муфт снабжаются фасками, проточенными под углом 18°. Универсальные превенторы, как и плашечные, различаются по диаметру проходного отверстия и рабочему давлению [2].

разведочный бурение противовыбросовый превентор

1.3 Вращающиеся превенторы

Вращающиеся превенторы предназначены для герметизации кольцевого зазора между устьем скважины и бурильной колонной и обеспечения возможности вращения, подъема и спуска бурильной колонны при герметизированном устье. Устанавливают вращающиеся превенторы над блоком превенторов взамен разъемного желоба для отвода бурового раствора к блоку очистки циркуляционной системы буровой установки.

Рисунок 6 - Вращающийся превентор

Вращающиеся превенторы применяют при бурении с промывкой аэрированным буровым раствором, продувкой газообразными агентами, обратной промывкой, регулированием дифференциального давления в системе скважина - пласт, а также при вскрытии продуктивных пластов на «равновесии» и с депрессией в климатических условиях широкого диапазона зон по ГОСТ 15150-69.

Эти превенторы допускают вращение со скоростью до 100 об/мин. В составе противовыбросового оборудования вращающийся превентор используется при роторном бурении с очисткой забоя от выбуренной породы газом, воздухом или аэрированным промывочным раствором, а также при обратной промывке скважины и вскрытии пластов с высоким пластовым давлением.

Вращающийся превентор (рисунок 6) состоит из корпуса 7, неподвижного патрона 4 и вращающегося ствола 6. В отличие от плашечного и универсального превенторов, имеющих гидравлический привод, во вращающемся превенторе используется самоуплотняющаяся манжета 9, которая обжимает обхватываемую часть бурильной колонны под действием собственной упругости и давления на устье скважины. Литой корпус 7 из легированной стали снабжен опорным фланцем для соединения с плашечным или универсальным превентором и боковым отводом для присоединения к циркуляционной системе буровой установки.

Диаметр отверстия опорного фланца зависит от типоразмера превентора и должен быть достаточным для прохода долота. Ствол 6, имеющий форму полого цилиндра с наружным опорным фланцем, вращается на упорном 5 и радиальных 3 подшипниках. К стволу на быстросборном байонетном соединении крепится самоуплотняющаяся манжета с внутренними поясками квадратного и круглого сечений, предназначенными соответственно для уплотнения ведущей и бурильной труб. Проходное сечение ствола меньше диаметра долота. Поэтому при спуске и смене его необходимо ствол отсоединить от корпуса превентора. Для этого ствол с патроном соединяют с корпусом превентора посредством байонетного затвора и фиксатора 10, снабженного дистанционным пневматическим и ручным управлением.

Перед установкой патрона в корпус фиксатор 10 с помощью пневмоцилиндра, управляемого с пульта 13, либо с помощью винта 12 и троса 11 отводится в крайнее левое положение и освобождает проход для установки патрона. После этого патрон вводят выступами в пазы корпуса и поворачивают по часовой стрелке до упоров, установленных в корпусе. Далее освобождают фиксатор, который под действием пружины пневмоцилиндра замыкает патрон в корпусе превентора. Чтобы вытащить патрон из корпуса, необходимо предварительно отключить фиксатор и повернуть патрон против часовой стрелки. Патрон поворачивают ведущей трубой, вращаемой ротором посредством вкладышей 1. Шинно-пневматическая муфта 2, включаемая с пульта 13, соединяет патрон со стволом, и в результате этого оба они совместно с ведущей трубой поворачиваются относительно корпуса превентора. Подшипники ствола смазываются жидким маслом, предохраняемым от утечек и загрязнения асбографитовыми манжетами 8 [2].

2. ОБОСНОВАНИЕ ВЫБОРА КОНСТРУКЦИЙ ПРЕВЕНТОРОВ

С увеличением глубины бурения и повышением пластового давления большое внимание стали уделять качеству герметизации устья при аварийной ситуации. Вместе с тем конструкции превенторов стали более сложными и громоздкими. Возросли затраты, связанные с монтажом и ремонтом противовыбросового оборудования. Увеличилось время, необходимое для смены плашек и технического обслуживания.

Удачное конструктивное решение плашечного превентора ППГ-156´320 позволило уменьшить габаритные размеры, а как следствие, и металлоемкость. Вместе с тем эта конструкция удобна для монтажа благодаря малым габаритам и симметричной форме. Удобной является и смена плашек под полом буровой при повороте крышек на шарнирах, а также техническое обслуживание превентора.

Универсальный превентор обоснованно дополняет установку т.к. обладает перед плашечными превенторами такими достоинствами как герметизация устья при отсутствии колонны труб в скважине или при наличии на уровне превентора ведущей трубы, бурильного замка, муфты и других частей бурильной колонны, независимо от диаметра и геометрической формы уплотняемого элемента. Универсальный превентор обладает возможностью проворачивания бурильной колонны и протаскивания труб вместе с муфтами и бурильными замками; способностью самоуплотняться за счет давления среды скважины.

Преимуществом универсального превентора ПУГ-230´350 перед другими аналогичными конструкциями является надежность работы и долговечность металлоармированного конусного уплотнительного элемента, а также оптимальные габаритные размеры, и небольшая металлоемкость [2].

Таким образом, для дальнейших расчетов выбирается универсальный превентор ПУГ-230´350.

3. КОНСТРУКТИВНЫЕ ОСОБЕННОСТИ УНИВЕРСАЛЬНЫХ ПРЕВЕНТОРОВ

Конструктивные особенности:

·    универсальный превентор обеспечивает повышенную безопасность, не предъявляет особых требований к обслуживанию, обладает гибкостью технологических операций;

·              наличие только 2 движущихся деталей (поршень и уплотнение) придает изделию надежность, эффективность и снижает эксплуатационные расходы;

·              давление в скважине способствует дополнительному эффективному уплотнению;

·              простота конструкции облегчает при необходимости замену всех уплотнений и основных деталей;

·              все открытые металлические участки деталей и уплотнений, находящиеся под воздействием скважинных жидкостей, обладают стойкостью к сероводороду;

·              рабочая среда нефть, газ, раствор, вода;

·              рабочая температура от -600С до +1210С;

·              В комплект поставки входят: превентор ПУГ в сборе, запасные уплотнители и манжеты, инструмент.


4. РАСЧЕТ универсального превентора

Техническая характеристика

Шифр:ПУГ-230´350

) Диаметр проходного отверстия, мм- 230

) Давление

рабочее, МПа- 35

пробное, МПа- 44

3) Управление: дистанционное гидравлическое

рабочий агент - масло

- рабочее давление, МПа- 10

максимальное давление в системе, МПа- 13,5

объем закрывающей полости, л- 19,3

объем открывающей полости, л- 12,3

4) Размеры уплотняемого инструмента

рабочие трубы любой формы от 2 ½" до 6"

бурильные и обсадные трубы от 60 до 194 мм

) Габаритные размеры

- высота, мм- 1300

наибольший диаметр корпуса, мм- 920

) Масса, кг- 2387

4.1 Расчет уплотнителя

Расчет уплотнителя заключается в определении его основных размеров. Исходными данными являются рабочее давление Р = 35 МПа и диаметр проходного отверстия d0 = 230 мм. Расчет ведется из условия перекрытия скважины при отсутствии в ней инструмента.

Половина угла конусности во всех существующих универсальных превенторах принимается a = 24°, а высота уплотнителя

Н=0.8d0, (1)

Н = 0.8×0.230 = 0.184 м.

Принимаем Н = 0.180 м.

Диаметр нижнего основания уплотнителя при полном ходе поршня вверх

1=1.3×d0, (2)

1 =1.3×0.23=0.299 м.

Принимаем d¢1 = 0.300 м.

Диаметр верхнего основания снятого уплотнителя

2=d¢1+2×H×tg240, (3)

2=0.3+2×0.18×tg240=0.46 м.

Объем резины, вытесняемый штуцером за полный ход вверх

Vп=n×Vo, (4)

где Vo - объем, который должен перекрыть уплотнитель при отсутствии инструмента в скважине, м3;

n - коэффициент запаса (n = 1,6).

 (5)


Этот же объем определяется по формуле:

(6)

где Н - высота уплотнителя, м;

d1 и d2 - диаметры верхнего и нижнего основания несжатого уплотнителя, м.

, (7)

, (8)

где h - полный ход поршня, м.

Подставив выражения d1 и d2, получим


После упрощений получим

 (10)

h=0.138 м.

Принимаем h = 0.140 мм.

Зная ход поршня, определяем основные размеры несжатого уплотнителя по формулам (7) и (8) [2]

 (11)

(12)

Рисунок 7 - Резинометаллический уплотнитель

.2 Расчет усилия на поршень необходимый для герметизаций устья скважины

Расчет сводится к определению усилия, необходимого для зажатия уплотнителя до соприкосновения с трубой или полного перекрытия прохода при отсутствии инструмента. После соприкосновения или перекрытия кроме силы гидропривода будет действовать сила давления среды скважин, создавая самоуплотняющий эффект. Для расчета необходимо определить величину радиального перемещения к центру образующей боковой поверхности уплотнителя в следующих случаях:

а) перекрытие уплотнителем прохода без коэффициента запаса объема (n = 1);

б) герметизация устья скважины при наличии в ней квадратной ведущей трубы со стороной квадрата a = 115 мм.

Радиальное перемещение определяется исходя из расчетов размера уплотнителя:

а) полное перекрытие уплотнителем прохода

, (13)

.

При герметизации ведущей трубы DR определяется по формуле[2]

, (14)

, (15)

 м,

, (16)

.

 м.

Зная величину радиального перемещения DR без учета сил трения между уплотнителем и крышкой, можно определить величину, соответствующую внешнему давлению на уплотнитель, рассматривая его как толстостенную цилиндрическую трубу, находящуюся под внешним давлением.

После преобразования получим

, (17)

где Ер - модуль упругости материала уплотнителя (Ер = 8 МПа);

mр - коэффициент Пуассона для материала уплотнителя (mр = 0,5).

,

После преобразований получим

.

Усилие на поршень без учета сил трения между крышкой превентора и уплотнителем, и трения между корпусом и уплотняющим материалом можно выразить через нормальное давление

, (18)

где Рn - нормальное давление, Па;

fб - боковая площадь уплотнителя, м2;

Qтр - сила трения между уплотнителем и поршнем, Н.

, (19)

 , (20)

 м.

где l - длина внешней образующей уплотнителя, м.

, (21)

где m - коэффициент трения резины по стали (m = 0,25).

, (22)

,

.

Получив выражение, определяющее величину усилия поршня в зависимости от величины радиального перемещения образующей внутренней боковой поверхности уплотнителя, можно определить усилие на поршне для различных случаев [3]:

а) для полного перекрытия прохода при отсутствии инструмента

;

б) для герметизации рабочей трубы со стороной квадрата а = 115 мм

.

5. ОХРАНА ОКРУЖАЮЩЕЙ СРЕДЫ

Рациональное использование природных ресурсов, охрана и целесообразное преобразование окружающей среды является органической частью хозяйственной деятельности Российского государства, которое уделяет этим вопросам постоянное внимание. Важное значение имеют постановления правительства об усилении охраны природы и улучшении использования природных ресурсов, в которых определена система мероприятий, направленных на повседневную заботу о чистоте окружающей среды, постоянный контроль за соблюдением правил и норм эксплуатации всех естественных богатств.

При бурении нефтяных и газовых скважин охрана природы сводится главным образом к сохранению земли, вод, лесов, а также воздуха и недр.

Освоение нефтяных и газовых месторождений неизбежно приводит к прогрессирующему загрязнению окружающей среды. В результате снижаются ресурсно-биогенетический потенциал биосферы, народнохозяйственная ценность земельного фонда и объектов гидросферы. При этом геохимический техногенез проявится на всех этапах основания месторождений углеводородного сырья: от бурения до ввода их в разработку, а так же в течение всего периода эксплуатации. Особую актуальность проблема защиты окружающей среды при строительстве скважин приобретает в последнее время в связи с расширением географии и увеличением буровых работ. В местах бурения необходимо принятие эффективных мер по сохранению природной среды на экологически безопасном уровне [5].

ЗАКЛЮЧЕНИЕ


В курсовой работе разработано противовыбросовое оборудование, рассчитанное на рабочее давление 35 МПа и включающее в себя универсальный и плашечные превенторы, прототипы которых соответствуют требованиям, предъявляемым современному оборудованию для разведочного и эксплуатационного бурения, и являются одними из лучших среди известных отечественных аналогов. Благодаря оптимальной комплектации и меньшей массе превенторов облегчается транспортировка, монтаж, техническое обслуживание и ремонт данного противовыбросового оборудования, снижается время на проведение этих работ и финансовые затраты.

Противовыбросовое оборудование является необходимым элементом современной буровой установки. Поэтому вполне естественным является то, что обеспечение безопасного и безаварийного ведения буровых работ и, как следствие, темпов роста объема бурения возможно при дальнейшем совершенствовании превенторных установок.

В настоящее время интенсификация процесса бурения и увеличение глубины бурящихся скважин, т.е. увеличение ожидаемого пластового давления, привело к значительному росту требований, предъявляемых противовыбросовому оборудованию. Неправильный выбор превенторной установки и ее состава может привести к непоправимым последствиям, связанным с открытым фонтанированием нефти и газа, что потребует длительных и сложных аварийных работ и огромных капитальных вложений

СПИСОК ИСПОЛЬЗОВАННОЙ ЛИТЕРАТУРЫ

1. Баграмов Р.А. Буровые машины и комплексы.- М.: Недра, 1988. - 501 с.

2.      Гульянц Г.М. Противовыбросовое оборудование скважин, стойкое к сероводороду. Справочное пособие.- М.: Недра, 1991. - 216 с.

.        Биргер И.А. и др. Расчет на прочность деталей машин: Справочник/И.А. Биргер, Б.Ф. Шорр, Г.Б. Иосилевич. - 4-е изд., перераб. и доп. - М.: Машиностроение, 1993. - 311 с.

.        Справочник по сопротивлению материалов/ Писаренко Г.С., Яковлев А.П., Матвеев В.В.; Отв. ред. Писаренко Г.С.- 2-е изд., перераб. И доп.- Киев: Наук. думка, 1988.- 671 с.

.        Раабен А.А. и др. Монтаж бурового и эксплуатационного оборудования.- М.: Недра, 1975. - 289 с.

6. Чекмарев А.А., Осипов В.К. Справочник по машиностроительному черчению.- 2-е изд., перераб.- М.: Высш. Шк.; Изд. Центр «Академия», 2000.- 403 с.

7. 7 Булатов А.И., Прселков Ю.М., Шаманов С.А. Техника и технология бурения нефтяных и газовых скважин: Учебник для вузов. - М.: ООО «Недра-Бизнесцентр», 2003. - 1007 с.

Похожие работы на - Разработка противовыбросового оборудования

 

Не нашли материал для своей работы?
Поможем написать уникальную работу
Без плагиата!
Без нейросетей!