Разработка дизайн проекта декоративной трости
1. Разработка дизайн проекта декоративной
трости
1.1 Выбор стиля отливки
По согласованию с руководителем художественной части
дипломного проекта было принято решение разработать стиль изделия. В качестве
основы был выбран стиль-геральдика, был взят художественный образ льва такой,
как изображают его на гербах и разработан эскиз изделия
художественно-декоративной трости.
Рис. 1.1. Два геральдических льва со средневекового герба
.2 Характерные черты и особенности стиля геральдика
Гера́льдика (гербоведение; от лат. heraldus - глашатай) -
специальная дисциплина, занимающаяся изучением гербов, а также традиция и
практика их использования. Является частью эмблематики - группы взаимосвязанных
дисциплин, изучающих эмблемы. Отличие гербов от других эмблем заключается в
том, что их строение, употребление и правовой статус соответствуют особым,
исторически сложившимся правилам. Геральдика точно определяет, что и как может
быть нанесено на государственный герб, фамильный герб и так далее, объясняет
значение тех или иных фигур. Корни геральдики уходят в Средневековье, когда и
был разработан специальный геральдический язык.
1.2.1 Зарождение геральдики
Появление геральдики относят к периоду
времени между первым, когда гербов ещё не существовало, и вторым, когда она
стала делом привычным, крестовыми походами. Указывается и более узкий период:
между 1120 и 1150 годами. Зарождение гербов связывают с тем, что в связи с
изменениями военного снаряжения в конце XI - начале XII веков получить
информацию о человеке, зачастую не видя даже его лица, закрытого шлемом, было
весьма проблематично. Желание быть узнанным на поле боя стало причиной
появления традиции расписывать свои щиты, обычно имевшие миндалевидную форму,
различными фигурами, которые вскоре превратились в опознавательные знаки и
стали ассоциироваться с конкретными личностями. По этой причине ранняя
геральдическая символика была чрезвычайно простой и легко читаемой и не
содержала сложных рисунков и надписей[4]. Постепенно сложились и правила
начертания и использования гербов, впоследствии оформившиеся в своеобразный
свод законов. Кроме того, появление геральдики было вызвано изменениями в самом
европейской обществе, произошедшими после 1000 года[1]. Развитие
феодальных отношений привело к тому, что принадлежность к той или иной
социальной группе полностью определяло жизнь человека. Знатность рода в это
время становится своего рода культом. В этих условиях естественным развитием
гербов, как личных эмблем, стало возникновении традиции их передачи по
наследству, появление которой относят к концу XII века.
Рис. 1.2. Образ льва
Так, последовательно были откинуты версии о преемственности
между античными военными и семейными эмблемами и первыми гербами XII века, о
влиянии на становление феодальной геральдики германо-скандинавской эмблематики
- рун-инсигний - I тысячелетия нашей эры, и о происхождении геральдики от
узоров на тканях арабов, перенятых европейцами в эпоху первых крестовых
походов.
Рис. 1.3. Щит
На знаменитом ковре из Байё, изображающем
завоевание Англии Вильгельмом I и созданном вскоре после этого события, на
щитах нормандских воинов вышито множество изображений, похожих на
геральдические. Между тем, в различных эпизодах одни и те же рыцари изображены
с разными щитами, что не позволяет говорить об их геральдическом характере[3][8].
К наиболее ранним свидетельствам
существования геральдики относят изображение щита на покрытой цветной эмалью
гробнице графа анжуйского Жоффруа V, умершего в 1151 году. Этот же герб
изображён на скульптурной гробнице внука Жоффруа - Уильяма Длинного Меча,
умершего в 1226 году. Согласно Жану де Мармутье, в 1127 году по случаю женитьбы
Жоффруа на Матильде её отец, король Англии Генрих I, возвёл Жоффруа в рыцари и
подарил ему щит, украшенный львами. Очевидно, что речь идёт о том же щите, что
и изображённый на гробницах Жоффруа и его внука. Между тем, хроника Мармутьера
написана уже после смерти Жоффруа, в 1170 годы, а гробница была изготовлена
между 1155 и 1160 годами.
Основа любого герба - щит. Именно на его
поверхности помещаются главные гербовые изображения - поля и фигуры,
«сложившиеся» из тинктур.
Герб может состоять из одного щита, или из
щита с самыми разными добавлениями, или даже из нескольких щитов. Но гербов
совсем без щитов быть не может.
О фигурах говорят: «в поле щита», «в щите»
(а не «на щите»): ведь геральдический щит - это условная рамка для изображений,
а не реальный предмет, у которого есть лицевая и оборотная стороны.
Очертания щита можно менять почти
произвольно; герб от этого не исказится. Некоторые геральдические художники
находят удовольствие в том, чтобы придать гербовому щиту странную и неожиданною
форму. Иногда это, собственно, оказываются и вовсе не щиты, а конские налобники
(их особенно любят на Апеннинском полуострове) или квадраты, в которых легко
узнать гербовые знамёна. Это неудивительно: рыцари помещали на налобниках своих
коней и на знамёнах те же фигуры, что и на щите.
Очертания щита можно менять почти произвольно;
герб от этого не исказится. Некоторые геральдические художники находят
удовольствие в том, чтобы придать гербовому щиту странную и неожиданною форму.
Иногда это, собственно, оказываются и вовсе не щиты, а конские налобники (их
особенно любят на Апеннинском полуострове) или квадраты, в которых легко узнать
гербовые знамёна. Это неудивительно: рыцари помещали на налобниках своих коней
и на знамёнах те же фигуры, что и на щите.
1.2.2 Распространение
В скором времени после зарождения
геральдики она распространилась на всё средневековое общество. Хотя
первоначально гербы использовали только крупные сеньоры, уже к 1180 году, а,
возможно, и ранее они стали использоваться знатными дамами, в конце века
появились первые городские гербы, к 1200 году появляются гербы духовных лиц,
ещё до 1220 - патрициев и буржуа, к 1230 - ремесленников, в 1240 - цехов, в
конце века - гражданских и монашеских общин. В Нормандии, Фландрии и Южной
Англии ранняя геральдика получила наибольшее распространение - здесь гербами
владели даже некоторые крестьяне. К XIV веку церковь, ранее относившаяся к
гербам с подозрением, становится одним из центров геральдического творчества.
Гербы можно увидеть на церковных стенах, плитах, витражах, потолках, церковной
утвари и одежде священнослужителей.
Существенную роль в распространении
геральдики вне среды рыцарства сыграли печати, которые ставились или
привешивались почти ко всем документам. На большинстве печатей использовались
те же изображения, что и в гербах, с той лишь разницей, что они вписывались в
поле самой печати. Сеньоры и рыцари, кроме украшения гербами своих щитов, стали
наносить гербовые изображения на другие детали амуниции, знамёна, попоны и
вальтрапы лошадей.
Огромное влияние на распространение
геральдики сыграла практика проведения рыцарских турниров, бывших основой
геральдического действа среди аристократов вплоть до по крайней мере XVI века.
Обычно непосредственно турниру предшествовала продолжительная демонстрация
гербов и гербовой атрибутики. Участвующих в турнире рыцарей представляли
глашатаи - герольды, от названия которых в XIX веке и произошло название науки
о гербах. Оглашение герба выступающего на турнир рыцаря привело в становлению
специального геральдического языка, характеризующегося чёткостью и
однозначностью формулировок, а также определённой поэтичностью.
Геральдика возникла практически
одновременно в сразу нескольких регионах Западной Европы: в области между
Луарой и Рейном, в Южной Англии, в Швейцарии и в Северной Италии - и очень
скоро распространилась практически по всему континенту. Начиная с XVIII века
европейская традиция эмблематики начинает проникать за пределы Европы - вместе
с европейскими переселенцами она попадает в Новый Свет, а затем Азию, Африку и
Австралию.
В России геральдика была заимствована из
Западной Европы при непосредственном влиянии польской геральдики во второй
половине XVII века.
По указу императора Петра I, в 1722 году
была создана Герольдия, в 1726 году при Петербургской Академии наук была
учреждена кафедра геральдики. С 1797 года составлялся «Общий гербовник
дворянских родов Российской империи», включающий около 5 тысяч гербов. В
советское время гербоведение пришло в упадок, последствия которого далеко не
исчерпаны и на начало XXI века.
1.3 История возникновения трости
История трости насчитывает не одну тысячу лет и уходит в
глубокое прошлое, когда главным предназначением посоха-трости была лишь помощь
человеку при ходьбе. Но по прошествии времени использование тростей стало
традицией среди знатных и высокопоставленных господ, представляя собой некий
символ солидности и значимости уважаемого человека. Уже в XV-XVIII веках ношение трости
было весьма популярным в Европе и воспринималось как важный элемент костюма,
свидетельствующий о положении и социальном статусе владельца.
При раскопках его гробницы Тутанхамона трости находили в
каждой из многочисленных комнат усыпальницы. Они выполнены из металла, стекла,
дерева, украшены цветными перьями птиц, переливающимися крылышками жуков,
монограммами и орнаментом.
Рис. 1.4. Футляр мумии фараон Тутанхамона
Уже в XV-XVIII веках ношение трости было весьма популярным в
Европе и воспринималось как важный элемент костюма, свидетельствующий о
положении и социальном статусе владельца. Первоначальное назначение трости-посоха,
помогающей при ходьбе, позднее претерпело качественные изменения, и в
XVII-XVIII вв. она уже воспринималась как элемент костюма, свидетельствующий о
социальном статусе владельца. Считается, что в России интерес к этой новой
детали костюма связан с деятельностью Петра I, его знакомством с европейским
бытом и музейными коллекциями. В связи с ориентацией Русского Двора в
Петербурге на европейский художественный вкус, трости на долгое время
становятся элементом светского костюма.
Чаще всего для их изготовления использовался тростник
(поэтому в русском языке это однокоренные слова). Кроме того, трости делали из
редких пород дерева, камыша, рога, панциря черепахи, слоновой кости,
перламутра, и, как правило, оправляли по низу металлической скобой. В верхней части
делались отверстия для продевания ленты, использовавшейся для удобства при
ношении, в качестве украшения, или символически (если это были орденские
ленты). Но самой выразительной частью изделия были набалдашники, которые
отличались необыкновенным декоративным богатством, изысканностью и
тщательностью отделки.
Рис. 1.5. Трость из черного дерева
Рис. 1.6. Вторая половина XVIII
Рис. 1.7. Трости Петра I
Трость была излюбленным подарком не только среди среднего
класса, но и среди вельмож и коронованных особ. Так, Екатерину II задаривали
тростями, к которым она была неравнодушна. Прусский король Фридрих Великий
преподнес императрице трость с янтарным набалдашником в золотой оправе,
усыпанной бриллиантами.
От датчан Екатерина II получила в подарок по случаю победы в
русско-турецкой войне трость, в которую был вмонтирован часовой механизм,
приводящий в движение 21 миниатюру с батальными сценами.
Рис. 1.8. Трость Екатерины II
Во времена правления Александра форма трости возвращается к
изящным очертаниям, конкуренцию им составляют аксессуары английского
производства. С середины XIX века в Европе стали популярны функциональные
трости. Были выданы около полутора тысяч патентов на изготовление различных
модификаций трости-шпаги, трости для врачей, рыбаков и даже трости, которая
превращалась в велосипед. В это же время распространяются трости с крючковатой
рукоятью. Приобретали их те, кто с этим предметом всерьез обращаться не умели,
и ее чаще всего вешали на руку для солидности. В целом XIX век с полным правом
можно назвать веком трости: достаточно заглянуть в журналы мод, где вплоть до
начала Первой мировой войны элегантно одетый человек без трости не изображался.
Трость была в истории деталью не только мужской, но и женской
моды. Здесь она является аксессуаром костюма молодой дворянки, которая одета
согласно пасторальной моде того времени, как пастушка.
Во все времена интерес к трости проявляли многие писатели,
политики, короли, вельможи, дипломаты. И, как правило, помимо своего
предназначения - быть опорой - трость выполняла разные функции и была
предназначена для разных целей. Например, у того же Пушкина тростей было много:
«рабочая», «спортивная», «по необходимости» и «просто так».
В разные века, в зависимости от моды, в трость могли
вставляться лорнеты, зонтики, фонарики, расчески, часы, зрительные трубки.
Трость врача, по сути, была «ходячей» аптечкой - в ней могли находиться
стетоскоп, пинцет, бинты и лекарства. Писатели и художники прятали в нее кисти
и карандаши, музыканты - ноты. Курильщикам трость служила табакеркой,
фотографам - треножником для фотоаппарата. К великому неудовольтвию актеров в
рукоятку специальной театральной трости часто вставлялся свисток: для
освистывания плохих актеров. В одном из рассказов О’Генри описана трость, у
которой можно было отвинтить набалдашник - трость была потайной флягой.
Рис 1.9. Трость с часами
Так же трость применялась в качестве оружия. Как оружие боя
палка используется весьма давно. У египтян, а позднее у греков и римлян она
входила в форму тренинга военного искусства.
Сегодня трость больше не является отличительным символом
власти. Тем не менее, полиция всего мира применяет дубинки как удобные и
эффективные средства принуждения.
В 1635 г. мэтр Кудре определил фехтование как искусство
пользоваться оружием кисти для атаки и защиты. Трость - это тоже оружие кисти.
Практика с ней подобна основным правилам фехтования.
Рис. 1.9. Оружейная трость
С началом Первой мировой войны классическая трость утратила
свою привлекательность. На смену ей пришел стек - тонкая короткая трость с
кожаной петлей внизу. Со стеками ходили все летчики, пехотные офицеры,
студенты. Даже для детей выпускались небольшие стеки.
В Англии она вошла в моду в 17 м веке, а в 18 м мода на
трости затронула и дам. Изготавливали трости из древесины различных пород, а
так же бамбука или ротанга, слоновой кости, стекла и т. д. А уж различным
формам набалдашников просто несть числа!
В викторианской Англии трость считалась неотъемлемой деталью
прогулочного костюма. За неимением трости, джентльменам советовали захватывать
на прогулку зонт, но ни в коем случае не заменять тростью зонтиком от солнца,
разве что подержать зонтик попросила дама (представить солидного господина
опирающимся на зонтик с оборочками и правда как-то затруднительно). Справочники
по этикету второй половины 19 го века строго-настрого наказывали джентльменам не
размахивать тростью на улице и не носить ее подмышкой, чтобы случайно не задеть
прохожего или не проткнуть кому-нибудь глаз. Так же считалось неприличным
использовать трость не по назначению при посещении музеев - например,
использовать ее вместо указки, обсуждая достоинства или дефекты картин.
Нанося визит в малознакомый дом, джентльмен оставлял трость в
прихожей, но входил в гостиную, держа в руках шляпу и перчатки. Уже в гостиной
хозяин или хозяйка предлагали ему убрать в сторону шляпу, тем самым приглашая
его провести с ними вечер. Визиты к знакомым были менее формальными и в
прихожей оставляли не только трость и пальто, но и шляпу с перчатками. В свою
очередь, хозяева дома обязаны были следить за тем, чтобы их дети не играли с
тростями или шляпами гостей. Впрочем, сомневаюсь, что викторианские детишки
стали бы баловаться с тростью, учитывая, как часто те использовались для
наказаний в школе. Правда, школьные трости все же были тоньше прогулочных.
Так же справочники по этикету настаивали, чтобы джентльмен,
входивший в помещение, где в тот момент обретались леди, держал шляпу, трость и
перчатки в левой руке, на случай, если кто-нибудь из дам захочет пожать ему
правую руку. «Захочет пожать» - это ключевая фраза. Самому протягивать дамам
руку считалось крайне невежливым. Столько строгое соблюдение этикета наверняка
приводило к разнообразным комичным ситуациям. Например, стоит бедняга со всем
этим добром в левой руке, а никто из дам не торопится его поприветствовать,
наоборот, все ждут, когда же он что-нибудь уронит. Но как бы справочники ни
настаивали на соблюдении всех правил этикета, жизнь в любом случае вносила
коррективы.
Помимо использования трости по ее прямому назначению, т. е.
опоры во время прогулки, джентльмены оснащали их кто во что горазд. Например, в
набалдашник трости вставляли подзорные трубы, бинокли, часы, охотничьи рожки,
свистки, табакерки и прочие полезные предметы. Использовали трости в качестве
оружия - вставляли в нее шпагу или кинжал, которые можно было эффектно вытащить
в подходящий момент, или же фехтовали непосредственно тростью. Можно лишь
посожалеть, что столь многофункциональный аксессуар почти полностью вышел из
моды.
2. Разработка технологии изготовления отливки
(рукоятка трости) в сыпучие холодно твердеющие смеси
Специалистами кафедры был предложен новый способ литья по
выплавляемым моделям в формы из сыпучих ХТС. Метод был успешно реализован как
при получение художественных отливок, так и машиностроительных.
Преимуществом метода является то, что данная технология
является менее затратной, экологичной, оказывает меньшую нагрузку на окружающую
среду и создает лучшие условия труда.
2.1 Изготовление оснастки для воскообразных
моделей
Для отливки представителя была изготовлена викисинтовая форма
(рис 2.1).
Рис. 2.1. 1 - гипсовая рубашка; 2 - виксинтовая форма; 3 -
замок
Сначала изготовили нижнюю полуформу предварительно
разделительным составом лицевую часть мастер-модели и заранее сформировав по
контуру из пластилина плоскость разъема и выложили замки. Нанесли 3 слоя
виксинтовой массы с жидким катализатором в количестве от 5 до 7 %. Слои
наносились чередуясь с прослойками из марли, для придания прочности эластичной
форме.
Затем изготовили гипсовую рубашку нижней полуформы, нанеся
слой гипса на эластичную вставку и предварительно промазав ее маслом.
Когда гипс окончательно схватился приступили к изготовлению
верхней полуформы в той же последовательности.
Воскообразную модельполучают путем свободной заливки
модельного состава ПС 50-50 в форму для изготовления модели. Для уменьшения
потерь модельного состава при вытопке и снижения вероятности растрескивания
используется пористый модельный состав, содержащий около 15 % пузырьков
воздуха.
2.3 Изготовление смеси
В состав смеси входят:
кварцевый песок
жидкое стекло 3,5 %
сложные эфиры 0,35 %
Смешивание производится в плужковом смесителе рис. 2.2
(Разработка конструкции плужкового смесителя для изготовления формовочных и
стержневых холоднотвердеющих смесей).
В смеситель загружается большая часть кварцевого песка,
которая перемешивается с жидким стеклом. После перемешивания добавляем меньшую
часть песка с катализатором. Смесь готовится в течении 6 минут.
2.4 Формовка
Рис. 2.3. Форма в сборе: 1 - заливочная воронка; 2 -
питатель; 3 - выпор; 4 - форма; 5 - опока; 6 - литейная полость; 7 - арматура
Отливка делается пустотелой, для снижения массы изделия.
Делается гипсовый стержень с арматурой, которая придаст ему прочность и
зафиксирует его в форме. Стержень имеет знаковую часть, которая нужна, для
фиксации его в форме. Производится ручная формовка в опоку. Опока ставится на
подопочный щиток. В нее засыпаем некоторое количество смеси. Модель со стержнем
и ЛПС, вдавливаем в этот слой холодно твердеющей смеси. Далее подсыпаем смесь и
трмбуем до тех пор, пока ее уровень не достигнет уровня воронки. Производится
ручная формовка в опоку. Дальнейшее отверждение форм происходит в течение 12
часов.
2.5 Вытопка модельного состава
Вытопка производится горячим воздухом в печи при температуре
180°С.
Остатки модельного состава выжигают в прокалочной печи при t=400°С.
2.6 Плавка
Плавка производится в печи ПП 50/12. В шихте используется
возврат. В качестве флюсов используется древесный уголь. В качестве
раскислителя используется фосфористая медь.
2.7 Выбивка
После заливки формы жидким металлом, производится выбивка.
Выбивка производится вручную. Затем отрезается литниковая система. После
извлечения отливки из формы ее подвергают очистке от пригара в пескоструйном
шкафу.
2.8 Обработка
Обработка производится с помощью бормашины, далее на
шлифовальном и полировальном станках. Далее производится тонировка. Изделие
помещаем в прокалочную печь и выдерживаем в ней до 400°С. Происходит окислительная
реакция вследствие чего изделие становится темным.
3. Проектная часть
.1 Общая характеристика литейного участка по
производству художественных отливок из медных сплавов с выпуском 35 тонн в год
геральдика отливка литейный сплав
Согласно техническому заданию участок литья художественных
отливок из медных сплавов взят в аренду в здании промышленного типа,
расположенного в средней полосе РФ в промышленной зоне. Участок обеспечен
электроэнергией - 3 фазы, напряжением 380 В, мощностью 340 кВт, имеются снабжение
природным газом, водоснабжение, канализация и кран-балка грузоподъемностью 1 т.
Кроме того, он обеспечен подъездными путями по автомобильным дорогам для
поставки материалов и вывоза готовой продукции.
3.1.1 Программа запуска и выпуска отливок
Проектное задание предусматривает участок литья бронзовых
колоколов массой до 30 кг производительностью 35 т/год. Номенклатура изделий,
которые будут изготавливаться на этом участке, представляет собой комплекты из
колоколов разной массы: 1,6 кг, 30 кг. А так же художественные отливки:
рукоятка трости, фонтан, голова, решетка, часы. В качестве технологического
процесса используется литье по ХТС (холоднотвердеющие смеси).
Номенклатура изделий
|
Наименование
изделий:
|
Масса изделий,
кг.
|
|
Рукоятка трости
|
1
|
|
Фонтан
|
20
|
|
Отливка
«Голова»
|
22
|
|
Художественная
решетка
|
34
|
|
Отливка «Корпус
Часов»
|
6
|
|
Колокол
сувенирный
|
1,6
|
|
Колокол
|
30
|
3.1.2 Обоснование выбора технологии получения
художественных отливок
Для участка художественного литья производительностью 35 тонн
в год в качестве технологического процесса была выбрана технология литье в ХТС
(холоднотвердеющие смеси). Выбор обоснован преимуществами данного метода, а
именно: данная технология менее затратная, экологичная, оказывает меньшую
нагрузку на окружающую среду и создает лучшие условия труда.
.2 Расчет количества основного и вспомогательного
оборудования
3.2.1 Обоснование выбора плавильного оборудования
Рациональный выбор плавильного агрегата
позволяет получить требуемое количество жидкого металла заданного химического
состава и температуры при минимальных затратах сырья, энергии и рабочей силы в
конкретных условиях производства. Кроме того, при выборе печи необходимо
учитывать ее влияние на экологию и безопасность жизнедеятельности. Температура
металла при выдаче должна составлять порядка 1100 о С. Такую
температуру позволяет получить печь серии ПП 50/25. Учитывая максимальную
металлоемкость формы (40 кг), металлоемкость тигля должна быть больше. Из
существующих выбираем емкость тигля 50 кг.
Таблица 3.2
|
Наименование печи
|
ПП 50/25
|
ИСТ - 0,05
|
СТ 0,05/12 П И1
|
|
Мощность, кВт
|
25
|
63
|
50
|
|
Металлоемкость,
кг
|
50
|
50
|
50
|
|
Продолжительность
плавки, ч
|
2
|
0,8
|
1,66
|
|
Производительность
в час, кг
|
25
|
62,4
|
30
Все вышеуказанные требования позволяют
считать применение печи ПП 50/25 с источником питания 25 кВт наиболее
рациональным.
Исходя из фонда годового времени работы оборудования, часовая
потребность в металле составляет 20,11 кг/ч. В связи с тем, что
производительность печи в час составляет 25 кг, а необходимо 20,11 кг/ч, то
использование данной печи на участке является наиболее целесообразным.
3.2.2 Расчет годовой производственной программы
При выборе плавильной печи необходимо руководствоваться
мощностью (годовой программой) участка и типом сплава. Прежде, чем приступать к
выбору плавильного оборудования, необходимо определиться с номенклатурой
участка и выполнить расчеты годовой производственной программы (Табл. 3.3.).
Исходя из расчета программы запуска и выпуска, годовая
производственная программа составляет 35 т/год. Так как максимальная масса
отливки составляет 40 кг, была выбрана печь сопротивления марки ПП 50/12
металлоемкостью 50 кг.
Годовая производственная программа
В связи с этим, учитывая характеристику печи и ее
производительность, определяем коэффициент загрузки и количество печей,
необходимое для выполнения этой производственной программы (Табл. 3.2).
Характеристика печи и ее
производительность
|
Мощность печи,
кВт
|
25
|
|
Металлоемкость,
кг
|
50
|
|
Продолжительность
плавки, ч
|
2
|
|
Производительность
в час, кг
|
25
|
Общий фонд времени 219× 8 = 1752
Потребность в металле, час = 35237/ 1752
=20,1
q печи = 25 кг/ч.
Кол-во печей = М мет в год/Ф×Коэф. макс. × q печи = 35237/1752 × 0,8 ×25 =1,005
Действ. коэф. загрузки = коэф. макс. × кол-во печей = 0,8 × 1,005 = 0,804
Исходя из того, что коэффициент загрузки
печи составляет 0,8 и ее металлоемкость 50 кг, при данной производственной
программе и массе отливок достаточно использование одной печи.
3.2.3
Расчет количества смесителей
Выбор
типа формовочной и стержневой смеси
Основным направлением модернизации процессов изготовления
литейных форм и стержней является применение холоднотвердеющих смесей (ХТС).
Метод формовки в ХТС основан на смешивании кварцевого песка с
ортофосфорной кислотой и фенольными смолами холодного отвердевания. Отливки,
изготовленные методом ХТС, отличаются: высоким качеством поверхности, точностью
размеров, отсутствием внутренних (скрытых) дефектов. Этот метод позволяет
снизить трудоемкость выбивки в 5-6 раз, снизить трудозатраты и сократить объем
механообработки.
Обоснование выбора и
расчет количества смесителей
Для получения качественной отливки, отвечающей заданным
требованиям, при оптимальном уровне затрат на производство формовочная смесь
должна обладать определенным набором свойств. Поэтому для приготовления смеси
очень важно правильно подобрать оборудование.
Для приготовления ХТС в смесеприготовительном
отделении на данном участке используются плужковые смесители. Отличительной
особенностью этих смесителей является использование эластичной перетирающей
шторки вместо катков, которая обеспечивает необходимое перетирание ХТС.
Простота очистки и обслуживания этих смесителей является существенным
преимуществом при данном характере производства. Пуск и управление смесителей
осуществляется формовщиком при помощи пусковой кнопки.
Для определения количества смесителей, используемых при
приготовлении ХТС необходимо рассчитать потребность смеси на 1 комплект отливок
различных по массе с учетом соотношения металла к смеси 1 кг Ме/4,5 кг смеси
(Табл. 3.3). Расчет производился в программе Excel.
Расчет потребности ХТС на 1 комплект
|
№ п.п.
|
Наименование
изделия
|
Черная масса
комплекте, кг
|
Масса смеси, кг
|
|
1.
|
Рукоятка трости
|
1,2
|
5,4
|
|
2.
|
Фонтан
|
23,0
|
103,5
|
|
3.
|
Голова
|
25,0
|
112,5
|
|
5.
|
Решетка
|
40,0
|
180,0
|
|
6.
|
Часы
|
7,0
|
31,5
|
|
4.
|
Колокол
сувенирн.
|
9,75
|
43,9
|
|
7.
|
Колокол
|
32,0
|
144,0
|
|
|
137,95
|
620,8
|
С учетом потребности смеси на 1 комплект,
равной 620,8 кг, в программе Excel был выполнен расчет для определения необходимого
количества смесителей.
Таблица 3.6
|
Кол-во смеси на
1 комплект, кг
|
Производительность
смесителя, кг/ч
|
Производительность
смесителя в смену, кг
|
Кол-во смеси в
смену, кг
|
Принятое кол-во
смесителей
|
Коэф. загрузки
|
|
621
|
160
|
1280
|
633
|
0,49
|
1
|
0,49
|
.2.4 Обоснование выбора и
расчёт количества инжекторов для модельного состава
Для получения ажурных моделей, отвечающей
заданным требованиям, при оптимальном уровне затрат на производство модельный
состав должен обладать определенным набором свойств. Поэтому для приготовления
модельного состава очень важно правильно подобрать оборудование.
Для приготовления расплавленного
модельного состава в отделении изготовления моделей на данном участке
используется инжектор с ручным регулятором давления и цифровым контроллером для
обеспечения заданной температуры модельного состава. Простота обслуживания
этого инжектора является существенным преимуществом при данном характере
производства.
Для определения количества инжекторов был
произведен расчет с учетом расчета массы модельного состава. Было определенно
что для изготовления одного комплекта отливок потребуется 14243 гр. модельного
состава, так как в день необходимо изготавливать 1.16 комплекта отливок
суточная потребность составит 16523 гр.
Расчет необходимого количества инжекторов
был произведен в программе Excel. Распечатка результатов расчета представлена в
таблице 3.6.
Расчет количества инжекторов
|
Количество
модельного состава на 1 комплект, кг
|
Производительность
инжектора, кг/ч
|
Производительность
инжектора в смену, кг
|
Количество
модельного состава в смену, кг
|
Количество
инжекторов
|
Требуется
инжекторов
|
|
14,243
|
5,760
|
46,08
|
16523
|
1
|
0,44
|
Общий фонд времени 219× 8 = 1752
Потребность мод. сост, час = 3618,5/ 1752
=2,06
q печи = 5,760 кг/ч.
Кол-во инжекторов = М мет в год/Ф×Коэф. макс. × q печи = 3618,5/1752 × 0,8 ×5,760 =0,44
Действ. коэф. загрузки = коэф. макс. × кол-во инжекторов =0,8 × 0,44 = 0,35
Исходя из потребности модельного состава в
смену, равную 16,523 кг, были выбран инжектор модельного состава марки ARBE
общей ёмкостью 6,8 л с ручным насосом. Данного инжектора достаточно для
приготовления необходимой массы модельного состава в смену. Коэффициент загрузки
составляет 0,35.
Инжектор восковый ARBE электронный с
редуктором (5 л)
Техническая характеристика:
Вместимость емкости для воска: 5 л
Ручной регулятор давления: до 2 кг/см.
Максимальное давление воздуха: 2 кг/см²
Время температуры нагрева: до 70°С 40 минут
Напряжение питания: 220 В.
.2.5 Расчет оборудования
для вытопки и прокалки литейных форм
Исходя из того что самая крупная отливка имеет габариты
равные a=320
мм; b=300
мм; с=50 см выбираем прокалочную печь HOBEN HI-40T с программатором.
|
Максимальная
рабочая температура - 1000 С.
|
|
Программатор -
9 температурных полок (повышение понижение и поддержание).
|
|
Время разогрева
до максимальной температуры - 90 мин.
|
|
Материал муфеля
- жаропрочная керамика.
|
|
Закрытые
встроенные спирали из еврофехраля.
|
|
Размеры рабочей
камеры ДхГхВ - 405x660x455 мм.
|
|
Габариты ДхГхВ
- 770x985x1590 мм.
|
|
Потребляемая
мощность - 5 кВт.
|
|
Электропитание
- 220 В.
|
|
Вес - не более
280 кг
|
 (8)
где QОБ - количество отливок, назначенных для обработки
на данном типе оборудования, шт./год;
q - часовая производительность оборудования, отл/ч.;
Фд - действительный годовой фонд времени работы
оборудования, ч.;
КН - коэффициент неравномерности подачи отливок на
обработку. Коэффициент КН зависит от характера производства и равен
1,1 - 1,35;
,05 - коэффициент, учитывающий брак литья.
 =1,79
Исходя из расчета, принимаем количество
прокалочных печей, равное 2 шт.
.2.6 Расчет оборудования
для отделения финишной обработки
Исходя из опыта изготовления колоколов, в том числе опыта
завода «ЗиЛ» и УНТЦ «Ивантеевка» в отделении финишной обработки используется
следующие виды оборудования: бормашина, угловая-шлифовальная машина и
многофункциональный лабораторный шкаф, используемый, главным образом, для
пескоструйной очистки колоколов
По данным методических указаний к дипломному проекту
«Проектирование цехов для изготовления отливок по выплавляемым моделям» [7] в отделении финишной
обработки количество однотипного оборудования, применяемого на определённых
технологических операциях, подсчитывается по формуле:
где QОБ - количество отливок,
назначенных для обработки на данном типе оборудования, шт./год;
q - часовая
производительность оборудования, отл/ч.;
Фд - действительный годовой
фонд времени работы оборудования, ч.;
КН - коэффициент
неравномерности подачи отливок на обработку. Коэффициент КН зависит
от характера производства и равен 1,1 - 1,35;
,05 - коэффициент, учитывающий брак литья.
Расчет количества аппаратов пескоструйной
обработки
где QОБ = 2794 шт./год; КН
= 1,2; Фд = 653 ч; q = 3,7 отл./ч
РОБ = = 0,66
Исходя из расчета, принимаем количество
многофункциональных лабораторных шкафов, равное 1 шт.
Расчет количества
угловых-шлифовальных машин
где QОБ = 2794 шт./год; КН
= 1,2; Фд = 357,7 ч; q = 6,7 отл./ч
РОБ = = 0,3 шт.
Исходя из расчета, принимаем количество угловых-шлифовальных
машин, равное 1 шт.
3.3 Расчет площадей складских помещений
.3.1 Расчет площадей
складских помещений для шихтовых и формовочных материалов
Величина запасов на складе определяется
исходя из месячного запаса материалов и в зависимости от вида транспорта,
доставляющего материалы. Т. к. доставка формовочных и шихтовых материалов
осуществляется автотранспортом, следовательно, сроки хранения приняты
минимальные. Основные данные для расчетов были взяты из методики Б.В. Кнорре
(таблица 45) по литейным цехам [8].
Расчет площадей складов
для формовочных материалов
Исходя из производственной программы 35
т/год, принимаем запас металла в месяц, равный 2730 т/мес. В соответствии с
этим получаем необходимое количество песка с учетом соотношения 1 кг Ме/4,5 кг
смеси, равное 12,287 т. Без учета формовочной смеси, которая уходит на стержни
колоколов. На стержни колоколов уходит 1,335 т По данным Кнорре объемная масса
песка составляет 1,5 т/м³. В связи с этим получаем
необходимый объем песка:
Vпеска = 12.287+1,335 / 1,5
=13,177 м³. (9)
Песок на складе хранится в бункерах.
Принимаем высоту бункера h = 2 м. Исходя из этого, определяем площадь склада,
занимаемую бункерами, равную 6,5885м². Необходимо также учесть
дополнительную площадь на перемещение автотранспорта и рабочих. Таким образом,
принимаем площадь склада формовочных материалов, равную 15.5885 м².
Расчет площадей складов
для шихтовых материалов
Исходя из производственной программы 35
т/год, принимаем запас шихты в месяц, равный 3,916 т/мес. По данным Кнорре
объемная масса цветных металлов и сплавов составляет 2,7 т/м³. В связи с этим получаем необходимый объем шихтовых материалов:
Vшихты = 3,916 / 2,7 =1,4 м³. (10)
Шихта на складе хранится в бункерах.
Принимаем высоту бункера h = 0,5 м. Исходя из этого, определяем площадь склада,
занимаемую бункерами, равную 2,8 м². Необходимо также учесть
дополнительную площадь на перемещение автотранспорта и рабочих. Таким образом,
принимаем площадь склада шихтовых материалов, равную 5,6 м².
3.3.2 Расчет площадей
складских помещений для готовых изделий
Склад рассчитан для месячного хранения
готовых изделий с учетом того, что их реализация будет производиться
приблизительно в течение месяца. Исходя из того, что в месяц будет выпускаться
около 28,22 комплектов, и они будут храниться на складе на стеллаж, принимаем
площадь склада, равную 35 м².
3.3.3 Расчет площадей
складских помещений для модельно-опочной оснастки
Для производства требуемого количества
комплектов колоколов используется один комплект модельно - опочной оснастки на
каждый колокол. Учитывая габариты технологической оснастки и стеллажей, на
которых она хранится, определяем площадь склада, равную 3 м².
.3.4 Расчет
служебно-бытовых помещений
Площади вспомогательных помещений
культурно-бытового назначения принимают из расчета на одного работающего по
списочному составу [7]. В том числе по видам обслуживания:
санитарно-гигиеническое - 3,5 м², местное
служебно-бытовое обслуживание (комната отдыха и контора) - 0.33 м².
Исходя из того, что количество работающих
на участке составляет 19 человек (без учета бухгалтера, работающего на дому),
принимаем площадь санитарно-гигиенических помещений - 12 м², площадь служебно-бытовых помещений: комната отдыха - 11,5 м², контора - 11,8 м².
.3.5 Разработка
планировки участка
Согласно проведенным расчетам суммарная площадь участка
составляет 200,625 м², в том числе
производственные отделения - 104,945, склады - 60,38 м², служебно-бытовые помещения - 23,3 м², санитарно-гигиенических помещений - 12 м²
Учитывая габаритные размеры оборудования, площадь для его
обслуживания и использования на участке литья художественных изделий, были
рассчитаны площади каждого отделения производственного помещения.
В производственное помещение входят:
заливочное отделение - 5,9 м²;
плавильное отделение с постами ремонта и нагрева ковшей - 34
м²;
отделение выбивки -5,6 м²;
смесеприготовительное отделение (ХТС) - 7,43 м²;
отделение формовки (ХТС) - 8,055 м²;
отделение предварительного отверждения формовочной смеси - 4
м²;
отделение вытопки модельного состава 4м²
- отделение отрезки и очистки - 5 м²;
отделение финишной обработки отливок - 9,86 м²;
отделение ремонта оснастки - 4,5 м²;
отделение приготовления модельного состава и изготовления
моделей - 9,8 м²;
отделение вытопки модельного состава и прокалки форм - 6,8 м².
Используются склады:
склад шихты - 11,8 м²;
склад формовочных материалов - 15,5885 м²;
склад готовых изделий - 30 м²;
склад модельно-опочной оснастки - 3 м²;
Технологическая схема участка разработана
с учетом специфики принятого технологического процесса в соответствие с данными
Б.В. Кнорре.
Рис. 3.1. Типовая планировка участка литья из бронзы площадью
216 м²: I - склад формовочных материалов; II - смесеприготовительное;
III - отделение изготовления моделей и прокалки форм; IV - отделение
изготовления моделей; V - формовочное отделение; VI отделение предварительного
отверждения формовочных смесей; VII - отделение вытопки и прокалки форм; VIII -
склад шихтовых материалов; IX - плавильное отделение с постами ремонта и
хранением тиглей; X - заливочное отделение и отделение выбивки; XI - отделение
отрезки и очистки, отделение финишной обработки; XII - склад готовой продукции;
XIII - отдел ремонта оснастки; XIV - санитарно - гигиенические помещения; XV -
конторское помещение; XVI - комната отдыха
3.4 Режим работы участка
Проектируемый участок имеет односменный
режим работы с пятидневной рабочей неделей и восьмичасовым рабочим днем. Данный
режим работы позволяет проводить 4 плавки в печи ПП 50/12 в смену, что
обеспечивает максимальный выпуск 35 т/год.
3.5 Организация отделений
участка
.5.1
Смесеприготовительное отделение
Смесеприготовительное отделение
располагается в непосредственной близости от склада формовочных материалов и
формовочного отделения. В данном отделении осуществляется приготовление
стержневой и формовочной холодно твердеющей смеси в смесителе плужкового типа.
Рядом со смесителем располагаются
контейнер для суточного запаса кварцевого песка и специальный шкаф с вытяжкой
для хранения фенольных смол холодного отвердевания жидкого стекла и
катализатора. Это обеспечивает наиболее удобную загрузку смесителей. Кварцевый
песок поступает со склада формовочных материалов, расположенного рядом с этим
отделением. Приготовленная смесь поступает в формовочное отделение, где
осуществляется ручная формовка с последовательным вводом компонентов смеси их
дозированием мерными емкостями.
3.5.2 Формовочное
отделение
Формовочное отделение располагается в
непосредственной близости от смесеприготовительного отделения. В данном
отделении производится формовка и сборка форм колоколов на верстаке, формовка и
сборка разъемных форм из ХТС остальных художественных отливок. Есть также
вибростол для уплотнения смеси. Для поднятия полуформ используется кран-балка
грузоподъемностью 1 т.
3.5.3 Отделение
приготовления модельного состава и изготовления моделей
Данное отделение располагается в
непосредственной близости от склада формовочных материалов. В этом отделении
предусмотрены: стол, на котором производится расплавление модельного состава в
инжекторе; стол, на котором производится извлечение моделей из пресс-форм.
3.5.4 Отделение вытопки
модельного состава и прокалки форм
Данное отделение расположено в
непосредственной близости от заливочного отделения. В отделении производится
вытопка модельного состава и прокалка полуформ. Прокаленные формы поступают на
заливку.
3.5.5 Плавильное
отделение
Плавильное отделение спроектировано в
соответствии с условиями получения высококачественного металла по всем
параметрам его свойств. Шихта поступает со склада шихтовых материалов,
расположенного рядом с данным отделением. Для удобства загрузки шихты в печь в
плавильном отделении имеются бункер для суточного запаса компонентов шихты и
лари для хранения флюсов и раскислителей. Шихта загружается в плавильную печь.
Слив расплава в ковш производится при помощи кран-балки, которая обеспечивает
наклон печи сопротивления с поворотным тиглем. Заливка металла в формы -
свободная, производится гравитационным методом сверху из ковша чайникового
типа.
3.5.6 Отделение заливки
Заливочное отделение расположено в
непосредственной близости от прокалочного и плавильного отделения. В отделении
производится подготовка готовых форм к заливке, непосредственно заливка и
охлаждение залитых распла.
3.5.7 Отделение выбивки
Находится в непосредственной близости от
заливочного отделения. В нем производится выбивка отливок из форм. Выбивка
отливок из формы осуществляется вручную. Остатки смеси после выбивки хранятся в
бункере, который предназначен для хранения отработанной смеси на основе ХТС.
Извлеченные отливки поступают в отделение отрезки и очистки.
3.5.8 Отделение отрезки и
очистки
Данное отделение расположено в
непосредственной близости от заливочного отделения. В нем располагаются
стационарный отрезной станок и ванна для выщелачивания. Здесь производится
отделение отливок от литниково-питающей системы, прибылей и очистка
выщелачиванием в ванне с подогревом.
Отделение финишной обработки расположено в
непосредственной близости от отделения отрезки и очистки. В данном отделении
осуществляются отрезка заусенцев, зачистка, очистка от пригара, пескоструйная
обработка, контроль качества отливок и исправление дефектов, подчеканка и
нанесение покрытий по желанию заказчика.
Отрезка заусенцев и зачистка
осуществляется при помощи угловых - шлифовальных машин на специально отведенном
для таких операций верстаке. Очистка колоколов от смеси и пригара
осуществляется в многофункциональном лабораторном шкафу (пескоструйный шкаф) с
помощью зерен песка, которые выстреливается из дробеструйного аппарата на
поверхность отливки. Преимуществами данного метода являются высокая
производительность, надежность и простота конструкции. К пескоструйному шкафу
подводится вода, газ и сжатый воздух.
В отделении финишной обработки имеется
шлифовальный стол с вытяжкой, на котором производится обработка наиболее мелких
элементов отливок с использованием бормашин с набором микрофрез и абразивных
камней. Для хранения инструментов, используемых для финишной обработки отливок,
в этом отделении установлен стеллаж.
3.5.10 Отделение ремонта
оснастки
Отделение располагается в непосредственной
близости от отделения финишной обработки отливок. В этом отделении
осуществляется ремонт поврежденной оснастки на специально оборудованном
верстаке. Данный отдел оснащен токарно-винторезным и сверлильным станками. В
качестве инструментов для ремонта могут использоваться: сварочный аппарат,
угловая шлифовальная машина и т. д. Данные инструменты являются переносными и
используются как в отделении финишной обработки, так и для ремонта оснастки.
3.6 Организация складских
помещений участка
.6.1 Склад шихтовых
материалов
На складе шихтовых материалов хранятся:
флюсы, раскислители, компоненты шихты, а также огнеупорные материалы для печей
и ковшей. Для их хранения используются бункеры. Склад шихты установлен в
закрытом помещении и находится рядом с плавильным отделением. Склад шихтовых
материалов обслуживается кран-балкой. Подвоз материала на склад осуществляется
автомобильным транспортом через ворота. Ворота - стальные, высота - 2,4 м,
ширина - 2,6 м.
3.6.2 Склад формовочных
материалов
На складе формовочных материалов хранится
кварцевый песок. Для их хранения установлены бункеры. Также здесь имеется шкаф
для хранения связующих компонентов смеси (жидкого стекла, катализатора,
готового связующего). Склад находится в непосредственной близости от
смесеприготовительного отделения и обслуживается кран-балкой.
3.6.3 Склад готовых
изделий
После финишной обработки отливки поступают
на склад готовых изделий. Наиболее тяжелые изделия перемещаются при помощи
тележки с гидравлическим манипулятором. Для хранения готовых изделий
используются стеллажи. На складе имеются ворота, через которые изделия
отправляются к заказчику.
.6.4 Склад
модельно-опочной оснастки
Для хранения модельно - опочной оснастки
на участке также имеется склад, примыкающий к отделению ремонта оснастки.
Модельно-опочная оснастка хранится в специальном стеллажном шкафу. Для
перемещения наиболее тяжелых грузов используется кран-балка или тележка с
гидравлическим манипулятором.
3.7 Служебно-бытовое
отделение
Служебно-бытовое отделение включает:
контору, комнату отдыха и санитарно-гигиенические помещения (раздевалка,
душевая и туалет). Данное отделение расположено отдельно от производственных
отделений.
Служебно-бытовое отделение располагается
согласно санитарным нормам. Отдельное его размещение позволяет исключить
проникновение значительного количества газов и пыли, снижает уровень шума и
улучшает условия работы персонала, работающего в нем.
В соответствии с техническим заданием был
разработан проект участка с выпуском 35 тонн в год готовых художественных
отливок.
4. Разработка конструкции установки для сборки
кокиля с горизонтальным разъемом
.1 Конструкция кокиля
В настоящее время существует множество кокильных машин для
крупносерийного и мелкосерийного производства. Станки с рычажным,
эксцентриковым, реечным приводами, пневматические кокильные станки, карусельные
машины и т. д. Большинство из них обладают большими габаритами и сложным
принципом действия. Для отливки сувенирного колокола массой 1,5 кг в
лаборатории кафедры МиТЛП был сконструирован кокиль представленный на рис 4.1.
Рис. 4.1. Конструкция кокиля: 1-заливочная воронка; 2-верхняя
часть кокиля; 3 - стержень короны; 4-стержень кольцевой; 5-центральный
стержень; 6-средняя часть кокиля; 7-нижняя часть кокиля
В нижнюю часть кокиля-7 проставляется песчаный стержень 5,
формирующий внутреннюю полость колокола. В среднюю часть кокиля-6 проставляется
кольцевой песчаный стержень 4, формирующий поясок колокола, на который нанесена
надпись. Средняя и верхняя часть кокиля 2 скрепляются между собой при помощи
болтов. В верхнюю часть кокиля проставляется стержень короны 3. Устанавливается
заливочная воронка 1.
Также имеется груз, который предотвращает подъем частей
кокиля относительно друг друга при заливке.
.2 Цель разработки конструкции установки
Целью разработки данной установки для сборки кокилей является
решение следующих задач:
) Возможность сборки кокиля в горячем состояние. Установка
позволяет нам решить эти задачи.
) Максимальное снижение вероятности повреждения песчаного
стержня, формирующего внутреннюю полость сувенирного колокола.
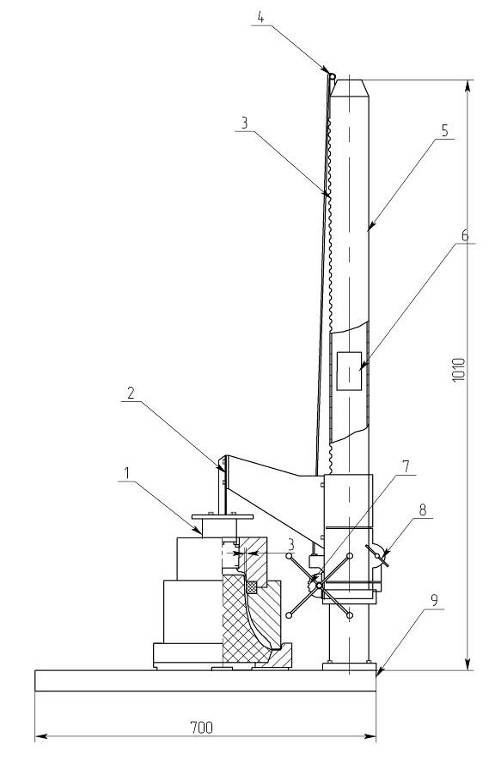
4.3 Конструкция установки
Сборка кокиля перед заливкой представляет значительные
трудности, т. к. зазор между центральным стержнем и окрашенной рабочей
поверхностью кокиля составляет 3 мм. Для сборки кокиля было сконструировано
устройство на базе списанного фотоувеличителя рис 4.2.
Для создания нашей конструкции мы взяли отдельные элементы
фотоувеличителя: стол-9, стойка-5. На стойке располагается рейка-3, по которой
перемечается с помощью зубчатого колеса - 7, консоль-2. На консоли закреплен
трехкулачковый патрон токарного станка - 1, который производит захват частей
кокиля.
Рис. 4.2. Установка для сборки кокиля: 1-трехкулачковый
патрон; 2-консоль; 3-рейка; 4-ролик; 5-колонна; 6-груз; 7-зубчатое колесо;
8-фиксатор; 9-стол
Система самотормозящая, уравновешивается при помощи груза-6,
прикрепленного к тросу, проходящего через ролик-4. Трос с грузом опущены внутрь
полой стойки. Трос крепится к кронштейну при помощи гайки. Для придания
жесткости системы захватывающего устройства используем фиксатор-8, который
позволяет нам закреплять кронштейн с захватывающим устройством на удобной для
нас высоте.
Рис. 4.3. Трехкулачковый патрон
Кулачки 1, 2, 3 перемещаются одновременно при помощи диска 4
с архимедовой спиралью. В витки этой спирали входят нижними выступами кулачки.
На обратной стороне диска нарезано коническое колесо, с которым соединены три
конических зубчатых колеса 5. При повороте ключом одного из них поворачивается
и коническое колесо диска 4 и посредством спирали перемещает по пазам корпуса
патрона одновременно и равномерно все три кулачка; в зависимости от вращения в
ту или иную сторону кулачки приближаются или удаляются от центра,
соответственно зажимая или освобождая деталь. Кулачки изготовляют обычно
трехступенчатыми, для повышения износостойкости их закаливают.
4.4 Принцип работы установки
Консоль вместе с патроном передвигается по рейке с помощью
зубчатого колеса. Благодаря патрону производится захват форм кокиля. Для
балансировки захватывающего устройства используется груз, подвешенный на трос.
Для придания жесткости системы захватывающего устройства используем фиксатор,
который позволяет нам закреплять кронштейн с захватывающем устройстве на
удобной для нас высоте.
Изначально была предложена и сконструирована другая модель
установки для сборки кокиля. Принцип ее работы несколько отличался от принципа
работы описанной выше установки. Конструкция данной установки состояла также из
платформы, стойки, расположенной на ней, кронштейна, который способен
перемещаться в горизонтальном положение, вокруг оси стойки, на которой он
закреплен. Непосредственно на кронштейне имеется рычаг, за который крепятся
части кокиля и который позволяет нам перемещать их в вертикальном положение.
Однако данная установка не позволяет нам собирать кокиль с той точностью,
которая требуется, так как при опускание рычага, кокиль опускается не в строго
вертикальном положении, а с некоторым отклонением. Так же на ней не было
предусмотрено жесткой системы захвата кокиля, которая смогла бы нам позволить
собрать кокиль, при этом не задев стержня. Следовательно в ходе сборки песчаный
стержень мог быть поврежден, что сказалось бы на качестве отливки.
4.5 Технология сборки кокиля
Технология сборки заключается в том, что мы производим ее для
нагретого до 120 градусов кокиля. В каждой части кокиля имеются специальные
отверстия, в которые мы вставляем прутки и достаем горячие части кокиля из
печи. Ручная сборка при такой высокой температуре весьма затруднительна, как с
точки зрения техники безопасности, так и сточки зрения обеспечения целостности
песчаного стержня, проставленного в нижней части кокиля. В случае применения
каких либо приспособлений для ручной сборки (например, штырей, с помощью
которых мы достаем горячие части кокиля из печи) вероятность повреждения
стержня еще больше возрастает, так как вручную сложно обеспечить строго
вертикальное перемещение скрепленных между собой, верхней и средней частей
кокиля, при этом не задев стержень. Предложенная нами конструкция установки
позволяет нам осуществить сборку кокиля механизировано. Что позволяет нам
решить первую задачу, поставленную перед нами.
Рис. 4.4. Сборка кокиля
При помощи прутков, достаем части кокиля 1,2,7 из печи.
Устанавливаем собранный кокиль на платформе установки. Нижняя часть кокиля
устанавливается на стол по упорам так, что ось кокиля точно совпадает с осью
трехкулачкового патрона. Верхняя и средняя части кокиля 1 и 2 закреплены между
собой болтовыми соединениями. Далее кулачковый патрон подводится к верхней
части кокиля и поскольку верхняя и средняя части скреплены между собой,
кулачковый патрон производит захват и подъем обеих частей кокиля. Далее мы
проставляем центральный стержень-5 в нижнюю часть кокиля. Благодаря жесткости
системы установки, кокиль собирается с большой точностью, при этом, не
повреждая песчаный стержень. Что является решением второй задачи, поставленной
нами.
Затем устанавливают центральный стержень, и опускают консоль
с закрепленным на нем кокилем. Сводят кулачки патрона и поднимают консоль на
такое расстояние от кокиля, при котором возможно осуществить заливку горячего
металла. Устанавливают стержень короны и чугунную разъемную воронку. Производим
заливку.
Заключение
Согласно ТЗ на кафедре МиТЛП была создана установка для
сборки кокиля с горизонтальным разъемом. Установка стоит в лаборатории кафедры.
Была испытана. Испытания показали, что установка технически соответствует
нормам и удобна и весьма надежна в применение. С поставленными задачами
справляется.
Список источников
1.
Оловянишников Н. История искусства. - Москва, 1912, 450 стр. (репринтное
издание, 1999).
.
Нюнин Б.Н., Ларионов А.С. Русский художественное литье М., 1994. С. 28-41.
.
Коновалов И. Архитектура колокола: Отливка колоколов, оформление колоколов.
СПб., 1999.
.
Технология литейного производства: Литье в песчаные формы: Учебник для студ.
высш. учеб. заведений / А.П. Трухов, Ю.А. Сорокин, М.Ю. Ершов и др.; Под ред.
А.П. Трухова. - М.: Издательский центр «Академия», 2005. - 528 с.
.
Трухов А.П. Т801 Литейные сплавы и плавка: Учебник для студ. высш. учеб.
заведений / А.П. Трухов, А.И. Маляров. - М.: Издательский центр «Академия»,
2004. - 336 с.
.
Фоченков Б.А., Мешков В.П., Талаев А.А.: с. 22, табл. 6, Библ. 10, МГТУ «МАМИ»,
2003 г.
.
Основы проектирования литейных цехов и заводов: Учебник для вузов по
специальностям «Машины и технология литейного производства» и «Литейное
производство черных и цветных металлов» / Л. Фанталов, Б.В. Кнорре, С.И.
Четверухин и др. Под ред. Б.В. Кнорре - 2-е изд., перераб. - М.:
Машиностроение, 1979. - 376 с., ил.
.
Аксенов П.Н. А 42 Оборудование литейных цехов. Учебник для машиностроительных
вузов. Изд. 2-е, перераб. и доп. М., «Машиностроение», 1977. 510 с. с ил.
.
Решетов Д.Н. Детали машин: Учебник для студентов машиностроительных и
механических специальностей вузов. - 4-е изд., перераб. и доп. - М.:
Машиностроение, 1989. - 496 с.: ил.
.
Охрана труда в металлургии. 2-е изд. Злобинский Б.М., «Металлургия», 1975. 536
с.
.
Средства защиты в машиностроении: Расчет и проектирование: Справочник / С.В.
Белов, А.Ф. Козьяков, О.Ф. Партолин и др.; Под ред. С.В. Белова. - М.:
Машиностроение, 1989. - 368 с.: ил.
.
С.В. Белов. Средства защиты в машиностроении. М.: «Машиностроение», 1989 г.
.
(14). Долин П.А. Основы техники безопасности в электроустановках: Учеб. пособие
для вузов. - 2-е изд., перераб. и доп. - М.: Энергоатомиздат, 1984. - 448 с.,
ил.
.
В. Белов. Охрана окружающей среды. М.: «Машиностроение», 1991 г.
В.
М Полева, В.Ф. Маркузон Популярная художественная энциклопедия Москва 1986 г.
Н.С.
Шапарова Энциклопедия славянской мифологии АСТ Москва 2001 г.
геральдика
отливка литейный сплав
Похожие работы на - Разработка дизайн проекта декоративной трости
|