Тормозные механизмы карьерного самосвала
Белорусский
национальный технический университет
Кафедра
«Автомобили»
ПОЯСНИТЕЛЬНАЯ
ЗАПИСКА
к курсовому
проекту
по
дисциплине «Проектирование систем управления»
Тема:
Тормозные механизмы карьерного самосвала
Исполнитель: ст.гр. 101112
Мущинский Б.А.
Руководитель проекта:
Доцент Иванов В.Г.
Минск 2005
Содержание
Введение
. Список условных обозначений
. Патентно-информационный обзор
. Расчет тормозной динамики
.1 Расчет идеальных и максимальных
тормозных моментов
.2 Построение диаграммы распределения
удельных тормозных сил
. Расчет тормозных механизмов
.1 Проектный расчет барабанных
тормозных механизмов
.2 Проверка тормозных качеств
автомобиля на соответствие международным нормативным документам
.3 Проверочный расчет тормозного
механизма
.4 Показатели нагружённости
тормозных механизмов
. Разработка многоколодочного
барабанного тормозного механизма
Выводы
Литература
Введение
Целью курсового проектирования является расчет
тормозных механизмов карьерного самосвала БелАЗ-549 грузоподъемностью 75т. В
ходе расчета необходимо произвести расчет тормозной динамики, тормозных
механизмов и привода тормозов карьерного самосвала. Исходя из выполненных
конструкций, выбираем колодочные тормоза типа Simplex,
тип привода гидравлический с осевым разделением по контурам.
При проектировании необходимо учитывать, что
эксплуатация карьерных самосвалов происходит в тяжёлых условиях, это
предъявляет повышенные требования к тормозным системам машины.
Автомобиль БелАЗ-549 оснащен электродинамической
трансмиссией, поэтому при проектировании учитывается наличие
электродинамического торможения тяговыми электродвигателями.
Рабочая тормозная система, состоящая из
тормозного барабана и колодок, используется тогда, когда эффективность
электродинамической системы недостаточна и при скорости менее 10км/ч.
Если сравнивать тормозные системы
автомобилей-самосвалов БелАЗ различных моделей, то модели 549 и 7519 оснащены
рабочей тормозной системой с механизмами колодочного типа, с раздельным
гидравлическим приводом, обеспечивающим время срабатывания 0,2..0,3с.
Автомобиль БелАЗ-7521 имеет тормозную систему барабанного типа для передних
колес и дисковые тормоза для задних. Дисковые тормоза состоят из тормозного
диска, трёх тормозных механизмов и трёх тормозных цилиндров и включают рабочую
стояночную и запасную тормозные системы .Дисковые тормоза, работают в масляной
ванне, этим обеспечивается их надежное охлаждение.
Стояночная тормозная система
состоит из двух тормозных механизмов, тормозного привода и приборов контроля.
Тормозные механизмы постоянно замкнутого типа расположены на валах ТЭД.
Запасная тормозная система
предназначена для остановки автомобиля-самосвала в случае полного или
частичного выхода из строя рабочей системы, т.е. применяется при аварийной
ситуации. В качестве этой системы используется стояночная с дополнительным
усилением тормозного момента.
Аварийные тормоза, действующие
механически на ведущие колеса, включаются автоматически при падении давления в
тормозной системе ниже установленного уровня и могут остановить автомобиль-самосвал
с полной нагрузкой. При экстренном торможении в ряде случаев возникает
блокировка колес, особенно при недостаточном сцеплении колес с дорогой, что
резко ухудшает безопасность движения машин. Ряд фирм за рубежом разработали
антиблокировочные системы для большегрузных автомобилей.
В режиме электродинамического
торможения осуществляется торможение на горизонтальных участках пути и на
уклонах, а также подтормаживание на затяжных спусках, обеспечивающее движение с
постоянной скоростью.
Исходные данные для проектирования:
-масса снаряженного автомобиля .
-полная масса автомобиля.
-высота автомобиля.
-длина базы автомобиля.
-шины применяемые на автомобиле.
-передаточное отношение колёсного
редуктора.
11,5, согласно нагрузочной
характеристике автомобиля, где
- электродвижущая сила тягового
электродвигателя(ТЭД),
-число
оборотов ТЭД.
-сила тока в тяговом
электродвигателе в режиме торможения.
Распределение веса автомобиля по
мостам представлено в таблице 1.
Таблица 1.
|
Состояние
|
Груженый,
%
|
Снаряженный,
%
|
|
Передний
мост
|
48
|
28
|
|
Задний
мост
|
52
|
72
|
1. Список условных обозначений
G-
вес автомобиля;
L-
база автомобиля;
а- расстояние
от центра масс автомобиля до переднего моста;
b
- расстояние от центра масс автомобиля до заднего моста;
- высота центра масс;
- удельная нагрузка на задний мост;
- удельная высота центра масс
автомобиля;
H -
габаритная высота автомобиля без груза;
Z- относительное
замедление;
- нормальная реакция дороги на
колесо (мост) автомобиля;
- идеальная тормозная сила на колесе
(мосте);
- идеальный тормозной момент колеса
(моста);
- динамический радиус колеса i- го моста;
Н- высота
профиля колеса;
- удельная тормозная сила;
- предельное замедление автомобиля;
Ф- коэффициент распределения
тормозных сил;
- коэффициент трения;
- усилие управления тормозным
механизмом;
-диаметр барабана
-радиус барабана
- высота накладки активн.
-высота накладки пассивн.
- толщина барабана.
-площадь тормозной накладки.
- ширина тормозной накладки.
- радиус тормозной накладки, мм
, угол охвата тормозной накладкидавление
в тормозной системе;
- коэффициент пропорциональности
тормозного механизма;
- диаметр колесного тормозного
цилиндра;
n- количество
колес моста.
,
-нормальные реакции на колесах.
- радиус качения колеса.
- постоянные коэффициенты,
- коэфф. трения для накладки.
- высота центра тяжести в
снаряженном состоянии.
- высота центра тяжести в груженом
состоянии.
-передаточное
отношение колёсного редуктора.
- электродвижущая сила тягового
электродвигателя(ТЭД).
- число оборотов ТЭД.
- сила тока в тяговом
электродвигателе в режиме торможения.
- диаметры колёсных тормозных
цилиндров.
- тормозной момент от тягового
электродвигателя.
- напряжения разрыва тормозного
барабана.
- напряжение на срез.
- удельная нагрузка на накладку.
- удельная работа сил трения.
- нагрев тормозного барабана.
Q - масса
барабана в контакте с тормозными накладками.
- площадь тормозного цилиндра.
- удельная нагрузка в контакте пары
трения.
2. Патентно-информационный обзор
Механизм, предназначенный для непосредственного
создания и изменения искусственного сопротивления движению автомобиля,
называется тормозным.
Тормозные механизмы по форме вращающихся
элементов делятся на барабанные и дисковые, встречаются также камерные
тормозные механизмы.
Фрикционный тормоз, в котором силы трения
создаются на внутренней поверхности вращающегося цилиндра (барабана),
называется барабанным. Барабанный тормоз состоит из барабана, колодок, опорного
диска (суппорта), опоры колодок, разжимного устройства и регулятора зазора.
Разжимные устройства применяются трёх типов:
кулачёк, клин, гидроцилиндр. Гидроцилиндры бывают двухпоршневые и
однопоршневые.
Барабанные тормозные механизмы классифицируют по
виду и количеству разжимных устройств, а также числу степеней свободы колодок.
Колодки с одной степенью свободы крепятся шарнирно
к суппорту в одной или двух точках с помощью опорных пальцев.
Рисунок 1. Тормозные механизмы автомобилей
КамАЗ-5320, МАЗ-5335
Колодки с двумя степенями свободы имеют
следующие виды опор: закруглённый конец колодки опирается на плоскую опору
суппорта и скользит по ней; нижний конец колодки с помощью рычага крепится к
суппорту, при этом рычаг шарнирно соединяется с другой колодкой; опорой для
колодки служит само разжимное устройство, в этом случае колодка опирается либо
на корпус гидроцилиндра, либо на клин разжимного устройства.
Барабанные тормозные механизмы с разжимным
кулаком и с колодками, имеющими одну степень свободы, нашли широкое
распространение на грузовых автомобилях и прицепах, оборудованных пневматическим
приводом. На легковых и грузовых автомобилях, имеющих гидравлический или
пневмогидравлический тормозной привод, применяются тормоза с одним или двумя
гидроцилиндрами
На рисунке 1 приведена схема приведена схема
барабанного тормозного механизма типа Simplex
c разжимным кулаком.
Однако барабанные механизмы обладают высокими гистерезисными потерями,
самозатягиванием и проскальзыванием, что отрицательно сказывается на работе
АБС, обязательных к установке на современных автомобилях. Способ для решения
этих проблем представлен в патенте (3).
Представленный колодочный
тормоз содержит барабан и колодку, шарнирно соединенную с приводным центрально
расположенным кривошипом. Новое заключается в том, что на колодке жестко
закреплен сектор сателлита, взаимодействующий посредством внутреннего
зацепления с неподвижным опорным зубчатым колесом, соосным с барабаном.
Начальный диаметр опорного зубчатого колеса равен диаметру рабочей поверхности
барабана. Техническим результатом является повышение стабильности работы тормоза,
исключение самозатягивания и проскальзывания, снижаются гистерезисные потери ,
что позволяет повысить надежность работы тормоза. 2 рис1
Рисунок 2. Колодочный тормоз к
патенту 3
Изобретение относится к
автомобилестроению и может использоваться в качестве колесного тормоза
автомобиля и других транспортных средств.
Известен также
барабанно-колодочный тормоз, содержащий две колодки с фрикционными накладками,
которые под действием приводного устройства прижимаются к внутренней
цилиндрической поверхности барабана. В зависимости от конструкции приводного
устройства такой тормоз может обладать большой эффективностью за счет
серводействия одной или двух колодок, но с увеличением серводействия снижается
стабильность его работы (зависимость передаточного отношения от коэффициента
трения фрикционной пары).
Наиболее близким к изобретению
по принципу действия является колодочный тормоз, содержащий барабан с
цилиндрической рабочей поверхностью, колодку с фрикционной накладкой и привод
перемещения колодки, выполненный в виде шатуна, одним концом связанного с
колодкой, а другим шарнирно соединенного с приводным центрально расположенным
кривошипом, и ползуна, шарнирно связанного с шатуном и установленного в
неподвижной радиальной направляющей, причем колодка жестко закреплена на шатуне
привода, а центр радиуса рабочей поверхности фрикционной накладки расположен в
центре шарнира, соединяющего шатун с кривошипом 2.
Недостатком данного тормоза
является самозатягивание, величина которого больше или меньше отличается от
нуля в различных положениях колодки относительно барабана. Это небольшое
самозатягивание, обусловленное несовпадением образующих тормозного барабана и
подвижной колодки с неподвижной и подвижной центроидами приводного кривошипно-ползунного
механизма, приводит к снижению надежности тормоза.
Сущность изобретения состоит в
том, что в известном колодочном тормозе, содержащем барабан с цилиндрической
рабочей поверхностью, колодку с фрикционной накладкой, шарнирно соединенную с
приводным центрально расположенным кривошипом, причем центр радиуса рабочей
поверхности фрикционной накладки расположен в центре шарнира, соединяющего
колодку с кривошипом, с колодкой жестко скреплен сектор соосного с ней
сателлита, взаимодействующего посредством внутреннего зацепления с неподвижным
опорным зубчатым колесом, начальный диаметр которого равен диаметру рабочей
поверхности тормозного барабана.
На рисунке 3 представлена схема
конструкции колодочного тормоза; на рисунке 2- схема, показывающая схему конструкции,
вид сбоку.
Тормоз содержит барабан 1,
колодку 2, на которой жестко закреплен соосный с ней сектор сателлита 3,
взаимодействующий с неподвижным опорным зубчатым колесом 4 посредством
внутреннего зубчатого зацепления. Колодка 2 шарнирно установлена на приводном
кривошипе 5, ось вращения которого совпадает с осью вращения барабана 1 и
опорного зубчатого колеса 4.
Рисунок 3. Колодочный тормоз к
патенту 3 (вид с боку)
Тормоз работает следующим
образом. В отведенном положении колодка 2 не касается рабочей поверхности
барабана 1 (показано на рисунке 2). При повороте кривошипа 5 по часовой стрелке
колодка 2, на которой закреплен сектор сателлита 3, огибает рабочую поверхность
барабана 1 с натягом, который обеспечивает момент торможения. Скольжение
(самозатягивание) между колодкой 2 и рабочей поверхностью барабана 1 равно нулю
вследствие того, что жестко связанный с колодкой 2 сектор сателлита 3,
составляющий с ней одно соосное звено, обкатывается по неподвижному опорному
колесу 4 без скольжения, чем обеспечивается высокая стабильность работы
тормоза. Высокая эффективность обеспечивается тем, что сила торможения,
касательная к рабочей поверхности барабана 1, полностью уравновешивается
окружной реакцией зубьев, поэтому не приводится к кривошипу ни при каком
значении силы трения. Предложенная конструкция позволяет совместить высокую
стабильность тормозного момента с высокой эффективностью торможения, что
повышает надежность работы тормоза в целом и позволяет использовать его без
гидроусилителя.
Колодочный тормоз, содержащий
барабан с цилиндрической рабочей поверхностью, колодку с фрикционной накладкой,
шарнирно соединенную с приводным центрально расположенным кривошипом, причем
центр радиуса рабочей поверхности фрикционной накладки расположен в центре
шарнира, соединяющего колодку с кривошипом, отличающийся тем, что с колодкой
жестко закреплен сектор сателлита, взаимодействующего посредством внутреннего
зацепления с неподвижным опорным зубчатым колесом, начальный диаметр которого
равен диаметру рабочей поверхности барабана.
Весьма интересна конструкция
барабанного тормоза предложенного фирмой «VOLVO». На рисунке 4 приведена
конструкция тормозного механизма с двумя степенями свободы, применяемая на
грузовых автомобилях. Особенностью конструкции является Z-образное
разжимное устройство с двумя пальцами 1, входящими в углубление приводного вала
и упирающимися в толкатели 2 колодок. Такое устройство имеет высокий КПД и
малые гистерезисные потери при растормаживании. Следует также отметить
использование оттяжной пружины, изготовленной из изогнутой стальной полосы.
Уменьшение гистерезисных потерь при растормаживании предоставляет возможность
лучше использовать возможности АБС.
Рисунок 4. Барабанный тормоз
VOLVO»
При работе тормоза в контакте
пары трения происходит выделение большого количества тепловой энергии, что
ведет к повышению температуры барабана и ухудшению тормозных свойств.
Необходимо предусматривать конструктивные меры по улучшению теплоотвода.
Например, оребрение барабанов автомобиля ЗИЛ-164 понизило установившуюся
поверхностную температуру на 47%.
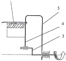
На автобусе ЛАЗ 695Е установлен
тормозной барабан с системой принудительного воздушного охлаждения сжатым
воздухом, подаваемым непосредственно в зоны трения фрикционных пар по окончании
процесса торможения (рисунок 5), состоит из тормозного барабана 1, колодок 3,
фрикционных накладок 2, тормозного щита 7 со смонтированными на нем тройником 6
и соединительными трубопроводами 5, а также сопл 4, встроенных в колодки и
подводящих сжатый воздух через отверстия в фрикционных накладках
непосредственно в зону трения. Усовершенствованная пневмосистема автобуса
подает сжатый воздух в тройники 6 тормозных механизмов после завершения
процесса торможения, после закрывания дверей, а также в случаях, когда давление
в пневмосистеме превышает допустимое значение.
Рисунок 5. Система охлаждения
тормозных барабанов автобуса 695E
Подобная система разработана и
для охлаждения тормозов средней и задней осей автомобиля КрАЗ-256Б.
Дисковые тормозные механизмы находят применение
на легковых и в меньшей степени грузовых автомобилях.
По конструктивному исполнению дисковые тормозные
механизмы делятся на механизмы с фиксированной и плавающей скобой, одно- и
многодисковые. В зависимости от конструкции диска различают тормозные механизмы
со сплошным и вентилируемым, металлическим и биметаллическим дисками.
Сплошной диск -самый простой - применяется в
случаях, если возможно активное охлаждение дискового тормоза. Вентилируемый
выполнен в виде крыльчатки-турбины. В автомобилях применяются в основном
однодисковые тормозные механизмы с вентилируемым диском и креплением по
внутреннему диаметру.
В зависимости от способа крепления скобы
различают дисковые тормозные механизмы с фиксированной и плавающей скобой.
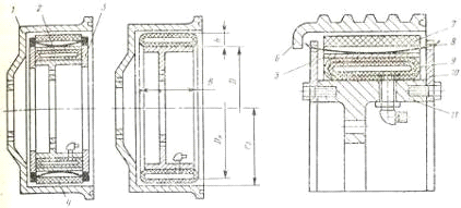
Дисковым тормозом с фиксированной (Рисунок
6)скобой обеспечивается большое приводное усилие и повышенная жёсткость
механизма.
Колёсные тормозные цилиндры 2 размещаются на
скобе 1 с двух сторон диска 9. В цилиндр входит поршень 9 с уплотнительным
кольцом 7 и пылезащитный чехол 5. Внутренние полости цилиндров скобы с помощью
трубопровода 3 сообщается с главным тормозным цилиндром. Поршень 8
непосредственно воздействует на тормозные колодки 6 с фрикционными накладками
10.
Рисунок 6. Дисковый тормоз (фиксированная скоба)
При торможении дисковым тормозом давление в
колёсных цилиндрах 2 повышается и поршни 8, перемещаясь, прижимают с двух
сторон накладки 10 к вращающемуся диску 9. Тормозные колодки 6 удерживаются в
скобе 1 с помощью пальцев 4.
Специального устройства для отвода колодок и
регулировки зазора в паре трения не требуется. При снижении давления в колёсных
цилиндрах за счёт упругости уплотнительных колец 7 и осевого биения диска
колодка фиксируется с минимальным зазором.
Рисунок 7. Дисковый тормоз (плавающая скоба)
В дисковом тормозном механизме с плавающей
скобой (Рисунок 7) тормозной цилиндр 1 с поршнем 4, уплотнительным кольцом 5 и
пылезащитным чехлом 6 устанавливается в скобе с одной стороны диска 3. Скоба
имеет возможность перемещаться совместно с другой тормозной колодкой в суппорте
по направляющим штифтам 2. При торможении поршень прижимает к диску одну из
колодок 8. В результате возникшей реакции скоба перемещается в противоположном
направлении и прижимает к диску вторую реактивную колодку 7. Для снижения
вибрации колодок на скобе установлены пластинчатые пружины 9. Тормозной
механизм с плавающей скобой имеет лишь один колёсный цилиндр. Его колонка
нагревается меньше, чем в механизме с фиксированной скобой, но имеет
существенный недостаток - при деформации, коррозии направляющих возникают
односторонние изнашивания накладок и диска (со стороны колёсного цилиндра). Эффективность
торможения снижается, появляется вибрация скобы и тормозной колодки.
Улучшенная модель дискового тормозного механизма
представлена в патенте 4.
Дисковый тормоз содержит
скобообразный корпус, привод тормоза, нажимную и опорную колодки с фрикционными
накладками и тормозной диск, закрепленный винтами на рубашке, предназначенной
для крепления на колесе. Опорная колодка закреплена в корпусе, смонтированном
вместе с нажимной колодкой на цилиндрических направляющих, установленных с
возможностью осевого перемещения в аксиальных расточках кронштейна.
Цилиндрические направляющие вместе с кронштейном размещены в рубашке.
Техническим результатом является снижение трудоемкости изготовления тормоза и
трудозатрат на регламентные работы по замене фрикционных элементов по мере их
износа в процессе эксплуатации, улучшение массогабаритных характеристик, а
также повышение надежности работы тормоза.
Рисунок 8. Дисковый тормоз (к
патенту 4)
Изобретение относится к области
машиностроения, в частности к гидравлическим дисковым тормозам, и предназначено
для использования в колесах транспортных средств.
Известен гидравлический
дисковый тормоз, содержащий скобообразный корпус, в котором размещены привод
тормоза, нажимная и опорная колодки с фрикционными накладками, между которыми
размещены тормозной диск, выполненный заодно с рубашкой, предназначенной для
крепления на колесе. Корпус и колодки смонтированы на двух парах цилиндрических
направляющих, размещенных над внешним диаметром тормозного диска и
установленных с возможностью осевого перемещения в аксиальных расточках,
выполненных в кронштейне, предназначенном для крепления на оси колеса.
Недостатком известной
конструкции тормоза является то, что при износе фрикционных элементов тормоза
процесс их замены связан с демонтажом колеса с транспортного средства, что
существенно увеличивает трудозатраты на проведение регламентных работ по замене
фрикционных элементов по мере их износа в процессе эксплуатации. При этом
замена вращающегося тормозного диска сопровождается вместе с рубашкой, что
также экономически нецелесообразно.
Другим недостатком известного
тормоза является оснащение его двумя парами цилиндрических направляющих,
размещенными над вращающимся тормозным диском и предназначенными одна для
установки корпуса тормоза, другая для установки нажимной и опорной колодок.
Такое конструктивное решение приводит к увеличению массогабаритных
характеристик тормоза и трудоемкости его изготовления, а также к снижению
эксплуатационной надежности из-за больших динамических нагрузок.
Технический эффект от
использования предложенного технического решения выражается в снижении
трудоемкости изготовления тормоза и трудозатрат на регламентные работы по
замене фрикционных элементов по мере их износа в процессе эксплуатации,
улучшении массогабаритных характеристик, а также в повышении надежности работы
тормоза.
Указанный результат достигается
тем, что опорная колодка закреплена в корпусе, тормозной диск закреплен на
рубашке разъёмно, корпус и нажимная колодка смонтированы на общей паре
цилиндрических направляющих, которые вместе с кронштейном размещены в рубашке.
На рисунке 8 - изображен
дисковый тормоз в сечении. Дисковый тормоз содержит скобообразный корпус 1,
привод тормоза 2, нажимную и опорную колодки 3 и 4 с фрикционными накладками и
тормозной диск 5, закрепленный винтами б на рубашке 7, предназначенной для
крепления на колесе 8. Опорная колодка 4 закреплена в корпусе 1, смонтированном
вместе с нажимной колодкой 3 на цилиндрических направляющих 9, установленных с
возможностью осевого перемещения в аксиальных расточках 10 кронштейна 11,
предназначенном для крепления на оси (на чертеже не показана) колеса 8.
Цилиндрические направляющие 9 закреплены в корпусе 1 посредством резьбового
соединения и размещены вместе с кронштейном 11 в рубашке 7.
Дисковый тормоз работает
следующим образом. При подаче давления поршни привода 2 тормоза, перемещая
нажимную колодку 3 по цилиндрическим направляющим 9, прижимают ее к тормозному
диску 5, после чего нажимная колодка 3 вместе с корпусом 1 и цилиндрическими
направляющими 9, перемещаясь в аксиальных расточках 10, прижимают к тормозному
диску 5 опорную колодку 4, обеспечивая тем самым торможение колеса 8. После
сброса давления поршни привода 2 отходят на определенную величину, освобождая
от осевого усилия нажимную колодку 3 и корпус 1 с опорной колодкой 4, в
результате чего тормоз растормаживается.
Для замены нажимной и опорной
колодок 3 и 4 и тормозного диска 5 из корпуса 1 вывертывают цилиндрические
направляющие 9, выводят их из осевых расточек 10 в кронштейне 11, затем усилием
в радиальном направлении колодки 3 и 4 вместе с корпусом 1 и приводом 2 снимают
с тормозного диска 5, после чего, вывернув винты б, снимают тормозной диск 5 с
рубашки 7. После замены изношенных элементов тормоза установка новых
производится в обратном порядке.
Таким образом, замена
фрикционных элементов тормоза осуществляется без демонтажа колеса с
транспортного средства, что существенно снижает трудозатраты, связанные с
регламентными работами по техобслуживанию. Кроме того, установка корпуса и
нажимной колодки в общей паре цилиндрических направляющих и размещение
цилиндрических направляющих вместе с кронштейном в рубашке позволяет уменьшить
габариты и массу тормоза, снизить трудоемкость его изготовления и повысить
надежность его работы.
При необходимости на автомобили большой
грузоподъёмности устанавливаются многодисковые тормоза, обладающие большей
несущей способностью. Пример конструкции такого тормоза рассмотрен в патенте 5.
Сущность изобретения заключается
в том, что опорная часть упругого диска тормоза выполнена в виде внешнего и
внутреннего буртов. Толщина внешнего бурта меньше толщины внутреннего бурта. Во
время работы тормоза с пакетом фрикционных дисков вступает в контакт внешний,
более тонкий бурт, затем внутренний, имеющий большую толщину бурт (рисунок 9).
Технический результат заключается в расширении диапазона гасимых
высокочастотных нагрузок, повышение эффективности торможения, надежности и
срока службы тормоза.
Рисунок 9. Многодисковый тормоз
(к патенту 5)
Изобретение относится к области
машиностроения, в частности к многодисковым тормозам транспортных средств, и
может быть использовано в колесах летательных аппаратов.
Известен многодисковый тормоз,
содержащий корпус тормоза, блок цилиндров с поршнями, пакет тормозных дисков и
упругий диск. Упругий диск имеет опорную часть в виде бурта по внешнему
контуру, контактирующего с опорными дисками и предназначенного для гашения
высокочастотных колебаний тормозного момента (1).
Недостатком такой конструкции
является ограниченный диапазон допустимых высокочастотных колебаний нагрузок,
которого бывает недостаточно, особенно в высоконагруженных тормозах, из-за
возможных всплесков нагрузок в начале торможения, выходящих за рамки расчетных,
что может в процессе эксплуатации привести к разрушению упругого диска и всего
тормоза в целом, и тем самым снижает надежность и срок службы тормоза.
Технический результат, который
может быть достигнут от использования предложенного технического решения,
заключается в повышении надежности и срока службы тормоза за счет расширения
диапазона гасимых высокочастотных нагрузок.
Указанный результат достигается
за счет того, что опорная часть упругого диска выполнена в виде двух буртов с
возможностью последовательного, от внешнего контакта к внутреннему, их
контактирования с пакетом тормозных дисков и различной толщины стенок внешнего
и внутреннего буртов, из которых последняя - больше. Благодаря предложенному
техническому решению, обеспечивается гашение высокочастотных колебаний нагрузок
в процессе всего периода торможения.
На чертеже представлен
многодисковый тормоз для колес транспортных средств, разрез.
Многодисковый тормоз содержит
корпус тормоза 1, блок цилиндров 2 с поршнями 3, пакет фрикционных дисков 4 и
упругий диск 5 с опорной частью по его внешнему контуру, выполненной в виде
внешнего и внутреннего буртов 6, 7 с зазором "h1" между их
контактными поверхностями. Зазор "h1" и толщины внешней и внутренней
стенок 8, 9 соответственно определяются величиной нарастания рабочего давления
в блоке цилиндров 2 и, соответственно, величиной нарастания распорного усилия в
начале торможения, когда образуется всплеск вибрации, и рассчитываются, исходя
из конкретных условий эксплуатации.
Для расширения диапазона
гасимых вибрационных нагрузок, стенка 8 выполнена тоньше стенки 9.
Многодисковый тормоз работает
следующим образом:
При подаче тормозного давления,
возникающие на начальном этапе торможения всплески вибрационных нагрузок
приводят к деформации стенки 8 на величину "h1", и тормозные диски 4
упрутся в бурт 7, и на дальнейшем этапе торможения вибрационные нагрузки будут
гаситься упругостью стенки 9.
В случае возникновения в
тормозе высокочастотных колебаний, приводящих к деформации стенки 9 на величину
выше расчетной, последняя отгибается на величину "h2 - h1" до упора
тормозных дисков 4 своим внутренним контуром в жестко закрепленную на корпусе
тормоза, часть 10 упругого диска 5, в результате тормозные диски 4 раскрываются
веером. Это приводит к уменьшению радиуса трения и сокращению контактной
площади торможения дисков, ограничивая дальнейшее увеличение момента и
предохраняя тормоз от чрезмерных нагрузок.
Таким образом, благодаря
выполнению опорной части упругого диска в виде двух буртов с возможностью
последовательного их контактирования с пакетом тормозных дисков, вибрационные
нагрузки в тормозе гасятся во всем диапазоне времени торможения, в результате
чего обеспечивается повышение надежности и срока службы тормоза.
Многодисковый тормоз,
содержащий корпус тормоза, блок цилиндров с поршнями, пакет тормозных дисков и
упругий диск с опорной частью по внешнему контуру, отличающийся тем, что
опорная часть выполнена в виде двух буртов с возможностью последовательного их
контактирования с пакетом тормозных дисков от внешнего контура к внутреннему.
Существуют также камерные тормоза,
устанавливаемые на автомобилях особо большой грузоподъёмности.
Камерные тормоза называют по
виду нажимного устройства - пневматической или гидравлической камеры. Они имеют
следующие преимущества, проявляющиеся в большей степени при использовании на
мощных машинах, например автомобилях большой грузоподъемности: большая
компактность тормоза; равномерное распределение давления по всей длине
поверхности трения и максимальное использование рабочей поверхности барабана;
равномерный износ пары трения; обеспечение больших тормозных моментов
отсутствие дополнительных нагрузок на подшипники колеса при торможении
одинаковая эффективность торможения при движении автомобиля вперед и назад; высокая
стабильность в работе вследствие отсутствия самоусиления меньшая масса тормоза
(замена барабанных тормозов в автомобиле на камерные уменьшает его массу на
5-7%).
тормозной механизм
автомобиль
Рисунок 10. Камерные тормоза
К недостаткам камерных тормозов
относятся ухудшенный тепловой режим из-за того, что коэффициент перекрытия их
близок к единице (чаще всего 0,8-0,9); малый коэффициент эффективности,
вследствие чего для получения определенных тормозных моментов нужны большие,
чем в других барабанных тормозах, приводные усилия; отсутствие компенсатора
износа фрикционных накладок, что приводит по мере их изнашивания к увеличению
зазоров между накладками и тормозным барабаном, увеличению рабочих ходов камеры
и расходу жидкости (или воздуха), необходимой для затормаживания; повышенная
пожароопасность тормозов с гидрокамерами вследствие возможного попадания
тормозной жидкости на имеющий высокую температуру тормозной барабан в случае
разрушения камеры из-за перегрева или по иной причине.
Камерный тормоз (рисунок 10)
содержит барабан, камеру 2, закрепленную на невращающемся тормозном щите 3, и
тормозные накладки 4. Иногда камерные тормоза выполняют без накладок (рисунок
10).
На рисунок 7, в показан
камерный высокомоментный тормоз фирмы Гудрич (США), предназначенный для
установки на автомобили большой грузоподъемности и тягачи повышенной
проходимости. Внутри барабана размещен тормозной щит, оснащенный боковыми
фланцами 10, ограничивающими осевое перемещение тормозной камеры 9 и фрикционных
накладок 7. Тормозная камера 9 закреплена на щите 11 и не имеет жестких связей
с фрикционными накладками 7, которые соединены с фланцами 10 опорными стержнями
(на рисунке не показаны), ограничивающими их перемещение по дуге окружности и
передающими тормозные усилия от накладок 7 тормозному щиту 11. Пластинчатые
пружины 8, смонтированные в накладках и входящие концами во фланцы 10,
обеспечивают размыкание. Для исключения защемления камера в промежутках между
накладками 7 закрыта стальными щитками 5. Эти тормоза имеют гидропривод, причем
их главный тормозной цилиндр снабжен регулировочным устройством, автоматически
поддерживающим постоянный зазор между барабаном и фрикционными накладками по
мере их изнашивания.
Сравнительные испытания
тягачей, оснащенных высокомоментными камер- ными тормозами фирмы Гудрич (США) и
обычными барабанно-колодочными таких же размеров, показали, что тормоза фирмы
Гудрич создают гораздо большие тормозные моменты, при этом замедления тягачей
при торможении составили соответственно 5,54 и 2,14 м/с.
После анализа данных
патентно-информационного обзора, режима работы автомобиля и существующих
прототипов решено в качестве базовой модели для проектирования принять:
) Барабанный механизм типа Simplex,
состоящий из барабана, 2-ух колодок, опорного диска (суппорта), опорных пальцев
колодок, разжимного устройства и регулятора зазоров.
Тормоза выполненные по этой
схеме обладают хорошей энергоемкостью по сравнению с дисковыми(для установки
последних в качестве дополнительной системы охлаждения трущихся поверхностей
могла бы потребоваться масляная ванна).
) Тип привода - гидравлический,
активный (насосно-аккумуляторный). Его применение стало возможным в связи с
отсутствием необходимости предавать энергию к тормозам тележки(на данном типе
автомобиля тележка не применяется). Такой привод обладает меньшим временем
срабатывания и большей эффективностью.
) Разделение по контурам
осевое- в связи с тем, что нагрузки на заднюю ось могут варьироваться в широком
диапазоне и в ходе проектирования может возникнуть необходимость в установке
регулятора тормозных сил.
Описание деталей:
1)Тормозные барабаны отливают из чугуна (с
примесью никеля, молибдена, меди, титана), для легковых автомобилей - чаще
всего из стали с добавкой меди или же штампуют из стального листа.
На рис. 11 показаны тормозные барабаны, наиболее
широко применяемые на автомобилях. Литой барабан (рис. 11, а) часто выполняется
с ребрами по наружной поверхности, которые увеличивают площадь поверхности
теплоотдачи барабана и его жесткость. Такие барабаны применяются на грузовых
автомобилях средней и большой грузоподъемности. К ступице колеса барабан
крепится болтами.
На автомобилях малой грузоподъемности часто
применяют комбинированные тормозные барабаны (рис. 11, б). Такие барабаны
состоят из стального штампованного диска и чугунного обода 2, диск и обод
соединяются в процессе отливки обода.
Тормозные барабаны, штампованные из листовой
стали, имеют внутренний слой из легированного чугуна (рис. 11, в). Чугун
заливается центробежным способом.
Рисунок 11. Виды тормозных барабанов
Тормозные барабаны изнутри подвергаются
механической обработке. После обработки барабан в сборе со ступицей
подвергается динамической балансировке.
В нашем случае в качестве материала барабана
применяется высокопрочный чугун.
) Суппорт выполняется из листовой стали
штамповкой или литьем из чугуна. К балке моста суппорт крепится с помощью
болтов. В нашем случае суппорт можно получать литьём.
) Колодки тормозов бывают литые, сварные и штампованные.
Литые колодки изготовляются из чугуна или легких сплавов, а сварные - из стали.
На грузовых автомобилях к наружной поверхности колодки крепится фрикционная
накладка 2 с помощью заклепок 1, изготовляемых из меди, латуни или алюминия. На
некоторых легковых автомобилях накладки приклеиваются к колодке. Колодка имеет
одно или два ребра жесткости 4. Нижним концом колодка шарнирно крепится с
помощью опорных пальцев к суппорту. Верхний конец колодки 5 упирается в
разжимной кулак. Колодки постоянно прижимаются к разжимному устройству (кулаку,
поршню цилиндра) усилием стяжных пружин, которые крепятся к ребрам колодок. От
бокового смещения колодки удерживаются опорными пальцами или направляющими
скобами.
) Тормозные накладки выполняются прессованными,
формованными или плетеными. Они изготовляются из коротковолокнистого асбеста,
наполнителей (окись цинка, железный сурик) и связующих материалов
(синтетические смолы, каучук). Формованные накладки иногда выполняются
переменной толщины, пропорциональной степени изнашивания накладки в процессе
работы.
) Разжимные устройства применяются трех типов:
кулачок, клин, гидроцилиндр. Они классифицируются по виду и количеству
разжимных устройств, а также по числу степеней свободы колодок.
Болты крепления барабана рассчитываются на срез.
Обычно для крепления тормозных барабанов используются болты из углеродистой
стали(сталь 45). В нашем случае на болты воздействуют большие нагрузки, поэтому
возможно применение болтов из высокопрочных сталей.
Для постоянного поддержания зазоров
Для постоянного поддержания зазоров в
рациональных пределах путем корректировки их по мере изнашивания накладки
применяются автоматические регуляторы. В зависимости от принципа действия
конструкции регуляторы зазоров можно разделить на два типа:
Рисунок 12. Регулятор зазоров первого типа
) автоматические, корректирующие зазоры только
при максимальных давлениях в тормозных камерах или цилиндрах, т. е. при
экстренных торможениях; 2) автоматические регуляторы, корректирующие зазоры при
разных давлениях, т. е. как при служебных, так и экстренных торможениях.
К регуляторам первого типа относится регулятор,
показанный на рис. 2.9. В поршне 2 тормозного цилиндра 1 установлено разрезное
упругое кольцо 3, которое постоянно прижато к поверхности цилиндра и за счет
трения фиксирует поршень 2 в отторможенном положении. При повышении давления
жидкости в рабочей полости А поршень перемещается влево и через шток действует
на колодку, прижимая ее к барабану, в результате чего происходит торможение.
Если зазор между накладкой и барабаном нормальный, при максимальном давлении
жидкости в приводе поршень 2 получает перемещение б, обеспечивая экстренное
торможение. Если же накладка износилась и зазор вследствие этого увеличился,
соответственно увеличится и перемещение поршня при максимальном давлении, а
перемещение упругого кольца 4 влево будет соответствовать износу накладки. В
результате зазор уменьшится вследствие уменьшения обратного хода поршня 2 при
оттормаживании. Усилие оттяжной пружины колодки недостаточно для преодоления
сил трения упругого кольца 3.
Именно регулятор первого типа
будет использован при разработке проекта. Это вызвано простотой его конструкции
и тяжелым режимом работы, предусматривающим частые экстренные торможения.
2. Расчет тормозной динамики
.1 Расчет идеальных и максимальных
тормозных моментов
Для торможения автомобиля с максимальной
эффективностью при сохранении устойчивости и управляемости необходимо
обеспечить определенное распределение тормозных сил между мостами. Оптимальным
распределением считается такое, при котором в процессе торможения все колеса
автомобиля доводятся до границы блокирования. Необходимое изменение соотношений
тормозных сил определяется изменением нормальных реакций на колеса отдельных мостов
при торможении.
Для двухосного автомобиля нормальные реакции
колес переднего моста определяются как
, (1),
для заднего моста
, где (2)
- удельная нагрузка на задний мост,
- вес автомобиля, Н,
- удельную высоту центра масс,
-относительное замедление.
Пользуясь статистическими данными и
данными из технической характеристики автомобиля, проводим расчет:
Радиус качения колеса, исходя из его
обозначения:
, где(3)
- диаметр барабана,
- отношение высоты шины к ширине
профиля,
- ширина профиля,
.
Удельные нагрузки задний мост в груженом и
снаряженном состоянии

, где (4)
- в снаряженном состоянии,
- в груженом состоянии, согласно
данным таблицы 1,
,
.
Удельную высоту центра масс,
пользуясь рекомендациями из (1,стр.16), считаем, что
(5)
где
- высота центра тяжести в
снаряженном состоянии.
.(6)
Имеем:
Рассчитаем удельную высоту центра
масс автомобиля:
, (7)
Для снаряженного состояния
.
Для груженого состояния
.
Нагрузки на мосты автомобиля,
согласно данным таблицы 1.
В снаряженном состоянии
В груженом состоянии
Тогда при относительном замедлении
определим
нормальные реакции на колесах.
В снаряженном состоянии:
В груженом состоянии:
Идеальные тормозные силы в точке
контакта колес моста с дорогой рассчитываются по формуле:
(8)
Имеем
В снаряженном состоянии:
В груженом состоянии:
Идеальные тормозные моменты на
колесах i- го моста
определяются как
, где(9)
- радиус качения колеса
Имеем. В снаряженном состоянии:
В груженом состоянии:
Результаты расчетов нормальных реакций колес,
идеальных тормозных сил и моментов на промежутке относительного замедления от 0
до 1 сведены в таблицы 2(снаряженное состояние), 3(гружёное состояние).
Таблица 2
|
Z
|
Rz1,H
|
Rz2,H
|
Fτ1И,Н
|
Fτ2И,Н
|
Мτ1И,Нм
|
Мτ2И,Нм
|
|
0
|
315960
|
342291
|
0
|
0
|
0
|
0
|
|
0,2
|
378916
|
279335
|
75783
|
55867
|
78343
|
57754
|
|
0,4
|
441871
|
216380
|
176749
|
86552
|
182719
|
89476
|
|
0,6
|
504827
|
153424
|
302896
|
92055
|
313128
|
95164
|
|
0,8
|
567782
|
90469
|
454226
|
72375
|
469569
|
74820
|
|
1
|
630738
|
27513
|
630738
|
27513
|
652044
|
28443
|
Таблица 3
|
ZRz1,HRz2,HFτ1И,НFτ2И,НМτ1И,НмМτ2И,Нм
|
|
|
|
|
|
|
|
0
|
390320
|
1003681
|
0
|
0
|
0
|
0
|
|
0,2
|
570306
|
823695
|
114061
|
164739
|
117914
|
170304
|
|
0,4
|
750292
|
643709
|
257484
|
310255
|
266181
|
|
0,6
|
930278
|
463723
|
558167
|
278234
|
577022
|
287633
|
|
0,8
|
1110264
|
283737
|
888211
|
226990
|
918215
|
234657
|
|
1
|
1290250
|
103751
|
1290250
|
103751
|
1333834
|
107256
|
По данным таблицы 2,3 строятся графики реакций и
идеальных тормозных моментов на рисунках 13,14 соответственно.
Рисунок 13. График тормозных моментов
Рисунок 14. График нормальных реакций на колёсах
2.2 Построение диаграммы
распределения удельных тормозных сил
Для дальнейшего расчета будем использовать
выражения удельных тормозных сил:
.10)
. (11)
Зависимости
и
определяют
закон распределения по мостам автомобиля. Принято различать идеальное и
установленное распределение тормозных сил. На идеальное распределение влияют
только геометрические параметры автомобиля, а параметры тормозной системы не
учитываются. Идеальное распределение тормозных сил подчиняется параболическому
закону, который может быть выведен, если из уравнений (11) и (12) исключить
относительное замедление Z:
. (13)
Парабола идеального распределения
тормозных сил также может быть построена по точкам пересечения прямых
относительного замедления и прямых постоянного коэффициента сцепления для колес
переднего и заднего мостов автомобиля.
Для выбора показателя распределения
тормозных сил
на параболе
наносится точка исходя из требований для данного типа автомобиля(
):
(14)
С учетом
закон
установленного распределения тормозных сил представляет собой линейную
зависимость, для которой
(15)
(16)
При проектировании тормозной системы
коэффициент Ф следует выбирать таким образом, чтобы точка пересечения прямой
установленного распределения и параболы идеального распределения тормозных сил
находилась в области значений Z, которые можно реализовать на
дорогах с хорошим коэффициентом сцепления. Поскольку область, находящаяся над
параболой идеального распределения, является нестабильной: в ней соотношение
тормозных сил таково, что первым будет блокироваться задний мост автомобиля.
Таблица 4
|
Dτμи
|
μ
|
0
|
0,2
|
0,4
|
0,6
|
0,8
|
1
|
|
Dτμи1
|
Dτμи2
|
0
|
0
|
0,106
|
0,237
|
0,404
|
0,622
|
0,920
|
|
|
0,5
|
0
|
0,159
|
0,356
|
0,605
|
0,932
|
1,378
|
|
Dτμи2
|
Dτμи1
|
0
|
0
|
0,095
|
0,175
|
0,242
|
0,301
|
0,352
|
|
|
1
|
0
|
0,008
|
0,014
|
0,019
|
0,024
|
0,028
|
Рисунок 15.Тормозная диаграмма
Определяем коэффициент распределения тормозных
сил по точке пересечения кривых идеального и установленного распределения при
помощи формул 15 и 16.
, (17)
где исходя из диаграммы 
3. Расчет тормозных механизмов
.1 Проектный расчет барабанных
тормозных механизмов
Цель:
Определить диаметры колесных тормозных цилиндров
1. Задается показатель распределения тормозных
сил Ф.
2. Значение Ф выражается через параметры
тормозного привода.
. Задаются параметры заднего тормозного
механизма.
. Находятся диаметры передних колесных
тормозных цилиндров.
Определение показателя
. Для
категории автомобиля (
).
.
Рассчитывается
(для
снаряженного состояния).
.(18)
.
Задается коэффициент
через
параметры тормозного привода, исходя из условия, что тип привода -
гидравлический с осевым (II) делением по контурам.
Задается коэффициент
через
параметры тормозного привода.
,где(19)
,
-коэффициенты пропорциональности
переднего и заднего тормозных механизмов.
,
- диаметры переднего и заднего
тормозных цилиндров.
Расчетная схема для определения
коэффициента пропорциональности.
Рисунок 16. Расчетная схема БТМ.
Для тормозного механизма типа «Simplex»
.(20)
, где(21)
- постоянные коэффициенты,
=0,35-
коэфф. трения для накладки.
.(22)
.(23)
Размеры переднего и заднего
барабанных тормозных механизмов представлены в таблице 5, принимаем размеры
одинаковыми.
Таблица 5
|
Размер
|
Величина
|
|
-диаметр
барабана , 900
|
|
|
-радиус
барабана, 450
|
|
|
- высота
накладки активн, 640
|
|
|
-высота
накладки пассивн. , 640
|
|
|
-
толщ.бараб, 42,5
|
|
|
-площадь
тормозной накладки, 2277
|
|
|
- ширина
тормозной накладки, 255
|
|
|
- радиус
тормозной накладки, 445
|
|
|
,в
градусах1332,321249
|
|
|
|
, угол
охвата тормозной накладки
|
115
|
2,007095
|
|
,в
градусах180,314154
|
|
|
|
f
коэффицент трения
|
0,35
|
|
l-плечо,
|
360
|
|
Коэффициенты
|
|
|
A
|
1,03
|
|
B
|
0,708
|
.
.
.
Тип гидропривода- активный,
принимаем тормозное давление:
Диаметры колесных тормозных
цилиндров заднего моста находим из формулы тормозного давления для
гидропривода:
.(24)
- число колес задней оси.
- максимальный тормозной момент на
задних колесах, но при расчете необходимо учесть момент от ТЭД в режиме
электродинамического торможения.
Он рассчитывается по формуле:
, где(25)
-передаточное
отношение колёсного редуктора.
11,5, согласно
нагрузочной характеристике автомобиля, где
-
электродвижущая сила тягового электродвигателя(ТЭД),
-число
оборотов ТЭД.
-сила тока в
тяговом электродвигателе в режиме торможения.
.
.
.(26)
принимаем, исходя из размеров
уплотнений
.
Из формулы нахождения коэффициента
распределения тормозных сил находим диаметр цилиндра переднего тормозного
механизма:
, (27)
. (28)
принимаем, исходя из размеров
уплотнений
.
Для выбранных диаметров тормозных
цилиндров уточняем значение коэффициента распределения тормозных сил:
.
3.2 Проверка тормозных качеств
автомобиля на соответствие международным нормативным документам
Для двухосных транспортных средств.
В целях проверки транспортного
средства на соответствие требованиям Правил ЕЭК ООН №13 и связанных с ним
национальных регламентирующих документов для обоих мостов строятся кривые
реализуемого сцепления
как функция
относительного замедления Z. Для их построения необходимо
воспользоваться следующими формулами:
. (29)
. (30)
Кривые строятся для снаряжённого и
полностью гружёного транспортного средства на интервале Z=0,l... 0,8.Независимо
от категории, транспортное средство должно удовлетворять условию
.(31)
Для всех весовых состояний
транспортных средств, кривая реализуемого сцепления переднего моста должна
располагаться над кривой реализуемого сцепления заднего моста в установленном
диапазоне Z.
Результаты расчета
,
- сведены в
таблицу 6.
Таблица 6
|
Снаряженное
|
Z
|
0
|
0,1
|
0,2
|
0,4
|
0,6
|
0,7
|
0,8
|
1
|
|
Кφ1
|
0
|
0,14
|
0,26
|
0,45
|
0,59
|
0,64
|
0,69
|
0,78
|
|
Кφ2
|
0
|
0,05
|
0,12
|
0,31
|
0,65
|
0,95
|
1,46
|
6,01
|
|
|
Гружёное
|
Z
|
0
|
0,10
|
0,20
|
0,40
|
0,60
|
0,70
|
0,80
|
1,00
|
|
Кφ1
|
0
|
0,22
|
0,37
|
0,56
|
0,67
|
0,72
|
0,75
|
0,81
|
|
Кφ2
|
0
|
0,04
|
0,08
|
0,22
|
0,45
|
0,66
|
0,99
|
3,37
|
Для нашего типа транспортного
средства с кривая должна быть выше кривой
в диапазоне 0,15 < Z < 0,3.
При несоблюдении этих требований допускается альтернативное прохождение линий
. В
диапазоне 0,15 < Z <0,3 кривые
должны располагаться между прямыми
, а при Z
> 0,3 кривые
не должны
пересекать линию
.
На рисунке 17 представлена проверка
соответствия правилу ЕЭК ООН №13 для снаряженного состояния, автомобиль им
полностью удовлетворяет.
На рисунке 18 представлена проверка
соответствия правилу ЕЭК ООН №13 для груженого состояния, автомобиль им
полностью не удовлетворяет. Проверим на альтернативные требования, результаты
проверки представлены на рисунке 19.
Рисунок 17.Графическая проверка соответствия
правилам ЕЭК ООН №13,снаряженное состояние
Рисунок 18. Графическая проверка соответствия
правилам ЕЭК ООН №13, груженое состояние
Рисунок 19. Графическая проверка соответствия
правилам ЕЭК ООН №13, груженое состояние.(альтернативные требования)
Так как автомобиль не в полной мере
соответствует правилу EЭК
ООН №13, то тормозную систему необходимо оснастить регулятором тормозных сил
или анти-блокировочной системой тормозов.
.3 Проверочный расчет тормозного
механизма
Разрыв стенки барабана. Принимаем, что барабан
тонкостенный цилиндр бесконечной длинны.

.(32)
- внутренний диаметр барабана.
- толщина стенки барабана.
- радиус барабана.
- коэффициент трения.
- ширина накладки.
Предельное напряжение [s]≤ 450 МПа, материал
ВЧ20 согласно данным лит. 6, стр.291).
- среднее удельное давление на
стенку барабана
.(33)
- угол охвата накладки.
- максимальный тормозной момент на
колесах, но при расчете необходимо учесть момент от ТЭД в режиме
электродинамического торможения.
По таблице 3 определяем
.
.
Усилие среза:
.(34)
.
- радиус
окружности расположения болтов
Напряжение на срез:
.(35)
- площадь
поперечного сечения болта(М28).
- количество
крепежных болтов.
- допустимое
напряжение на срез, материал сталь 45ХН3А(согласно данным лит. 6, стр.124).
.
Расчет опорных пальцев колодок на смятие.
Рассчитаем усилия действующие на опорный палец
колодки согласно формулам литературы 2, стр 202.
Расчет будем вести по формуле согласно
литературе 6, стр. 267. Расчетная схема представлена на рисунке 20.
Рисунок 20.Эпюры сил и моментов к расчету
опорных пальцев колодок
Диаметр оси работающей на изгиб, определяем по
формуле:
.
.4 Показатели нагружённости
тормозных механизмов
) Удельная нагрузка на тормозные накладки,
(36)
.
Отдельно проверим задний тормозной
механизм
.
где
- вес автомобиля, приходящийся на
заднюю ось в груженом стоянии.
.
Задние тормозные накладки будут
подвергнуты ускоренному износу(при максимальной нагрузке), необходимо
использовать накладки увеличенной толщины
) Удельная работа трения.
Удельная работа трения тормозного
механизма i- ой оси транспортного средства определяется как отношение его
кинетической энергии, приходящейся на соответствующее колесо, при торможении с
максимальной скорости к площади тормозной накладки:
.(37)
где
- масса автомобиля, приходящаяся на
одно колесо задней оси.
- начальная скорость при
торможении(1, табл.12 стр.34).
- площадь тормозных накладки тормозного
механизма.
Значение L должно находиться в
пределах 10…20МДж/м2 (1, стр.43).
Имеем:
) Нагрев тормозного диска за одно
торможение
Нагрев тормозного диска за одно
торможение определяется как отношение кинетической энергии автомобиля,
приходящейся на соответствующее колесо, при торможении с максимальной скорости
к количеству теплоты, необходимому для нагревания диска массой
:
.(38)
где
с- теплоемкость материала диска,
равная 500Дж/кгК для чугуна
- коэффициент учитывающий оребрение
барабана.
Расчет проводим для заднего
тормозного механизма как найболее нагруженного.
Массу барабана находящегося в
контакте с накладкой рассчитаем по формуле
(39)
-угол охвата накладки.
- толщина стенки барабана.
- диаметр барабана.
- плотность материала диска.
- масса автомобиля, приходящаяся на
одно колесо задней оси.
Нагрев тормозного диска за одно
торможение:
.
) Удельная нагрузка в контакте пары
трения
Учитывая, что в контакте пары трения
«накладка- диск» существует скольжение, фрикционный материал проверяется на
удельную нагрузку в контакте пары трения. Ее величина определяется как
, где(40).
- сила, с которой накладка
прижимается к поверхности трения.
Значение
не должно
превышать 5 МПа для дисковых тормозных механизмов (1, стр.44).
- давление в цилиндре.
- площадь сечения тормозного
цилиндра.
Имеем:
, что допустимо.
4. Разработка многоколодочного
барабанного тормозного механизма
Многоколодочным называется тормоз с
числом колодок больше двух, и числом разжимных механизмов не менее
, где
- число
колодок.
По сравнению с двухколодочными
тормозными механизмами они имеют увеличенную нагрузочную способность, это
вызвано большим суммарным углом обхвата тормозных накладок. Величина этого угла
в идеальном случае стремиться к
, а в случае двухстороннего
расположения колодок к
.
Однако в многоколодочном тормозе
размер единичной колодки меньше, поэтому он обладает лучшей стабильностью
работы, по сравнению с двухколодочными меньшими гистерезисными потерями,
самозатягиванием и проскальзыванием, что положительно сказывается на работе
АБС, обязательных к установке на современных автомобилях.
Существует две принципиальные
возможности увеличения числа колодок. Первая - размещение внутри барабана
большего числа барабанов и разжимных устройств. Вторая - размещение колодок
снаружи барабана.
Рассмотрим тормозной механизм
выполненный по первой схеме (Риунок 21).
Рисунок 21. Многоколодочного барабанного
тормозного механизма
Диск 3 с цапфами 2, закрепленный на валу 1
механизма. На цапфах размешены колодки 9 с фрикционными вкладышами6, связанные
с цилиндрами 7. колодки соединены с оттяжными пружинами 10, 4 барабан, 5
пружина.
Своеобразна конструкция тормоза
с наружной и внутренней колодками, представленного на рисунке 22. Барабан 21
имеет наружную и внутреннюю поверхности трения. В кронштейне 17, присоединенном
к раздаточной коробке, на пальце 20 смонтирована наружная тормозная колодка 19
с фрикционной накладкой. К наружной колодке с помощью двух серег 13 и 16 и
эксцентриковых пальцев 12 и 5 прикреплена внутренняя тормозная колодка 18,
также несущая фрикционную накладку. Рычаг 11 серьги 13 через тягу 10,
промежуточный угловой рычаг 9 и тягу 7, имеющую регулировочную вилку, соединен
с концом ручного приводного двуплечего рычага 1. Последний снабжен стопорной
защелкой 5, управляемой рукояткой 2 и взаимодействующей с зубчатым сектором 6, закрепленный
на раздаточной коробке При торможении движение рычага / через систему рычагов и
тяг передается рычагу 11, который, поворачиваясь, прижимает наружную и
внутреннюю тормозные колодки к барабану. С рычагом / тягой 4 соединен рычаг 3
тормозного крана прицепа. Тормоз регулируется витом 14, определяющим положение
внешней колодки, эксцентриковыми пальцами 12 и 15 серег 13 и 16 (зазор между
обеими колодками регулируется изменением длины тяги 7 при ввинчивании ее в
регулировочную вилку.
Рисунок 23
Тормозные моменты,
энергозагруженности и интенсивности изнашивания колонок неодинаковы Для
предупреждения нестабильности работы торитов о начальный период после установки
новых колодок следует произнести нх приработку путем выполнения ряда повторных
торможений с неполной эффективностью.
Суммарный тормозной момент
.(41)
.(42)
.(43)
Тормоза, выполненные по такой схеме
являются самыми эффективными (коэффициент самоусиления S =3,3 но они
наиболее чувствительны изменениям коэффициента трения).
Выводы
В ходе курсового проектирования
были спроектированы тормозные механизмы барабанного типа по схеме Simplex.
Автомобиль оснащён также электродинамической системой торможения.
Основные параметры БТМ
.
. - диаметры колёсных тормозных
цилиндров.
- коэффициент распределения тормозных
сил.
- диаметр барабана.
- площадь тормозной накладки.
- ширина тормозной накладки.
Так как автомобиль не в полной мере
соответствует правилу EЭК
ООН №13, то тормозную систему необходимо оснастить регулятором тормозных сил
или анти-блокировочной системой тормозов.
В условиях Центрального рудника
"Апатит" были проведены испытания работоспособности тормозов
прототипа проектируемого автомобиля автомобилей-самосвалов БелАЗ моделей 549.
При движении груженого автомобиля
БелАЗ-549 вниз по постоянному съезду до рудоспуска с грузом
щебня
(примерно 25 т) и температуре окружащего воздуха
температура тормозных сопротивлений
поднялась до
С, что выше
нормы. На основании этого сделано заключение, что при температуре окружающего
воздуха до
автомобили
БелАЗ-549 могут быть загружены щебнем длястроительства и ремонта дороги в
карьере до
, а при
более высокой температуре - до
.
Испытания проводились при следующих
условиях: направление движения с грузом - вниз на отвал от отметки +830,4 м;
длина трассы 1081 м; средний уклон трассы 62,7 °/оо, максимальный 96 °/оо;
средняя скорость 15 км/ч, максимальная - 20 км/ч; среднее время движения под
уклон 3,4 мин; температура окружающей среды 7 'С; степень нагрузки
автомобиля-самосвала горной массой 50 %.
Экспериментальные исследования
показали, что фактический тормозной путь при экстренном торможении превышает
заданный в технических характеристиках по общепринятой методике в 1,6..,2 раза.
Поэтому целесообразно на каждом крупном карьере при освоении новых моделей
автомобилей-самосвалов экспериментально устанавливать тормозной путь в
различных дорожных и сезонных условиях и на основании этих результатов
регламентировать движение машин в карьерах.
1. Беляев В.М., Иванов В.Г.,
Молибошко Л.А. “Проектирование тормозных систем автомобиля”.Учебно-методическое
пособие в 2-х частях-Мн.,2000г.
2. Осепчуков В.В., Фрумкин А.К.
“Автомобиль. Анализ конструкций, элементы расчёта. ” Учебн. Пособие для вузов.
- М. Машиностроение,1989г.
. RU 2188345(3) C2. -
колодочный тормоз.
. RU 2237829(3) C2. -
дисковый тормоз.
. RU 2166680(3) C2. -
многодисковый тормоз.
. “Справочник
машиностроителя”. Том 6 / Под ред. Э.А. Сателя. - М. Машиностроение,1964г.
. “Тормозные механизмы”.
Справочник. / Под ред. М.П. Александрова. - М. Машиностроение,1985г.