Применение уровнемеров

  • Вид работы:
    Курсовая работа (т)
  • Предмет:
    Другое
  • Язык:
    Русский
    ,
    Формат файла:
    MS Word
    1,49 Мб
  • Опубликовано:
    2013-02-12
Вы можете узнать стоимость помощи в написании студенческой работы.
Помощь в написании работы, которую точно примут!

Применение уровнемеров

Государственное образовательное учреждение

высшего профессионального образования

ИЖЕВСКИЙ ГОСУДАРСТВЕННЫЙ ТЕХНИЧЕСКИЙ УНИВЕРСИТЕТ

Факультет "Приборостроительный"

Кафедра "Приборы и методы контроля качества"





Курсовая работа

Применение уровнемеров


Автор работы

студент группы 1-74-1

Т.И. Земсков

Руководитель работы

К.т.н., ст. преп. А.В. Кабакова




Ижевск

Содержание

Введение

1. Уровнемеры

1.1   Уровнемеры для жидкостей

1.1.1                   Визуальные уровнемеры

.1.2  Поплавковые уровнемеры

.1.3  Гидростатические уровнемеры

.1.5  Пьезометрические уровнемеры

.1.6  Электрические уровнемеры

.1.7  Ультразвуковые уровнемеры

.1.8  Радиоизотопные уровнемеры

1.2   Уровнемеры для сыпучих материалов

Заключение

Список литературы

Введение

Для ведения технологических процессов большое значение имеет контроль за уровнем жидкостей и твердых сыпучих материалов в производственных аппаратах. Уровнемеры позволяют автоматизировать управление и контроль в технологических процессах; т.е. снизить влияние человеческого фактора, что позволяет, с одной стороны, повысить качество продукции и оптимизировать расход сырья, а, с другой, снизить требования к квалификации и опыту персонала.

В промышленности и в производстве на данный момент существует ряд различных технических механизмов, позволяющих решить проблему измерения, а также контроля уровня. Оборудование для измерения уровня включают различные способы, основанные на разнообразных принципах физики.

Наиболее распространенными способами для измерения уровня, позволяющие превращать значение уровня - в электрическую величину, а также перенаправлять данное значение в заданные автоматические системы управления, являются: - контактные методы (емкостный, поплавковый, гидростатический, буйковый); - бесконтактные методы (зондирование электромагнитным излучением, зондирование звуком, а также зондирование радиационным излучением).

1. Уровнемеры


Уровнемеры - это приборы для определения количества жидкости или сыпучего материала с целью их учета и сигнализации о переполнении бункеров, расходных баков и других сосудов.

Уровнемеры разделяют по продукту (веществу), уровень которого измеряется:

·        датчики уровня для жидкостей (вода, растворы, суспензии, нефтепродукты, масла и т.п.)

·        датчики уровня для сыпучих веществ (порошки, гранулы и т.п.)

 

1.1    Уровнемеры для жидкостей


По принципу действия эти уровнемеры разделяются на: визуальные, поплавковые, гидростатические, электрические, ультразвуковые, радиоизотопные.

1.1.1 Визуальные уровнемеры

Визуальные уровнемеры (Рисунок 1 Визуальные уровнемеры) - простейшие измерители уровня жидкости. К технологическому аппарату 1 через запорные вентили 2 подсоединено указательное стекло (трубка 3). Аппарат и трубка представляют собой сообщающиеся сосуды, поэтому уровень H жидкости в трубке всегда равен ее уровню в аппарате и отсчитывается по шкале.

уровнемер жидкость сыпучий производственный


1.1.2 Поплавковые уровнемеры

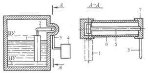
Чувствительный элемент - поплавок, находящийся на поверхности жидкости (Рисунок 2). Поплавок 1 уравновешивается грузом 3, который связан с поплавком гибким тросом 2. Уровень жидкости определяется положением груза относительно шкалы 4. Пределы измерений устанавливают в соответствии с принятыми значениями верхних (ВУ) и нижних (НУ) уровней.


Рисунок 3 Поплавковые уровнемеры с тонущим поплавком

1.1.3 Гидростатические уровнемеры

Их действие основано на уравновешивании давления столба жидкости P в аппарате давлением столба жидкости, заполняющей измерительный прибор, или пружинным механизмом (P = Hρ, где ρ = const - плотность жидкости). При достаточно больших значениях уровня и в отсутствие избыточного давления над жидкостью в качестве уровнемера можно применять манометр с трубчатой пружиной, устанавливаемый на отметке так называемого нулевого уровня (Рисунок 4).

1.1.4 Дифманометрические уровнемеры

Дифманометрические уровнемеры позволяют измерять уровень в открытых (атмосферное давление) или закрытых (давление либо разрежение) резервуарах (Рисунок 5, Рисунок 6). Относительно постоянный уровень жидкости в одном из колен измеритетельного прибора (дифманометра), а следовательно, и в контролируемом аппарате обеспечивается уравнительным сосудом (наполнен до определенного уровня той же жидкостью, что и в аппарате). Высота столба жидкости в другом колене дифманометра изменяется с изменением уровня в аппарате. Каждому значению уровня в нем отвечает некоторый перепад давления, обусловленный расстоянием по высоте между аппаратом и прибором. Если аппарат работает при атмосферном давлении, уравнительный сосуд размещают на отметке нулевого уровня (Рисунок 5), если под давлением - на высоте максимального уровня (Рисунок 6).


1.1.5 Пьезометрические уровнемеры

Пьезометрические уровнемеры (Рисунок 7, Рисунок 8) основаны на принципе гидравлического затвора (обычно водяного). Для измерения уровня используют воздух или инертный газ, который под давлением P продувают через слой жидкости (Px - давление над ней). Кол-во воздуха ограничивают диафрагмой 1 или регулирующими вентилями 2 так, чтобы скорость движения его в трубопроводе была минимальна (с целью уменьшения потерь на трение). Для контроля расхода воздуха устанавливают специальные стаканчики 3 или ротаметры. Уровень жидкости H=(P-Px)/ρж, где ρж - плотность замыкающей жидкости в дифманометре. Перепад давления (P- Px)определяется по высоте столба жидкости H в манометре. В случае измерения уровня агрессивных жидкостей необходимо подводить воздух в обе линии, подсоединяемые к дифманометру. Пьезометрические приборы широко применяются для измерения уровня жидкости в подземных резервуарах.


1.1.6 Электрические уровнемеры

Электрические уровнемеры (Рисунок 9, Рисунок 10). В них измеряемые значения уровня жидкости преобразуются в соответствующие электрические сигналы. Наиболее распространены емкостные и омические приборы.

Емкостные уровнемеры

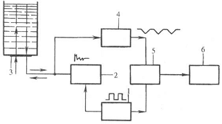
Емкостные уровнемеры (Рисунок 9). Вместе со стенками сосуда 1 электрод 2 образует чувствительный элемент - цилиндрический конденсатор, электрическая емкость которого изменяется пропорционально уровню жидкости. Емкость измеряется электронным блоком 3, сигнал из которого поступает в блок 4, представляющий собой релейный элемент (в схемах сигнализации достижения определенного уровня) или указывающий прибор (в схемах измеренного уровня).

Омические (кондуктометрические) уровнемеры



Омические (кондуктометрические) уровнемеры (Рисунок 10 Омический электрический уровнемер) основаны на измерении сопротивления при замыкании электрические цепи, образованной электромагнитное реле 1, электродом 2 и контролируемой средой (уровень У) электропроводностью от 2•10-3 См/м[2].

 

1.1.7 Ультразвуковые уровнемеры

Ультразвуковые уровнемеры (Рисунок 11). В них используется явление отражения ультразвуковых колебаний (импульсов) от плоскости раздела жидкость-газ (обычно воздух). Время между моментом посылки первичного импульса и моментом возвращения отраженного импульса является функцией высоты измеряемого уровня. Эти приборы позволяют измерять уровень без контакта с контролируемой средой в труднодоступных местах.


1.1.8 Радиоизотопные уровнемеры

Радиоизотопные уровнемеры основаны на сравнении интенсивностей потоков α- или β-излучения, проходящих выше либо ниже уровня раздела двух сред разной плотности. Применение этих приборов целесообразно в случае невозможности использовать иные уровнемеры.

1.2    Уровнемеры для сыпучих материалов


Уровнемеры для сыпучих тел имеют свои особенности. Характерным отличием сыпучих материалов от жидкостей является непропорциональность передачи давления на дно и стенки емкости в зависимости от уровня в ней контролируемого вещества. Простейшие уровнемеры для сыпучих материалов выполняются с чувствительными элементами, соприкасающимися с поверхностью вещества. Изменение уровня дистанционно передается на вторичный измерительный прибор.

Наиболее распространены лотовые уровнемеры (Рисунок 12). В них зонд (лот) 5 и груз 7 подвешены на блоке храпового колеса 4. Зонд периодически приподнимается с помощью управляемого пневматическим генератором импульсов пневматического мембранного привода 2 (воздействующего на колесо через собачку 3) и опускается на поверхность сыпучего материала 6 под действием силы тяжести. Если уровень не изменяется, зонд поднимается и опускается на одно и то же расстояние. При понижении уровня материала зонд опускается на большее расстояние, чем поднимается, и наоборот. Уровнемеры должен работать так, чтобы при изменении уровня в заданных пределах давление сжатого воздуха на выходе прибора изменялось от 20 до 100 кПа. С выхода пневмопреобразователя 8 воздух подается на вторичный прибор. Лотовые уровнемеры позволяют измерять уровень до 20 м. В меньшей степени для определения уровня сыпучих материалов применяют также поплавковые, массовые, электрические (емкостные) и радиоизотопные уровнемеры[2].

Заключение


Уровнемеры успешно применяются в различных отраслях промышленности и используются для измерения уровня очень разнообразных жидких и сыпучих материалов. В настоящее время они достаточно востребованы на рынке, поэтому с ростом науки и техники появятся новые типы уровнемеров, более точных и удобных в использовании.

С развитием измерительной техники, каждый метод приобретает характерный набор своих технических реализаций, которые в каждом конкретном случае имеют как преимущества, так и недостатки.

Уровнемеры применяются во многих отраслях промышленности: химической и нефтехимической, нефтегазовой, целлюлозно-бумажной; фармацевтической; пищевой промышленности и производстве напитков; контроле питьевой воды и сточных вод; энергетике (плотины и гидро- и электростанции) и др.

Список литературы

1.      Кулаков M. В., Технологические измерения и приборы для химических производств, 3 изд., M., 1983;

.        Шкатов E. Ф., Технологические измерения и КИП на предприятиях химической промышленности, M., 1986.

Похожие работы на - Применение уровнемеров

 

Не нашли материал для своей работы?
Поможем написать уникальную работу
Без плагиата!
Без нейросетей!