Расчёт сцепления и коробки передач автомобиля ВАЗ 21213
Оглавление
Введение
Часть
1. Расчет механизмов сцепления
.1
Выбор и обоснование параметров сцепления и определение суммарного усилия
нажимных пружин
.1.1
Наружный диаметр фрикционных накладок
.1.2
Коэффициент запаса сцепления
.1.3
Расчетный коэффициент трения
.1.4
Число ведомых дисков
.1.5
Статический момент трения сцепления
.1.6
Суммарное усилие нажимных пружин
.1.7
Давление на фрикционные накладки
.2
Расчет показателей нагруженности сцепления
.2.1
Расчет удельной работы буксования сцепления
.2.2
Расчет температуры нагрева нажимного (среднего ведущего) диска
Часть
2. Расчет привода сцепления
.1
Расчет привода управления сцеплением включает в себя
.1.1
Передаточное число привода
.1.2
Определение свободного хода педали сцепления
.1.3
Определение полного хода педали при выключении сцепления
.1.4
Определяем усилие на педали сцепления при его выключении
Часть
3. Кинематический расчет коробки передач
.1
Определение передаточных чисел высшей и низшей передач и диапазона передаточных
чисел КП
.1.1
Определение передаточного числа низшей передачи КП
.1.2
Диапазон передаточных чисел
.1.3
Определение передаточных чисел промежуточных передач
.1.4
Корректировка передаточных чисел
.1.5
Выбор кинематической схемы КП
.2
Определение межосевого расстояния и параметров зубчатых колес
.2.1
Определение межосевого расстояния
.2.2
Определение параметров зацеплений зубчатых колес
.3
Определение чисел зубьев зубчатых колес КП
.3.1
Определение суммарного числа зубьев зубчатых пар КП
.3.2
Определение чисел зубьев колес зубчатой пары первой передачи
.3.3
Определение чисел зубьев колес зубчатой пары привода промежуточного вала
.3.4
Определение чисел зубьев колес зубчатой пары второй передачи
.3.5
Определение геометрических параметров зубчатых колес и проверка межосевого
расстояния
Заключение
Библиографический
список
Введение
ВАЗ-21213 и его модификации - легковые автомобили повышенной
проходимости. Все колеса - постоянно ведущие (неотключаемый полный привод),
есть режим блокировки межосевого дифференциала. Кузов - несущий, цельнометаллический,
сварной. Двигатель - четырехцилиндровый, рядный, бензиновый, четырехтактный;
расположение - переднее, продольное. На ВАЗ-21213 устанавливается карбюраторный
двигатель мод. 21213 рабочим объемом 1,7 л.
Рисунок 1 Габаритные размеры ВАЗ 21213
Двигатель, картер сцепления и коробка передач соединены между
собой и образуют силовой агрегат, который укреплен на автомобиле в трех точках
на резиновых подушках.
Двигатель - четырехтактный, карбюраторный, рядный, с верхним
расположением распределительного вала. По сравнению с автомобилем ВАЗ-2121
повышена мощность двигателя, благодаря чему он стал лучше приспосабливаться к
изменениям нагрузки.
Система смазки двигателя - с полнопоточным масляным фильтром.
Система охлаждения - жидкостная, закрытого типа. В систему
включен отопитель кузова, в который поступает жидкость из головки цилиндров и
отводится к насосу. Охлаждающая жидкость - специальная с низкой температурой
замерзания и высокой температурой кипения. Радиатор - алюминиевый с лучшей
характеристикой теплообмена и более технологичный, чем латунный радиатор у
ВАЗ-2121.
Система питания включает воздушный фильтр, топливный бак,
топливный насос и карбюратор. Топливный бак размещен под задним сиденьем.
Карбюратор снабжен высокоэффективным воздушным фильтром сухого типа с бумажным
фильтрующим элементом.
Карбюратор устанавливается типа "Солекс", подобный
применяемому на автомобилях ВАЗ 2108 - 2109. Такой карбюратор в сочетании с
бесконтактной системой зажигания обеспечивает снижение расхода топлива.
Трансмиссия. Сцепление - однодисковое, сухое с диафрагменной
нажимной пружиной и гидравлическим приводом выключения. Коробка передач -
механическая, трехходовая, пятиступенчатая. Раздаточная коробка -
двухступенчатая трехвальная с межосевым блокируемым коническим двухсателлитным
дифференциалом.
Промежуточный карданный вал, соединяющий коробку передач с
раздаточной коробкой, имеет эластичную муфту и карданный шарнир равных угловых
скоростей. Карданные валы заднего и переднего мостов по концам с карданными
шарнирами на игольчатых подшипниках с прессмасленками передают крутящий момент
от раздаточной коробки к главным передачам мостов.
Главные передачи переднего и заднего мостов состоят из пары
конических шестерен со спиральными зубьями гипоидного зацепления. Дифференциалы
- конические двухсателлитные.
Подвеска передних колес - независимая, рычажнопружинная, с
витыми цилиндрическими пружинами, телескопическими гидравлическими
амортизаторами и стабилизатором поперечной устойчивости.
Подвеска задних колес - жесткая балка, связанная с кузовом
одной поперечной и четырьмя продольными штангами, с цилиндрическими пружинами и
с гидравлическими телескопическими амортизаторами.
Рулевое управление - червячный механизм и трехзвенный рулевой
привод с одной средней и двумя боковыми тягами.
Тормоза. Передние - дисковые с подвижным суппортом. Задние -
барабанные с самоцентрирующимися колодками и регулятором давления. Привод
рабочих тормозов - ножной гидравлический, с вакуумным усилителем,
двухконтурный. Стояночный тормоз - ручной с тросовым приводом на колодки задних
тормозов.
Электрооборудование автомобилей выполнено по однопроводной
схеме, в которой отрицательные выводы источников и потребителей электроэнергии
соединены с "массой", выполняющей функцию второго провода.
Источниками тока в системе являются генератор переменного тока с встроенным
полупроводниковым выпрямителем и микроэлектронным регулятором напряжения и
свинцовая аккумуляторная батарея типа 6СТ-55. Для пуска двигателя применяется
стартер 35.3708.
Кузов автомобиля - несущей конструкции, трехдверный,
цельнометаллический. Корпус кузова представляет собой сварную конструкцию,
собранную из панелей, лонжеронов, поперечин, стоек и различных усилителей.
Боковые двери с передней навеской имеют два безопасных
стекла: переднее - поворотное с рукояткой и фиксатором, заднее - опускное с
приводом от ручки стеклоподъемника. Дверь задка навешена на кузов на двух
петлях и запирается замком. В открытом положении дверь удерживается
газонаполненными упорами. Порог задней двери опущен до уровня бамперов, что
облегчает погрузку и разгрузку грузов.
Ветровое и заднее окна с панорамными стеклами. Ветровое -
полированное, трехслойное, а заднее и боковые - закаленные.
Передние сиденья раздельные с откидными спинками и с механизмом
регулировки положения сиденья и наклона спинки. Заднее сиденье - общее,
складывающееся для образования грузовой площадки.
Рис.2 Устройство автомобиля. 1. Фара; 2. Передний фонарь; 3.
Домкрат; 4. Радиатор; 5. Бачок омывателей ветрового стекла и фар; 6. Двигатель;
7. Воздушный фильтр; 8. Расширительный бачок системы охлаждения; 9.
Аккумуляторная батарея; 10. Рычаг блокировки дифференциала в раздаточной
коробке; 11. Рычаг переключения передач; 12. Рычаг переключения передач в
раздаточной коробке; 13. Рулевое колесо; 14. Переднее сиденье; 15. Заднее
сиденье; 16. Бачок омывателя заднего стекла; 17. Основной глушитель; 18. Задний
бампер; 19. Задний тормоз; 20. Пружина задней подвески; 21. Задний амортизатор;
22. Поперечная реактивная штанга задней подвески; 23. Продольная реактивная
штанга задней подвески; 24. Топливный бак; 25. Задний мост; 26. Дополнительный
глушитель; 27. Задний карданный вал; 28. Бачок для жидкости гидропривода
тормозов; 29. Бачок для жидкости гидропривода сцепления; 30. Раздаточная
коробка; 31. Педаль сцепления; 32, Педаль тормоза; 33. Передний тормоз; 34.
Пружина передней подвески; 35. Передний мост; 36. Боковой указатель поворота;
37. Передний бампер.
сцепление автомобиль привод кинематический ваз
Таблица 1 Техническая характеристика автомобиля
ВАЗ 21213
Сцепление ВАЗ 21213

Рис. 3 Сцепление 1. Нажимная пружина; 2. Фрикционные накладки
ведомого диска; 3. Заклепка нажимной пружины; 4. Ведомый диск; 5. Заклепка -
упор демпфера (гасителя крутильных колебаний); 6. Передняя пластина демпфера;
7. Задняя пластина демпфера; 8. Ступица ведомого диска; 9. Пружина демпфера;
10. Нажимный диск; 11. Маховик; 12. Кожух сцепления; 13. Картер сцепления; 14.
Первичный вал коробки передач; 15. Пластина, соединяющая нажимный диск с
кожухом сцепления; 16. фиксатор нажимной пружины; 17. Кольцо опорное нажимной
пружины; 18. Соединительная пластина упорного фланца и кожуха сцепления; 19.
Фрикционное кольцо упорного фланца; 20. Заклепка соединительной пластины; 21.
Упорный фланец нажимной пружины; 22. Подшипник выключения сцепления; 23.
Соединительная пружина вилки и муфты подшипника выключения сцепления; 24. Муфта
подшипника выключения сцепления; 25. фрикционные кольца демпфера; 26. Опорное
кольцо пружинной шайбы; 27. Пружинная шайба демпфера; 28. Шаровая опора вилки
выключения сцепления; 29 Пружина вилки выключения сцепления; 30. Толкатель
вилки выключения сцепления; 31. Вилка выключения сцепления; 32. Рабочий цилиндр
выключения сцепления; 33. Оттяжная пружина вилки выключения сцепления.
. Схема действия демпфера.
На автомобиле ВАЗ-21213 применяется сухое, однодисковое
сцепление с демпфером (гасителем крутильных колебаний) и центральной
диафрагменной нажимной пружиной.
Сцепление предназначено:
для временного разъединения трансмиссии и двигателя при
включении, переключении и выключении передач;
Сцепление состоит из двух основных частей: ведомой и ведущей.
К ведомой части сцепления относится ведомый диск 4 в сборе с фрикционными
накладками 2 и демпфером (гасителем крутильных колебаний). К ведущей части
сцепления относится нажимной диск 10 в сборе с кожухом 12, диафрагменной
нажимной пружиной 1 и упорным фланцем 21. Ведомая и ведущая части сцепления
вместе с маховиком 11 размещены внутри алюминиевого картера 13. Картер
сцепления передним торцем крепится на болтах к заднему торцу блока цилиндров и
между ними установлена штампованная крышка картера сцепления. К заднему торцу
картера сцепления крепится на шпильках картер коробки передач.
Ведомый диск сцепления состоит из диска 4 и ступицы 8,
которая перемещается по шлицам первичного вала 14 коробки передач. Ведомый диск
4 выполнен из стали и имеет прорези, которые делят его на девять лепестков.
Каждая фрикционная накладка 2 приклепана к лепесткам ведомого диска девятью
заклепками. Заклепки, удерживающие свою накладку, утопают в ней головками, а
стержни заклепок расклепаны со стороны ведомого диска в специальных отверстиях
противоположной накладки. При включенном сцеплении ведомый диск 4 зажат между
маховиком 11 и нажимным диском 10 диафрагменной нажимной пружиной 1 и крутящий
момент от маховика 11 передается на фрикционные накладки 2, далее - через
демпфер (гаситель крутильных колебаний) к ступице 8 ведомого диска. Демпфер
служит для снижения крутильных колебаний коленвала при передаче крутящего
момента на коробку передач и для уменьшения пиковых напряжений в элементах
трансмиссии, возникающих при резком изменении скоростного режима.
Демпфер состоит из упругой муфты с шестью пружинами 9 и
фрикционного элемента. Последний состоит из двух фрикционных колец 25, между
поверхностями которых зажат фланец ступицы 8 и кольцевой пружинной шайбы 27,
которая опирается на кольцо 26, сжимая фрикционные кольца 25 для обеспечения
необходимого момента трения. Фрикционный элемент демпфера имеет определенный
момент трения, в результате которого исключаются резонансные колебания и часть поглощаемой
энергии крутильных колебаний превращается в тепловую. Демпферные пружины 9
имеют неодинаковую жесткость трех типов и попарно расположены друг против
друга. Установка пружин разных типов жесткости расширяет характеристику
демпфера, как поглотителя крутильных колебаний, увеличивает рабочую зону
действия демпфера. Фланец ступицы 8 имеет шесть прямоугольных окон для
установки предварительно сжатых пружин 9 демпфера и три размещенных по
окружности П-образных выреза для прохода заклепок-упоров 5 демпфера.
Заклепки-упоры 5 соединяют диск 4 с передней 6 и задней 7 пластинами демпфера и
являются ограничителями действия упругого элемента демпфера. При изменении
передаваемого крутящего момента происходят угловые перемещения ведомого диска
относительно его ступицы; направления этих перемещений взаимно противоположны,
поэтому демпферные пружины, через которые передается вращение, сжимаясь и
разжимаясь, поглощают часть энергии крутильных колебаний.
Чугунный нажимный диск 10 и диафрагменная нажимная пружина 1
размещены в штампованном стальном кожухе 12, закрепленном на маховике 11 шестью
болтами. Кожух сцепления центрируется относительно маховика тремя штифтами,
расположенными через 120°. Нажимный диск 10 соединен с кожухом 12 тремя
тангенциально расположенными стальными пластинами 15, которые работают при
передаче крутящего момента от маховика к нажимному диску на растяжение.
Благодаря упругим свойствам пластин 15 нажимный диск 10 может перемещаться в
продольном направлении: к маховику - при включении сцепления, от маховика - при
выключении сцепления. Нажимная пружина 1, изготовленная из листовой пружинной
стали, создает необходимое усилие, прижимающее ведомый диск. Два кольца 17
служат опорами для нажимной пружины 1, таким образом пружина имеет возможность
перегибаться относительно колец, которые закреплены на кожухе сцепления девятью
ступенчатыми заклепками 3. Три фиксатора 16 охватывают нажимную пружину 1 и
обеспечивают отход нажимного диска вместе с нажимной пружиной при выключении
сцепления. Внутренняя часть пружины 1 имеет лепестки, образованные радиальными
прорезями. Лепестки пружины 1 работают как рычаги выключения сцепления,
взаимодействуя с упорным фланцем 21, перемещающимся в осевом направлении под
действием муфты 24 выключения сцепления. Упорный фланец 21 с фрикционным
кольцом 19 постоянно прижат к лепесткам нажимной пружины 1 соединительными
пластинами 18. Сцепление выключается под действием толкателя 30, упирающегося в
вилку 31, которая поворачивается относительно шаровой опоры 28 и смещает муфту
24 выключения сцепления по направляющей втулке к маховику; подшипник 22 муфты
24 прижимается к фрикционному кольцу 19 упорного фланца 21 и вызывает
перемещение лепестков нажимной пружины 1.
На упорные выступы муфты 24 опирается вилка 31 и прижимается
к ним соединительной пружиной 23. Вилка 31 закрепляется на шаровой опоре 28
пружиной 29.
Для предотвращения проникновения пыли и грязи в картер
сцепления окно в картере, служащее для прохода вилки, закрыто резиновым чехлом.
Привод
сцепления
Для управления сцеплением на автомобиле ВАЗ-21213 применяется
гидравлический привод с подвесной педалью и сервопружиной на педали, главным и
рабочим гидравлическими цилиндрами, соединенными трубопроводом. Гидравлический
привод сцепления обладает высоким коэффициентом полезного действия, простотой
технического обслуживания и обеспечивает плавное включение сцепления, что
снижает динамические нагрузки в трансмиссии и повышает комфортность езды на
автомобиле. В гидравлической системе применяется тормозная жидкость
"Роса" в количестве 0,19 л. Полный ход педали сцепления, измеренный
по середине площадки педали, составляет 140 мм, а свободный - 25-35 мм.
Рис. 4 Привод сцепления; 1. Главный цилиндр привода
выключения сцепления; 2. Вакуумный усилитель; 3. Главный цилиндр привода
тормозов; 4. Защитный чехол вакуумного усилителя; 5. Кронштейн вакуумного
усилителя; 6. Кронштейн педалей сцепления и тормоза; 7. Крючок сервопружины; 8.
Дистанционная втулка педалей; 9. Наружные втулки педалей; 10. Ось педалей; 11.
Внутренняя втулка педали; 12. Оттяжная пружина педали тормоза; 13.
Сервопружина; 14. Бачок главного цилиндра; 15. Пробка бачка; 16. Отражатель
пробки; 17. Кожух сцепления; 18. Ведомый диск; 19. Нажимный диск; 20. Нажимная
пружина; 21. Подшипник выключения сцепления; 22. Первичный вал коробки передач;
23. Штуцер для прокачки гидропривода сцепления; 24. Кольцо уплотнительное; 25.
Корпус рабочего цилиндра привода выключения сцепления; 26. Защитный колпачок;
27. Толкатель вилки выключения сцепления; 28. Поршень; 29. Опорная тарелка
пружины поршня; 30. Опорная шайба пружины; 31. Стопорное кольцо; 32. Пробка
корпуса цилиндра; 33. Шаровая опора вилки выключения сцепления; 34. Вилка
выключения сцепления; 35. Регулировочная гайка; 36. Контргайка; 37. Оттяжная
пружина педали сцепления; 38. Педаль тормоза; 39. Ограничительный винт педали
сцепления; 40. Педаль сцепления; 41. Штуцер; 42. Стопорная шайба; 43. Прокладка
штуцера; 44. Стопорное кольцо; 45. Поршень толкателя; 46. Поршень главного
цилиндра; 47. Возвратная пружина поршня; 48. Корпус главного цилиндра.
. Схема действия гидропривода Сцепления (главный цилиндр
условно показам в положении "сцепление выключено", а рабочий цилиндр
- в положении "сцепление включено").
Педаль сцепления 40 установлена в кронштейне 6 педалей
сцепления и тормоза на оси 10. На этой же оси крепится и педаль тормоза 38,
между педалями установлена дистанционная втулка 8. Внутри ступицы педалей
установлены внутренние втулки 11 и пластмассовые наружные втулки 9, которые в
процессе эксплуатации не требуют смазки. Педаль сцепления 40 удерживается в
исходном положении оттяжной пружиной 37 и прижимается к ограничительному винту
39 с резиновым буфером. С педалью шарнирно связан толкатель, сферический конец
которого соприкасается с поршнем 45 главного цилиндра 1. Легкое соприкосновение
толкателя с поршнем с зазором 0,1-0,5 мм соответствует ходу педали 0,4-2 мм и
регулируется винтом 39. Данный зазор позволяет при выключенном сцеплении поршню
главного цилиндра 1 под действием пружины 47 упереться в стопорное кольцо 44,
т.е. занять крайнее положение, при котором происходит сообщение рабочей полости
главного цилиндра 1 с бачком 14 через перепускное отверстие.
Сервопружина 13 соединяется с педалью 40 крючком 7;
назначение сервопружины - уменьшать усилие, прикладываемое на педаль при
выключении сцепления.
Кронштейн 6 крепится к щитку передка кузова. К кронштейну 6
крепятся со стороны моторного отсека главный цилиндр 1 привода выключения
сцепления и кронштейн 5 в сборе с вакуумным усилителем 2 и главным цилиндром 3
привода тормозов.
Корпус 48 главного цилиндра привода выключения сцепления
изготовлен из чугуна. Передняя сторона корпуса закрыта пробкой 32 с медной
прокладкой, задняя сторона защищена от пыли и грязи резиновым колпачком 26.
Сверху в одном из приливов корпуса 48 установлен штуцер 41
для соединения главного цилиндра с бачком 14 при помощи гибкого шланга; штуцер
41 уплотняется прокладкой 43 и крепится стопорной шайбой 42. В бачке 14
установлен резиновый отражатель 16 пробки 15. При понижении уровня жидкости
давление воздуха над отражателем 16 устраняет возникающее в бачке разрежение,
одновременно отражатель 16 защищает жидкость от засорения.
В другом приливе корпуса 48 крепится металлическая трубка,
являющаяся частью трубопровода, соединяющего главный и рабочий цилиндры привода
выключения сцепления. Вторая часть трубопровода, соединяющего главный и рабочий
цилиндры, выполнена из резинового гибкого шланга с металлическими
наконечниками.
Внутри корпуса 48 расположены поршни 45, 46 и пружина 47.
Между поршнями находится уплотнитель 24, такая конструкция снижает радиальные
нагрузки на поршень 46 при воздействии толкателя и позволяет предотвратить
вытекание жидкости из цилиндра за счет сжатия уплотнительного кольца 24
поршнями 45 и 46. За поршнем 46 расположена рабочая полость цилиндра, на выходе
соединенная трубопроводом с рабочим цилиндром привода выключения сцепления и
сообщающаяся с бачком 14 через перепускное отверстие, штуцер 41 и шланг. В
канавке поршня 46 установлено еще одно уплотнительное кольцо 24 - переднее,
которое уплотняет рабочую полость цилиндра при выключении сцепления и выполняет
роль клапана в главном цилиндре при включении сцепления (отпускании педали).
При отпускании педали сцепления поршни 45 и 46 главного
цилиндра перемещаются до упора в стопорное кольцо 44 под действием пружины 47.
При резком отпускании педали жидкость, возвращающаяся из рабочего цилиндра в
главный, не успевает заполнить пространство, освобождаемое поршнем 46, и в
рабочей полости создается разрежение. Под действием разрежения жидкость через
впускное отверстие протекает в зазор в канавке по заднему торцу переднего
кольца 24 и далее через отверстия в поршне протекает в рабочую полость. Далее,
по мере поступления жидкости из рабочего цилиндра по трубопроводу, излишки
жидкости вытесняются из рабочей полости через перепускное отверстие в бачок 14.
Чугунный корпус 25 рабочего цилиндра крепится двумя болтами к
картеру сцепления с левой стороны. Внутри корпуса 25 находятся поршень 28 с
двумя уплотнительными кольцами 24; переднее кольцо поджато пружиной через
опорную тарелку 29, что улучшает его контакт с зеркалом цилиндра, и
следовательно, уплотнение цилиндpa, особенно при отсутствии давления в системе,
когда сцепление включено.
Пружина удерживается на поршне 28 опорной шайбой и стопорится
кольцом 31. В поршне выполнено осевое сверление и радиальные отверстия, через
которые передается давление жидкости на переднее уплотнительное кольцо, тем
самым кольцо еще плотнее поджимается к зеркалу цилиндра. В углубление поршня 28
упирается толкатель 27 вилки 34, постоянно поджатый оттяжной пружиной вилки 34
выключения сцепления. Длина толкателя регулируется гайкой 35 и контрится гайкой
36. В переднюю часть корпуса 25 цилиндра ввернута пробка 32, уплотненная
прокладкой, в пробку 32 крепится наконечник резинового гибкого шланга, через
который жидкость поступает в рабочий цилиндр. В верхней части корпуса рабочего
цилиндра выполнен прилив, в который ввернут штуцер 23 для удаления воздуха из
системы.
Работа привода выключения сцепления
Для выключения сцепления необходимо нажать на педаль 40, при
этом толкатель продвигает вперед поршни 45 и 46, сжимая пружину 47. Как только
переднее уплотнительное кольцо 24 перекроет перепускное отверстие, в рабочей
полости главного цилиндра создается давление, и жидкость по трубопроводу
проходит в рабочий цилиндр, перемещая поршень 28 с толкателем 27. Усилие от
толкателя 27 передается вилке 34, которая, поворачиваясь относительно шаровой
опоры 33, перемещает муфту выключения сцепления с подшипником 21 в сторону
маховика.
Вначале выбирается зазор между подшипником 21 и фрикционным
кольцом упорного фланца нажимной пружины 20. Этот зазор, соответствующий
свободному ходу педали сцепления, должен быть 2 мм и регулируется изменением
длины толкателя 27 путем откручивания или закручивания гайки 35 при ослабленной
контргайке 36.
Затем при дальнейшем нажатии на педаль 40 сцепления
происходит ее рабочий ход, при котором совместно перемещаются муфта выключения
сцепления и упорный фланец нажимной пружины 20. При этом нажимная пружина деформируется
(поворачивается) относительно опорных колец, и наружная кромка нажимной пружины
отводит за фиксаторы нажимной диск 19 от ведомого диска 18. Сцепление
выключается и передача крутящего момента от маховика к первичному валу 22
коробки передач прекращается. При включении сцепления все детали перемещаются в
обратной Последовательности, и жидкость перетекает из рабочего цилиндра в
главный цилиндр.
Коробка
передач
Рис. 5 Коробка передач. 1. Первичный вал; 2. Передняя крышка
коробки передач с направляющей втулкой муфты подшипника выключения сцепления;
3. Сальник первичного вала; 4. Пружинная шайба; 5. Установочное кольцо
подшипника; 6. Картер коробки передач; 7. Сапун; 8. Игольчатый подшипник
вторичного вала; 9. Упорная шайба пружины синхронизатора; 42. Зубчатый венец
синхронизатора IV передачи; 11. Скользящая муфта синхронизатора III и IV
передач; 12. Ступица муфты синхронизатора III и IV передач; 13. Стопорное
кольцо синхронизатора; 14. Блокирующее кольцо синхронизатора; 15. Пружина
синхронизатора; 16. Шестерня и зубчатый венец синхронизатора III передачи; 17.
Шестерня и зубчатый венец синхронизатора II передачи; 18. Вторичный вал; 19.
Шестерня и зубчатый венец синхронизатора I передачи; 20. Втулка шестерни I
передачи; 21. Промежуточный подшипник вторичного вала; 22. Стопорная пластина
промежуточного подшипника; 23. фланец; 24. Защитный чехол; 25. Пружина; 26.
Рычаг переключения передач; 27. Стержень рычага переключения передач; 28.
Упругая подушка демпфера; 29. Резиновая подушка демпфера; 30. Распорная втулка
демпфера; 31. Запорная втулка демпфера; 32. Манжета; 33. Сферическая шайба; 34.
Шаровая опора рычага; 35. Корпус рычага переключения передач; 36. Направляющая
пластина; 37. Фланец эластичной муфты карданной передачи; 38. Гайка; 39.
Уплотнитель центрирующего кольца; 40. Центрирующее кольцо; 41. Сальник заднего
подшипника вторичного вала; 42. Задний подшипник вторичного вала; 43. Распорная
втулка; 44. Маслоотражательная шайба; 45. Подшипник блока шестерен; 46. Блок шестерен
V передачи и заднего хода. 47. Ось промежуточной шестерни заднего хода; 48.
Промежуточная шестерня заднего хода; 49. Задний подшипник промежуточного вала;
50. Шестерня I передачи промежуточного вала; 51. Скользящая муфта
синхронизатора I и II передач. 52. Шестерня II передачи промежуточного вала;
53. Шестерня III передачи промежуточного вала; 54. Пробка заливного и
контрольного отверстия. 55. Промежуточный вал; 56. Шестерня постоянного
зацепления промежуточного вала; 57. Передний подшипник промежуточного вала; 58.
Зажимная шайба подшипника промежуточного вала; 59. Болт зажимной шайбы; 60.
Шестерня постоянного зацепления первичного вала; 61. Задний подшипник
первичного вала; 62. Стопорное кольцо; 63. Блокировочная скоба заднего хода;
64. Шайбы направляющей пластины; 65. Направляющая планка; 66. Крышка
фиксаторов; 67. Пружина фиксатора; 68. Фиксатор; 69. Вилка включения V
передачи; 70. Упорная шайба; 71. Стопорное кольцо; 72. Вилка переключения III и
IV передач; 73. Шток вилки включения I и II передач; 74. Шток вилки включения
III и IV передач; 75. Вилка включения I и II передач; 76. Шток вилки включения
V передачи и заднего хода; 77. Блокировочные сухари.
Пятиступенчатая коробка передач состоит из трех валов:
первичного 1, промежуточного 55 и вторичного 18 с шестернями и
синхронизаторами, оси 47 с промежуточной шестерней 48 заднего хода и механизма
выборки и переключения передач. Валы и шестерни коробки передач размещены в
литом алюминиевом картере бив задней крышке.
Первичный вал 1 вращается в двух шариковых подшипниках, один
из которых расположен в торце коленчатого вала двигателя, другой - в передней
стенке картера коробки передач. Задний подшипник 61 удерживается на валу
стопорным кольцом 62 и пружинной тарельчатой шайбой, установленной между внутренним
кольцом подшипника и стопорным кольцом. В канавке наружного кольца подшипника
61 расположено установочное кольцо 5, которое зажимается между передней стенкой
коробки и картером сцепления. Между передней крышкой 2 и наружным кольцом
подшипника 61 установлена пружинная тарельчатая шайба 4. Такая фиксация заднего
подшипника удерживает вал от осевого перемещения.
На передней части первичного вала нарезаны шлицы, которыми он
соединяется с ведомым диском сцепления. Вместе с валом 1 изготовлена косозубая
шестерня 60, которая находится в постоянном зацеплении с шестерней 56
промежуточного вала. Прямозубый венец 10 синхронизатора четвертой передачи
припаян медью к первичному валу 1. С этим венцом соединяется муфта 11 при
включении IV передачи.
Промежуточный вал 55 представляет собой блок четырех
шестерен, который опирается передним концом на двухрядный шариковый подшипник
57, а задним концом - на роликовый подшипник 49.
На шлицах промежуточного вала крепится стяжным болтом блок 46
шестерен пятой передачи и заднего хода. Задний конец блока опирается на
роликовый цилиндрический подшипник 45, расположенный в гнезде задней крышки.
Вторичный вал 18 вращается в трех роликовых подшипниках.
Передний игольчатый подшипник 8 расположен в гнезде первичного вала.
Промежуточный подшипник 21 расположен в задней стенке картера коробки передач.
Его фиксирует в гнезде стопорная пластина 22, которая крепится к задней стенке
картера винтами. Между пластиной и картером зажато установочное кольцо
промежуточного подшипника. На валу подшипник зажат втулкой 20 и шестерней
заднего хода, которая крепится на валу одной шпонкой вместе со ступицей муфты
синхронизатора пятой передачи. За ступицей расположена упорная шайба и втулка,
на которой вращается ведомая шестерня пятой передачи. Между втулкой этой
шестерни и распорной втулкой 43 зажата маслоотражательная шайба 44. Задний
конец вторичного вала установлен на роликовом цилиндрическом подшипнике 42 и на
выходе из крышки уплотняется сальником 41. На шлицах вала крепится фланец 37
эластичной муфты. Все детали, расположенные на вторичном валу, поджимаются
гайкой 38. На цилиндрическом пояске гайки расположен резиновый уплотнитель 39,
а на конце вала находится центрирующее кольцо 40.
На термообработанных шейках вторичного вала вращаются
шестерни 16 и 17 третьей и второй передач. Шестерня 19 первой передачи
вращается на стальной термообработанной втулке 20, надетой на вал. Каждая из
этих шестерен имеет по два венца. Косозубые венцы находятся в постоянном
зацеплении с шестернями промежуточного вала 55, а прямозубые венцы соединяются
при включении передач с муфтами 11 и 51 синхронизаторов и через них и ступицы
синхронизаторов передают крутящий момент на вторичный вал. Ведомая шестерня
пятой передачи находится в постоянном зацеплении с большим венцом блока 46
шестерен. С малым венцом блока входит в зацепление промежуточная шестерня 48
при включении передачи заднего хода.
На двух поясках вторичного вала нарезаны по три глубоких
паза, в которые входят выступы ступиц скользящих муфт синхронизаторов, что
обеспечивает их жесткое соединение с валом.
Синхронизатор III и IV передач состоит из ступицы 12,
скользящей муфты 11, двух блокирующих колец 14, пружин 15 и венцов
синхронизаторов III и IV передач. Одно блокирующее кольцо синхронизатора
соединяется внутренним венцом с прямозубым венцом шестерни 16 III передачи. Это
кольцо удерживается на венце шестерни стопорным кольцом 13. Между блокирующим
кольцом и опорной шайбой шестерни установлена пружина 15, которая поджимает
блокирующее кольцо 14 к стопорному кольцу 13. Другое кольцо синхронизатора
таким же образом соединяется с венцом 10 синхронизатора IV передачи первичного
вала коробки передач.
Каждое блокирующее кольцо имеет коническую поверхность с
мелкой резьбой, к которой прижимается при включении передачи конусная часть
скользящей муфты 11. В момент соприкосновения муфты с кольцом масляная пленка
на резьбе кольца разрывается, что повышает силы трения между кольцом и муфтой.
Скользящая муфта 11 внутри имеет шлицы, а снаружи кольцевую
проточку для вилки переключения передач. Муфта расположена на шлицах ступицы
12, которая имеет жесткую связь с вторичным валом. При включении III или IV
передачи скользящая муфта, перемещаясь по шлицам ступицы 12, входит в
зацепление с малым венцом шестерни 16 III передачи или с венцом 10 первичного
вала и соединяет их через ступицу 12 с вторичным валом 18. При этом крутящий
момент от первичного вала 1 или шестерни 16 передается на вторичный вал через
детали синхронизатора. Аналогичное устройство имеют синхронизаторы I, II и V
передач.
Промежуточная шестерня 48 заднего хода вращается на
неподвижной оси 47 на металлокерамической втулке. Ось крепится к перегородке
картера гайкой с тарельчатой пружинной шайбой. Другой конец оси установлен в
гнезде задней крышки.
Рычаг 26 переключения передач имеет опорный шар, который
поджимается к поверхности шаровой опоры 34 пружиной 25. Она фиксируется на
рычаге стопорным кольцом 71 с опорной шайбой 70. Сверху к шаровой опоре этой же
пружиной прижимается сферическая шайба 33. От проворачивания рычаг переключения
передач удерживается штифтом, который заходит в отверстие опоры. В привод
переключения передач введен механизм выбора передач, который блокирует
случайное включение передачи заднего хода при включении пятой передачи. Он
состоит из направляющей пластины 36 рычага, верхней и нижней шайб 64, корпуса
35, блокировочной скобы 63 заднего хода. Перечисленные детали стянуты тремя
болтами, которыми механизм выбора передач крепится к гнезду задней крышки
коробки передач. В пазах направляющей пластины 36 установлены подпружиненные
направляющие планки, между которыми зажат нижний конец рычага переключения
передач. Под действием пружин направляющих планок рычаг переключения передач
устанавливается в нейтральное положение.
Часть 1. Расчёт механизмов сцепления
Расчет механизма сцепления включает в себя:
выбор основных параметров сцепления и определение суммарного
усилия нажимных пружин;
расчет показателей нагруженности сцепления;
расчет прочности деталей механизма сцепления (нажимных
пружин, рычагов нажимного диска, вилки выключения и т.д.);
1.1
Выбор и обоснование параметров сцепления и определение суммарного
усилия нажимных пружин
Основными параметрами сцепления являются:
наружный и внутренний диаметры фрикционных накладок ведомых
дисков - Dн,
Dв;
расчетный коэффициент трения μсц,
число ведомых дисков, i;
коэффициент запаса сцепления β;
статический момент трения сцепления, Мсц ;
суммарное усилие нажимных пружин во включенном сцеплении, Рн;
давление на фрикционные накладки, р.
1.1.1
Наружный диаметр фрикционных накладок
Наружный диаметр фрикционных накладок ведомых
дисков выбирается в соответствии с требованиями ОСТ 37.001.463-87 в зависимости
от величины максимального крутящего момента двигателя.
Для двигателя Ваз 2121 максимальный крутящий момент
составляет 127,5 Н·м, при 4000 об/мин.
Предварительно выбираем наружный диаметр Dн=200 мм,
Внутренний диаметр Dв=130 мм
1.1.2 Коэффициент запаса сцепления
βcц - это отношение
статического момента трения сцепления к максимальному крутящему моменту
двигателя
Значения коэффициента запаса сцепления
современных автомобилей с центральной диафрагменной нажимной пружиной выбирают из
диапазона 1,2…1,4. Примем βcц=1,4.
1.1.3
Расчетный коэффициент трения
В качестве трущейся пары в отечественных фрикционных
сцеплениях широко применяется асбестовая композиция и серый чугун, поэтому в
расчетах значение коэффициента трения примем равным 0,3.
1.1.4
Число ведомых дисков
Число ведомых дисков выбирается в соответствии с требованиями
ОСТ 37.001.463-87 в зависимости от величины максимального крутящего момента
двигателя. В
данном случае i=1.
1.1.5
Статический момент трения сцепления
Статический момент трения сцепления находится из выражения
βcц- коэффициент запаса сцепления, Ме max- максимальный крутящий момент двигателя
Мс=1,4•127,5=178,5 Нм
1.1.6 Суммарное усилие нажимных
пружин
Суммарное усилие нажимных пружин во включенном сцеплении рассчитывается
по формуле
суммарное усилие нажимных пружин во включенном сцеплении;
μ-расчетный коэффициент
трения;
достаточной точностью его величина может быть найдена из
выражения
i - число пар поверхностей трения.
Для однодисковых сцеплений i= 2,
для двухдисковых - i = 4.
1.1.7
Давление на фрикционные накладки
Давление на фрикционные накладки является одним из параметров оценки их
износостойкости. Чем оно ниже, тем выше износостойкость сцепления. Давление на
фрикционные накладки находится из выражения
где ST- площадь поверхности трения одной фрикционной
накладки
Найденное значение давления не должно превышать допустимое
давление на фрикционные накладки, определенное ГОСТ 1786-95:
для большегрузных автомобилей и колесных - 0,14…0,20 МПа;
для легковых автомобилей и грузовых автомобилей малой и
средней грузоподъемности - 0,14…0,30 МПа.
,2<0,3 , условие соблюдено.
1.2
Расчет показателей нагруженности сцепления
К показателям нагруженности сцепления относятся:
удельная работа буксования;
нагрев нажимного (среднего ведущего) диска за одно включение
сцепления.
Показатели нагруженности сцепления определяются для случая
трогания автомобиля (автопоезда) с места, характеризуемого следующими
условиями:
автомобиль полностью нагружен;
трогание осуществляется на горизонтальном участке дороги с
асфальтобетонным покрытием (y=0,02);
в КП включена первая (вторая) передача.
Для полноприводных автомобилей дополнительно определяются
показатели нагруженности сцепления при трогании автомобиля с места на первой
передаче в КП и высшей передаче в РК на горизонтальном участке грунтовой дороги
после дождя (y=0,16).
Исходными данными для расчета являются:
полная масса автомобиля, m a=1610 кг;
максимальный крутящий момент двигателя, М е max=127,5 Нм;
частота вращения коленчатого вала двигателя при
максимальном крутящем моменте, n m=3200 мин-1;
частота вращения коленчатого вала двигателя при максимальной мощности, nn=5400 мин-1;
радиус качения колеса, r k=0,32 м;
КПД трансмиссии, h тр=0,95;
передаточные числа КПП
u1=3,242 u2=1,989 u3=1,289 u4=1 u5=0,776
передаточное число РК
uрк н=2,135 uрк в=1,2 uг.п.=3,9
1.2.1
Расчет удельной работы буксования сцепления
Удельная работа буксования - это работа буксования сцепления
при трогании автомобиля с места и последующем разгоне, приходящаяся на единицу
площади поверхности трения фрикционных накладок.
Удельная работа буксования сцепления определяется из
зависимости
где Ld - работа буксования
сцепления;
SS - суммарная площадь
поверхностей трения всех фрикционных накладок, см2.
Единицей измерения удельной работы буксования сцепления
является, Дж/см2.
Работа буксования сцепления находится из выражения
где Jпр - момент инерции приведенного к коленчатому валу двигателя
маховика, заменяющего поступательно движущуюся массу автомобиля;
w од - угловая скорость коленчатого вала двигателя
в момент включения сцепления;
Мy - момент сопротивления движению автомобиля,
приведенный к коленчатому валу двигателя.
Момент инерции приведенного к коленчатому валу двигателя
маховика, заменяющего поступательно движущуюся массу автомобиля находится из
выражения
где d - коэффициент учета вращающихся масс автомобиля.
d=1,04…3,0, принимаем d=1,5
Uтрi - передаточное число трансмиссии на первой (второй) передаче в КП
и высшей передаче в РК
трi =Uкпi ×Uркв Uгп
трi =3,242•1,2•3,9=15,172
rк - радиус качения колеса.
Угловая скорость коленчатого вала двигателя в момент
включения сцепления является переменной величиной. С достаточной степенью
точности ее можно принять постоянной и определить из следующих зависимостей:
для автомобиля с карбюраторным или инжекторным двигателем
где wм - угловая скорость коленчатого вала двигателя, соответствующая
максимальному крутящему моменту
Момент сопротивления движению автомобиля, приведенный к
коленчатому валу двигателя, находится из выражения
где ma - полная масса автомобиля;
g - ускорение свободного падения;
ψ- коэффициент сопротивления дороги, ψ=0,16
грунтовая дорога после дождя;
hтр - КПД трансмиссии
h тр = h кп × h ркh гп
тр =0,98•0,97•0,96=0,9125
Угловая скорость коленчатого вала двигателя в момент
включения сцепления является переменной величиной

Работа буксования сцепления
Удельная работа буксования сцепления
Условие работоспособности выполняется - при трогании с места на грунтовой дороге,
в КП 1 передача и высшей передаче в РК удельная работа буксования не превышает 65 Дж/cм2>39,58
Дж/cм2.
1.2.2
Расчет температуры нагрева нажимного (среднего ведущего) диска
При трогании автомобиля с места вследствие буксования
сцепления, его ведущие и ведомые детали нагреваются. При расчете принимают, что
теплоотдача в окружающую среду отсутствует и вся работа буксования
затрачивается на нагрев деталей (маховика, нажимного диска, среднего ведущего
диска, ведомых дисков).
Температура нагрева ведущих дисков определяется из выражения
где γt - коэффициент,
учитывающий долю тепла, воспринимаемого нажимных или средним ведущим диском.
Для нажимного диска однодискового сцепления g t =0.5.
md- масса нажимного (или среднего ведущего) диска, md=5,2 кг;
с - удельная теплоемкость материала ведущих дисков. Для
чугуна с=481,5 Дж/кг×с.
Допустимое повышение температуры за одно включение 10…15
Часть 2. Расчёт привода сцепления
Схема гидравлического привода сцепления:
Исходными данными для расчета привода управления сцеплением
являются:
допустимое усилие на педали; Qп = 140 Н
полный ход педали;
перемещение нажимного диска при выключении сцепления; iн=1,7 мм
суммарное усилие нажимных пружин в выключенном сцеплении. Pвык=5000 Н
Перемещение нажимного диска при выключении сцепления определяется
из выражения
l м = q×i+ m×к
где q - зазор между трущимися
поверхностями при выключенном сцеплении; для однодисковых сцеплений q=0.75…1.0 мм,
m - осевая деформация ведомого диска при включении сцепления.
Для «жесткого» ведомого диска m=0.2.
к - число ведомых дисков=1.
2.1
Расчет привода управления сцеплением включает в себя
определение передаточного числа привода;
определение передаточных чисел и геометрических размеров
рычагов нажимного диска, вилки выключения, рычагов гидравлического привода;
Для гидравлического привода управления сцеплением
дополнительно определяется передаточное число его гидравлической части, а также
определяются диаметры и хода поршней главного и рабочего цилиндров.
определяется свободный и полный ход педали при выключении
сцепления;
выполняется расчет усилителя (если его установка необходима);
выполняются расчеты прочности деталей привода.
2.1.1
Передаточное число привода
Передаточное число привода находится из выражения
Uпр=Uв×Uг×Uпед
где Uг - передаточное число гидравлической
части привода
где dp и dг - диаметр поршня соответственно рабочего
и главного цилиндра, т.к. их диаметры одинаковые, то Uг=1;
Uв - передаточное число вилки выключения, Uв=1,6;
Передаточное число педального привода находится из выражения
2.1.2 Определение свободного хода педали сцепления
Свободный ход педали сцепления определяется из уравнения
Где ∆1- зазор между подшипником муфты включения сцепления и фрикционным
кольцом упорного фланца нажимной диафрагменной пружины, ∆1=2 мм;
2.1.3
Определение полного хода педали при выключении сцепления
Полный ход педали при выключении сцепления находится из
выражения
где ∆2-зазор между толкателем и поршнем главного цилиндра сцепления, мм
∆2=0,5 мм;
Uпед- передаточное число педального привода;
Uпр- передаточное число гидропривода;
Uр-
передаточное число рычагов нажимного диска;
Найденное значение полного хода педали сцепления не должно
превышать 160 мм, т.к. 110,22 мм<160 мм, то эксплуатационное условие
выполняется.
2.1.4 Определяем усилие на педали сцепления при его выключении
где ηпр=0,8- КПД гидропривода
Найденное значение усилия на педаль сцепления не превышает
150 Н, значит установка усилителя не требуется.
Часть 3. Кинематический расчёт коробки передач
Цель кинематического расчета КП - определение диапазона
передаточных чисел, числа ступеней, значений передаточных чисел на ступенях,
выбор кинематической схемы, определение межосевого расстояния, чисел зубьев и
параметров зацеплений зубчатых колес.
Исходные данные:
- полная масса автомобиля - mа=1610 кг;
- максимальный крутящий момент двигателя -Memax=127,5 Нм;
минимальная устойчивая частота вращения коленчатого
вала двигателя -nmin=750 мин-1;
передаточное число главной передачи -uгп=3,9;
передаточное число высшей ступени раздаточной
коробки -uрк=1,2;
радиус качения колеса -rк=0,32 м.
Последовательность расчета:
. Определение передаточных чисел высшей и низшей передач и
диапазона;
. Выбор числа ступеней и определение передаточных чисел
промежуточных передач и передачи заднего хода,
. Выбор кинематической схемы КП, определение межосевого
расстояния, чисел зубьев и основных параметров зацеплений зубчатых колес.
3.1 Определение передаточных чисел высшей и
низшей передач и диапазона передаточных чисел КП
3.1.1
Определение передаточного числа низшей передачи КП
Передаточное число КП определяется из условия обеспечения
возможности преодоления автомобилем заданного максимального дорожного
сопротивления
где ψmax максимальное значение
коэффициента сопротивления движению, для легковых автомобилей ψ = 0,35...0,5, принимаем ψ=0,35;
Ga - полный вес автомобиля, H;
rк- радиус качения колеса, м;
По условию отсутствия буксования:
где φ - коэффициент сцепления. для дороги
с сухим твердым покрытием принимается φ =0,7...0,8. Принимаем φ=0,7, Gφ- сцепной вес автомобиля, для
полноприводных машин Gφ=Ga.
u1=3,248≤6,49, условие соблюдено.
Условие движения с минимальной скоростью
где νа min- скорость автомобиля,
соответствующая минимальной устойчивой частоте вращения коленчатого вала
двигателя при полной подаче топлива, νа min=6 км/ч
1=3,248≤3,26 , условие соблюдено.
3.1.2
Диапазон передаточных чисел
Диапазон передаточных чисел коробки передач - это
отношение передаточного числа низшей (первой) ступени к передаточному числу
высшей ступени
3.1.3
Определение передаточных чисел промежуточных передач
Передаточные числа промежуточных передач выбирают
из условия обеспечения оптимальных показателей как тягово-скоростных свойств,
так и топливной экономичности. Наиболее полно этому условию удовлетворяет
закономерность построения ряда передаточных чисел, соответствующая
геометрической прогрессии
где n1 и n2 соответственно частота вращения коленчатого вала двигателя
в процессе трогания и на максимальной скорости на выбранной передаче;
кп2=3,248•0,625=2,03 , Uкп3=2,03•0,625=1,268,Uкп4=1,268•0,625=0,79
3.1.4
Корректировка передаточных чисел
Примем Uкп2=1,989, Uкп3=1,289, Uкп4 сделаем прямой передачей и добавим пятую ступень для
более экономного и плавного движения на повышенных скоростях.
3.1.5
Выбор кинематической схемы КП
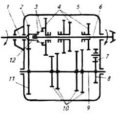
Рисунок 1 Кинематическая схема трехвальной КПП с прямой
передачей: 1 - первичный вал; 2, 4, 7, 8, 10, 11 - шестерни; 3 - зубчатая
муфта; 5 - корпус коробки; 6 - вторичный вал; 9 - промежуточный вял; 12 -
подшипник вторичного вала
3.2
Определение межосевого расстояния и параметров зубчатых колес
.2.1 Определение межосевого расстояния
где Мвых - крутящий момент на ведомом валу КП при включении первой
передачи:
ка - опытный коэффициент пропорциональности, ка=8,6

мм
3.2.2
Определение параметров зацеплений зубчатых колес
К основным параметрам зацеплений относятся:
- модули зацеплений для косозубых и прямозубых
передач;
- угол зацепления зубчатых колес;
угол наклона зубьев косозубых зубчатых колес;
ширина венцов зубчатых колес.
Модуль зацепления прямозубых колес и нормальный модуль
зацепления для косозубых колес, определяется из выражений
Угол зацепления зубчатых колес α=20о
Угол наклона линии зуба косозубых зубчатых колес β=18о...26о.
Ширина зубчатых венцев: в=(0,18...0,24), принимаю в=0,2
3.3
Определение чисел зубьев зубчатых колес КП
.3.1
Определение суммарного числа зубьев зубчатых пар КП
Для косозубых зубчатых пар
для прямозубых зубчатых пар
3.3.2 Определение
чисел зубьев колес зубчатой пары первой передачи
где где u1 - передаточное число первой передачи КП;
un - передаточное число зубчатой пары привода
промежуточного вала;
up1 - передаточное число зубчатой пары первой
передачи.
Число зубьев шестерни 1-ой передачи промежуточного вала
выбирается минимальным из условия неподрезания зубьев и долговечности работы КП
z3=16
3.3.3
Определение чисел зубьев колес зубчатой пары привода промежуточного вала
3.3.4
Определение чисел зубьев колес зубчатой пары второй передачи
где up2 - передаточное число зубчатой пары второй
передачи;
un - передаточное число зубчатой пары привода
промежуточного вала

Начальный диаметр зубчатых колёс
Диаметр окружности вершин зуба
Диаметр впадин зубчатого колеса
Косозубое зацепление.
Начальный диаметр зубчатых колёс
Диаметр окружности вершин зуба
Диаметр впадин зубчатого колеса
Заключение
В курсовой работе было рассчитано сцепление и коробка передач
автомобиля ВАЗ 21213. Все условия работоспособности и эксплуатации были
соблюдены. Итоги расчётов помещены в таблицу 1
|
Параметр
|
Значение
|
|
передаточное
число 1 передачи, u1
|
3,248
|
|
передаточное
число 2 передачи,
u2
|
1,989
|
|
передаточное
число 3 передачи,
u3
|
1,289
|
|
передаточное
число 4 передачи,
u4
|
1
|
|
передаточное
число 5 передачи,
u5
|
0,73
|
|
передаточное
число задней передачи
|
3,44
|
|
Диапазон
передаточных чисел,
Dкп
|
4,18
|
|
Межосевое расстояние, aω мм
|
64,1
|
|
Модуль
зацепления, мм
|
2
|
|
Число зубьев
шестерни 1-ой передачи, z3
|
16
|
|
Число зубьев
колеса 1-ой передачи, z4
|
48
|
|
Число зубьев
колеса промежуточного вала, z2
|
32
|
|
чисел зубьев
шестерни промежуточного вала, z1
|
29
|
|
число зубьев
колеса второй передачи, z6
|
40
|
|
число зубьев
шестерни второй передачи, z5
|
21
|
Библиографический список
1. Конспект
лекций по предмету «Трансмиссии»
2. Интернет
портал AutoMobileManul
. Сайт
руководства по ремонту автомобиля «Нива»
4. Сайт
«Устройство автомобиля»
<http://ustroistvo-avtomobilya.ru/transmissiya/korobki-peredach/>
. Сайт
"Руководства по эксплуатации автомобиля ВАЗ 2121"
<http://autovaz.h1.ru/auto/niva/vaz2121change.html>
. Сайт
«Моя Нива»
. Интернет
портал «Автополомки» <http://www.autopolomki.ru/p45.html>
. Сайт об
идентификационных номерах автомобилей семейства ВАЗ
<http://www.vide0.ws/konstrukcia_sceplenia.html>