Вопрос изменения базового технологического процесса обработки детали 'Фланец' с использованием современного высокопроизводительного оборудования
ВВЕДЕНИЕ
Важной задачей текущего времени является повышение темпов и эффективности
развития экономики на базе новейших достижений науки и техники.
Машиностроение обеспечивает изготовление новых и совершенствование
имеющихся машин. Это связано с весьма существенными затратами, которые
составляют в народном хозяйстве ощутимую долю. Тем не менее развитие
отечественного машиностроения, а не импорт машин, является единственно
правильным направлением в прогрессивном развитии промышленности.
Отличительной особенностью современного машиностроения является
существенное ужесточение эксплуатационных характеристик машин: увеличиваются
скорость, ускорение, температуры, уменьшаются масса, объем, вибрация, время
срабатывания механизмов и т.п. Темпы такого ужесточения постоянно возрастают и
машиностроители вынуждены все быстрее решать конструкторские и технологические
задачи. В условиях рыночных отношений быстрота реализации принятых решений
играет главенствующую роль.
Совершенствование технологических методов изготовления машин имеет
первостепенное значение. Качество машины, надежность, долговечность и
экономичность в эксплуатации зависят не только от совершенства ее конструкции,
но и от технологии производства. Применение прогрессивных
высокопроизводительных методов обработки, обеспечивающих высокую точность и
качество поверхностей деталей машины, методов упрочнения рабочих поверхностей,
повышающих ресурс работы деталей и машины в целом, эффективное использование
современных автоматических и поточных линий, станков с программным управлением,
электронных вычислительных машин и другой новой техники, применение
прогрессивных форм организации и экономики производственных процессов - все это
направлено на решение главных задач: повышения эффективности производства и
качества продукции.
В данном дипломном проекте рассмотрен вопрос изменения базового
технологического процесса обработки детали Фланец с использованием современного
высокопроизводительного оборудования и технологической оснастки. Дан анализ
детали на технологичность, произведен расчет режимов резания и норм времени.
1. ОБЩИЙ РАЗДЕЛ
1.1 Описание конструкции и служебного назначения
детали
Деталь Фланец - является составной частью узла УЭС 7-0117010, который
входит в состав кормоуборочного комплекса КВК - 800КВЧ Полессъе. Фланец служит
для передачи вращательного момента от выходного вала редуктора на барабан.
Рисунок 1 - Эскиз детали
Основными поверхностями детали, в соответствии с рисунком 1, являются:
наружная поверхность вращения 8 предназначена для запрессовки на неё
подшипника, к ней предъявляются следующие требования изготовления: точность
размера по к6, с шероховатостью поверхности Rа=1,25мкм, цилиндричность профиля
продольного сечения не должны превышать 0,004мм, а также радиальное биение
относительно оси детали не должно превышать 0,08мм; шлицевая поверхность 11
предназначена для передачи вращательного момента и к ней предъявляются
следующие требования изготовления: точность размера по Н8 с шероховатостью
поверхности Rа=5мкм, а шлицев Rа=2,5мкм; выточка 16 предназначена для точной
установки и направления барабана во фланец, к ней предъявляются следующие
требования изготовления: точность размера по F8 с шероховатостью поверхности Rа=5мкм; четыре резьбовых
отверстия 4, предназначены для крепления барабана к фланцу, к ним предъявляются
следующие требования изготовления: класс точности резьбы 6Н с шероховатостью
поверхности Rа=5мкм, позиционный допуск относительно оси выточки, в
диаметральном выражении, должна превышать 0,16мм.
Остальные поверхности конструкции детали не являются основными.
Поверхность 9 предназначена для продвижения по ней подшипника. К ней
предъявляются требования изготовления точности размера по h10 с шероховатостью
поверхностью Rа=0,63мкм.
Два отверстия 13 предназначены для смазки шлицев, расположение отверстий
относительно шлиц произвольное. Они должны изготавливаться с точностью размера
по 16 квалитету и шероховатости Rа=20мкм.
Поверхности 1, 10 являются торцевыми поверхностями, к ним предъявляются
следующие требования изготовления: точность размера по 14 квалитету с
шероховатостью поверхности 1 Rа=5мкм, поверхности 10 Rа=20мкм.
Остальные поверхности относятся к вспомогательным и к ним особых
требований не предъявляется, изготавливаются они по 14 квалитету, с
шероховатостью Rа=20.
Деталь изготовляется и легированной стали 40Х ГОСТ 4543. Данный материал
обладает следующими технологическими свойствами: свариваемость стали низкая,
обработка давлениям удовлетворительная.
Физико-механические и химические свойства стали 40Х приведены в таблицах
1.1 и 1.2 соответственно.
Таблица 1.1-Физико-механические свойства стали 40Х ГОСТ 4543-71
|
σ,
МПа
|
σВ, Мпа
|
δ,
%
|
Ψв,%
|
Qн,Дж/см2
|
НВ
|
|
800
|
1000
|
10
|
45
|
6
|
300
|
Таблица 1.2-Химические свойства стали 40Х ГОСТ 4543-71
|
С,%
|
Si, %
|
Mn ,%
|
Cr, %
|
|
0,36 - 0,44
|
0,17 - 0,37
|
0,5 - 0,8
|
0,8 - 1,1
|
Данный материал применяют для изготовления деталей высокой прочности
вязкости, разрабатывающие при средних и низких давлениях, либо средних
скоростях (валы, оси, коленвалы, шестерни, пальцы, гайки, втулки, ролики).
1.2 Технологический контроль чертежа детали и
анализ детали на технологичность
Деталь фланец изготавливается из стали 40Х ГОСТ 4543-71. Заготовка данной
детали является поковка. Она довольно проста по конструкции и не вызывает
значительной трудности при её получении.
Рабочий чертёж детали фланец содержит все необходимые разрезы и сечения,
показывает её полную конфигурацию. На чертеже также проставлены размеры с
отклонениями, шероховатостями поверхностей и технические требования,
предъявляемые к детали.
Данную деталь можно отнести к деталям типа втулок, так как она
характеризуется наличием внутренних и наружных поверхностей вращения
0,5<L/D<2. Конструкция детали довольна проста.
В ней преобладают в основном цилиндрические поверхности, что позволяет
точно и стабильно вести обработку. К обрабатываемым поверхностям детали имеется
свободный доступ инструментов.
Деталь имеет хорошие технологические базы для удобной установки и
крепления на станке. Жесткость детали достаточна для получения точности 7-го
квалитета.
Количественный анализ детали на технологичность заключается в расчете
коэффициентов унификации (КУЭ), точности (КТ) и шероховатости (КШ). Квалитеты
точности и параметры шероховатости представлены в таблице 1.3.
Таблица 1.3-Квалитеты точности и параметры шероховатости поверхностей
|
№ поверхности
|
Квалитет точности
|
Шероховатость поверхности
|
Класс шероховатости
|
|
1
|
14
|
5
|
5
|
|
2
|
14
|
20
|
3
|
|
3
|
8
|
5
|
5
|
|
4
|
16
|
20
|
3
|
|
5
|
17
|
20
|
3
|
|
6
|
14
|
20
|
3
|
|
7
|
14
|
2,5
|
6
|
|
8
|
6
|
1,25
|
7
|
|
9
|
10
|
0,63
|
8
|
|
10
|
14
|
20
|
3
|
|
11
|
8
|
2,5
|
6
|
|
12
|
14
|
20
|
3
|
|
13
|
16
|
20
|
3
|
|
14
|
14
|
20
|
3
|
|
15
|
14
|
20
|
3
|
|
16
|
8
|
5
|
5
|
|
17
|
16
|
20
|
3
|
Коэффициент унификации конструкции элементов детали КУЭ определяется по
формуле:
КУЭ = ОУЭ/ООБЩ , (1.1)
где ОУЭ - число конструктивных элементов детали выполненных по стандарту;
ООБЩ - число всех конструктивных элементов детали
КУЭ =17/17 = 1
Деталь считается технологичной, т.к. КУЭ > 0,6
Коэффициент точности обработки КТ определяется по формуле:
КТ = 1 - 1/АСР , (1.2)
где АСР - средний квалитет точности обработки
Средний квалитет точности обработки определяется по формуле:
АСР = (1*n1+2*n2+…+ 19*ni)/Σni , (1.3)
где 1,2,3…19 - номер квалитета точности размеров
n1, n2…ni - количество размеров соответствующего квалитета
Σni - общее количество поверхностей
АСР = (6*1+8*3+10*1+14*8+16*3+17*1)/17 = 12,8
КТ = 1 - 1/12,8 = 0,9
Так как КТ >0,8 то деталь не является весьма точной
Коэффициент шероховатости КШ, определяется по формуле:
КШ = 1/БСР, (1.4)
где БСР - средний класс шероховатости
Средний класс шероховатости определяется по формуле
БСР = (1*n1+2*n2+…+ 14*n14)/Σni , (1.5)
где 1,2,3…14 - класс шероховатости
n1…n14 - количество поверхностей
соответствующего класса шероховатости
Σni - общее количество поверхностей
БСР = (3*10+5*3+6*2+7*1+8*1)/17 = 4,2
КШ = 1/4,2 = 0,24
Так как КШ > 0,16, то изделие относится к хорошо обрабатываемому
Исходя из расчётов деталь является не весьма точной и хорошо
обрабатываемой, а значит обработку можно производить на унифицированном
оборудовании.
.3 Определение типа производства и
его характеристика
Тип производства определяется по коэффициенту
закрепления операций (КЗО) Предварительно на основе типового технологического
процесса его можно определить по формуле:
КЗО = FД*60/N*TШТ(ШТ-К)*kY ,
(1.6)
где FД -
действительный годовой фонд времени работы оборудования, час; FД =1950ч. при односменном режиме
работы.
N - годовой объем выпуска детали, шт N = 800шт.
TШТ(ШТ-К) - среднее штучное (для массового производства) или
штучно-калькуляционное (для серийного производства) время, мин; TШТ(ШТ-К) =9,74мин
kY - коэффициент ужесточения заводских норм, kY = 0,7...0,8.
КЗО = 1950*60/800*9,74*0,75 = 20,02
Так как КЗО = 20,02, а 20< 20,02 <40, следовательно производства
мелкосерийное.
В зависимости от полученного типа производства
определяю величину производственной партии
ng = N*a/ФР.Д. , (1.7)
гае а - число дней, на которые необходимо иметь запас
деталей, а = 10
ФРД - число рабочих дней в году ФРД =254 дня
ng =
800*10/254 = 32 шт
Мелкосерийное производство характеризуется выпуском одинаковой продукции
в небольших масштабах - партиями. Рабочие места специализируются на выполнении
нескольких операций, для осуществления которых проводят переналадку
оборудования. В данном производстве применяются универсальные средства
технологического оснащения.
2. ТЕХНОЛОГИЧЕСКИЙ РАЗДЕЛ
2.1 Выбор вида и метода получения
заготовки
Заготовкой для данной детали служит паковка. Область применения этих
заготовок, серийное производство. Метод получения заготовки - штамповка.
Сущность метода состоит в том, что заготовка получается путем изменения её
конфигурации при помощи пресса на горизонтально-ковочных машинах(ГКМ).
Штамповка на ГКМ является одним из производительных способов и может быть
рентабельной для определенного вида заготовки. Производительность до 400 паковок
в час. Штамповка производится из прутков горячекатонного металла повышенной
точности длинной до 4 метров и диаметром 20-270 мм.
Максимальные припуски и допуски устанавливаем по ГОСТ 7505-89

Рисунок 2 - Эскиз заготовки
Для определения массы заготовки разбиваем её на элементарные
фигуры и определяем объём каждой фигуры. Массу заготовки определям по формуле:
mзаг
= Vзаг × r;
(2.1)
где Vзаг - объем заготовки, м3; Vзаг =601,867 см3,
r - плотность материала заготовки, г/см3; r = 7,81 г/см3,
mзаг =
601,867* 7,81 = 4700г = 4,7кг
Коэффициент использования материала рассчитывается по формуле:
; (2.2)
где
mд - масса детали, mд = 2,1кг;
mз - масса
заготовки, mз = 4,7кг.
Коэффициент
использования материала равен Ким= 0,45, основная потеря метала идёт за счёт
обработки отверстий, Ø
28мм и четырёх отверстий Ø 12мм. Несмотря на то что коэффициент использования
материала, для данного вида заготовки получаем ниже рекомендуемого, другой вид
заготовки нерентабельно применять.
2.2 Разработка проектируемого технологического
процесса
2.2.1 Анализ базового и проектируемого
технологического процесса
В данный технологический процесс можно внести изменения. Изменить профиль
заготовки, в результате этого увеличится коэффициент использования материала, а
так же, 030 токарно-винторезная, операция станет ненужной, то она онулируется.
Ещё можно объединить 070 токарную с ЧПУ операцию связанную с обработкой
внутреннего отверстия и 080 токарную с ЧПУ операцию связанную с обработкой
фаски с тыловой стороны применив при этом специальный инструмент, тем самым
сократив время на переустановку детали, сокращением количества оборудования и
производственных площадей.
Сравнительная характеристика по операциям и применяемому оборудованию
базового и проектируемого технологических процессов приведена в таблице 2.1.
Таблица 2.1 - Сравнительная таблица базового и проектируемого
технологического процесса
|
Базовый
|
Проектируемый
|
|
|
Операция
|
Оборудование
|
Операция
|
Оборудование
|
|
|
1
|
2
|
3
|
4
|
|
|
010 Вертикально-сверлильная
|
2Н135
|
010 Вертикально-сверлильная
|
2Н135
|
|
|
030 Токарно-винторезная
|
16К20
|
030 Токарно-винторезная
|
16К20
|
|
040 Токарно-винторезная
|
16К20
|
|
|
|
050 Токарно-винторезная
|
16К20
|
040Токарно-винторезная
|
16К20
|
|
060 Токарная с ЧПУ
|
16А20Ф3С39
|
050 Токарная с ЧПУ
|
16А20Ф3С39
|
|
070 Токарная с ЧПУ
|
16А20Ф3
|
060 Токарная с ЧПУ
|
16А20Ф3С39
|
|
080 Токарная с ЧПУ
|
16А20Ф3С39
|
|
|
|
090 Вертикально-протяжная
|
7Б64
|
070 Вертикально-протяжная
|
7Б64
|
|
100 Вертикально-сверлильная
|
2Н125
|
080 Вертикально-сверлильная
|
2Н125
|
|
116 Сверлильная с ЧПУ
|
2С150ПМФ4
|
100 Сверлильная с ЧПУ
|
2С150ПМФ4
|
|
160 Торцешлифовальная
|
3Т161Е
|
160 Торцешлифовальная
|
3Т161Е
|
|
170 Круглошлифоваль- ная
|
3М151
|
170 Круглошлифоваль- ная
|
3М151
|
|
180 Токарная с ЧПУ
|
16А20Ф3С39
|
180 Токарная с ЧПУ
|
16А20Ф3С39
|
2.2.2 Выбор и обоснование технологических баз
На первой 010 вертикально-сверлильной операции технологическими базами
являются торец и наружная поверхность. Первая операция предназначена для
сверления в детали сквозного отверстия. На второй 030 токарно-винторезной
операции технологическими базами являются наружная поверхность вращения и
торец. Эти базы является черновыми, и служат для подготовки чистовых
технологических баз для последующей обработки детали. На 040
токарно-винторезной и 060, 180, 050 токарных с ЧПУ операциях операции
технологическими базами являются торец и наружная поверхность. На 070
вертикально-протяжной операции технологическими базами являются торец. На 080
вертикально-сверлильной операции технологическими базами являются торец и
наружная поверхность. На 090 сверлильной с ЧПУ операции технологическими базами
являются торец, наружная поверхность вращения и выточка для обеспечения
необходимой точности обрабатываемых отверстий. В этом случае обеспечивается
размерная точность и совмещение конструкторских и технологических баз.
Для окончательных 160 торцешлифовальной и 170 круглошлифовальной
операциях в качестве технологических баз используется торец и шлицевое
отверстие, в результате соблюдения принципа постоянства и совмещения баз
выдерживаться размерная точность.
Данные по обоснованию технологических баз представлены в таблице 2.2.
Таблица 2.2 - Обоснование технологических баз
|
№ опер ации
|
Наименование операции
|
Характер установки
|
Эскиз
|
|
1
|
2
|
3
|
4
|
010
Вертикально-сверлильная По торцу и наружной поверхности
- патрон
|
- опора неподвижная
|
030 Токарно-винторезная По
наружной поверхности и упор по торцу
- 3-х
кулачковый самоцентрирующийся патрон
|
- опора неподвижная
|
040 Токарно-винторезная По
наружной поверхности и упор по торцу
- 3-х
кулачковый самоцентрирующийся патрон
|
- опора неподвижная
|
|
|
050
|
Токарная с ЧПУ
|
По наружной поверхности и
упор по торцу
|
- 3-х
кулачковый самоцентрирующийся патрон - опора
неподвижная
|
060,
180 Токарная с ЧПУ По наружной поверхности и упор по торцу
- 3-х
кулачковый самоцентрирующийся патрон
|
- опора неподвижная
|
|
|
070
|
Вертикально- протяжная
|
По торцам
|
- зажим
- опора неподвижная
|
|
080
|
Вертикально-сверлильная
|
По торцу и наружной
поверхности
|
- зажим
- опора неподвижная
|
|
100
|
Сверлильная с ЧПУ
|
По торцу, наружной
поверхности и выточке
|
- зажим
- опора неподвижная
|
|
160
|
Торцешлифо- вальная
|
По торцу и внутренней
шлицевой поверхности
|
-
оправка шлицевая - опора неподвижная
|
|
170
|
Круглошлифо-вальная
|
|
|
2.2.3 Выбор оборудования и технологической
оснастки
Выбор оборудования производим в соответствии с типом производства,
производительностью, мощностью станка, обеспечения предъявляемых к детали
технических требований по точности. Данные по выбору оборудования для
изготовления детали приведены в таблице 2.3.
Таблица 2.3 - Выбор оборудования
|
№ операции
|
Код и модель станка
|
Наименование станка
|
Паспортные данные
|
|
|
|
|
Габаритные размеры, мм
|
Мощность, кВт
|
Ряд частот, мин-1
|
Ряд подач, мм/об
|
|
|
1
|
2
|
3
|
4
|
5
|
6
|
7
|
|
|
010
|
381212 2Н135
|
Вертикально-сверлильная
|
1030х825
|
4,0
|
31-1400
|
S=0,1-1,6
|
|
|
030, 040
|
381148 16К20
|
Токарно-винторезный
|
2505х1190
|
11,0
|
12,5-1600
|
Sпр = 0,05-400 Sпоп =
0,025-1,4
|
|
|
050, 060, 180
|
281148 16А20Ф3С39
|
Токарно-винторезный
|
3360х1710
|
10,0
|
12,5-2000
|
3-1200
|
|
|
070
|
3817567Б64
|
Вертикально-протяжной
|
2875х1350
|
11
|
0,025-0,19
|
-
|
|
|
080
|
381212 2Н125
|
Вертикально-сверлильная
|
1950х1650
|
2,8
|
45-2000
|
S=0,1-1,6
|
|
|
100
|
381212 2С150ПМФ4
|
Вертикально-сверлильный
|
3100х2800
|
28-4500
|
1-5000
|
|
160
|
381839 3Т161Е
|
Торцешлифо-вальный
|
3400х2170
|
17,5
|
8-80
|
0,05-3,7
|
|
170
|
381311 3М151
|
Круглошлифо-вальная
|
4975х2241
|
10
|
50-500
|
0,05-50,0
|
|
|
|
|
|
|
|
|
|
|
|
|
|
Выбор установочно-зажимных приспособлений, режущего, вспомогательного,
измерительного инструмента осуществляется в соответствии с конструктивными
особенностями изготовляемой детали, схемой ее базирования, точности её
изготовления, выбранным для обработки оборудованием. Данные по выбору этих
элементов приведены в таблицах 2.4 - 2.7.
Таблица 2.4 - Выбор установочно-зажимных приспособлений
|
Номер и наименование
операции
|
Приспособление
|
|
Код
|
Наименование
|
Тип привода
|
ГОСТ
|
|
010 Вертикально-сверлильная
|
396100
|
Приспособление
|
Ручной
|
|
|
030, 040
Токарно-винторезная
|
396110
|
Патрон
|
Ручной
|
24361-80
|
|
060, 180 Токарная с ЧПУ
|
396110
|
Патрон
|
Ручной
|
24361-80
|
|
050 Токарная с ЧПУ
|
396110
|
Патрон
|
Ручной
|
24361-80
|
|
392846
|
Центр
|
Электрический
|
8742-75
|
|
070 Вертикально протяжная
|
396000
|
Адаптер
|
Ручной
|
|
|
080 Вертикально-сверлильная
|
396111
|
Кондуктор
|
Ручной
|
|
|
100 Сверлильная с ЧПУ
|
396100
|
Приспособление
|
Ручной
|
|
|
160 Торцешлифо- вальная
|
396000
|
Оправка
|
Ручной
|
|
|
170 Круглошлифо-вальная
|
|
|
|
|
Таблица 2.5 - Выбор режущего инструмента
|
Номер и наименование
операции
|
Наименование режущего
инструмента его код
|
Материал режущей части
|
Техническая характеристика
|
ГОСТ
|
|
1
|
2
|
3
|
4
|
5
|
|
010 Вертикально-сверлильная
|
Сверло 391221
|
Р6М5
|
d = 28 мм L =300мм L1
=180мм
|
10903-77
|
|
030, 040
Токарно-винторезная
|
Резец 397273
|
Т15К6
|
40х25мм L
=200мм
|
ТУ 2-035-892-82
|
|
050 Токарная с ЧПУ
|
Резец 397273
|
Т15К6
|
40х25мм L
=200мм
|
ТУ 2-035-892-82
|
|
Резец 397273
|
Т15К6
|
25х25 мм L
=150мм
|
|
|
Резец 397273
|
Т15К6
|
20х20мм L
=150мм
|
|
|
060 Токарная с ЧПУ
|
Резец 397273
|
Т15К6
|
40х25мм L
=200мм
|
ТУ 2-035-892-82
|
|
Резец 397273
|
Т15К6
|
2012, L=120мм
|
18881-73
|
|
Резец 397273
|
Т15К6
|
20х16мм L
=160мм
|
|
|
070 Вертикально-протяжная
|
Протяжка 392330
|
Р6М5
|
D8*32*38H8*6D9
|
|
|
Протяжка 392330
|
|
|
|
|
080 Вертикально-сверлильная
|
Сверло 391221
|
Р6М5
|
d = 4 мм L =70мм L1 =40мм
|
886-77
|
|
100 Сверлильная с ЧПУ
|
Сверло 391221
|
Р6М5
|
6,3*16
|
14952-75
|
|
Сверло 391221
|
Р6М5
|
d = 12,5 мм L =170мм L1
=100мм
|
10903-77
|
|
Зенковка 391633
|
Р6М5
|
D =30мм, α=90˚
|
14953-80
|
|
Метчик 391302
|
Р6М5
|
d = 14 мм L =100мм
|
3266-81
|
|
Фреза 391852
|
Р6М5
|
d = 30 мм L = 90 мм L1
=50мм
|
|
|
160 Торцешлифо- вальная
|
Круг шлифовальный 398123
|
25А
|
750*63*305 35м/с
|
2424-83
|
|
170 Круглошлифо-вальная
|
Круг шлифовальный 398123
|
25А
|
600*80*305 35м/с
|
2424-83
|
|
180 Токарная с ЧПУ
|
Резец проходной 397273
|
Т15К6
|
25*25 L =
150мм
|
ТУ 2-035-811-81
|
|
Резец расточной 397273
|
Т15К6
|
25*23 L =
200мм
|
ТУ 2-035-811-81
|
|
|
|
|
|
|
|
Таблица 2.6 - Выбор вспомогательного инструмента
|
Номер и наименование
операции
|
Наименование
вспомогательного инструмента, его код
|
Обозначение ГОСТ
|
|
1
|
2
|
3
|
|
010 Вертикально-сверлильная
|
Втулка 392831
|
13598-85
|
|
050, 060 Токарная с ЧПУ
|
Державка 392859
|
|
|
070 Вертикально протяжная
|
Патрон рабочий 392812
|
|
|
Патрон вспомогательный
392812
|
|
|
080 Вертикально-
сверлильная
|
Патрон 392812
|
8522-79
|
|
Оправка 396190
|
2682-86
|
|
Втулка 392831
|
13598-85
|
|
100 Сверлильная с ЧПУ
|
Патрон цанговый 392812
|
|
|
|
Втулка 392831
|
13598-85
|
|
|
Втулка 392831
|
|
|
|
Втулка 392831
|
|
|
|
Патрон 392812
|
|
|
|
160 Торцешлифовальная
|
Карандаш 397737
|
607-80
|
|
|
Доработка круга 397737
|
|
|
|
170 Круглошлифовальная
|
Карандаш 397737
|
607-80
|
|
|
180 Токарная с ЧПУ
|
Державка 392859
|
|
|
|
|
|
|
|
|
Таблица 2.7 - Выбор измерительного инструмента
|
Номер и наименование
операции
|
Наименование инструмента
его код
|
Диапазон измерения
инструмента
|
Точность измерения
инструмента
|
Допуск измеряемого размера
|
Обозначение ГОСТ
|
|
|
1
|
2
|
3
|
4
|
5
|
6
|
|
|
010 Вертикально-сверлильная
|
Штангенциркуль 393311
|
0-160
|
0,05
|
0,52
|
ШЦ-II-160-0,05 ГОСТ
166-89
|
|
|
030, 040
Токарно-винторезная
|
Штангенциркуль 393311
|
0-160
|
0,05
|
0,67
|
ШЦ-II-160-0,05
ГОСТ 166-89
|
|
|
050 Токарная с ЧПУ
|
Микрометр 394233
|
50,5
|
0,04
|
0,19
|
6507-90
|
|
|
|
Штангенглубино-мер 393331
|
0-160
|
0,05
|
0,87
|
ШГ-160-0,05 162-90
|
|
|
|
Штангенрейсмос 393322
|
0-250
|
0,05
|
0,52
|
ШР-250-0,05 164-90
|
|
|
|
Плита 393551
|
400*400
|
0,1
|
0,52
|
10905-86
|
|
|
|
Индикатор 394215
|
21,2
|
0,1
|
0,52
|
577-68
|
|
|
|
Штатив 393500
|
21,2
|
0,1
|
0,52
|
ШМ- II-Н-8
10197-70
|
|
|
|
Прибор ПБ-500 394527
|
21,2
|
0,1
|
0,52
|
ТУ 2-034-543-81
|
|
|
|
Штангенциркуль 393311
|
0-160
|
0,05
|
0,74
|
ШЦ-II-160-0,05
ГОСТ 166-89
|
|
|
|
Шаблон 393610
|
2,2
|
0,05
|
0,25
|
|
|
|
|
Скоба 393700
|
47
|
0,07
|
0,34
|
|
|
|
060 Токарная с ЧПУ
|
Штангенциркуль 393311
|
0-160
|
0,05
|
0,62
|
ШЦ-II-160-0,05
ГОСТ 166-89
|
|
Глубиномер 394270
|
0-25
|
1
|
0,5
|
ГМ 25-I
7470-92
|
|
Пробка 393141
|
93
|
0,04
|
0,22
|
|
|
070 Вертикально-протяжная
|
Калибр комплексный на
расположение шлиц 393182
|
38
|
0,006
|
0,03
|
|
|
Калибр 393182
|
6
|
0,002
|
0,09
|
|
|
Пробка 393141
|
38
|
0,01
|
0,06
|
|
|
Пробка 393141
|
32
|
|
|
14810-69
|
|
100 Сверлильная с ЧПУ
|
Калибр пробка 393100
|
12,43
|
0,04
|
0,22
|
|
|
Пробка 393141
|
14
|
0,002
|
0,011
|
17768-72
|
|
Штангенциркуль 393311
|
0-160
|
0,05
|
0,4
|
ШЦ-II-160-0,05
ГОСТ 166-89
|
|
160 Торцешлифовальная
|
Скоба 393700
|
50
|
0,0008
|
0,004
|
11098-75
|
|
Скоба 393700
|
50
|
0,001
|
0,02
|
18360-93
|
|
Прибор ПБ-500 394527
|
50
|
0,008
|
0,04
|
ТУ 2-034-543-81
|
|
Индикатор 394215
|
50
|
0,008
|
0,04
|
9696-82
|
|
Штатив 393500
|
50
|
0,008
|
0,04
|
ШМ- II-Н-8
10197-70
|
|
Штангенрейсмос 393322
|
0-250
|
0,05
|
0,052
|
ШР-250-0,05 164-90
|
|
Штангенциркуль 393311
|
0-125
|
0,1
|
1 0,4
|
|
Плита 393551
|
400*400
|
0,1
|
0,52
|
10905-86
|
|
Шаблон 393610
|
22,2
|
0,04
|
0,21
|
|
|
170 Круглошлифавальная
|
Скоба 393700
|
50
|
0,025
|
0,1
|
18360-93
|
|
Прибор ПБ-500 394527
|
50
|
0,008
|
0,04
|
ТУ 2-034-543-81
|
|
Индикатор 394215
|
50
|
0,008
|
0,04
|
9696-82
|
|
Штатив393500
|
50
|
0,008
|
0,04
|
ШМ- II-Н-8
10197-70
|
|
180 Токарная с ЧПУ
|
Штангенрейсмос 393322
|
0-250
|
0,05
|
0,52
|
ШР-250-0,05 164-90
|
|
Индикатор 394215
|
95
|
0,005
|
0,025
|
9696-82
|
|
Штатив 393500
|
95
|
0,005
|
0,025
|
ШМ- II-Н-8
10197-70
|
|
Плита 393551
|
400*400
|
0,1
|
0,52
|
10905-86
|
|
Глубиномер 394270
|
0-25
|
1
|
0,5
|
ГМ 25-I
7470-92
|
|
Нутромер 393451
|
50-100
|
0,008
|
0,044
|
9244-75
|
|
Кольцо 393144
|
95
|
0,01
|
0,054
|
|
|
|
|
|
|
|
|
|
|
|
|
|
|
|
|
|
|
2.3 Разработка операционного технологического
процесса
.3.1 Определение межоперационных припусков и
операционных размеров
Для детальной разработки технологии обработки детали производим разбивку
операции по технологическим переходам. Данные по переходам заносим в таблицу
2.8.
Таблица 2.8 - Разбивка операций технологического процесса по
технологическим переходам
|
№ опер ации
|
Наименование операции
|
Содержание технологических
переходов
|
Эскиз
|
|
|
1
|
2
|
3
|
4
|
|
|
010
|
Вертикально-сверлильная
|
Сверлить отверстие,
выдерживая размеры 1, 2
|
|
|
|
030
|
Токарно-винторезная
|
Подрезать торец, выдерживая
размеры 3
|
|
|
|
|
Точить наружную
поверхность, выдерживая размер 1, 2
|
|
|
|
040
|
Токарно-винторезная
|
Подрезать торец, выдерживая
размеры 2, 4
|
|
|
|
|
Точить наружную поверхность
с образованием фаски, выдерживая размеры 1, 3
|
|
|
|
050
|
Токарная с ЧПУ
|
Точить наружную
поверхность, выдерживая размеры 4, 6, 7
|
|
|
|
|
Подрезать торец, выдерживая
размер 6
|
|
|
|
|
Подрезать торец, точить
наружную поверхность, выдерживая размеры 1, 3
|
|
|
|
|
Подрезать торец,с
образованием радиуса выдерживая размеры 2, 8, 9
|
|
|
|
|
Точить канавку, выдерживая
размеры 14, 15, 16, 17, 18
|
|
|
|
|
Точить канавку, выдерживая
размеры 5, 11, 12, 13
|
|
|
|
|
Точить фаску, выдерживая
размеры 10, 19, 20
|
|
|
|
060
|
Токарная с ЧПУ
|
Подрезать торец, выдерживая
размеры 1, 2, 10
|
|
|
|
|
Расточить отверстие,
выдерживая размеры 9, 10
|
|
|
|
|
Расточить поверхность,
выдерживая размеры 4, 8
|
|
|
|
|
Расточить выточку,
выдерживая размеры 6, 7
|
|
|
|
|
Расточить фаску, выдерживая
размер 5
|
|
|
|
|
Расточить фаску, выдерживая
размер 3
|
|
|
|
|
Расточить карман,
выдерживая размер 13, 14, 15
|
|
|
|
|
Расточить фаску, выдерживая
размер 11, 12
|
|
|
|
070
|
Вертикально-протяжная
|
Протянуть шлицы, выдерживая
размеры 1, 2
|
|
|
|
080
|
Вертикально-сверлильная
|
Сверлить отверстие с
поворотом детали, выдерживая размеры 1, 2
|
|
|
|
100
|
Сверлильная с ЧПУ
|
Центровать последовательно
два паза и четыре отверстия, выдерживая размеры 4, 6, 8
|
|
|
|
|
Сверлить четыре отверстия
под резьбу Ø
12,43+0,22
|
|
|
|
|
Зенковать фаску, выдерживая
размер 2
|
|
|
|
|
Нарезать резьбу
последовательно в четырёх отверстиях, выдерживая размер 1, 5
|
|
|
|
|
Сверлить два отверстия под
пазы Ø
28
|
|
|
|
|
Фрезеровать два паза,
выдерживая размеры 3, 7
|
|
|
|
160
|
Торцешлифовальная
|
Шлифовать наружную
поверхность с подшлифовкой торца, выдерживая размеры 3, 4, 5
|
|
|
|
170
|
Круглошлифовальная
|
Полировать наружную
поверхность, выдерживая размер 1, 2
|
|
|
|
180
|
Токарная с ЧПУ
|
Подрезать торец, выдерживая
размер 2
|
|
|
|
Расточить выточку,
выдерживая размеры 1,3
|
|
|
|
Точить фаску, выдерживая
размер 4
|
|
|
|
|
|
|
|
|
|
|
|
|
Определение межоперационных припусков и операционных размеров с допусками
на обработку начинается с маршрута обработки поверхности детали с указанием
точности обработка и шероховатости, на каждом переходе механической обработки.
Данные по характеристике обрабатываемых поверхностей детали заносят в таблицу
2.9
Таблица-2.9 - Характеристика обрабатываемых поверхностей
|
Обработанная поверхность
|
Точность обработки
|
|
Размер с допуском по
чертежу
|
Последовательность
механической обработки
|
Квалитет
|
Величина допуска, мм
|
Шероховатость, Rа
мкм
|
|
1
|
2
|
3
|
4
|
5
|
|
87-0,46
|
Подрезка торца
|
14
|
0,87
|
20
|
|
Подрезка торца
|
14
|
0,87
|
20
|
|
Подрезка торца
|
14
|
0,87
|
20
|
|
Подрезка торца
|
14
|
0,87
|
5
|
|
145-1,0
|
Точить поверхность начерно
|
14
|
1,0
|
20
|
|
Точить поверхность начисто
|
14
|
1,0
|
20
|
|
50-0,1
|
Точить поверхность начерно
|
14
|
0,62
|
20
|
|
Точить поверхность начисто
|
11
|
0,14
|
5
|
|
Шлифовать поверхность
|
10
|
0,1
|
1,25
|
|
Полировать поверхность
|
10
|
0,1
|
0,63
|
50
|
Точить поверхность140,6220
|
|
|
|
|
|
Точить поверхность
|
10
|
0,12
|
10
|
|
Точить поверхность
|
8
|
0,046
|
5
|
|
Шлифовать поверхность
|
6
|
0,016
|
1,25
|
31,5
|
Сверлить отверстие140,5220
|
|
|
|
|
|
Расточить отверстие
|
14
|
0,39
|
20
|
38
|
Протянуть шлицы
начерно100,12,5
|
|
|
|
|
|
Протянуть шлицы начисто
|
9
|
0,03
|
2,5
|
95
|
Точить поверхность
начерно110,2220
|
|
|
|
|
|
Точить поверхность начисто
|
8
|
0,055
|
5
|
|
39 Расточить карман
|
14
|
0,62
|
20
|
|
|
13-1,1
|
Подрезка торца
|
14
|
1,1
|
20
|
|
Подрезка торца
|
14
|
1,1
|
20
|
|
Подрезка торца
|
14
|
1,1
|
20
|
|
Подрезка торца
|
14
|
1,1
|
5
|
|
21 Подрезка торца
|
14
|
0,52
|
20
|
|
|
Шлифовка торца
|
14
|
0,52
|
2,5
|
|
58-0,74
|
Точить поверхность
|
14
|
0,74
|
20
|
|
2 Подрезка торца
|
14
|
1,0
|
20
|
|
|
40 Расточить поверхность
|
14
|
0,62
|
20
|
|
|
4 ±0,1
|
Подрезка торца
|
14
|
0,6
|
20
|
|
Точить поверхность начерно
|
12
|
0,2
|
20
|
|
Точить поверхность начисто
|
12
|
0,2
|
20
|
|
4 Сверлить отверстие
|
14
|
1,0
|
20
|
|
|
М14*1,5
|
Сверлить отверстие
|
11
|
0,22
|
20
|
|
Нарезать резьбу
|
8
|
0,055
|
5
|
|
30 ±2
|
Сверлить отверстие
|
16
|
4
|
20
|
|
Нарезать резьбу
|
16
|
4
|
20
|
|
47-0,34
|
Точить канавку
|
14
|
0,34
|
10
|
|
|
|
|
|
|
Производим
аналитический расчет припусков на поверхность 50
используя методику [ ]. Пользуясь чертежом детали и
картами технологического процесса, записываем в таблице технологические
переходы обработки наружной поверхности в порядке их последовательности. Данные
по расчету заносим в таблицу 2.10.
Выбираем параметры качества поверхности на соответствующие виды обработки
для заготовки и операций механической обработки. По таблице 4.3 (стр.63)
определяем значение Rz и T для заготовки, а по таблице 4.5-4.6 Rz и T определяем по переходам.
Определяем суммарное пространственное отклонение, для заготовки данного
типа используя формулу (таблиц 4.7):
ρ = √
ρсм2 +ρкор2,
(2.4)
ρкор=∆к l
где ∆к - удельная кривизна заготовки на 1мм длины (с. 72 таблица
4.8);
∆к=1,5 мкм/мм
ρсм - смещение оси заготовки, мм; ρсм =0,9мкм (с. 73 таблица 34)
l -
длина заготовки, мм; l=87
мм
ρ=√0,92 +(1,5*87) 2=909 мкм;
Остаточное пространственное отклонение в зависимости от обработки
определяется по формуле:
ρост=ky* ρзаг , (2.5)
где ky - коэффициент уточнения формы в
зависимости от вида обработки по переходам;
ky =
0,06- точение черновое;
ky =
0,05- точение получистовое;
ky =
0,04- точение чистовое;
ky =
0,02- шлифование;
ρост=0,06*909=54,5 мкм - точение
черновое;
ρост=0,05*909=45,5 мкм - точение
получистовое;
ρост=0,04*909=36,4 мкм - точение
чистовое;
ρост=0,02*909=18,2 мкм - шлифование;
Определяем погрешность установки по формуле:
Еу =√Еб2+ЕЗ2 , (2.6)
Еб - погрешность базирования, мкм: Еб=0, так как деталь устанавливается в
трёхкулачковый патрон
ЕЗ - погрешность закрепления, мкм:
ЕЗ=110мкм- точение черновое; (с. 80 таблица 4.11)
ЕЗ=90мкм - точение получистовое;
ЕЗ=80мкм - точение чистовое;
ЕЗ=70мкм - шлифование;
Еу =√02+1102 =110мкм- точение черновое;
Еу =√02+902 =90мкм - точение получистовое;
Еу =√02+802 =80мкм - точение чистовое
Еу =√02+702 =70мкм - шлифование;
Определяем минимальное значение межоперационных припусков:
Zmin=2*(Ri-1+Ti-1+√ρ2i-1+E2i), (2.7)
2Zmin=2*(150+250+√9092+1102)=2*1315
мкм - точение черновое;
2Zmin=2*(50+50+√45,52+802)=2*192 мкм
- точение чистовое;
Zmin=2*(30+30+√36,42+702)=2*139
мкм - шлифование;
Определяем расчётный размер:
р=dр +2Zmin
, (2.9)
dр=50+0,002=50,002
мм - шлифование;
dр=50,002+2*0,139=50,28
мм - точение чистовое;
dр=50,28+2*0,192=50,664мм
- точение получистовое;
dр=50,664+2*0,305=51,274
мм - точение черновое;
dр=51,274+2*1,315=53,904мм
- заготовка;
Определяем минимальное и максимальное предельное значение допуска:
Zmin= dmin i-1- dmin , (2.10)
2Zmах= dmах i-1- dmах, (2.11)
- предельный размер, мм;
Zmin=53,904-51,274=2,63мм=2630мкм
Zmin=51,274-50,664=0,61мм=610мкм
Zmin=50,664-50,28=0,384мм=384мкм
Zmin=50,28-50,002=0,278мм=278мкм
Zmах=55,804-52,034=3,77мм=3770мкм
Zmах=52,034-50,784=1,25мм=1250мкм
Zmах=50,784-50,326=0,458мм=458мкм
Zmах=50,326-50,021=0,305мм=305мкм
На другие поверхности припуски по переходам назначаем табличным методом
из таблиц справочника[ ].
Таблица 2.10 - Аналитический расчет припусков
|
Переходы обработки
поверхности 50 Элементы припусков, мкмРасч. припуск 2Zmin
мкмРасч. размер, dр ммДопуск мкмПредельные размеры,
ммПредельные припуски, мкм
|
|
|
|
|
|
|
|
Rz
|
Т
|
|
εУ
|
|
|
|
dmin
|
dmax
|
2Zmin
|
2Zmax
|
|
Заготовка
|
150
|
250
|
909
|
|
-
|
53,904
|
1900
|
53,904
|
55,804
|
-
|
-
|
|
точение черновое
|
100
|
100
|
54,5
|
110
|
2*1315
|
51,274
|
760
|
51,274
|
52,034
|
2630
|
3770
|
|
точение получистовое
|
50
|
50
|
45,5
|
90
|
2*305
|
50,664
|
120
|
50,664
|
50,784
|
610
|
1250
|
|
точение чистовое
|
30
|
30
|
36,4
|
80
|
2*192
|
50,28
|
46
|
50,28
|
50,326
|
384
|
458
|
|
Шлифование
|
10
|
20
|
18,2
|
70
|
2*139
|
50,002
|
19
|
50,002
|
50,021
|
278
|
305
|
Проводим проверку:
δзаг. - δт.ч.= 2Zmaxпр - 2Zminпр
, (2.8)
- 760=3770 - 2630;
=1140;
Условие выполнено.
Схема графического расположения припусков и допусков на обработку
поверхности 50к6
На другие поверхности припуски по переходам назначаем табличным методом
из таблиц справочника [ ]. Данные по расчетам заносим в таблицу 2.11
Таблица 2.11-Табличный расчет припусков
|
Размер с допуском по
чертежу
|
Значение промежуточных
припусков
|
|
|
2Z1
|
2Z2
|
2Z3
|
2Z4
|
|
|
1
|
2
|
3
|
4
|
5
|
|
|
87h14
|
1,5
|
1
|
0,5
|
0,5(i=2)
|
|
|
145h14
|
2*4,5(i=2)
|
2*1,6
|
-
|
-
|
|
|
50h10
|
2*6,5(i=2)
|
2*1,25(i=2)
|
2*0,2
|
2*0,05
|
|
|
31,5Н14
|
2*14
|
2*2,25(i=2)
|
-
|
-
|
|
|
38Н9
|
2*3 (i=2)
|
-
|
-
|
-
|
|
|
95F8
|
2*5,5(i=2)
|
2*1(i=2)
|
-
|
-
|
|
|
39Н14
|
2*8(i=2)
|
-
|
-
|
-
|
|
|
13h14
|
1
|
5(i=2)
|
0,5
|
0,5(i=2)
|
|
|
21h14
|
1,8
|
0,2
|
-
|
-
|
|
|
58 h14
|
2*3
|
-
|
-
|
-
|
|
40Н14
|
2*3,75(i=2)
|
-
|
-
|
-
|
|
4h14
|
1(i=2)
|
5,5(i=2)
|
1(i=2)
|
-
|
|
4Н14
|
2*2
|
-
|
-
|
-
|
|
М14*1,5g6
|
2*6,25(i=4)
|
1(i=4)
|
-
|
-
|
|
30 h16
|
2*14(i=2)
|
2*15(i=2)
|
-
|
-
|
|
47Н14
|
2*2,2
|
-
|
-
|
-
|
|
|
|
|
|
|
|
|
|
|
2.3.2 Определение режимов резания на
проектируемые операции (переходы)
Определяем режимы резания по эмпирическим формулам на 090 сверлильную с
ЧПУ операцию, при сверлении отверстия 28мм, используя методику [ ].
Определяем глубину резания:
t=0,5*D , (2.9)
где D - диаметр сверла,мм; D=55мм;
t=0,5*28=14мм.
Определяем подачу на оборот S=0,2мм/об (с.277, табл. 25)
Определяем скорость резания по формуле:
V=(Cv*Dq/Tm*Sy)*Kv , (2.10)
где Cv - коэффициент, Cv=7,0; (с.278, табл. 28)
D -
диаметр сверла, мм; D =28мм.
T -
период стойкости инструмента, мин; T=50мин (с.278, табл. 30)
S -
подача при сверлении, мм/об.
y,q,m - показатели степени, q=0,40; y=0,7;
m=0,2 (с.278, табл. 28)
Общий поправочный коэффициент на скорость резания, учитывающий
фактическое условие резания:
Kv= Kmv*Kиv*Кlv , (2.11)
где Kmv - коэффициент на обрабатываемый
материал; Kmv=0,67 (с.261, табл. 1)
Kиv - коэффициент на инструментальный
материал; Kиv =1 (с. 263, табл. 6)
Кlv - коэффициент, учитывающий глубину
сверления; Кlv =1 (с.280, табл. 31)
Тогда Kv=0,67*1*1=0,67
По выбранным данным рассчитываем скорость резания:
V=(7,0*280,40/600,2*0,20,7)*0,67=22м/мин.
Определяем частоту вращения шпинделя станка и корректируем по паспортным
данным:
n=1000*V/π*D, (2.12)
n=1000*22/3,14*28=250об/мин.
Определяем действительную скорость резания:
Vд= π*D*n/1000 , (2.13)
Vд=3,14*55*125/1000=22м/мин.
Определяем крутящий момент:
Мкр=10Cм*Sy*Dq*Кр, (2.14)
где D - диаметр сверла, мм; D =28мм.
S -
подача инструмента при сверлении, мм/об; S=0,2мм/об.
q, y - показатели степени, q=2,0; y=0,8. (с.281, табл. 32)
Cм
-коэффициент, Cм=0,0345; (с.281, табл. 32)
Кр= Кмр=( σВ / 750)n ,
(2.15)
σВ - предел прочности материала; σВ =1000
n-
показатель степени; n=0,75 (с.264,
табл. 9)
Кр= ( 1000 / 750)0,75 =1,2
Тогда: Мкр=10*0,0345*0,20,8*282,0*1,2=87,7 Н*м.
Определяем осевую силу:
Ро=10Cр*Sy*Dq*Кр, (2.16)
где D - диаметр сверла, мм; D =28мм.
S -
подача инструмента при сверлении, мм/об; S=0,2мм/об.
q, y - показатели степени, q=1,0; y=0,7. (с.281, табл. 32)
Cр
-коэффициент, Cр=68; (с.281, табл. 32)
Ро=10*68*0,20,7*281,0*1,2=7404,7 Н*м
Определяем основное время:
T0=(L/S0*n)*i, (2.17)
где L - длина сверления, мм; L =25мм.
S0 -
подача инструмента при сверлении, мм/об.
i -
число проходов; i =2
T0=(25/0,2*250)*2=1
мин.
Проверяем правильность расчетов по мощности. Для этого определяем
мощность необходимую на резание:
Nрез=Мкр*n/9750 , (2.18)
Nрез=87,7*250/9750=2,2
кВт;
Но необходимо, чтобы соблюдалось условие Nрез≤Nшп.
Определяем мощность на шпинделе станка:
Nшп=Nэ.д.*η , (2.19)
где Nэ.д. - мощность электродвигателя
станка, кВт;
η - КПД станка.
Из паспортных данных станка Nэ.д.=10 кВт, а η=0,8.
Nшп=10*0,75=8
кВт
,2≤8
Условие выполнено.
Определяем режимы резания по эмпирическим формулам на 030
токарно-винторезную операцию, при обработке наружной цилиндрической
поверхности, используя методику [ ].
Определяем глубину резания:
t=(D2-D1/2)*i,
(2.20)
=6,5мм
Определяем подачу:
S=0,1мм/об.
Определяем скорость резания по формуле:
V=Vтаб*К1*К2*К3, (2.21)
где К1 - коэффициент зависящий от обработки материала К1=0,75;
(с.32 , карта 4)
К2 - коэффициент зависящий от стойкости и марки твердого сплава К2=1,25;
(с.33 , карта 4)
К3 - коэффициент, зависящий от вида обработки; К3 =0,85, (с.34 , карта 4)
Vтаб -
табличное значение скорости резания, Vтаб=125 м/мин;
(с.29 , карта 4)
V=125*0,75*1,25*0,85=99,6
м/мин;
Определяем число оборотов шпинделя:
n=1000*V/π*D , (2.22)
D-
диаметр обрабатываемой поверхности, мм; D=66мм.
n=1000*99,6/3,14*66=480
об/мин;
Корректируем по паспортным данным станка: n=400 об/мин.
Уточняем скорость резания по принятому числу оборотов шпинделя:
V= π*D*n/1000, (2.23)
V=3,14*66*400/1000=82,9м/мин.
Определяем основное время:
0=(L/S0*n)*i , (2.24)
где L - длина сверления, мм; L =70мм.
S0 -
подача инструмента при точении, мм/об.
i -
число проходов; i =2
T0=(70/0,1*400)*2=3,5
мин
Проверяем правильность расчетов по мощности. Для этого определяем
мощность необходимую на резание:
Nрез=
Рz*V/6120, (2.25)
Рz= Рz табл.*К1*К2 (2.26)
Рz табл - главная составляющая силы
резания, кН; РZ =220 кH (с.35,карта Т-5)
К1- коэффициент, зависящий от обрабатываемого материала; К1=0,85
К2- коэффициент, зависящий от скорости резания и переднего угла при
точении сталей твёрдосплавным инструментом; К2=1
Рz=220*0,8*1=176 Н
Nрез=176*82,9/6120=2,4
кВт;
Но необходимо, чтобы соблюдалось условие Nрез≤Nшп.
Определяем мощность на шпинделе станка:
Nшп=Nэ.д.*η (2.27)
где Nэ.д. - мощность электродвигателя
станка, кВт;
η - КПД станка.
Из паспортных данных станка Nэ.д.=10 кВт, а η=0,75.
Nшп=10*0,75=7,5
кВт
,4≤7,5
Условие выполнено.
Остальные режимы резания определяем аналогично и заносим в таблицу 2.12
|
Таблица 2.12 - Сводная
таблица режимов резания
|
То, мин
|
11
|
11,8 0,76 3,5 3,5
1,8 0,67 6,5
|
|
|
V, м/мин
|
10
|
9,7 68 82,9 70 70
70 70
|
|
|
n, мин-1
|
9
|
110 410 400 150 150
150 110
|
|
|
Подача
|
Sм, мм/мин
|
8
|
- - - - - - -
|
|
|
|
Sо, мм/об
|
7
|
0,1 0,1 0,1 0,2 0,2
0,08 0,2
|
|
|
i
|
6
|
1 1 2 1 2 1 2
|
|
|
Lрез., мм
|
5
|
130 31 70 106 27
8 71
|
|
|
t, мм
|
4
|
14 1,5 6,5 1 4,5
1,6 1,25
|
|
|
D или В, мм
|
3
|
28 53 53 148 145
145 50,5
|
|
|
Содержание перехода
|
2
|
Сверлить отверстие,
выдерживая размеры 1, 2 Подрезать торец, выдерживая размеры 3 Точить
наружную поверхность, выдерживая размер 1, 2 Подрезать торец, выдерживая
размеры 2, 4 Точить наружную поверхность выдерживая размер 1 Точить фаску,
выдерживая размер 3 Точить наружную поверхность, выдерживая размеры 4, 6, 7
|
|
|
№ наимено-вание операции
|
1
|
010
Вертикально-сверлильная 030 Токарно-винторезная 040
Токарно-винторезная 050 Токарная с ЧПУ
|
|
|
Продолжение таблицы - 2.12
|
11
|
1,8 1,8 3,7 0,2 0,2
0,2 1,0 2,3
|
|
10
|
70 70 70 68 67,9
66 70 66
|
|
9
|
150 150 150 440 460
470 150 660
|
|
8
|
- - - - - - -
-
|
|
7
|
0,2 0,2 0,2 0,1 0,1
0,1 0,2 0,1
|
|
6
|
|
5
|
55 55 55 7 7 8
30 93
|
|
4
|
1,8 3 5 5,2 2,2
5,5 0,5 2,25
|
|
3
|
148 148 148 49,5 47
45 148 31,5
|
|
2
|
Подрезать торец, выдерживая
размер 6 Подрезать торец, точить наружную поверхность, выдерживая размеры 1,
3 Подрезать торец,с образованием радиуса выдерживая размеры 2, 8, 9 Точить
канавку, выдерживая размеры 14, 15, 16, 17, 18 Точить канавку, выдерживая
размеры 5, 11, 12, 13 Точить фаску, выдерживая размеры 10, 19, 20 Подрезать
торец, выдерживая размеры 1, 2, 10 Расточить отверстие, выдерживая размеры 9,
10
|
|
1
|
060 Токарная с ЧПУ
|
|
Продолжение таблицы - 2.12
|
11
|
0,6 3,0 0,3 0,3 0,76
0,29 0,61 0,28
|
|
|
10
|
66,5 67 67 67 68
67 7 8,9
|
|
|
9
|
530 230 230 530 550
550 - 710
|
|
|
8
|
- - - - - - - -
|
|
|
7
|
0,1 0,1 0,1 0,1 0,1
0,1 - 0,1
|
|
|
6
|
2 2 1 1 2 1 2
2
|
|
|
5
|
16 34 6 15 21 15
1100 10
|
|
|
4
|
3,75 5,5 0,5 10 8
10 3 2
|
|
|
3
|
40 93 93 40 39,5
39 38 4
|
|
|
2
|
Расточить поверхность,
выдерживая размеры 4, 8 Расточить выточку, выдерживая размеры 6, 7 Расточить
фаску, выдерживая размер 5 Расточить фаску, выдерживая размер 3 Расточить
карман, выдерживая размер 13, 14, 15 Расточить фаску, выдерживая размер 11,
12 Протянуть шлицы, выдерживая размеры 1, 2 Сверлить отверстие с поворотом
детали, выдерживая размеры 1, 2
|
|
|
1
|
070 Вертикально-протяжная
080 Вертикально-сверлильная
|
|
|
|
|
|
|
|
|
|
|
Продолжение таблицы - 2.12
|
11
|
1,6 3,2 1,32 0,64
1 8,0 0,72
|
|
10
|
9,9 9,8 14 7,7 22
21 9
|
|
9
|
500 250 180 175
250 200 60
|
|
8
|
- - - - - 40
-
|
|
7
|
0,06 0,1 0,1 1,5
0,2 0,05 0,35
|
|
6
|
6 4 4 4 2 4 -
|
|
5
|
8 20 7 42 25
80 65
|
|
4
|
3,15 6,2 1,6 - 14
13 0,25
|
|
3
|
6,3 12,5 2,5 14 28
30 50
|
|
2
|
Центровать последовательно
два паза и четыре отверстия, выдерживая размеры 4, 6, 8 Сверлить четыре
отверстия под резьбу Ø
12,43+0,22 Зенковать фаску, выдерживая
размер 2 Нарезать резьбу последовательно в четырёх отверстиях, выдерживая
размер 1, 5 Сверлить два отверстия под пазы Ø 28 Фрезеровать два паза, выдерживая размеры 3, 7
Шлифовать наружную поверхность с подшлифовкой торца, выдерживая размеры 3, 4,
5
|
|
1
|
100 Сверлильная с
ЧПУ 160 Торцешлифовальная
|
|
Продолжение таблицы - 2.12
|
11
|
0,71 2,2 1,2 0,2
|
|
|
10
|
17 148,7 150 150
|
|
|
9
|
290 320 500 500
|
|
|
8
|
- - - -
|
|
|
7
|
0,05 0,1 0,1 0,08
|
|
|
6
|
1 2 2 1
|
|
|
5
|
44 35 30 8
|
|
|
4
|
0,05 0,5 1 1
|
|
|
3
|
50 148 95 95
|
|
|
2
|
Полировать наружную
поверхность, выдерживая размер 1, 2 Подрезать торец, выдерживая размер 2
Расточить выточку, выдерживая размеры 1,3 Точить фаску, выдерживая размер 4
|
|
|
1
|
170 Круглошлифовальная 180
Токарная с ЧПУ
|
|
|
|
|
|
|
|
2.3.3 Нормирование проектируемой операции
Расчет норм времени на 030 токарно-винторезную операцию с подробным
описанием выбора и расчетов [ ].
Определяем штучное время:
деталь заготовка фланец резание
Тшт=1/q*То+Тв*(1+ (аобсл.+ аотл.)/100),
(2.28)
где q - число одновременно обрабатываемых
деталей, q=1 шт.
То - основное время на операцию, мин;
Тв - вспомогательное время на операцию, мин;
аобсл. - время на техническое и организационное обслуживание рабочего,
мин;
аотл.- время на отдых и личные потребности, мин;
Основное время на операцию рассчитано выше и приведено в таблице 1.12
пояснительной записки, мин; То=3,5+0,76 =4,26мин,
Определяем вспомогательное время на операцию:
Тв=Твуст+Твп+ Твоп +Твизм+Твв , (2.29)
где Твуст - время на установку и снятие детали, мм; Твуст=0,42мин,
( с. 32, карта 2)
Твп - вспомогательное время, на проход, мин; Твп =0,17мин; ( с. 66, карта
18)
Твоп - вспомогательное время, связанное с приёмами , не вошедшими в
комплекс, мин;
изменить число оборотов шпинделя - 0,07мин, (с. 69, карта 18)
изменить величину и направление подачи - 0,06мин,
(с. 69, карта 18)
установить и снять инструмент - 0,05мин, (с. 69, карта 18)
закрыть и открыть щиток ограждения от стружки - 0,02мин, ( с. 69, карта
18)
Твоп =0,07+0,06+0,05+0,02=0,2 мин
Твизм - вспомогательное неперекрываемое время на измерение, мм;
Твизм =0,23 мин, (с.191, карта 86).
Тв=0,42+0,17+0,2+0,23=1,02 мин.
Определяем время на техническое и организационное обслуживание рабочего
места, отдых и личные потребности:
аобсл.=3,5% (с.70 карта 19).
аотл.=4% (с.203 карта 88).
Определяем подготовительно-заключительное время:
Тп-з=Тп-з1+Тп-з2+Тп-з3 , (2.30)
где Тп-з1 - норма подготовительно-заключительного времени, на наладку
станка, инструмента и приспособлений; Тп-з1 =14 мин, (с. 70, карта 19).
Тп-з2 - норма подготовительно-заключительного времени, на дополнительные
приёмы; Тп-з2=7мин, (с. 70, карта 19).
Тп-з3 - норма подготовительно-заключительного времени, на получение
инструмента и приспособлений до начала и сдачу их после окончания обработки;
Тп-з3=8мин, (с. 70, карта 19).
Таким образом:
Тп-з=14+7+8=29мин;
Тшт=1/1*(4,26+1,02)*(1+(3,5+4)/100)=5,68мин;
Определяем штучно-калькуляционное время:
Тш-к=Тшт+Тп-з/n, (2.31)
n -
число заготовок в партии, n=32шт.
Тш-к=5,68+29/32 =6,52 мин.
|
Таблица 2.13 - Сводная
таблицф норм времени
|
Тш-к
|
14
|
14,83
|
6,52
|
8,92
|
28,89
|
16,48
|
1,84
|
1,71
|
21,02
|
|
n, шт.
|
13
|
32
|
32
|
32
|
32
|
32
|
32
|
32
|
32
|
|
Тп-з
|
12
|
37
|
29
|
29
|
28,35
|
28,35
|
15
|
17
|
27,7
|
|
Тшт
|
11
|
13,673
|
5,68
|
8,078
|
28
|
15,59
|
1,376
|
1,21
|
20,15
|
|
аотл.%
|
10
|
4
|
4
|
4
|
8
|
8
|
4
|
4
|
8
|
|
аобсл.%
|
9
|
4
|
3,5
|
3,5
|
|
|
4
|
3,5
|
|
|
Топ
|
8
|
12,66
|
4,86
|
6,57
|
-
|
-
|
1,38
|
1,14
|
-
|
|
Тца
|
7
|
-
|
-
|
-
|
25
|
13,92
|
-
|
-
|
18
|
|
Тв
|
tизм
|
6
|
0,1
|
0,1
|
0,1
|
1,2
|
0,28
|
0,2
|
0,12
|
0,8
|
|
|
tоп
|
5
|
0,08
|
0,06
|
0,06
|
1,18
|
0,9
|
0,19
|
0,08
|
1,2
|
|
|
tп,
|
4
|
0,2
|
0,12
|
0,12
|
-
|
-
|
0,2
|
0,14
|
-
|
|
|
tуст
|
3
|
0,48
|
0,32
|
0,32
|
0,32
|
0,32
|
0,18
|
0,52
|
0,8
|
|
То
|
2
|
11,8
|
4,26
|
5,97
|
14,4
|
9,04
|
0,61
|
0,28
|
15,76
|
|
№ и наименование операции
|
1
|
010 Вертикально
-сверлильная
|
030 Токарно-винторезная
|
040 Токарно-винторезная
|
050 Токарная с ЧПУ
|
060 Токарная с ЧПУ
|
070 Вертикально-протяжная
|
080 Вертикально
-сверлильная
|
100 Сверлильная с ЧПУ
|
|
Продолжение табл. 2.13
|
14
|
5,81
|
2,62
|
6,93
|
|
|
13
|
32
|
32
|
32
|
|
|
12
|
17
|
17
|
28,35
|
|
|
11
|
5,279
|
2,09
|
6,048
|
|
|
10
|
4
|
4
|
8
|
|
|
9
|
4
|
4
|
|
|
|
8
|
4,2
|
1,84
|
-
|
|
|
7
|
-
|
-
|
5,4
|
|
|
6
|
1,3
|
0,13
|
0,18
|
|
|
5
|
0,6
|
0,1
|
0,1
|
|
|
4
|
1,0
|
0,1
|
|
|
|
3
|
0,6
|
0,6
|
0,32
|
|
|
2
|
0,72
|
0,91
|
3,6
|
|
|
1
|
160 Торцешлифовальная
|
170 Круглошлифовальная
|
180 Токарная с ЧПУ
|
|
|
|
|
|
|
|
|
|
|
|
|
|
|
|
|
|
|
3. КОНСТРУКТОРСКИЙ РАЗДЕЛ
3.1 Расчёт приспособления для установки
заготовки
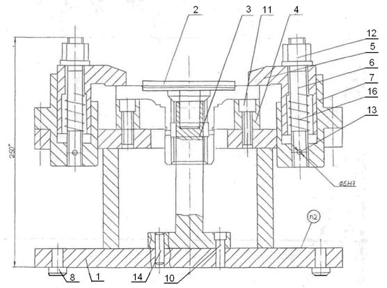
.1.1 Описание назначения, устройства и принципа
работы проектируемого приспособления
Данное приспособление предназначено для полной обработки четырёх
отверстий М14*1,5-6Н и двух пазов шириной 30мм на сверлильном станке с ЧПУ
2С150ПМФ4 различными видами инструмента. Приспособление устанавливается на стол
станка и ориентируется с помощью шпонок 8. Приспособления к столу станка
крепится болтами 9.
Принцип работы проектируемого приспособления состоит в следующем. Деталь
в приспособлении устанавливается на кольцо 4, торцевой поверхностью и на палец
3 внутренней цилиндрической поверхностью. Точность установки заготовки
обеспечивается втулкой 2. Втулка устанавливается в отверстие пальца Ø
20 с базированием в
детали по отверстию Ø 95. Зажим детали осуществляется при
помощи прихвата 5,зажимом гайки 12. Основной деталью приспособления, является
корпус 1. На корпусе 1, палец 3 фиксируется штифтами 14 и крепится при помощи
винтов 10, кольцо 4 фиксируется штифтами 15 и крепится винтами 10.
Рисунок 3 - Эскиз приспособления
3.1.2 Расчет приспособления на точность
Для определения допуска выполняемого размера анализируются размеры
обрабатываемой поверхности с целью выявления тех элементов поверхностей,
точность которых не обеспечивается инструментом, а зависит от приспособления.
Определяем погрешность изготовления приспособления Епр. согласно [ 1 ] и
рассчитываем по формуле:
Епр.≤ Т- Кт. √ (Кт1 * Еб.)2 + Е з 2 + Еу2 + Еи2 + Епи2 + (Кт2
* ω)2,(3.1)
где Т - допуск выполняемого размера, мм; Т = 0,22 мм
Еб - погрешность базирования, мм;
Е з - погрешность закрепления, мм;
Еу - погрешность установки приспособления на станке, мм;
Еи - погрешность положения делали из-за износа установочных элементов
приспособления, мм;
Епи - погрешность от перекоса инструмента, мм;
Кт = 1…1,2 - коэффициент, учитывающий отклонение рассеяния значения
значений составляющих величин, от закона нормального распределения;
Кт1 = 0,8…0,85 - коэффициент, учитывающий уменьшения предельного значения
погрешности базирования при работе на настроенных станках;
Кт2 = 0,6…0,8 - коэффициент, учитывающий долю погрешности обработки в
суммарной погрешности, вызываемой факторами, не зависящими от
приспособления, мм;
ω - экономическая точность обработки, мм.
ω по 10 квалитету точности, допуск на
размер 0,07 мм;
Определяем погрешность базирования Еб из геометрических построений по
формуле:
Еб = ТD 1 +2*е , (3.2)
ТD - допуск по диаметру, мм; ТD =0,22мм (табл. 74, стр.173)
е - допуск на расположение втулки, е =0,021мм;
Еб = 0,5*0,22 + 2*0,021 = 0,15 мм.
Определяем погрешность закрепления Е з.
Е з = 0,08мм (табл.76, стр.165)
Определяем погрешность установки приспособления на станке Еу мм.
Еу = δ L1 + 0,25 Σ S , (3.3)
Еу = 0,04 + 0,25*0,087 = 0,06 мм (табл 79, стр.171)
δ L1 - допуск на расположение координат штифтовых отверстий; δ
L1= 0,04 мм
Σ S - сумма максимальных зазоров между штифтами и отверстиями,
Определяем погрешность положения делали, из-за износа установочных
элементов приспособления Еи, мм.
Еи = U
= U0*k1*k2*k3*k4* (N/N0), (3.4)
0 = 40 мкм = 0,04 мм (табл. 81. стр.174)
k1 =
0,97; k2 = 1,25; k3 =0,94; k4 =
2,8; (табл. 82. стр.186)
U =
0,04*0,97*1,25*0,94*2,8 (5000/100000) = 0,0064 мм.
Еи = 0,0064 мм;
Определяем погрешность от перекоса инструмента Епи мм.
Епи = 0,05 мм; (ст.176)
Определяем расчетную погрешность изготовления приспособления Епр.
рассчитывая по упрощенной формуле:
Епр.≤ = 0,22 -1 √ (0,8*0,15)2+0,082+0,062+0,00642+0,052 +
(0,7*0,07)2 = 0,05
Епр = (0,2…0,3)*Т, (3.5)
Епр = 0,2*0,22 = 0,044
,044≤0,05
Таким образом, условие выполнено, данное приспособление обеспечит
необходимую точность.
.1.3 Расчет усилия зажима заготовки в приспособлении
Для определения усилия зажима заготовки составляют уравнение моментов из
условия равновесия заготовки под действием всех сил. Для этого вычерчивают
эскиз обработки. На нем изображают места приложения и направления сил,
действующих на заготовку в процессе обработки.
Рисунок4 - Схема действия сил на заготовку во время обработки
Для расчета усилия зажима заготовки в приспособлении буду использовать
справочник [1].
Сила закрепления для данной схемы определяется по формуле
W=КМ/fd,
(3.6)
Где К - коэффициент запаса,
М- крутящий момент Н, М=87,7Н;
d -
длина плеча, мм; d=0,02м;
f-
коэффициент трения в месте контакта заготовки с опорами, f= 0,45
Коэффициент запаса К, учитывающий нестабильность силовых воздействий на
заготовку, вводят при вычислении силы W для обеспечения надежного закрепления:
К=К0К1К2К3К4К5К6,
(3.7)
где К0=1,5 - гарантированный коэффициент запаса, (с.382);
К1 - учитывает увеличение силы резания из-за случайных неровностей на обрабатываемых поверхностях
заготовок,при черновой обработке К1=1,0 (с.382);
К2 - учитывает увеличение сил резания вследствии затупления
режущего инструмента (с.382,табл. 2).Принимаю при фрезеровании с осевой силой
К2=1,0.
К3 - учитывает увеличение силы резания при прерывистом резании. Если
резание не является прерывистым, то К3=1,0 (с.383).
К4 - характеризует постоянство силы, развиваемой ЗМ. Для ЗМ с
немеханизированным приводом К4=1,3(с.383)
К5 - характеризует эргономику немеханизированного ЗМ. При удобном
расположении рукоятки и малом угле ее поворота К5=1,0.
К6 - учитывают только при наличии моментов стремящихся повернуть
заготовку, установленную плоской поверхностью. При установке заготовки плоской
поверхностью на опорные штыри расположение точек контакта постоянное и К6=1,5.
Определяем коэффициент запаса исходя из выбранных его составляющих
К=1,5·1,0·1,0·1,0·1,3·1,0·1,5 = 2,9
Определяем усилие зажима
W=2,9*87,7/0,45*0,02=
28258 Н для двух прихватов
W= W/2=28258/2=14129Н для одного
Данное усилие зажима достаточно, для того чтобы противостоять силе
резания действующей на заготовку в процессе обработки
3.1.4 Расчет основных параметров зажимного
механизма
Зажимной механизм - совокупность зажимного элемента, простых
(промежуточных) элементов и приводов. Назначение зажимного механизма -
непосредственное воздействие на заготовку с целью ее прижима к опорам.
Усилие развиваемое рукой рабочего через винтовой механизм передается на
деталь. Преимуществом винтового механизма является: простота и компактность
конструкции, широкое использование стандартных деталей; удобство в наладке;
хорошая ремонтопригодность; возможность получать значительную силу закрепления
заготовок;большой ход нажимного винта, позволяющий надежно
закрепить заготовку со значительными отклонениями размеров. Расчет
винтового зажимного механизма, производим используя справочник [1].
Рисунок 5 - Схема усилия Г-образных прихватов
Q = (W - q)*(1 - 3*f*l/H), (3.8)
где W - прелагаемое усилие, H; W =14129 Н
l -
плечо приложения усилия прихвата, мм; l = 45 мм
f -
коэффициент трения в направляющих прихвата; f = 0,05
q -
усилие возвратной пружины, Н; q =
0,25 Н
H -
длина опорной поверхности направляющих прихвата, мм; H = 70 мм
Q =
(14129 - 0,25)*(1 - 3*0,05*45/70) = 12773 H = 12 kH
Номинальный диаметр резьбы определяется по формуле:
d = c*√W/[σр], (3.9)
где с - коэффициент для метрической резьбы, с = 1,4
[σр] - допускаемое напряжение материала, МПа; [σр] = 100 МПа
d = c*√W/[σр] = 1,4*√12773/100 = 17,7мм
По справочнику [ ], принимаю диаметр винта d = 18 мм
Момент затяжки определяем по формуле:
М = 0,5(Q + q)*(dcр*tg(αр + φ) + f*(D3н.т. - d3в.т)/(3(D2н.т. - d2в.т))), (3.10)
где f - коэффициент трения на торце гайки;
f = 0,1
φ - угол трения в резьбовой паре; φ
= 5°
αр - угол подъёма канавки прихвата; αр = 5°
D3н.т., d3в.т - соответственно наружный и
внутренний диаметры опорного торца гайки, мм; D3н.т. = 28 мм; d3в.т = 18 мм
q -
усилие возвратной пружины, Н; q =
0,25 Н
М = 0,5(12773 - 0,25)*(12*tg(5 + 5) + 0,1*(283н.т. - 183в.т)/(3(282н.т. - 182в.т))) = 14909 Н*мм
Длина дуги поворота прихвата:
S = П*dв.т*α/360
где α - угол поворота прихвата; α
= 90°
S = 3,14*12*90/360 = 10 мм
Подъём (опускание) прихвата при повороте
h = S*ctgψ
где ψ - угол поворота прихвата; ψ
= 35°
h =
10*ctg35°= 14 мм
3.1.5 Расчет на прочность деталей приспособления
Расчет на прочность детали в виде стержня круглого сечения, нагруженного
осевой силой, по допускаемым напряжениям растяжения(сжатия) осуществляется по
формуле:
σ=4 Р0/(Пd2)≤[ σ ], (3.11)
где σ - фактическое напряжение растяжения, МПа;
Р0 - расчетная осевая сила, Н; Р0 =7404,7Н
d -
диаметр опасного сечения, мм;
[ σ ] - допускаемое напряжение растяжения, [ σ ] = 80-100 МПа;
Определение необходимого размера опасного сечения производим по формуле:
d = √(4* Р0)/(П*[
σ ] , (3.12)
d = √(4*7404,7)/(3,14*90) = 10,2 мм
10,2мм
< 18мм
Так как полученные значения меньше принятых в конструкции приспособления,
то условие прочности выполняется.
3.2 Описание и расчёт контрольно
измерительного инструмента
Для контроля отверстия Ø93+0,22 при расточке отверстия на операции
060 применяется калибр-пробка. Данный контрольно-измерительный инструмент
предназначен для бесшкальной проверки отверстий Ø50-100мм и состоит из рукоятки и двух
вставок: проходной ПР и непроходной НЕ предназначенных для непосредственного
контроля. Проходная сторона пробки изготавливается по наименьшему предельному
размеру отверстия и должна входить в него. Если пробка не входит, то размер
отверстия меньше наименьшего предельного размера. Но этот брак исправим,
поскольку размер отверстия может быть увеличен последующей обработкой.
Номинальный размер для непроходной стороны является наибольший предельный
размер отверстия. Непроходная сторона не должна входить в отверстие, если она
входит в него это означает, что размер отверстия больше наибольшего
предельного, это означает, что изготовлен неисправимый брак.
Проходная вставка отличается большей длиной. Это делается для того, чтобы
пробка лучше центрировалась в проверяемом отверстии и не перекашивалась.
Непроходная сторона обычно короткая, поскольку она не входит в отверстие.
Расчет измерительного инструмента производим, используя методику [ 4 ].
Определяем размеры калибр-пробки; для контроля
отверстия диаметром
D = 93 мм с полем допуска Н11.
По ГОСТ 25347 -82 находим предельные отклонения
отверстия; они равны + 220 мкм и 0.
Следовательно, Dmax = 93,22 мм; Dmin =93,00 мм. По ГОСТ. 24853-81 находим допуски и предельные отклонения
калибров для IT11 в интервале 80...100 мм: Н =15
мкм; z = 28 мкм; у = 0 мкм.
По этим данным строим схему расположения полей
допусков калибр-пробки (рис. 6).
Наибольший размер новой проходной калибр-пробки
ПРmax = Dmin + z + Н/2, (3.13)
ПРmax
=93,00 + 0,028 +0,015/2 = 93,0355 мм.
Размер калибра ПР, проставляемый на чертеже, при
допуске на изготовление Н = 15 мкм равен 93,0355-0,015
Исполнительные размеры: наибольший 93,0355мм,
наименьший 93,0205мм
Наименьший размер изношенной проходной калибр-пробки
при допуске на износ у =0 мкм равен
ПРизн = Dmin-у
, (3.14)
ПРизн = 93,000-0 = 93,000 мм.
Наибольший размер новой непроходной калибр-пробки
НЕmах = Dmax + Н/2, (3.15)
НЕmах =
93,22 + 0,015/2 = 93,2275мм.
Размер калибра НЕ, проставляемый на чертеже, равен
,2275-0,015
Исполнительные размеры: наибольший 93,2275мм;
наименьший 93,2125мм.
Рисунок 6. Схема расположения полей допусков
калибр-пробки Ø93Н11
3.3 Описание и расчёт
режущего инструмента
Для обработки поверхности детали Втулка на 050 операции применяется
твердосплавный резец.
Резцы - один из самых распространенных видов инструмента. По назначению
они делятся проходные, отрезные, канавочные, расточные, фасонные, фасочные и др
.
Данный резец предназначен для проточки зарезьбовой
канавки выхода шлифовального круга.
Производим расчет резца согласно методике [ 20 ].
В качестве материала для державки резца выбираем углеродистую сталь 50 с Gв=650 МН/м2(65 кгс/мм2) и допускаемым
напряжением на изгиб Gид=250
МН/м2 ( 20 кгс/мм2).
Определяем ширину b поперечного сечения корпуса резца определяем по формуле:
при квадратном сечении:
=3√6*РZ*l/σИ. Д., (3.16)
где Рz -
главная составляющая силы резания, Н;
l - вылет резца, мм; l =40мм;
σИ. Д - допустимое напряжение при изгибе
материала корпуса, МПа;
для корпуса из незакаленной углеродистой стали аи. д =
200 ... 300 МПа;
РZ=9,81Cр*tх*Sy*Кр, (3.17)
где t - глубина резания, мм; t =5,2мм.
S -
подача инструмента при точении, мм/об; S=0,1мм/об.
х, y - показатели степени, х=0,72; y=0,8. (с.281, табл. 32)
Cр
-коэффициент, Cр =408; (с.281, табл. 32)
Кр= Кмр=( σВ / 750)n ,
(2.18)
σВ - предел прочности материала; σВ =1000
n-
показатель степени; n=0,75 (с.264,
табл. 9)
Кр= ( 1000 / 750)0,75 =1,2
РZ=9,81*408*5,20,72*0,10,8*1,2=2497Н
b=3√6*2497*40/250=13,4мм
Принимаем b=20мм
Максимальная нагрузка, допускаемая прочностью резца
при известных размерах сечения корпуса резца определяется по формуле:
РZ ДОП=
b*h2*σИ. Д /6*l,
(3.19)
b - ширина поперечного сечения корпуса резца, мм; b =20мм,
h - высота поперечного сечения корпуса резца, мм; h =20мм,
σИ. Д - допустимое напряжение при
изгибе материала корпуса, МПа;
для корпуса из незакаленной углеродистой стали аи. д =
200 ... 300 МПа;
l - вылет резца, мм; l =40мм;
РZ ДОП=
20*202*25/6*40=833,3Н
Максимальная нагрузка, допускаемая жесткостью резца,
определяется с учетом допустимой стрелы прогиба резца по формуле:
РZ
ЖЕСТ= 3*f*E*J/l3, (3.20)
где f-
допускаемая стрела прогиба резца при окончательном точении,
f = 0,05мм;
Е - модуль упругости материала резца (для углеродистой
стали
Е = 2*1011Па = 2*105МПа;
J - момент инерции сечения корпуса,
J=(В*Н3)/12, (3.21)
J=20*203/12=13333,33мм4
РZ
ЖЕСТ= 3*0,05*20000*13333,33/403=6250Н
l - расстояние от вершины резца до рассматриваемого (опасного)
сечения (вылет резца), мм, l
=40мм;
4. ЭКОНОМИЧЕСКИЙ РАЗДЕЛ
4.1 Организационная часть
.1.1 Исходные данные для
организационно-экономических расчётов
В состав исходных данных для расчёта экономической
части дипломного проекта должны входить:
. Тип производства - мелкосерийный.
. Годовая программа выпуска - 800шт.
. Перечень операций технологического процесса с
указанием норм времени по операциям.
. Перечень основного технологического оборудования с
указанием его стоимости и мощности.
. Общее снижение трудоемкости в результате
совершенствования техпроцесса.
. Масса заготовки - 4,7кг, масса детали - 2,1кг,
материал заготовки - сталь 40Х ГОСТ 4543-71
Дополнительные исходные данные берутся по
нормативно-справочной литературе, а также по базовому предприятию.
Исходные данные по двум вариантам технологического
процесса заносятся в таблицу 1.
Таблица 4.1- Исходные данные для выполнения
экономической части дипломного проекта
|
№ операции
|
Базовый технолог. процесс
|
Марка станка
|
Мощность станка, кВт
|
t шт-к, мин.
|
Раз- ряд работ
|
Проектир, техпроцесс
|
Марка станка
|
Мощ-нось станка
|
t шт.-к, мин.
|
Разряд работ
|
|
1
|
2
|
3
|
4
|
5
|
6
|
7
|
8
|
9
|
10
|
11
|
|
010
|
Вертикально-сверлильная
|
2Н135
|
4
|
14,83
|
4
|
Вертикально-сверлильная
|
2Н135
|
4
|
14,83
|
4
|
|
030
|
Токарно-винторезная
|
16К20
|
11
|
3,42
|
4
|
Токарно-винторезная
|
16К20
|
11
|
6,52
|
4
|
|
040
|
Токарно-винторезная
|
16К20
|
11
|
6,52
|
4
|
Токарно-винторезная
|
16К20
|
11
|
8,92
|
4
|
|
050
|
Токарно-винторезная
|
16К20
|
11
|
8,92
|
4
|
Токарная с ЧПУ
|
16А20Ф3С39
|
10
|
28,89
|
4
|
|
060
|
Токарная с ЧПУ
|
16А20Ф3С39
|
10
|
28,89
|
4
|
Токарная с ЧПУ
|
16А20Ф3С39
|
10
|
16,48
|
4
|
|
070
|
Токарная с ЧПУ
|
16А20Ф3
|
10
|
15,45
|
4
|
Вертикально-протяжная
|
7Б64
|
11
|
1,84
|
4
|
|
080
|
Токарная с ЧПУ
|
16А20Ф3С39
|
10
|
1,92
|
4
|
Вертикально-сверлильная
|
2Н125
|
2,8
|
1,71
|
4
|
|
090
|
Вертикально-протяжная
|
7Б64
|
11
|
1,84
|
4
|
|
|
|
|
|
|
100
|
Вертикально-сверлильная
|
2Н125
|
2,8
|
1,71
|
4
|
Сверлильная с ЧПУ
|
2С150ПМФ4
|
8
|
21,02
|
4
|
|
116
|
Сверлильная с ЧПУ
|
2С150ПМФ4
|
8
|
21,02
|
4
|
|
|
|
|
|
|
160
|
Торцешлифо вальная
|
3Т161Е
|
17,5
|
5,81
|
4
|
Торцешлифо вальная
|
3Т161Е
|
17,5
|
5,81
|
4
|
|
170
|
Круглошлифо вальная
|
3Е151
|
10
|
2,62
|
4
|
Круглошлифо вальная
|
3Е151
|
10
|
2,62
|
4
|
|
180
|
Токарная с ЧПУ
|
16А20 Ф3С39
|
10
|
6,93
|
4
|
Токарная с ЧПУ
|
16А20 Ф3С39
|
10
|
6,93
|
4
|
|
итого
|
|
|
126,3
|
119,9
|
|
|
|
105,3
|
115,6
|
|
|
|
|
|
|
|
|
|
|
|
|
|
|
|
|
|
|
|
Определяем сокращение времени обработки детали:
, (4.1)
где
Тшт.кБ и Ттш.кПр соответственно: штучно-калькуляционное время обработки детали
по базовому и проектному вариантам обработки.
Тшт.кБ=119,9мин
Ттш.кПр=115,6мин
Определяем
% снижения трудоемкости:
, (4.2)
Вывод:
Сокращение времени на обработку детали в проектируемом технологическом процессе
обусловлено совмещением операций и изменением профиля заготовки.
4.1.2 Расчет потребного количества оборудования
и коэффициента его загрузки. Построение графика загрузки оборудования
В данном типе производства расчет количества рабочих мест на участке
ведется по операциям на основе трудоемкости программы и эффективного годового
фонда времени работы одного станка по формуле:
, (4.3)
где
N - годовая программа выпуска деталей, шт.; N=
800шт
Tшт-к - штучно-калькуляционное время на i-ой операции, мин.;
F(q) -
действительный годовой фонд времени работы оборудования, ч.;
Квн i - коэффициент выполнения норм на i-ой операции (берется по данным
предприятия или ориентировочно можно принять 1,1-1,2).
принимаю
Sр010 = 1
Аналогично
производим расчёты по другим операциям. Данные заносим в таблицы 4.2.1, 4.2.2.
, (4.4)
где
Sпр i - принятое количество рабочих мест по i-ой
операции.
Аналогично производим расчёты по другим операциям.
Данные заносим в таблицы 4.2.1, 4.2.2.
Средний коэффициент загрузки участка определяем отношением суммы
расчетных станков к сумме принятых:
, (4.5)
где
m - количество операций.
Для
базового
Для
проектируемого
Коэффициент
занятости рассчитываем по формуле:
, (4.6)
где
Кн.з - коэффициент нормативной загрузки оборудования (принимается равным для
серийного производства 0,75-0,8).
Для
базового
Для
проектируемого
Для наглядности расчеты заносятся в таблицы 4.2.1, 4.2.2.
Таблица 4.2.1 - Расчет количества рабочих мест и их загрузки. Для
базового варианта
|
№ операции
|
Наименование операции
|
Марка станка
|
T шт-к, мин
|
Кол-во станков
|
Коэффиц. загрузки
|
|
|
|
|
расчетное
|
принятое
|
|
|
010
|
Вертикально-сверлильная
|
2Н135
|
14,83
|
0,091
|
1
|
0,091
|
|
030
|
Токарно-винторезная
|
16К20
|
3,42
|
0,052
|
1
|
0,052
|
|
040
|
Токарно-винторезная
|
16К20
|
6,52
|
0,04
|
1
|
0,04
|
|
050
|
Токарно-винторезная
|
16К20
|
8,92
|
0,056
|
1
|
0,056
|
|
060
|
Токарная с ЧПУ
|
16А20Ф3С39
|
28,89
|
0,18
|
1
|
0,18
|
|
070
|
Токарная с ЧПУ
|
16А20Ф3
|
15,45
|
0,095
|
1
|
0,095
|
|
080
|
Токарная с ЧПУ
|
16А20Ф3С39
|
1,92
|
0,013
|
1
|
0,013
|
|
090
|
Вертикально-протяжная
|
7Б64
|
1,84
|
0,012
|
1
|
0,012
|
|
100
|
Вертикально-сверлильная
|
2Н125
|
1,71
|
0,011
|
1
|
0,011
|
|
116
|
Сверлильная с ЧПУ
|
2С150ПМФ4
|
21,02
|
0,013
|
1
|
0,013
|
|
160
|
Торцешлифо вальная
|
3Т161Е
|
5,81
|
0,036
|
1
|
0,036
|
|
170
|
Круглошлифо вальная
|
3Е151
|
2,62
|
0,016
|
1
|
0,016
|
|
180
|
Токарная с ЧПУ
|
16А20Ф3С39
|
6,93
|
0,043
|
1
|
0,043
|
|
ИТОГО
|
|
|
119,9
|
0,744
|
13
|
|
Таблица 4.2.2 - Расчет количества рабочих мест и их загрузки. Для
проектного варианта
|
№ операции
|
Наименование операции
|
Марка станка
|
T шт-к, мин
|
Кол-во станков
|
Коэффиц. загрузки
|
|
|
|
|
расчетное
|
принятое
|
|
|
010
|
Вертикально-сверлильная
|
2Н135
|
14,83
|
0,091
|
1
|
0,091
|
|
030
|
Токарно-винторезная
|
16К20
|
6,52
|
0,04
|
1
|
0,04
|
|
040
|
Токарно-винторезная
|
16К20
|
8,92
|
0,056
|
1
|
0,056
|
|
050
|
Токарная с ЧПУ
|
16А20Ф3С39
|
28,89
|
0,18
|
1
|
0,18
|
|
060
|
Токарная с ЧПУ
|
16А20Ф3С39
|
16,48
|
0,103
|
1
|
0,103
|
|
070
|
Вертикально-протяжная
|
7Б64
|
1,84
|
0,012
|
1
|
0,012
|
|
080
|
Вертикально-сверлильная
|
2Н125
|
1,71
|
0,011
|
1
|
0,011
|
|
100
|
Сверлильная с ЧПУ
|
2С150ПМФ4
|
21,02
|
0,013
|
1
|
0,013
|
|
160
|
Торцешлифо вальная
|
3Т161Е
|
5,81
|
0,036
|
1
|
0,036
|
|
170
|
Круглошлифо вальная
|
3Е151
|
2,62
|
0,016
|
1
|
0,016
|
|
180
|
Токарная с ЧПУ
|
16А20Ф3С39
|
6,93
|
0,043
|
1
|
0,043
|
|
ИТОГО
|
|
|
115,6
|
0,72
|
11
|
|
Составляем «Ведомость оборудования», где помещаем данные о принятом на
участке основном технологическом оборудовании.
Таблица 4.3.1 - Ведомость оборудования. Для базового варианта
|
Тип и модель станка
|
Габариты
|
Кол-во станков
|
Мощность, кВт
|
Балансовая стоимость, тыс.
руб.
|
|
|
|
1 станка
|
Всего
|
|
|
|
|
|
|
1 станка
|
Всего
|
|
Вертикально-сверлильный
|
1030х 825
|
1
|
4
|
4
|
38700
|
38700
|
|
Токарно-винторезный
|
1505х 1190
|
3
|
11
|
33
|
35690
|
107070
|
|
Токарный с ЧПУ
|
3360х 1710
|
4
|
10
|
40
|
70842
|
283368
|
|
Вертикально-протяжной
|
2875х 1350
|
1
|
11
|
11
|
41860
|
41860
|
|
Вертикально-сверлильный
|
1950х 1650
|
1
|
2,8
|
2,8
|
40700
|
40700
|
|
Сверлильный с ЧПУ
|
3100х 2800
|
1
|
8
|
8
|
61275
|
61275
|
|
Торцешлифовальный
|
3400х 2170
|
1
|
17,5
|
17,5
|
38800
|
38800
|
|
Круглошлифовальный
|
4975х 2241
|
1
|
10
|
10
|
34830
|
34830
|
|
итого
|
|
13
|
|
126,3
|
|
646603
|
Таблица 4.3.2 - Ведомость оборудования. Для проектируемого варианта
|
Тип и модель станка
|
Габариты
|
Кол-во станков
|
Мощность, кВт
|
Балансовая стоимость, тыс.
руб.
|
|
|
|
1 станка
|
Всего
|
|
|
|
|
|
|
1 станка
|
Всего
|
|
Вертикально-сверлильный
|
1030х 825
|
1
|
4
|
4
|
38700
|
38700
|
|
Токарно-винторезный
|
1505х 1190
|
2
|
11
|
22
|
35690
|
71380
|
|
Токарный с ЧПУ
|
3360х 1710
|
3
|
10
|
30
|
70842
|
212526
|
|
Вертикально-протяжной
|
2875х 1350
|
1
|
11
|
11
|
41860
|
41860
|
|
Вертикально-сверлильный
|
1950х 1650
|
1
|
2,8
|
2,8
|
40700
|
40700
|
|
Сверлильный с ЧПУ
|
3100х 2800
|
1
|
8
|
8
|
61275
|
61275
|
|
Торцешлифовальный
|
3400х 2170
|
1
|
17,5
|
17,5
|
38800
|
38800
|
|
Круглошлифовальный
|
4975х 2241
|
1
|
10
|
10
|
34830
|
34830
|
|
итого
|
|
13
|
|
105,3
|
|
540071
Кз
|
|
|
|
|
|
|
|
|
|
|
|
|
|
2Н135
|
16К20
|
16К20
|
16К20
|
16А20Ф3С39
|
16А20Ф3С39
|
16А20Ф3С39
|
7Б64
|
2Н125
|
2С150ПМФ4
|
3Т161Е
|
3Е151
|
16А20Ф3С39
|
Рисунок-7. График загрузки оборудования, для базового
технологического процесса.
Кз
|
|
|
|
|
|
|
|
|
|
|
|
2Н135
|
16К20
|
16К20
|
16А20Ф3С39
|
16А20Ф3С39
|
7Б64
|
2Н125
|
2С150ПМФ4
|
3Т161Е
|
3Е151
|
16А20Ф3С39
|
Рисунок-8. График загрузки оборудования, для
проектируемого технологического процесса.
Вывод: Загрузка рабочих мест неполная, поэтому нужно производить их
дозагрузку.
4.1.3 Расчет численности
работающих на участке
Для данного вида производства расчет численности
производственных рабочих (Ч) производиться по каждой операции исходя из
трудоемкости работ за год и с учетом многостаночного обслуживания по формуле:
,
(4.7)
где
Fдр - действительный годовой фонд времени одного
рабочего, ч; Fдр 1950ч.
Кв
- планируемый коэффициент выполнения норм (Кв.н. = 1);
Sм - коэффициент
многостаночности.
Таблица
4.4.1 - Расчет численности производственных рабочих. Для базового варианта
№
опер. Кол-во станков, пр. Профессия рабочего Разряд часSмFдр
|
часЧисленность
|
|
|
|
|
|
|
|
|
|
|
|
Чрасч
|
Чпр
|
|
1
|
2
|
3
|
4
|
5
|
6
|
7
|
8
|
9
|
|
010
|
1
|
сверловщик
|
4
|
197,7
|
1
|
1820
|
0,1
|
1
|
|
030
|
1
|
токарь
|
4
|
45,6
|
1
|
1820
|
0,023
|
1
|
|
040
|
1
|
токарь
|
4
|
86,9
|
1
|
1820
|
0,044
|
1
|
|
050
|
1
|
токарь
|
4
|
118,9
|
1
|
1820
|
0,061
|
1
|
|
060
|
1
|
оператор станков с ЧПУ
|
4
|
385,2
|
1
|
1820
|
0,198
|
1
|
|
070
|
1
|
оператор станков с ЧПУ
|
4
|
206
|
1
|
1820
|
0,105
|
1
|
|
080
|
1
|
оператор станков с ЧПУ
|
4
|
25,6
|
1
|
1820
|
0,014
|
1
|
|
090
|
1
|
протяжник
|
4
|
24,5
|
1
|
1820
|
0,013
|
1
|
|
100
|
1
|
сверловщик
|
4
|
22,8
|
1
|
1820
|
0,012
|
1
|
|
116
|
1
|
оператор станков с ЧПУ
|
4
|
280,27
|
1
|
1820
|
0,144
|
1
|
|
160
|
1
|
шлифовщик
|
4
|
77,5
|
1
|
1820
|
0,04
|
1
|
|
170
|
1
|
шлифовщик
|
4
|
34,9
|
1
|
1820
|
0,018
|
1
|
|
180
|
1
|
оператор станков с ЧПУ
|
4
|
92,4
|
1
|
1820
|
0,047
|
1
|
|
Итого
|
|
|
|
1598,3
|
|
|
0,819
|
13
|
Таблица 4.4.2 - Расчет численности производственных рабочих. Для
проектируемого варианта
№
опер. Кол-во станков, пр. Профессия рабочего Разряд часSмFдр
|
часЧисленность
|
|
|
|
|
|
|
|
|
|
|
|
Чрасч
|
Чпр
|
|
1
|
2
|
3
|
4
|
5
|
6
|
7
|
8
|
9
|
|
010
|
1
|
сверловщик
|
4
|
197,7
|
1
|
1820
|
0,1
|
1
|
|
030
|
1
|
токарь
|
4
|
86,9
|
1
|
1820
|
0,044
|
1
|
|
040
|
1
|
токарь
|
4
|
118,9
|
1
|
1820
|
0,061
|
1
|
|
050
|
1
|
оператор станков с ЧПУ
|
4
|
385,2
|
1
|
1820
|
0,198
|
1
|
|
060
|
1
|
оператор станков с ЧПУ
|
4
|
219,9
|
1
|
1820
|
0,113
|
1
|
|
070
|
1
|
протяжник
|
4
|
24,5
|
1
|
1820
|
0,013
|
1
|
|
080
|
1
|
сверловщик
|
4
|
22,8
|
1
|
1820
|
0,012
|
1
|
|
100
|
1
|
оператор станков с ЧПУ
|
4
|
280,27
|
1
|
1820
|
0,144
|
1
|
|
160
|
1
|
шлифовщик
|
4
|
77,5
|
1
|
1820
|
0,04
|
1
|
|
170
|
1
|
шлифовщик
|
4
|
34,9
|
1
|
1820
|
0,018
|
1
|
|
180
|
1
|
оператор станков с ЧПУ
|
4
|
92,4
|
1
|
1820
|
0,047
|
1
|
|
Итого
|
|
|
|
1541
|
|
|
0,79
|
11
|
4.2 Экономическая часть
4.2.1 Расчет фонда заработной платы
промышленно-производственного персонала участка по категориям работающих
Фонд заработной платы производственных рабочих состоит из основной и
дополнительной заработной платы.
, (4.8)
Годовой фонд основной заработной платы определяется по формуле:
,
(4.9)
где
ЗПо - основная заработная плата на деталь, руб.;
N - годовая
программа выпуска деталей, шт; N =4000шт.
,
(4.10)
где
ЗПтар - заработная плата по тарифу за одну деталь (без учета доплат по
прогрессивно-премиальным системам), руб.;
Кмн
i - коэффициент, учитывающий многостаночное обслуживание.
hпр - коэффициент,
учитывающий премии и доплаты к тарифному фонду. Учащимся рекомендуется принять
принимать -1,4;
Ср
i - сдельная расценка на i-ую операцию,
руб.
Расчет сдельных расценок по каждой операции техпроцесса и в целом на
деталь осуществляется по формуле:
,
(4.11)
где
Тстi - часовая тарифная ставка i-го разряда; Тстi =1060руб 1-го разряда.
Аналогично
производим расчёты по другим операциям.
Для
базового
Для
проектируемого
Для
базового
Для
проектируемого
Размер
дополнительной зарплаты устанавливается в процентах от основной, в среднем
10-15%
, (4.12)
Для
базового
Для
проектируемого
Годовой
общий фонд зарплаты.
Для
базового
Для
проектируемого
Размер
премии от прибыли, учитываемый при расчете среднемесячного заработка рабочего определяется
по формуле:
,
(4.13)
где
n- процент премии - 25%
Для
базового
Для
проектируемого
Среднемесячная
зарплата основного рабочего определяется:
,
(4.14)
где
SЧрасч - численность основных рабочих по расчету
Для
базового
Для
проектируемого
Расчет
фонда зарплаты вспомогательных рабочих (повременщиков) осуществляется в
следующей последовательности.
1. Годовой тарифный фонд зарплаты:
,
(4.15)
где Тст - часовая тарифная ставка рабочего-повременщика в соответствии с
его разрядом, руб.; Тст =1060руб 1-го разряда
Fg - действительный годовой фонд времени одного рабочего, ч.; Fg =1950ч
Чпр i -
численность вспомогательных рабочих данного тарифного разряда;
Чпр i =3
m - число разновидностей тарифных ставок.
Для
базового
Для
проектируемого
.
Годовой фонд основной зарплаты:
,
(4.16)
hпр - для
вспомогательных рабочих равен 1,2-1,3.
.
Годовой фонд дополнительной зарплаты:
2. Годовой общий фонд зарплаты.
Премии из прибыли и расчет среднемесячной зарплаты
одного вспомогательного рабочего определяем аналогично, как и для
производственного рабочего.
Для
базового
Для
проектируемого 
Внедрение и производство новых технологических процессов как правило,
сопровождается инвестированием капитала. Под инвестициями следует понимать
долгосрочное вложение с целью получения прибыли. Размер инвестиций должен
включать единовременные капитальные вложения в основные фонды
машиностроительного предприятия и нормированную величину оборотных средств.
, (4.18)
где
Ко.ф. - капитальные вложения в основные фонды, тыс. руб.;
Но.с.
- норматив оборотных средств на годовую программу выпуска данного вида
продукции, тыс. руб.
В
общем случае величина капитальных вложений включает следующие составляющие, в
тыс. руб.:
            ,
(4.19)
где
Кзд - капиталовложения в здания (стоимость площадей);
Коб
- капиталовложения в рабочие машины и оборудование;
Ктр
- капиталовложения в транспортные средства;
Кинс
- капиталовложения в инструмент;
Кинс
- капиталовложения в инвентарь;
Ксоп
- сопутствующие капиталовложения.
Величину
капитальных вложений в производственную площадь для размещения оборудования
проектируемого технологического процесса можно определить по формуле:
, (4.20)
где
Sj - площадь, приходящаяся на единицу оборудования j-го
наименования, кв.м.;
Sпрj - принятое
количество единиц оборудования, шт.;
Цпр
- стоимость одного квадратного метра производственной площади, тыс. руб; Цпр
=430 тыс. руб.
Производственная площадь занята основными рабочими местами, проходами,
проездами
,
(4.21)
где
S1 - удельная площадь на единицу оборудования, м2.
Определяется умножением длины на ширину станка.
S2 - удельная
площадь на проходы, проезды на единицу оборудования, м2;
Для
базового
Для
проектируемого
Капитальные вложения в технологическое оборудование рассчитываем исходя
из его количества по операциям и цене, по формуле:
, (4.22)
где
Цj - свободная отпускная цена единицы оборудования j-го
наименования, тыс. руб.;
Ат
- коэффициент, учитывающий транспортные расходы
(Ат
= 0,02 ÷
0,05);
Ам
- коэффициент, учитывающий затраты на монтаж оборудования
(Ам
= 0,02 ÷
0,05).
Таблица 4.5.1 -Капитальные вложения. Для базового
варианта
|
№ п/п
|
Группа основных фондов
|
Порядок расчета
|
Норма амортизации, %
|
Балансовая стоимость, тыс.
руб.
|
Сумма амортизации, тыс.
руб.
|
|
1. 2. 3. 4.
|
Здания Рабочие машины Транспортные
средства Производственный инвентарь
|
см. формулу 4.22 см.
формулу 4.23 10% от раб. маш. 2% от раб. маш.
|
3,2 11,6 20 11
|
56847 686399,2 68639,9
13728
|
1819,1 79622 13728 1510,1
|
|
ИТОГО:
|
|
|
846206,1
|
99973,9
|
Таблица 4.5.2 -Капитальные вложения. Для проектируемого
варианта
|
№ п/п
|
Группа основных фондов
|
Порядок расчета
|
Норма амортизации, %
|
Балансовая стоимость, тыс.
руб.
|
Сумма амортизации, тыс.
руб.
|
|
1. 2. 3. 4.
|
Здания Рабочие машины
Транспортные средства Производственный инвентарь
|
см. формулу 4.22 см. формулу
4.23 10% от раб. маш. 2% от раб. маш.
|
3,2 11,6 20 11
|
48162,5 572475,3 57247,5
11449,5
|
1541,2 66407,1 11449,5
1259,5
|
|
ИТОГО:
|
|
|
706509,1
|
83405,2
|
Стоимость основных материалов в расчете на одно
изделие рассчитываем по формуле:
, (4.23)
где
nm - количество видов материала, используемых в
изготавливаемом изделии;
Нм
i- норма расхода материала i-го вида на одно изделие, кг;
Цо.
м i - цена основного материала i-го вида за 1 кг, тыс. руб.;
Кт.з.
- коэффициент учитывающий транспортно-заготовительные расходы (1,05-1,08).
Стоимость
вспомогательных материалов в расчете на одно изделие принимаем укрупнено в
размере 0,5-1% от стоимости основных материалов.
Для
базового
Для
проектируемого
Для
базового
Для
проектируемого
Общая
сумма оборотных средств на годовую программу выпуска изделий рассчитывается по
формуле:
,
(4.24)
где
Зэ - затраты электроэнергии на технологические цели, определяются по формуле:
, (4.25)
где Руст - суммарная установленная мощность
электромоторов на участке, в цехе, на предприятии, кВт;
Fз - эффективный (полезный) фонд времени работы потребителей
электроэнергии за планируемый (расчетный) период (месяц, квартал, год), ч;
Fз =1950ч.з - коэффициент загрузки потребителей
электроэнергии;
ko - коэффициент одновременности работы потребителей
электроэнергии;
ko =0,7
kc - коэффициент полезного действия питающей электрической
сети; kc =0,85
hg - коэффициент полезного действия установленных
электромоторов;
hg =0,95
Ц Э - цена электроэнергии; Ц Э =112руб.
Для
базового ,
Для
проектируемого
Таблица 4.6 - Величина инвестиций.
|
Наименование инвестиций
|
Для базового варианта
|
Для проектного варианта
|
|
1
|
2
|
3
|
|
1. Здания и сооружения,
тыс. руб. 2. Рабочие машины и оборудование, тыс. руб. 3. Транспортные
средства, тыс. руб. 4. Технологическая оснастка, тыс. руб. 5.
Производственный инвентарь, тыс. руб. 6. ИТОГО основных фондов 7. Стоимость
основных фондов с учетом коэффициента занятости, тыс. руб. 8. Оборотные средства,
тыс. руб. Инвестиции, тыс. руб.
|
56847 686399,2 68639,9
20592 13728 846206,1 64311,7 13322 77633,7
|
48162,5 572475,3 57247,5
17174,3 11449,5 706509,1 61466,3 11957,6 73424
|
Вывод: Наибольшему инвестированию подлежат рабочие
машины и оборудование.
2.3 Расчет себестоимости
продукции
Себестоимость продукции представляет сумму затрат предприятия на ее
производство и реализацию. Расчет себестоимости производим по калькуляционным
статьям расходов:
. Расчет затрат на материалы за минусом возвратных отходов. Расчет затрат
на материалы был произведен выше. Учет стоимости возвратных отходов
производится следующим образом:
,
(4.26)
где
Мо.м. - количество реализуемого отхода материал при изготовлении единицы
продукции, кг/шт;
Цо
- цена отходов материал, тыс. руб./кг; Цо =250 руб./кг
Для
базового
Для
проектируемого
.
Топливо и энергия на технологические цели.
Для
базового
Для
проектируемого
.
Расчет основной заработной платы производственных рабочих.
Величина основной заработной платы рабочих, занятых на технологических
операциях, на единицу продукции определяется на основе трудоемкости работ (см.
формулу 4,18).
1. Расчет дополнительной заработной платы.
Дополнительная заработная плата рабочих, занятых на технологических
операциях определяется в процентах от основной.
,
(4.27)
где
g - процент дополнительной заработной платы от
основной; g =10-15%
Для
базового
Для
проектируемого
Таблица
4.7- Калькуляция себестоимости единицы продукции
|
Статьи расходов
|
Для базового варианта, руб.
|
Для проектного варианта,
руб.
|
|
1
|
2
|
3
|
|
1 Сырье и материалы за
минусом возвратных отходов. 2 Топливо и энергия на технологические цели. 3
Основная заработная плата производственных рабочих. 4 Дополнительная
заработная плата производственных рабочих.
|
13005 1494,5 3040 456
|
11805 1246 2969 445
|
|
5 Отчисления: - на
социальное страхование. 6 Возмещение износа инструментов и приспособлений. 7
Общие производственные расходы.
|
1230,6 2584 10336
|
1201,7 2523,7 10094
|
|
ИТОГО цеховая себестоимость
|
32146,1
|
30283,7
|
|
8 Общезаводские расходы
|
3952
|
3859,7
|
|
ИТОГО производственная
себестоимость
|
36098,1
|
34143,4
|
|
9 Коммерческие расходы
|
3970,8
|
3755,8
|
|
ИТОГО полная себестоимость
|
40068,9
|
37899,2
|
В условиях рыночных отношений успех в конкурентной борьбе
и устойчивое финансовое состояние предприятия в значительной мере обусловлены
возможностью обеспечения уровня издержек не выше среднеотраслевого.
4.3 Результирующая часть
.3.1 Основные параметры и
оценка эффективности проектного варианта
Рентабельность изделия берем в соответствии с интервалом 13-20%.
Отпускная цена предприятия определяется по формуле:
, (4.28)
где
С - полная себестоимость изделия, руб.; С =37899,2руб.
П
- прибыль, руб.;
ННП
- налоги и неналоговые платежи предприятия, руб.
Прибыли
определяется по формуле
, (4.29)
где
Р - рентабельность, %
П - прибыль, руб.
Налоги
и неналоговые платежи предприятия:
налог
на добавленную стоимость;
единый
налог.
,
(4.30)
где
nед - ставка налога, %; nед =3,5%
Цена
без НДС определяется:
Цбез
НДС = С+П+ОТЧед , (4.31)
Цбез
НДС = 37899,2+5684,9+1580,8=45164,8руб.
Определяем
НДС:
НДС=
Цбез НДС х 18% , (4.32)
НДС=
45164,8*18% =8129,7руб.
Отпускная
цена:
Цотп
= Цбез НДС + НДС , (4.33)
Цотп
= 45164,8 +8129,7=53294,5руб.
Определяем
выручку от реализации:
,
(4.34)
В=53294,5*800=42635581руб.
Определяем
прибыль от реализации:
, (4.35)
где
З - затраты на производство и реализацию, руб.
(4.36)
З=37899,2*800=30319360руб.
Определяем
балансовую прибыль:
=4547821руб. (4.37)
Определяем
чистую прибыль по формуле:
, (4.38)
где
НН - налог на недвижимость, руб.;
НП
- налог на прибыль, руб.
Налог
на недвижимость определяем:
, (4.39)
где
Nнн - ставка налога на недвижимость, %; Nнн
=1%
Со
- остаточная стоимость, тыс. руб. Со =623103,9тыс. руб.
Налог
на прибыль определяем по формуле:
,
(4.40)
где
ОП - облагаемая прибыль, руб.;нп - ставка налога на прибыль, %; nнп =24%
Облагаемая
прибыль определяется:
, (4.41)
ОП=4547821-405000=4142821руб.
ЧП=4547821-405000-994277=3148544руб.
Определяем
рентабельность производства:
а)
общую;
б)
расчетную.
Рентабельность
общая:
, (4.42)
Рентабельность
расчетная:
, (4.43)
Годовая производительность труда определяется по формуле:
, (4.44)
где
Q - годовой объем выпуска продукции в стоимостном выражении, тыс. руб; Q
=42635,6тыс. руб.
чраб
- численность работающих, чел; чраб =14чел.
Фондоотдача
и фондоемкость являются показателями, характеризующими эффективность
использования основных средств предприятия.
Фондоотдача рассчитывается по формуле:
, (4.45)
где
Ко. ф. - стоимость основных фондов (с учетом коэффициента занятости), тыс. руб;
Ко. ф. =61466,3тыс. руб.
,
(4.46)
Затраты
на 1 рубль товарной продукции определяются :
, (4.47)
Так как произведенным расчетам производство данной детали является
самоокупаемым и приносит прибыль, то производство данной детали является
целесообразным.
4.3.2 Расчет показателей
экономической эффективности изменения базового техпроцесса
В результате изменения базового техпроцесса можем рассчитать следующие
экономические показатели.
. Рост производительности труда за счет снижения трудоемкости:
, (4.48)
где
Тшт.-к - снижение трудоемкости, %;
.
Условное высвобождение рабочих, чел:
, (4.49)
.
Снижение себестоимости продукции, %:
, (4.50)
.
Экономия энергозатрат:
Ээн
= (М1 - М2)*N*Цэ (4.51)
Где
М1 - потребляемая мощность по базовому варианту, кВт; М1 =126,3кВт
М2
- потребляемая мощность по проектируемому варианту, кВт;
М2
=105,3кВт
Ээн
=(126,3-105,3)*800*112=1881600руб.
.
Условно-годовая экономия:
, (4.52)
(40068,9-37899,2)*800=1735760руб
.
Годовой экономический эффект.
Годовой экономический эффект, характеризующий дополнительную прибыль от
инвестирования средств в данный вариант в сравнении с вариантом, принятым за
базовый, можно рассчитать по формуле:
, (4.53)
где
Рб - рентабельность инвестиций по чистой прибыли в базовом варианте, в
десятичном виде, руб.
Э=3148544-0,15*73424000*0,065=2432660
руб.
Таблица
4.8- Технико-экономические показатели проекта
|
№ п/п
|
Наименование показателей
|
Ед. изм.
|
Для базового варианта
|
Для проектного варианта
|
|
1
|
2
|
3
|
4
|
5
|
|
1
|
ВЫПУСК ПРОДУКЦИИ
|
|
|
|
|
1.1
|
Годовая программа
|
шт.
|
800
|
800
|
|
1.2
|
Годовая программа
|
н-ч
|
9592
|
9248
|
|
1.3
|
Себестоимость годового
выпуска
|
тыс. руб.
|
32055,1
|
30319,4
|
|
2
|
ОБОРУДОВАНИЕ И
ПРОИЗВОДСТВЕННАЯ ПЛОЩАДЬ
|
|
|
|
|
2.1
|
Количество установленного
оборудования
|
шт.
|
13
|
11
|
|
2.2
|
Средний процент загрузки
(без дозагрузки)
|
%
|
5,7
|
6,5
|
|
2.3
|
Балансовая стоимость
оборудования
|
тыс. руб.
|
686399,2
|
572475,3
|
|
2.4
|
Средняя стоимость единицы
оборудования
|
тыс. руб.
|
49738,7
|
49097,4
|
|
2.5
|
Мощность станочного парка
|
кВт
|
126,3
|
105,3
|
|
2.6
|
Производственная площадь
участка
|
м2
|
131,25
|
111,2
|
|
2.7
|
Стоимость основных фондов
|
тыс. руб.
|
846206,1
|
706509,1
|
|
2.8
|
Инвестиции
|
тыс. руб.
|
77633,7
|
73424
|
|
3
|
ТРУД
|
|
|
|
|
3.1
|
Количество работающих на
участке: - основные рабочие - вспомогательные рабочие
|
чел. чел. чел.
|
13 3
|
11 3
|
|
3.2
|
Средний разряд основных
рабочих
|
|
4
|
4
|
|
3.3
|
Показатели
производительности труда: - выработка в н. ч. - выработка в стоимостном
выражении
|
н.-ч. тыс. руб.
|
1820 2432
|
|
3.4
|
Среднемесячная заработная
плата: - основные рабочие - вспомогательные рабочие
|
тыс. руб. тыс. руб.
|
346,4 524,1
|
350,8 619,5
|
|
4
|
СЕБЕСТОИМОСТЬ
|
|
|
|
|
4.1
|
Цеховая себестоимость
детали
|
тыс. руб.
|
32146,1
|
30283,7
|
|
4.2
|
Заводская
(производственная) себестоимость
|
тыс. руб.
|
36098,1
|
34143,4
|
|
4.3
|
Полная себестоимость
|
тыс. руб.
|
40068,9
|
37899,2
|
|
5
|
ПОКАЗАТЕЛИ ЭКОНОМИЧЕСКОЙ
ЭФФЕКТИВНОСТИ
|
|
|
|
5.1
|
Снижение трудоемкости: -
абсолютное относительное
|
мин. %
|
4,3 3,6
|
|
5.2
|
Снижение себестоимости
продукции: - абсолютное - относительное
|
тыс. руб. %
|
2,2 5,4
|
|
5.3
|
Снижение энергозатрат
|
тыс. руб.
|
1881,6
|
|
5.4
|
Рост производительности
труда
|
%
|
4,5
|
|
5.5
|
Условно-годовая экономия
|
тыс. руб.
|
1735,8
|
|
5.6
|
Экономический эффект
|
тыс. руб.
|
2432,7
|
5. ОРГАНИЗАЦМОННЫЙ РАЗДЕЛ
5.1 Проектирование плана
участка механического цеха
Графическим документом, определяющим размещение
подразделений предприятия и средств производства, служит технологическая
планировка. Она представляет собой план расположения оборудования, рабочих
мест, подъёмно-транспортных средств, мест складирования материалов и заготовок,
вспомогательных помещений, проходов и проездов, магистральных подводов,
стружкоуборочных конвейеров, мест сборки стружки, рабочих мест мастера,
работников контроля.
Проектирование участка осуществляется на основе
рекомендаций [ ].
Исходными данными для проектирования являются: годовая
программа выпусков деталей, тип производства и технологический процесс
изготовления деталей.
Сетку колонн цеха принимаем 18×12
м. Вначале определяем
ширину машиностроительных проездов ограничивающих длину участка с одной
стороны. Вдоль проезда предусматриваем проходы.
Длину участка принимаем кратной шагу колонн, ширину
пролета из условия возможности рационального размещения кратного числа рядов
технологического оборудования.
Похожие работы на - Вопрос изменения базового технологического процесса обработки детали 'Фланец' с использованием современного высокопроизводительного оборудования
|