Використання біоетанолу як альтернативного виду палива

  • Вид работы:
    Курсовая работа (т)
  • Предмет:
    Другое
  • Язык:
    Украинский
    ,
    Формат файла:
    MS Word
    953,05 Кб
  • Опубликовано:
    2013-04-10
Вы можете узнать стоимость помощи в написании студенческой работы.
Помощь в написании работы, которую точно примут!

Використання біоетанолу як альтернативного виду палива

Зміст

Вступ

.        Основні характеристики біоетанолу

.        Методи отримання біоетанолу

.1      Гідратація етилену

.2      Спиртове зброджування

.3      Гідроліз целюлозовмісної сировини

.4      Обґрунтування можливості застосування первапорації

.        Продуценти біоетанолу

.1      Отримання біоетанолу з біомаси фототрофних м/о під дією біокаталізаторів

.        Світова паливна криза

.1      Паливна криза 2000, 2004, 2005 років

.2      Паливна криза 2007, 2008, 2009 років

.3      Паливна криза сьогодення

.        Перспективи використання та напрямки виробництва біоетанолу в Україні

Висновки

Список використаних джерел


Вступ

На тлі активного обговорення наслідків техногенних катастроф на атомних електростанціях, що мали місце в Україні та Японії, та в умовах неухильного зростання цін на нафту і нафтопродукти, у світі дедалі більший інтерес проявляється до відновлювальних джерел енергії, зокрема біопального.

Пошук шляхів отримання недорогих видів біопалива та безпечного їх використання зумовлений низкою причин:

         Різке зниження викопних вуглеводнів, що разом із щораз більшими темпами споживання пального може призвести до їх вичерпання в найближчому часі;

         Необхідність радикального вирішення проблеми зниження токсичності двигунів внутрішнього згорання автотранспортних засобів і, як наслідок, очищення атмосферного повітря, особливо у великих містах та мегаполісах.

Так як застосування нових надпотужних джерел енергії (водень, пряме перетворення сонячної енергії в електричну, термоядерний синтез) поки досить проблематичне і водночас економічно не привабливе, особливо за широкомасштабного використання, то найближчим часом альтернативи рідкому паливу для автотранспорту немає. З цих причин актуальним є використання альтернативних видів палива, зокрема, біоетанолу.


1.      Основні характеристики біоетанолу

Біоетанол - це рідке спиртове паливо, яке виробляється з сільськогосподарської продукції, що містить крохмаль та цукор, наприклад, із кукурудзи, зернових або цукрової тростини. На відміну від спирту, з якого виготовляються алкогольні напої, паливний етанол не містить води та виготовляється шляхом скороченої дистиляції (дві ректифікаційні колони, замість п’яти) тому містить ще метанол та сивушні масла, а також бензин, що робить його не придатним для пиття.

Відповідно до Директиви Ради 2003/30 ЄС Європейського парламенту та Ради від 8 травня 2003 року про використання біопалива або іншого відновлювального палива для транспорту: Біоетанол - це спирт етиловий зневоднений, виготовлений з біомаси або спирту етилового-сирцю для використання як біопалива. Він призначений для виготовлення палива моторного сумішевого або добавок на основі біоетанолу - біокомпонентів моторного палива, отриманих шляхом синтезу із застосуванням біоетанолу або змішуванням біоетанолу з органічними сполуками та паливом, одержаним з вуглеводної сировини, в яких вміст біоетанолу відповідає вимогам нормативних документів та які належать до біопалива.

За результатами статичних напрацювань підприємств спиртової промисловості та науковців УкрНДІспиртбіопроду, фізико-хімічні показники біоетанолу унормовано до наведених у таблиці 1.

Таблиця 1. Якісні показники біоетанолу [1]

№№ п/п

Назва показника

Норма показника



Марка А

Марка Б

1

Зовнішній вигляд та колір

Прозора безбарвна рідина або світло жовтого забарвлення

2

Густина за температури (20±0,1)0С, кг/м3

від 787 до 792

3

Об'ємна частка води, %, не більше

0,2

4

 Масова концентрація сухого залишку, мг/дм3, не більше

100

5

 Об’ємна частка спирту етилового (органічних кисневмісних сполук), %, не менше

97,8

98,3

6

 Об’ємна частка метанолу, %, не більше

1,0

7

 Об'ємна частка циклогексану, %, не більше

0,5

-

8

 Масова частка кислот, у перерахунку на оцтову кислоту, %, не більше

0,007

9

 Масова концентрація вищих спиртів С3 - С5, г/дм, не більше

12,0

10

 Об’ємна частка бензину (вуглеводнів), %

від 1,0 до 1,5

11

 Масова частка сірки, мг/кг, не більше

10,0

12

 Масова концентрація фосфору, мг/дм3, не більше

13

 Масова частка міді, мг/кг, не більше

0,1

14

 Масова концентрація неорганічних хлоридів, мг/дм3, не більше

20,0


Вищезгаданим нормативним документом можуть скористатися всі суб’єкти підприємницької діяльності України всіх форм власності, які зайняті виробництвом і контролем якості біоетанолу, після затвердження і реєстрації цього стандарту в установленому порядку [2, 3].


2.      Методи отримання біоетанолу

У більшості країн біоетанол виробляється із зернових культур (кукурудза, пшениця, ячмінь), але процес видобутку спирту не обмежується лише цими культурами. Сучасні технології виробництва біоетанолу дозволяють використовувати практично будь-яку вихідну сировину з високим вмістом цукроносного крохмалю (картопля, цукровий буряк).

Наприклад, Бразилія і Колумбія, як найбільші в світі виробники біоетанолу, використовують для видобутку етанолу цукрову тростину. Виробництво біоетанолу з вищезгаданої сировини вимагає достатніх кількостей родючих ґрунтів і води на їх зрошення. На жаль, це не вихід для щільно заселених і промислово розвинених областей, подібних до Західної Європи. Технологія виробництва біоетанолу з целюлози дозволяє виробляти біоетанол із стебел або соломи, зерна, целюлозних відходів і інших целюлозних джерел без додаткових земель.

На відміну від бензину, який виробляється із вичерпних ресурсів (нафти), спирт - поновлювальне паливо, яке виробляється з крохмалю, що утворюється в процесі колообігу вуглеводів певних рослин.

Виробництво спирту - це поновлювальний колообіг вуглеводу, де вуглекислий газ в атмосфері перетворюється у вуглець в процесі фотосинтезу рослин. Деякі рослини зберігають вуглеводи у вигляді крохмалю. В кінці колообігу крохмаломістку частину рослин збирають і використовують як сировину для виробництва спирту.

Існує два основних способи отримання біоетанолу - спиртове зброджування або мікробіологічний метод та гідратація етилену або синтетичний метод. Існують також проекти різного ступеню опрацювання, що направлені на отримання біоетанолу з целюлози та різноманітних типів органічних відходів, шляхом гідролізу. Але поки що ці технології знаходяться на ранніх етапах розробки та комерціалізації.

2.1    Гідратація етилену

Цей спосіб базується на здатності етилену, при певних умовах, до реакції гідратації, тобто приєднання води з утворенням етилового спирту, що показано на таблиці 2.

Таблиця 2. Технологічна схема прямої гідратації етилену при виробництві етилового спирту [4]


У заводських умовах пряму гідратацію етилену проводять при температурі 290-300 °С, загальному тискові етилену і водяної пари 70-80 ат (7,1-8,1 МПа), молярному співвідношенні води й етилену 0,6-0,75 і в присутності каталізатора - фосфатної кислоти, осадженої на носії:

 <#"603989.files/image003.gif">

Рис.2.1. Схема реакційного вузла установки для синтезу етанолу прямою гідратацією етилену: 1 - циркуляційний компресор; 2 -насос високого тиску; 3 - трубчаста піч; 4, 5 - теплообмінники; 6 -контактний апарат; 7 -конденсатор; 8 -скрубер; 9 -сепаратор високого тиску; 10 - редукційний вентиль; 11 - сепаратор низького тиску

Суміш етилену та водяної пари при 280-300°С під тиском біля 8,0 КПа подають в гідрататор, в якому підтримують такі ж параметри. При взаємодії етилену з водяною парою, окрім основної реакції етилену з водяною парою, протікають побічні реакції, в результаті яких отримується діетиловий ефір, оцтовий альдегід та продукти полімеризації етилену. Продукти синтезу виносять з гідратора невелику кількість фосфорної кислоти, яка може в подальшому виконувати корозійну дію на апаратуру та трубопроводи. Щоб уникнути цього, кислоту, що міститься в продуктах синтезу, нейтралізують лугом. Продукти синтезу після нейтралізації пропускають через солевідокремлювач, а потім охолоджують у теплообміннику і виробляють конденсацію водно-спиртових парів. Отримують суміш водно-спиртової рідини і етилену, що не прореагував. Цей етилен відокремлюють від рідини в сепараторі. Він являє собою вертикальний циліндр, в якому встановлені перегородки, які різко змінюють швидкість і напрямок газового потоку. Етилен з сепаратора відводять у всмоктувальну лінію циркуляційного компресора і направляють на змішування зі свіжим етиленом. Водно-спиртової розчин, який випливає з сепаратора, містить 18,5-19% об. спирту. Його концентрують у випарній колоні і у вигляді парів направляють для очищення в ректифікаційній колоні. Спирт одержують міцністю 90,5% об.      Виробництво синтетичного спирту, незалежно від способу його отримання, значно більш ефективно, ніж виробництво спирту з харчової сировини. Для отримання 1 т етилового спирту з картоплі або зерна необхідно затратити 160-200 днів, з газів нафтопереробки тільки 10 днів. Собівартість синтетичного спирту приблизно в чотири рази менше собівартості спирту з харчової сировини [5,6].

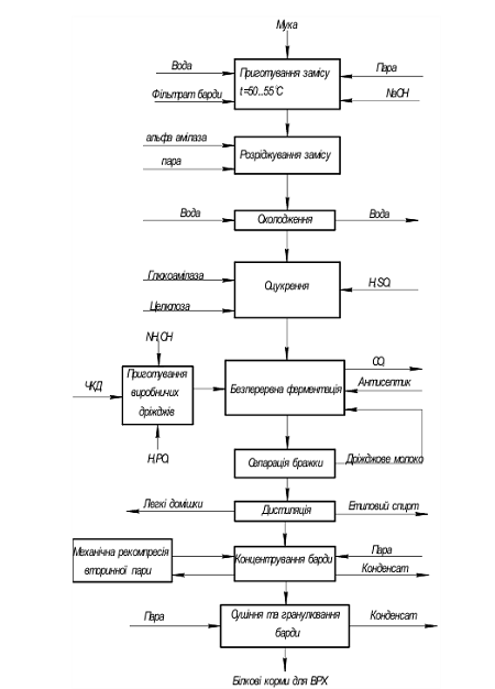
.2      Спиртове зброджування

Основним способом одержання етанолу є перероблення харчової рослинної сировини шляхом мікробіологічного зброджування (Таблиця 3). Реакція бродіння рослинних продуктів, що містять вуглеводи, під дією ферментів дріжджів і бактерій є досить складною, проте її схему можна виразити простим рівнянням:


При введені спеціальних інгібіторів форми зброджування спиртового змінюються.


Таблиця 3. Принципова технологічна схема виробництва біоетанолу із зернової сировини


Виробництво біоетанолу можна здійснювати двома способами: «мокрим» та «сухим» (Таблиця 4) [7].


Таблиця 4.Схема виробництва етанолу із зернових культур


Унаслідок бродіння одержують розчин, що містить 15% етанолу. У більш концентрованих розчинах дріжджі гинуть. Через це отриманий етанол потребує очищення і концентрування.

Сучасна промислова технологія одержання біоетанолу з харчової сировини складається з таких стадій:

         підготовка та подрібнення сировини, що містить цукор або крохмаль (зерна жита або пшениці, кукурудзи, картоплі, топінамбура та інших сільськогосподарських культур);

         ферментація - розщеплення крохмалю до спирту під дією дріжджових ферментів. Для цієї мети застосовують препарати альфа-амілази, одержані біоінженер ним шляхом (глюкоамілазу, амілосубтилін);

         ректифікація браги (розділення, засноване на різних температурах кипіння компонентів), здійснювана, зазвичай, у колонних апаратах з контактними елементами у вигляді тарілок.

Дослідження, проведені на кафедрі машин та апаратів хімічних і нафтопереробних виробництв, свідчать, що технологія паливного біоетанолу схожа з одержанням звичайного харчового спирту, однак має ряд особливостей:

.        На відміну від виробництва харчового спирту, де застосовують переважно «сухий» метод виробництва (таблиця 3), у технології біоетанолу використовують «мокрий» спосіб. У «мокрому» процесі спочатку виділяють глютен та крохмаль, який потім спрямовують на виробництво етанолу, у «сухому» глютен не виділяють.

.        Для виробництва біоетанолу, зазвичай, достатньо двох ректифікаційних колон, тоді як на заводі харчового спирту таких колон п’ять.

.        Середній біоетанольний завод виробляє 150 млн л етанолу на рік (42 тис. дал/добу; потужність деяких підприємств сягає 1 млрд л/рік чи 280 тис. дал/добу), харчовий завод - близько 4 млрд л.

.        Паливний біоетанолу, на відміну від харчового спирту, можна одержувати з целюлози та рослинних відходів сільського господарства.

.        Одержання паливного біоетанолу вимакає додаткового зневоднення продукту, оскільки внаслідок присутності 4% води в дистиляті відбуватиметься розшарування спирто-бензинової суміші [8].

.3      Гідроліз целюлозовмісної сировини

Сировиною для виробництва гідролізного спирту можуть бути відходи переробки деревини, некондиційна деревина, а також відходи переробки сільськогосподарської сировини - кукурудзяний качан, соняшникове лушпиння, бавовникове лушпиння тощо. Тобто, ті матеріали, які містять в значній кількості поліцукри, перш за все целюлозу та полі целюлозу.

Унаслідок гідролізу деревини або іншої целюлозовмісної сировини в присутності органічних кислот отримують так звані гідролізати, склад яких коливається в широких межах залежно від первинної сировини. Основними показниками гідролізатів є вміст редукуючи речовин та массове співвідношення гексоз і пентоз.

На спирт зброджуються тільки гексози, тому найбільш придатними видами сировини для виробництва спирту є такі, під час гідролізу яких утворюється максимальна кількість гексоз. Це, передусім, деревина хвойних порід. Менш придатною є деревина листяних порід, кора, кукурудзяний качан і соняшникове лушпиння.

На таблиці 5 наведено принципову технологічну схему комплексної переробки рослинної сировини, яка передбачає отримання, поряд з етиловим спиртом, метилового спирту, лігніну, будівельного гіпсу, фурфуролу, рідкої вуглекислоти та кормових дріжджів.

Така комплексна переробка пов’язана не тільки з необхідністю підвищення рентабельності виробництва, але й з потребою зниження вмісту органічної частини барди і зменшення тим самим потужності очисних споруд.

Для очищення загальних стічних вод гідролізний завод повинен мати потужні очисні споруди повної біологічної очистки. За відсутності виробничих кормових дріжджів потужності очисних споруд мають бути збільшені у 3-4 рази. З економічної точки зору суто гідролізно-спиртові заводи існувати не можуть. Вони повинні мати цехи кормових дріжджів. До складу гідролізного спиртово-дріжджового заводу входить цех виробництва фурфуролу, який утворюється з пентозанів на стадії гідролізу сировини.

Конденсати, які містять до 0,2-0,4%, не можуть бути скинуті на очисні споруди й тому повинні звільнюватися від нього [9].


Таблиця 5. Виробництво біоетанолу способом гідролізу рослинної сировини


Метод комплексної переробки рослинної сировини, який було розглянуто вище, ґрунтується на практично повному гідролізі поліцукрів. Лігнін при цьому залишається у вигляді нерозчинного осаду. На відміну від наведеного методу, переробка рослинної сировини ялинових порід деревини на сульфітну целюлозу, етиловий спирт, кормові дріжджі передбачає гідроліз тільки поліцукридів геміцелюлоз. Лігнін при цьому переходить у розчинний стан (Таблиця 6).


Таблиця 6. Виробництво біоетанолу з сульфітних лугів


Целюлоза набула широкого використання у виробництві паперу, віскозного шовку, кіноплівки тощо. Як реагент для вилучення целюлози використовують сульфітну варочну кислоту при температурі 130-140°С. Ця кислота - водний розчин сірчистого газу, до якого введено СаО. Після закінчення варки розчин, до якого перейшли розчинені речовини, відокремлюють від целюлози й у вигляді сульфітного лугу спрямовують на бродіння. Спирт, який отримано таким способом, має назву сульфітний.

Виробництво гідролізного й сульфітного технічного спиртів та обов’язкової супутньої продукції характеризується великими ресурсо- та енергетичними витратами [10].

На рис.2.2. наведено показники матеріало- та енергоємності комплексної переробки на спирт гідролізатів деревини та меляси.

Енергоємність усього комплексу продукції при виробництві 1 млн. дал гідролізного спирту в 7,9 рази більша, ніж при виробництві спирту з меляси, у тому числі власне спирту - в 8,3 рази.

Матеріалоємність за іншими ресурсами вища в 3,5 рази, а споживання технологічної води відповідно у 4 рази.

Рис.2.2. Показники матеріало- та енергоємності гідролізного та мелясного спиртів

Складність технологічного обладнання сульфітно-гідролізного виробництва унеможливлює використання безперервно діючих процесів на більшості виробничих дільниць. тому за обмеженої потужності завод з виробництва гідролізного етанолу є досить масштабним підприємством, яке насичене великогабаритних хімічним обладнанням [11].

.4      Обґрунтування можливості застосування первапорації

Первапорація - процес мембранного розділення, який об’єднує розчинення й молекулярну дифузію летких компонентів системи в селективній непористій мембрані з їхнім випаровуванням на протилежному боці цієї мембрани. Первапораційне розділення ґрунтується на різній дифузійній проникності мембрани для компонентів суміші і розглядається як послідовність розчинення речовини в поверхневому шарі мембрани, дифузії молекул речовини крізь мембрану та виділення пари цієї речовини на зворотному боці мембрани (рис.2.3.).

Рис.2.3 Схема первапораційної установки

Установлено, що первапорація потребуватиме менших капіталовкладень порівняно зі зневодненням на молекулярних ситах, тому що:

·        первапораційна технологія є екологічно чистою, оскільки не потребує допоміжних речовин і реагентів;

·        температура процесу становить 60…80 °С, що надає можливість використовувати теплоту низького потенціалу;

·        застосовувані для розділення непористі мембрани не потребують регенерації;

·        простота, компактність і модульна конструкція первапораційних установок дають можливість легко адаптувати їх до існуючих обсягів виробництва.

Дослідження дозволили встановити, що найприйнятнішою для реалізації процесу вбачається гідрофільна первапораційна композиційна мембрана Владіпор, яка являє собою непористий полімерний плівковий матеріал на основі фторопласту Ф42Л на підкладці з лавсану з роздільним шаром завтовшки 10 мкм і, окрім високих показників селективності й проникності, витримує безпосередній контакт з органічними розчинниками (зокрема, чистим етанолом) за умови підвищених температур (до 100 °С).

Для цієї мембрани й системи біоетанол - вода, за методиками, викладеними в праці [12], було визначено ступінь набухання, коефіцієнт дифузії і константи проникності.

Зокрема, ступінь набухання обраних мембран в етанолі становить 0,7 %, у воді - 18,1 %; коефіцієнт дифузії етанолу в мембрані - 1,48 · 10-10 м2/с, води - 1,55 · 10-10 м2/с; константа проникності обраної мембрани для етанолу - 1,2 × 10-9 кг × м/(м2 × с), для води - 3,2 × 10-7 кг × м/(м2 × с).

Враховуючи, що константа проникності обраної мембрани для води в 270 разів перевищує константу проникності цієї ж мембрани для етанолу, непористий матеріал на основі фторопласту Ф42Л на підкладці з лавсану з роздільним шаром завтовшки 10 мкм можна використовувати для зневоднення паливного біоетанолу.

У разі використання таких мембран площа поверхні мембранних елементів, потрібна для виробництва 17,5 дал/добу паливного біоетанолу при 313 К і 0,1 МПа становить близько 70 м2. Об’ємна продуктивність відповідного апарата за вихідною сумішшю сягатиме 100 дал/добу, а його габаритні розміри не перевищуватимуть 2,3×1,5×0,8 м, тобто будуть втричі меншими, ніж розміри апарата для реалізації процесу зневоднення етанолу на молекулярних ситах.

Отже, для зневоднення паливного етанолу на заключній стадії його одержання доцільно застосовувати первапорацію. Це дозволяє уникнути існуючих на сьогодні недоліків застосовуваного на сучасних підприємствах зневоднення на молекулярних ситах.

У зв'язку з цим у м. Сан-Паулу (Бразилія) була побудована пілотна установка для отримання 2280 м3/рік безводного етанолу гібридним процесом, який поєднує ректифікацію і випаровування через мембрану. На рис. 2.4 показана діаграма потоків такого гібридного процесу отримання безводного віднесла із ферментного сировини. Спочатку етанол концентрується до 80% у звичайній дистилляционной колоні, а подальше видалення води здійснюється за допомогою мембраннo-випарної системи. Тепло, що виділяється в дефлегматоре дистилляционной колони, використовується для проведення процесу випаровування через мембрану. Пермеат, що містить невелику кількість етанолу, конденсується і повертається в дистиляційну колону [13].

Рис.2.4 Діаграма потоків комбінованого процесу обезвожування етанолу, що включає ректифікацію та первапорацію: 1-дистиляційна колона; 2-конденсатор; 3-вакуумний насос


3.      Продуценти біоетанолу

Використання етанол як палива стало на сьогоднішній день одним із важливих напрямків розвитку світової економіки. І тому науковий пошук у світі наразі проводиться як у напрямі удосконалення технологій отримання біоетанолу першого покоління, так і розвитку науковотехнічних основ отримання біоетанолу другого покоління (з біомаси). Тому в Інституті біології клітини (ІБК) НАН України була проведена робота, спрямована на покращення параметрів етанольної ферментації традиційної сировини - глюкози - за участю спиртових дріжджів Saccharomyces cerevisiae.

Мікроорганізми використовуються і ті, які можуть бути використані для трансформації продуктів фотосинтезу в етанол, ділять на три групи:

• Традиційно для конверсії вуглеводів в етанол використовуються дріжджі. Сказане відноситься до двох груп етанолоутворюючих дріжджів. Проте за останні роки знайдені і інтенсивно вивчаються нові продуценти етанолу, які по ряду властивостей перевершують дріжджі.

• мезофільних бактерії ряду Zymomonas (topi - 30-35 °) володіють в декілька разів більш інтенсивним метаболізмом, ніж дріжджі.

• Термофільні етанолоутворюючі бактерії (topi - 60-65 °) привернули увагу головним чином тим, що в цій групі є мікроорганізми, здатні трансформувати рослинні вуглеводні полімери прямо в етанол. У цьому випадку відпадає необхідність попередньої деполімеризації цих субстратів (що характерно для спиртового бродіння, що викликається дріжджами). Крім того, бактерії в порівнянні з дріжджами - більш зручний об'єкт для застосування генно-інженерних методів поліпшення їх технологічних властивостей. Резервом підвищення продуктивності технологічних систем конверсії вуглеводів в етанол є можливість створення стабільних бактеріальних асоціацій.

Суттєвими перевагами володіє процес отримання етанолу з допомогою термофільних анаеробних бактерій. Крім загальних технологічних переваг, які забезпечують термофільний процес, слід зазначити, що в цій групі мікроорганізмів знаходяться представники з целлюлозолітичною активністю. За допомогою цих бактерій представляется можливим трансформувати рослинну біомасу прямо в етанол без її попередньої обробки. Серед термофільних анаеробних бактерій також ведеться пошук нових продуцентів етанолу і робота по генетичному поліпшенню властивостей наявних штамів.

Для цього вперше було використано можливість модифікації енергетичного метаболізму дріжджів шляхом над експресії ферментів, що розщеплюють основне енергетичне джерело клітини - АТФ. Отримані штами перетворюють вищий відсоток глюкози в етанол за рахунок меншого нагромадження біомаси клітин. У даному контексті біомаса є побічним продуктом тому що замість перетворення компонентів поживного середовища в етанол, клітина використовує цей ресурс для побудови дочірніх клітин. Шляхом маніпуляції енергетичним балансом дріжджової клітини на генному рівні вдалося знизити приріст біомаси і збільшити вихід етанолу при ферментації глюкози на 20% у порівнянні із вихідним штамом.

Таблиця 7. Фізіологічні та технологічні характеристики біоетанолу

Група

Продуценти

рН

Вихід этанолу, %

t

Max.конц. этанола, г/л

1-ша група

Saccharomycen cerevisiae Saccharomyses rosei

3-4 4,6

100 88

30 35

130 42,5

2-га група

Zymomonas mobilis Zymomonas anaerobij

5,5 5,6

95 90-95

30 35

130 96

3-я група

Clostridium themocellum Сlostridium thermosaccharoliticum Thermoanaerobacter ethanolicus

7,0  6,9-7,5  5,8-8,5

50 70  90

62 67-70  69

1,5 4,0


Характерна риса бактерій роду Zymomonas полягає в тому, що його представники здатні майже повністю переробляти глюкозу або фруктозу в етанол (на відміну від Zymomonas, дріжджі утилізують лише фракцію гексоз - близько 55% всієї рослинної маси). З Zymomonas вихід етанолу коливається між 1,5-1,9 моль на одну молекулу глюкози. Враховуючи вищезазначені факти, можна вважати Zymomonas одним з перспективних продуцентів спирту.

Очевидно, використання бактерій Z. mobilis із застосуванням нових тех-нологічних процесів, таких як іммобілізація, рецикляція і флокуляція клітин, рецикляція з вакуумним пристроєм та ін., селекціонування нових, толерантних до етанолу штамів, що використовують різні природні субстрати (крохмаль, целюлозу та ін), відкриє нові перспективи в спиртовій промисловості [14].

Глобальна продукція рослинної біомаси становить 200х109 т на рік, причому 90% біомаси складає лігноцелюлоза - гетеро біополімер, що складається з целюлози, різних геміцелюлоз та лігніну. Одними з основних цукрі гідролізатів лігноцелюлозних відходів є ксилоза та целобіоза, які не ферментуються пекарськими дріжджами. Тому здійснювались роботи по виявленню інших видів мікроорганізмів, що є потенційними продуцентами етанолу з гідролізатів лігноцелюлозних відходів. Одним з найкращих претендентів виявились не конвенційні дріжджі Pichia stipitis,однак, ефективність ферментації ксилоли і целобіози природними штамами є недостатньою для забезпечення економічно вигідного промислового процесу. В ІБК НАН України здійснено метаболічну інженерію цього виду дріжджів. Було посилено експресію модифікованої версії першого гено катаболізму ксилоли, що кодує ксилозоредуктазу. Продуктивність етанольної ферментації ксилоли у сконструйованого штаму перевищувала продуктивність вихідного штаму в 1,3 рази.

Відомо, що найкращими ферментаторами глюкози є сахараміцети. Однак ці організми не здатні ферментувати ксилолу, тому було знайдено коферментацію, використовуючи два мікроорганізми, рекомбінантний штам P. stipitis та штам дикого типу S. cerevisiae у оптимальному співвідношенні клітин 1:1. Результати цих досліджень дозволили розробити лабораторний та напівпромисловий регламенти отримання етанолу з гідролізатів рослинної біомаси на базі ПП «Експрес» (м.Охтирка, Сумська область), що дає можливість масштабувати процес і розпочати налагодження виробництва етанолу з різної вищезгаданої сировини.

Ферментаційний гідроліз (сахарифікацію) лігноцелюлозної біомаси можна проводити одночасно з мікроорганізмами, які ферментують вивільнені цукри до етанолу (одночасна сахарифікація та ферментація). В ІБК НАН України були виявлені термотолерантні дріжджі Hansenula polymorpha, що здатні активно ферментувати ксилолу при підвищеній температурі 48ºС. Було здійснене додаткове підвищення термотолерантності цього виду дріжджів до 50ºС. Вихід етанолу в отриманих рекомбінантних штамах збільшено загалом у 25 разів порівняно із штамом дикого типу Hansenula polymorpha, максимальна концентрація етанолу під час ферментації ксилоли при 48ºС становила близько 15г/л [15].

.1 Отримання біоетанолу з біомаси фототрофних мікроорганізмів під дією біокаталізаторів

Пошуки продуктивних видів біомаси для отримання енергії висувають в розряд перспективних джерел мікроводорості та ціанобактерії, які можуть бути штучно вирощені і в подальшому перероблятися з отриманням цільових продуктів. На сьогодні біомаса фототрофних мікроорганізмів є одним з цінних джерел відновлювальної сировини для отримання різних видів біопалива. Причому сировиною можуть слугувати як біомаса, так і відходи після виділення цінних біологічно активних речовин.

Швидкість росту фототрофних мікроорганізмів та їх урожайність вища, ніж у традиційних сільськогосподарських культурах в 5 - 10 разів, для виготовлення 1 кг біомаси потрібно в 10 - 30 разів менше площі, причому, можна використовувати непридатні для сільського господарства землі чи землі, що потребують рекультивації. Ефективність перетворення сонячної енергії у мікроводоростей та ціанобактерій набагато вища, ніж у традиційних продуктів.

Для здійснення трансформації біомаси фототрофних мікроорганізмів і біоетанол необхідно використовувати відповідні продуценти.

Міцеліальні гриби є досить привабливими продуцентами етанолу, так як вони містять ряд гідролітичних екзоферментів, що здатні здійснювати гідроліз складних за складом субстратів, в першу чергу, полісахаридів, а також завдяки здатності зброджувати гексози та пентози [16].

Використання даних продуцентів в іммобілізованому вигляді дозволяє підвищити стійкість клітин до негативного впливу високих концентрацій метаболітів, що утворюються. Також привабливість іммобілізації заключається в значному полегшенні технологічної стадії відділення клітин мікроорганізмів від культуральної рідини та у можливості багаторазового використання таких іммобілізованих продуцентів.

В якості носія для іммобілізації перспективне використання кріогелю полівінолового спирту, який характеризується високою мікроскопічністю, хімічною та біологічною інертністю, не токсичністю та високими характеристиками міцності [17].

Була досліджена здатність міцеліальних грибів здійснювати трансформацію біомаси фототрофних мікроорганізмів в біоетанол. В якості субстрату використовувалась біомаса ціанобактерій Arthrospira platensis, у яких, як і у інших ціанобактерій над усіма фракціями вуглеводів переважають полісахариди типу геміцелюлоз та пектинових речовин (10…16%).

Ряд відомих грибів-зброджувачів використовувалися для зброджування біомаси Arthrospira platensis. Застосування клітин міцеліальних грибів в іммобілізованому вигляді дозволило знизити негативний вплив метаболітів, що накопичуються в середовищі, а також рівномірно розподілити біомасу міцеліальних грибів в об’ємі субстрату, що представляє собою густу консистенцію суспензії клітин ціанобактерій.

В процесі зброджування рН середовища підтримується у межах 6,8 - 7,0.

Максимальна концентрація етанолу була отримана при використанні іммобілізованих бактеріальних клітин (ІБК) на основі клітин міцеліального гриба T. atroviride - 0,65 г/л. Для ІБК на основі M. circilloides концентрація біоетанолу в культуральній рідині становила - 0,38 г/л, для A. terreus - 0,15 г/л, F. oxysporum - 0,1 г/л.

Надалі досліджувалась можливість трансформації біомаси різних видів фототрофних мікроорганізмів, в якості продуцентів використовувались ІБК на основі клітин міцеліальних грибів T.atroviride та M. circilloides (табл.6).

Виявилось, що найкращими субстратами, з точки зору накопичення етанолу під дією іммобілізованих клітин міцеліальних грибів, являється біомаса Nannochoropsis sp. - для міцеліального гриба M. circilloides, трансформація якого забезпечувала накопичення 1,5 г/л етанолу в культуральній рідині, а також біомаса Galdieria partita - трансформація якої під дією клітин T. atroviride дозволила отримати 1,14 г/л етанолу. Даний результат підтвердив факт, що для трансформації різноманітних зразків біомаси фототрофних мікроорганізмів не можна виділити один універсальний продуцент серед досліджуваних штамів міцеліальних грибів. Очевидно, що клітини фототрофних мікроорганізмів володіють різною структурою вуглеводів, що входять до складу біомаси, а міцелі альні гриби - різними гідролітичними ферментами, що здатні здійснювати гідроліз полісахаридів та їх трансформацію в етанол (табл.8).


Таблиця 8. Концентрація етанолу (г/л), що накопичується в культуральній рідині в ході процесу трансформації біомаси фототрофних мікроорганізмів під дією іммобілізованих клітин міцеліальних грибів

Біомаси фототрофних мікроорганізмів

Міцеліальний гриб


T. atroviride

M. circilloides

Arthospira platensis

0,33

0,12

Nannochoropsis sp.

1,50

Dunaliella salina

0,13

0

Dunaliella tertiolecta

0

0,86

Galdieria partita

1,14

0,16

Chlorella vulgaris

0,36

0

Cosmarium sp.

0,43

-


Необхідно зауважити, що культуральні рідини, що отримані від культивування міцеліальних грибів та що містять комплекси гідролітичних ферментів, далі можна використовувати для переробки біомаси фототрофних мікроорганізмів.

Таким чином, було показано можливість ефективної трансформації біомаси фототрофних мікроорганізмів під дією ІБК на основі клітин міцеліальних грибів в біоетанол [18].


4.      Світова паливна криза

Паливна криза - це явище, яке виникає у випадку коли попит на енергоносії набагато вище їх пропозиції. Її причини можуть знаходитися в області логістики, політики або фізичного дефіциту.

.1      Паливна криза 2000, 2004, 2005 років

Після подолання економічної кризи в Азії світова економіка знову почала швидко зростати, а з нею і попит на нафту. Також до підвищеної потреби в нафті привела холодна зима 2001-2002. Наслідки були проте набагато нижче ніж в 1970-х роках. Збільшення квот видобутку викликали серйозну кризу. Головні проблеми були в той час з логістикою, так як нестача танкерів зіграла більш істотну роль, чим недолік у нафти.

Протягом 2004 ціна на нафту досягла 53 долари. На це вплинули різні політичні та економічні навантаження на ринок нафти. На ринку виявилося велика кількість спекулянтів і стурбованих скупників нафти. 29 серпня 2005 ціни на нафту підскочили у зв'язку з ураганом «Катріна», що зупинив видобуток нафти в Мексиканській затоці, до 71 долара.

Розвиток цін на нафту в 2005:

середина березня: 56 доларів;

червня: 60 доларів;

серпня: 65 доларів;

серпня: 70 доларів.

.2      Паливна криза 2007, 2008 і 2009 років

Восени 2007 ціна пробила позначку 80 доларів і продовжувала зростати до кінця першої декади липня наступного, 2008 року, досягнувши 11 липня перш нечуваної величини 147 доларів за барель нафти марки Light Sweet. Весь цей час в основних країнах споживачах нафти і перш за все в США продовжувалося зростання цін на бензин, товари та послуги, які каталізували розвиток кризи неплатежів за банківськими кредитами. У 2008 криза неплатежів переросла у масштабну рецесію, в ході якої збанкрутували найбільші фінансові компанії країни, а накопичені за попередні сорок років колосальні проблеми в економіці США, пов'язані з її борговими характером, перейшли в актуальний стан, в результаті чого вибухнула поточна глобальна економічна криза, яка призвела до різкого падіння попиту на нафту і до відносної стабілізації ціни бареля в 2009 році в діапазоні 35-75 доларів. З другої половини 2008 року в результаті обвального зниження ціни криза перекинулася і на країни-експортери нафти, які кілька разів вдавалися до скорочення квот на видобуток. Ситуація, таким чином, набула характеру замкнутого кола. Деякі аналітики вказують на те, що зниження квот було викликано не стільки бажанням підтримати ціну бареля, скільки простим наслідком фізичного дефіциту чорного золота, який, оформившись в ціні, і з'явився фундаментальною причиною економічного спаду, і що квоти тому не будуть збільшені ніколи.

Незважаючи на те, що дії спекулянтів на ринку нафти не можна недооцінювати, в цілому все, що відбувається дуже сильно нагадує наслідки так званого "Піка нафти", хоча офіційного роз'яснення на цей рахунок від глав урядів не надходило, а суспільна увага відвернута структурною перебудовою самої економіки і перш всього, фінансової галузі. Разом з тим останнім часом у відкритій пресі з'явилися статті [19], що пророчать новий цикл кризи в результаті нового цінового стрибка після того, як споживання у світі оговтається від наслідків шоку 2008 року. Крім того, антикризова політика країн-споживачів крім екстрених заходів по стабілізації фінансового сектора і внутрішнього споживання включає в себе і поспішне розвиток альтернативних видів енергії і економічного транспорту. Ефективність цих "пожежних" заходів, в свою чергу, викликає великий сумнів фахівців. До серпня 2009 року сукупні рівні промислового виробництва та кінцевого споживання в світі, і перш за все, в країнах споживачах нафти продовжували знижуватися.

.3      Паливна криза сьогодення

Використання паливно-енергетичних і сировинних ресурсів на сьогодні зростає значними темпами. На кожного жителя планети виробляється 2 кВт енергії, а для забезпечення загальновизнаних норм якості життя необхідно 10 кВт. Такий показник досягнутий лише у розвинених країнах світу. У зв’язку з цим нераціональне використання енергії у поєднанні зі зростанням народонаселення та нерівномірним розподілом паливно-енергетичних ресурсів різних країн та регіонів призводить до необхідності нарощення їх виробництва.

Проте енергетичні ресурси планети обмежені. При запланованих темпах розвитку ядерної енергетики сумарні запаси урану будуть вичерпані в перші десятиліття ХХІ ст. Проте, якщо витрати енергії будуть на рівні енергетики теплового бар’єру, то всі запаси невідновлюваних джерел енергії згорять у перші десятиліття. Тому з точки зору матеріально-речового змісту основними причинами загострення паливно-енергетичної та сировинної проблем є зростання масштабів залучення у виробничий процес природних ресурсів та їх обмежена кількість на планеті.

Шляхи вирішення паливно-енергетичної та сировинної глобальних проблем. Основними шляхами вирішення паливно-енергетичної та сировинної проблем з точки зору матеріально-речового змісту суспільного способу виробництва є:

·        зміна механізму ціноутворення на природні ресурси. Так, ціни на них у слаборозвинених державах диктують крупні ТНК, які зосередили у своїх руках контроль на природними багатствами. За даними ЮНКТАД, від трьох до шести ТНК контролюють 80-85% світового ринку міді, 90-95% світового ринку залізної руди, 80% ринку бавовни, пшениці, кукурудзи, кави, какао інше;

·        об’єднаним зусиллям розвинених держав протиставити стратегію об’єднання дій країн-експортерів паливно-енергетичних та паливних ресурсів. Ця стратегія повинна стосуватися об’єму добування всіх видів ресурсів, квот їх продажу на зовнішніх ринках інше;

·        оскільки розвинені країни і ТНК намагаються здійснювати лише первинну обробку мінеральної сировини в країнах, що розвиваються, то останнім необхідно нарощувати випуск готової продукції, що дозволило б їм знано збільшити доходи від експорту;

·        проведення прогресивних аграрних перетворень;

·        об’єднання зусиль всіх країн для вирішення глобальних проблем, значно збільшити витрати на усунення екологічної кризи за рахунок послаблення гонки озброєнь та скорочення воєнних витрат.

·        використання комплексу економічних заходів управління якістю навколишнього середовища, в тому числі субсидій та дотацій на виготовлення екологічно чистої продукції, за виконання державних екологічних проектів інше [20].


5.      Перспективи використання та напрями виробництва біоетанолу в Україні

Сільськогосподарське виробництво в Україні із споживача енергії нині трансформується на її виробника. Для сільського господарства виробництво й ефективне використання біопалив - це поклик часу, актуальне завдання, яке вимагає розв’язання наразі.

Внутрішній ринок біоетанолу може сягнути 800 - 1200 тис. т на рік за умов, якщо він замінить 10 - 15% вуглеводневої частини бензинів, що споживаються в Україні. Європейський простір є ще більшим потенціалом для експорту біоетанолу.

Розв’язання проблеми динамічного виробництва біоетанолу потребує створення ринку енергетичних культур як сировини його виробництва, використання сільськогосподарських угідь, придатних для вирощування енергетичних культур, не знижуючи рівень виробництва продуктів харчування. З цього приводу постійно проводиться дискусія: що важливіше продовольство чи біопаливо? Зазначена проблема є дуже складною, оскільки, з одного боку, забезпечення населення продовольством є пріоритетним завданням кожного уряду, а з іншого - енергетична незалежність держави є основою її суверенітету. Тому аналіз можливостей з вирощування біосировини для отримання біоетанолу слід провадити з урахування реальної ситуації з існуючими проблемами в продуктах харчування, а також з існуючими джерелами забезпечення паливом як держави загалом, так і окремих її регіонів.

Енергетична незалежність - це надзвичайно стратегічна мета, оскільки Україні вже відчула, що таке енергетична залежність. Необхідні зовсім інші підходи у вирішенні питання відновлювальної енергії.

Експерти доводять, що нині не потрібно неодмінно будувати нові заводи для виробництва біоетанолу. Потрібно, насамперед, переобладнати частину спиртових заводів та освоїти технологію комплексної переробки біосировини, і тоді країна зможе забезпечити виконання Директиви об’єднаної Європи. Наша близька перспектива - залучити інвестиції для введення в експлуатацію спиртзаводів, робити ставки на свої зони вирощування. Умови повинні бути створені однаково і для внутрішніх, і для зарубіжних інвесторів. Введення в експлуатацію названих потужностей створить тисячі додаткових робочих місць, власна сировинна база буде задіяна на це виробництво. Готова продукція задовольнить попит внутрішнього ринку і зможе йти на експорт.

Аналіз сучасного ринку енергетичного обладнання і технологій промислового виробництва біоетанолу в Україні доводить, що з технічного боку немає істотних перешкод для виробництва біоетанолу. Економічний ефект виробництва біоетанолу зростатиме, як свідчать наукові дослідження, за умов оптимального вибору технології вирощування та переробки, обґрунтованого підходу щодо реконструкції абу будівництва переробних заводів у місцях накопичення сировини, а також комплексного забезпечення переробки сировини.

При створення заводів біоетанолу акцент слід перенести на мінімізацію витрат енергії, оскільки супутні домішки у паливному етанолі не мають принципового значення. У країнах, де виробництво біоетанолу є досить розвиненим, зерно переробляють із використанням комплексних технологій. Вони передбачають виділення білка і жиру із зерна з подальшим використанням його крохмальної частини у виробництві біоетанолу. Білок та олію використовують у харчовій промисловості (хлібопекарній, кондитерській, тощо), а також для виробництва комбікормів. Олія також використовується як сировина для виробництва компонентів дизельного палива. Реалізація цих побічних продуктів дає змогу підвищити рентабельність виробництва на 10 - 12%.

Водночас разом з переходом на використання біопалива, необхідно здійснювати модернізацію автозаправних станцій і мереж збуту продукції, а також зацікавити вітчизняних нафтотрейдерів, які є власниками заправок, вийти на цей ринок. Реалізація цих побічних продуктів дає змогу підвищити рентабельність виробництва на 10 - 12%.

Організація виробництва технічного спирту допоможе вирішити проблему сировини для виготовлення каучуку в Україні.

Використання технічного спирту як добавки до пального допоможе значною мірою зменшити дефіцит пального, а також дозволить поліпшити екологічний стан міст та автошляхів країни.

Виробництво і використання біоетанолу в сільському господарстві України є об’єктивною передумовою до створення додаткових робочих місць, збільшення зайнятості сільського населення, підвищення ефективності виробництва та добробуту селян. Адже переважна більшість переробних підприємств розташована в сільській місцевості, а для деяких населених пунктів вони є основними платниками податків у місцеві бюджети. На їхній базі побудовано соціальну і побутову інфраструктуру сільських населених пунктів, а неритмічна робота переробних заводів дошкуляє найбільш незахищеним верствам населення - призводить, зокрема, до проблем із забезпечення теплом та електроенергією дитячих садків, шкіл, житлових будинків [21].

біоетанол паливо

Висновки

Отже, використання біоетанолу при виробництві моторного палива дозволяє досягнути ряд позитивних ефектів:

.        Скорочення витрат на паливо.

.        Покращення роботи двигуна.

.        Збереження екологічності і безпеки навколишнього середовища.

Перспективи розвитку ринку біоетанолу в Україні обнадійливі, коли Україна повністю увійде в цей процес виробництва альтернативного палива воно матиме вагому нішу на ринку палива країни. Водночас, використання аграрної сировини для виробництва біоетанолу повинно здійснюватися в умовах оптимального поєднання вирішення продовольчої та енергетичної потреби, оскільки, з одного боку, забезпечення населення продовольством є пріоритетом кожного уряду, а з іншого - енергетична незалежність держави є основною її суверенітету.

Разом з переходом на використання біопалива необхідно забезпечити економічну зацікавленість нафтопереробних заводів у виробництві сумішевих бензинів певними категоріями споживачів (шляхом розробки відповідних стандартів та технічних регламентів); встановити обов’язковість індикативної квоти на споживання біоетанолу виробниками бензинів (за прикладом директив ЄС); передбачити відповідне бюджетне фінансування для проведення наукових досліджень; запровадження комплексу заходів щодо підвищення врожайності, впровадження ресурсо- енергоощадних технологій вирощування сировини та її реалізації вітчизняним переробникам, а не вивезення на експорт.

Організація та налагодження виробництва біоетанолу покращить паливно- енергетичний баланс, зменшить залежність країни від імпортних енергоносіїв, оптимізує структуру енергоресурсів, що позитивно вплине на енергетичну безпеку держави.

Список використаних джерел

1.      ГОСТ 17299-78. Спирт этиловый технический.

.        Біоетанол: валюту зекономить і довкілля збереже // Дзеркало тижня. - № 47 (371) 1 - 7 грудня 2001.

.        Стратегічне завдання: стати рапсовим Кувейтом // Дзеркало тижня. - № 44 (723) 22 - 28 листопада 2008.

.        Валакин В.П. Одержання синтетичного етилового спирту. М., Хімія, 1976.

.        Юкельсон И.Ю.Технология основного органічного синтезу. М.,Химия, 1968 р.

.        ПаушкинЯ.М.Нефтихимический синтез у промисловості.М.,Наука,1966 р.

.        Бородіна О., Шевчишин М. Біопаливо: європейські уроки для України. Ж.«Агроперспектива».- 2008. - №8 (104).

.        Джатдоева М.Р. Теоретические основы прогрессивных технологий. Химический раздел. - Ессентуки: ЕГИЭиМ, 1998. - 78 с.

.        Воскобійник Ю.П. Проблеми виробництва та формування ринку біопалива в Україні / ННЦ «Інститут аграрної економіки». - 2010.

.        Святченко С.І. Економічні розрахунки витрат при виробництві біопалива / Вісник ЦНЗ АПВ Харківської області. - 2010. ‑ №8. - С. 274-279.

.        Гуцалюк В.М. Првапораційне розділення однорідних систем / Гуцалюк В.М., Гулий І.С., Рябцев Г.Л. // Харчова промисловість. - 2000. - Вип.45 (додаток). -44с.

.        Ballweg A.H., Bruschke H.E.A., Schneider W., Tusel G.F. 5-th Int. Symp. On Alcohol Fuel Technology, Aukland, New Zeland, 1982.

.        Balat M/ Production of bioethanol from lignocellulosic materials via the biochemical pathway: a review. // Energ. Convers Manag., 2011. - V/52. - P.858 - 875.

.        Ethanol production from hexoses, pentoses, and dilute-acid hydrolyzate. / Sues A. [et al] // FEMS, 2005. - V.5. - P.669 - 676.

.        Пат. 2391402 Российская Федерация, МПК6 С12N 11/02, C12P 7/08. Иммобилизованній биокатализатор для получения єтанола из пентоз / Ефременко Е.Н., Сенько О.В., Степанов Н.А., Варфоломеев С.Д.: заявитель и патентообладатель Учреждение РАН Институт биохимической физики им. Н.М. Ємануєля РАН (ИБФХ РАН). - №2008135918/13; заявл.05.09.2008; опубл.10.06.2010, Бюл.№16. - 14.

.        Пурыгин П.П. Определение токсичности и антиоксидантной активности биомассы спирулины платенсис и лекарственных форм на её основе / Пурыгин П.П., Желонкин Ю.Л., Боронец Т.Ю. // Вестник СамГУ. Естественнонаучная серия. - 2007. - Т.56. - №6. -С.393 - 400.

.        Варфоломеев С.Д. Биотоплива / Варфоломеев С.Д., Ефременко Е.Н.,

.        Етиловий спирт / В.М.Стабников, П.М.Мальцев, І.М.Ройтер, Б.Д.Метюшов; під ред.. В.М.Стабникова. - К: Державне видавництво технічної літератури УРСР, 1959. -336с.

.        Про стан використання біодизеля та біоетанолу у світі та в Україні. Аналітична записка / [Електронний ресурс] / Экологические системы. Электронный журнал энергетической кампании ЭСКО. - 2009. -№6. -19/03/2010 // Режим доступу до журналу: http:/esco-ecosys.narod.ru/2009 6/art026.htm.

.        Калетник Г.М. перспективи виробництва біоетанолу в Україні /Г.М. Калетник // Аграрна техніка та обладнання. - 2009. -№2. -С.50-55.

Похожие работы на - Використання біоетанолу як альтернативного виду палива

 

Не нашли материал для своей работы?
Поможем написать уникальную работу
Без плагиата!
Без нейросетей!