Агрегат 'ковш-печь'
МИНИСТЕРСТВО ОБРАЗОВАНИЯ И НАУКИ РФ
ВЫКСУНСКИЙ ФИЛИАЛ
ФЕДЕРАЛЬНОГО ГОСУДАРСТВЕННОГО
АВТОНОМНОГО ОБРАЗОВАТЕЛЬНОГО УЧРЕЖДЕНИЯ
ВЫСШЕГО ПРОФЕССИОНАЛЬНОГО ОБРАЗОВАНИЯ
"НАЦИОНАЛЬНЫЙ ИССЛЕДОВАТЕЛЬСКИЙ
ТЕХНОЛОГИЧЕСКИЙ УНИВЕРСИТЕТ "МИСиС"
КАФЕДРА электрометаллургия
ПОЯСНИТЕЛЬАЯ ЗАПИСКА К КУРСОВОЙ
РАБОТЕ
ПО КУРСУ Оборудование и проектирование ЭСПЦ
ТЕМА: Агрегат "ковш-печь"
Руководитель
работы проф. Егоров А.В.
Содержание
Введение
Характеристика стали 20
Устройство агрегата ковш-печь
Технологические операции, производимые на агрегате ковш-печь
Позиция нагрева АКП
Электрододержатель
Механизм зажима электрода
Расчет геометрических размеров ковша и футеровки
Список используемой литературы
Введение
Обеспечение качества стали для изготовления отливок в
условиях жесткой конкуренции на мировых рынках является первостепенной задачей.
Эта задача решается, в основном, с помощью внепечной обработке стали, в
частности на агрегатах ковш-печь.
Установка ковш - печь (УКП) предназначена для обработки
жидкой стали в сталеразливочном ковше как с использованием комбинированной
установки вакуумирования стали (КУВС), так и без нее.
На установке осуществляются следующие технологические
операции:
нагрев металла электрической дугой;
продувка металла аргоном для усреднения химического состава
металла и его температуры по объему сталеразливочного ковша;
коррекция химического состава металла;
десульфурация металла белым основным шлаком;
измерение температуры и отбор проб металла и шлака;
микролегирование или получение металла с узкими пределами
содержания элементов путем ввода порошковой проволоки с различными видами
наполнителей;
Характеристика
стали 20
По классификации сталь 20 относится к конструкционной стали,
а точнее, сталь 20 - это сталь конструкционная углеродистая качественная.
Применение сталь 20 находит в самых разных конструкциях, как общего, так и
специального назначения. О конструкциях специального назначения можно сказать
немного подробнее. Так, сталь 20 используется для изготовления: труб
перегревателей, коллекторов и трубопроводов котлов высокого давления, лист
сталь 20 - для штампованных деталей, а так же из стали 20 делают цементуемые
детали для длительной и весьма длительной службы при температурах до 350°C.
Сталь 20 предназначена для - после нормализации или без термообработки крюки
кранов, муфты, вкладыши подшипников и другие детали работающие при температуре
от 40 градусов до 450 под давлением. После ХТО (химико-технической обработки)
сталь 20 может применяться для изготовления: шестерни, червяки и другие детали,
к которым предъявляются требования высокой поверхностной твёрдости при
сравнительно невысокой прочности сердцевины деталей.
Химический состав стали 20, %= 0.17 - 0.24= 0.17 - 0.37= 0.35
- 0.65= до 0.25= до 0.04= до 0.04= до 0.25= до 0.25
Температура критических точек материала 20.
Ac1 = 724, Ac3 (Acm) = 845, Ar3 (Arcm) = 815, Ar1
= 682
Технологические свойства материала 20.
Свариваемость: без ограничений.
Флокеночувствительность: не чувствительна.
Склонность к отпускной хрупкости: не склонна.
Устройство агрегата
ковш-печь
Типичная конструкция установки показана на рисунке 1. В ковше
наводится рафинировочный шлак, и в него сверху опускают электроды системы
электродугового нагрева таким образом, чтобы обеспечить достаточную эффективную
теплопередачу и одновременно защитить огнеупоры ковша от дуги. При этом
остаточные оксиды железа в шлаке восстанавливаются графитовыми электродами. В
результате получают "ультрачистую" сталь с низким содержанием серы.
Рисунок 1 - Общая схема установки ковш-печь: 1 -
Сталеразливочный ковш; 2 - Трайб-аппарат; 3-Свод агрегата ковш-печь;
4-Графитированные электроды; 5 - Воронка подачи сыпучих, 6. Аварийная фурма
Технологические
операции, производимые на агрегате ковш-печь
Разработанная и освоенная технология внепечной обработки в
агрегатах типа ковш - печь позволяет производить весь спектр металлургических
операций в ковшах различной вместимости:
скачивание шлака с помощью специальной машины,
электродуговой подогрев металла трехфазным переменным током
со скоростью нагрева до 5 град/мин,
вакуумирование металла при остаточном давлении до 0,5 ГПа и
продувку кислородом в вакууме,
перемешивание металла в ковше с помощью электромагнитного
индуктора и продувку аргоном через дно ковша,
введение добавок с помощью специальной системы.
Возможность нагрева металла в ковше позволяет: снизить
перегрев металла в сталеплавильном агрегате; провести раскисление - легирование
с повышенным расходом материалов; обеспечить глубокую десульфурацию металла
путем наводки высокоосновного восстановительного шлака. Кроме этого, на такой
установке высокоэффективно используется продувка металла аргоном. Эта продувка
обеспечивает не только дегазацию металла, но и перемешивание его, благодаря
чему ускоряется расплавление присаживаемых в ковш ферросплавов и гомогенизация
расплава по химическому составу и температуре, существенно улучшается
взаимодействие металла и шлака, т.е. десульфурация металла.
Разработаны метод и устройство контроля окисленности шлака,
позволяющие экспрессно определять и регулировать содержание окислов железа
непосредственно в шлаковой ванне, определять количество вводимых в шлак
раскислителей с учетом особенностей каждой плавки. Разработанная технология
обеспечивает возможность получения высококачественного металла, и в т. ч.
сверхчистой хромистой стали для современных роторов газовых турбин, которые
должны надежно работать при температурах от - 40°С при пуске до 500°С в рабочем
режиме и обладать высокой стойкостью против термического старения.
Повышению эффективности использования установки способствуют
многие усовершенствования конструкции, особенно в части электронагрева, в том
числе обслуживание двух стендов одним трансформатором и одним комплектом
электродов с поворотными электрододержателями (двухпозиционная установка). В
части регулирования химического состава металла предусмотрены: продувка металла
аргоном через два пористых блока в дне ковша и через погружную фурму; подача в
ковш всех материалов, необходимых для наведения шлака, раскисления - легирования
и науглероживания металла.
Наиболее важные положения технологии доводки стали на
установке ковш-печь сводятся к следующему.
Доводка металла на установке начинается с продувки его в
течение 1-2 минуты, после чего производится измерение температуры и окисленности
металла. С учетом содержания кислорода в металле вводят в него с помощью
трайб-аппарата расчетное количество алюминиевой катанки (проволоки), чтобы
осуществить предварительное раскисление металла. После этого приступают к
наводке восстановительного шлака, присаживая известь и плавиковый шпат порциями
не более 150 кг (общий расход до 10 кг/т). После получения жидкого шлака его
раскисляют алюминием, расходуя 0,2-0,3 кг на тонну металла. Наводка шлака
продолжается примерно 5 минут.
По окончании наводки шлака через 3 минуты продувки отбирают
пробы металла и шлака, измеряют температуру. После получения результатов
химического анализа металла производят основную корректировку его химического
состава присадкой необходимого количества раскисляющих и легирующих присадок из
расчета получения среднего содержания элементов. Затем металл перемешивают не
менее 5 минут. После этого снова отбирают пробу металла, по результату ее
анализа, если надо, осуществляют дополнительную корректировку химического
состава и температуры стали. Высокоактивные элементы в виде порошковой
проволоки вводят только после окончания последнего цикла нагрева металла.
Позиция
нагрева АКП
Полная продолжительность обработки на позиции нагрева
складывается из периода подвода энергии и времени выдержки.
Необходимо понимать важность обоих этих периодов для
сокращения времени цикла. Особое внимание следует уделить:
времени отбора проб и анализа
времени на подачу материалов, легирование
скорости нагрева, или подвода энергии, в сочетании с системой
перемешивания
системе управления процессом с высокой степенью автоматизации
Первые две позиции не занимают больше 3-5 минут каждая, в то
время как подвод энергии, или конструкция трансформатора, должен быть
оптимизирован с точки зрения обеспечения наибольшей возможной скорости нагрева
при минимальном риске увеличения износа огнеупоров в наиболее горячих точках. Максимальный
рекомендуемый подвод энергии к ковшу зависит от площади ванны, интенсивности
перемешивания и длины дуги. На опыте ряда подобных систем по всему миру
получены следующие размерные соотношения:
Удельный подвод энергии <2,1-2,5 МВт/м²
Длина дуги >6см <9см
При использовании надлежащей скорости вдувания аргона для
перемешивания и надлежащего количества и состава шлака, допустимый максимальный
подвод энергии составит:
2,3 МВт/м² х 8,85 м² = 20,40МВт
Расчет максимальной рабочей точки и конструкции
трансформатора дал следующие значения:
Активная мощность - 20,3МВт
Длина дуги - 100мм
Напряжение дуги - 135В
Вторичное напряжение - 370В
Ток электродов - 44,4 кА
Коэффициент мощности - 0,70
Требуемая номинальная мощность трансформатора может быть
выбрана с учетом периодического характера обработки. Поскольку типичное время
подвода мощности составляет 25-40 минут, в то время как плавка поступает через
каждые 55 минут, коэффициент использования равняется всего 40/55=0,7, и
трансформатор может быть спроектирован с учетом коэффициента перегрузки. При
коэффициенте перегрузки 20% номинальная мощность трансформатора составит: S=23,7 МВА. Поэтому
рекомендуется 25МВА-20%. Оценка скорости нагрева при максимальной мощности
основывается на характеристиках систем аналогичного размера, в которых
используется водоохлаждаемый свод такого же типа. Для конкретной мощности 0,124
МВт/т скорость нагрева достигает 4,7°С/мин. Такая большая мощность применяется
только тогда, когда время имеет решающее значение. При нормальной работе
мощность, как правило, меньше максимальной.
Показатель огнеупорности по Швабе равен:
Где а - расстояние между электродом и огнеупорной стеной.
Для выбранной максимальной рабочей точки получаем:

= 18х10³х
= 44,8 VkW/cm²
Поскольку ковш-печь всегда работает с дугой под флюсом, значение
показателя огнеупорности не оказывает большого влияния на износ огнеупора.
Более важным факторами являются удельная мощность и интенсивность
перемешивания, которые были рассмотрены выше. В соответствии с вышеприведенным
анализом, мощность трансформатора ковша-печи должна составлять 25МВА-20%, а
электроды должны быть спроектированы так, чтобы они выдержали ток до 45кА.
Высокопрочные электроды местного производства могут выдерживать до 28А/см², следовательно, выбираются высокоплотные
электроды 450мм.
Основные характеристики АКП (данные ЛПК)
|
Номинальная
емкость ковша
|
160т
|
|
Номинал
трансформатора
|
25-20% МВА
|
|
Максимальный
ток на вторичной обмотке
|
44.4 КА
|
|
Диапазон
вторичного напряжения
|
240-360В
|
|
Диаметр
электродов
|
450 мм
|
|
Диаметр шага
электродов
|
750 мм
|
|
Скорость
нагрева
|
4,5 С/мин
|
|
Потребление
электрической мощности
|
0,46 кВт/час
|
|
Расход
электродов
|
0,010 кВт/час
|
|
Пористых пробок
в ковше
|
2х36 Нм³/час
|
|
Свод
|
водоохлаждаемый
|
|
Конструкция
|
газонепроницаемый
|
|
Количество
сводов
|
2
|
|
Тележки
стальковша
|
2
|
|
Пробоотбор
|
автоматический
|
|
Количество
пробоотборных устройств
|
2
|
|
Количество
систем подачи присадочной проволоки
|
2
|
|
Устройство
аварийного перемешивания
|
2
|
Электрододержатель
Электрододержатель служит для крепления графитированного
электрода и для подвода к нему электрического тока.
Электрододержатель работает в тяжелых условиях: повышенная
температура и запыленность окружающей среды, тепловой поток от нагретого
электрода, интенсивное тепловыделение по закону Джоуля-Ленца при протекании
через электродержатель силой 50-100 кА и более.
Поэтому конструкция электрододержателя должна быть надежной,
долговечной, механически прочной и жесткой, обеспечивать хороший контакт с
поверхностью электрода, создавать необходимую силу трения для уравновешивания
веса электрода и удержания его без проскальзывания в процессе плавки, иметь
минимальные электрический потери. Электрододержатель состоит из корпуса,
рукава, механизма зажима электрода и токопровода.
Корпус имеет две выполняющие разные функции части: подвижную,
упирающуюся в электрод при помощи механизма зажима и выполняющую роль зажима, и
неподвижную, к которой прижимают электрод, проводят при помощи токопровода
электрический ток и которую, как правило, охлаждают водой для уменьшения
окисления контактных щек электродержателя.
Рукав электрододержателя является составной частью несущей
конструкции, предназначенной для передвижения электрода при помощи
соответствующего механизма.
Механизм передвижения электродов имеет исключительно важное
значение для работы, так как он в основном определяет качество автоматического
регулирования электрического режима плавки, а следовательно, подаваемую в печь мощность.
К механизму передвижения электродов предъявляют следующие
требования:
агрегат ковш печь сталь
быстрый разбег и быстрое торможение, чтобы обеспечить
своевременное передвижение электродов, исключить их поломки при опускании;
достаточно большая скорость передвижения электродов для
быстрой корректировки электрического режима, а также для сокращения простоев;
невозможность самопроизвольного опускания электродов под
действием силы тяжести несущей конструкции;
надежность в работе, удобство при обслуживании и ремонте.
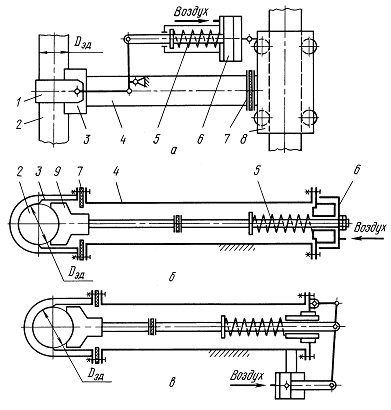
Рис.2. Схемы электрододержателей:
а - с зажимной скобой; б, в - с нажимной
колодкой; 1 - скоба; 2 - электрод; 3 - неподвижная часть; 4 - рукав; 5 - пружина; 6 - пневмоцилиндр; 7 -
электроизоляция; 8 - каретка; 9 - колодка.
Механизм
зажима электрода
Механизм зажима электрода должен создавать постоянное,
независимое от внешних условий (например, различное тепловое расширение
электрода и корпуса электродержателя) усилие зажима, обеспечивать ход подвижной
части корпуса на 20-50 мм для отжима с целью изменения длины (припуск)
электрода при дистанционном управлении операцией. Наиболее распространены
пружинно-пневматические (гидравлические) механизмы зажима электрода: зажим за
счет потенциальной энергии предварительно сжатых пружин, отжим - при помощи
пневмо (гидро) - цилиндра, сжимающего пружины.
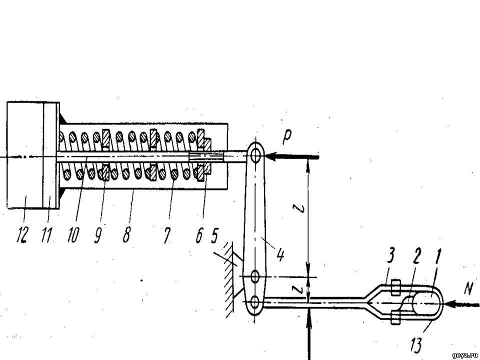
Рис. 3
- Кинематическая схема пружинно-пневматического зажима.
Механизм состоит из зажима 3 с регулируемыми тягами, рычага
4, соединенного шарнирно с тягой и штоком 10. Рычаг 4 шарнирно опирается на
неподвижную стойку 5. В нажимном устройстве три последовательно расположенные
пружины 7 разделены шайбами 9; силу нажатия пружин регулируют гайкой 6. Пружины
размещены в корпусе 8, жестко связанном с пневматическим цилиндром 12.
Пружинное устройство действует постоянно с определенным, ранее отрегулированным
гайкой 6, усилием на шток 10 и далее на рычаг 4 и хомут 13, прижимающий
электрод 1 к рабочей поверхности электрододержателя 2. Для освобождения
электрода в пневматический цилиндр 12 подают сжатый воздух, и поршень
передвигаясь влево, освобождает электрод 1. Шток 10 под действием пружин 7
работает только на растяжение тяги хомута 13, что, является преимуществом
зажима данной конструкции.
Расчет
геометрических размеров ковша и футеровки
Объем жидкого металла:

= 17,9
м3 =
Вычислим диаметр зеркала металла в ковше:

По данным ЛПК отношение 
, 
= 2.7, 
= 2.9 м
Футеровка ковша состоит из двух слоев: рабочего из
периклазохромитового кирпича марки ПХСУТ (240х216х80) и теплоизоляционного из
шамотного кирпича марки ША (250х239х80). Толщина стены:
Внешний диаметр ковша 
=
Расчет механизма зажима электрода. Расчет электрододержателя.
Усилие на штоке пневмоцилиндра зависит от конструкции рычага,
передающего действие привода механизма электрододержателя:
Где 
Равный 0,9-0,93

=
)

) где
0,25π, где
плотность электрода = (1,5-1,6) 
кг/
м3

- расчетное значение нормальной силы, создаваемое нажимной
колодкой.

=0,25 коэффициент трения электрода на поверхностях соприкосновения
с бронзовыми контактными щеками

- 0,2 и стальной нажимной колодкой

- длина графитированного электрода = 2,7+0,3+0,4+0,1 =3,5м=3500мм
Определение диаметра графитированного электрода: оценим возможный
диаметр электрода, ГОСТ 4426-80 устанавливает норму средней плотности тока I на высшей ступени мощности в энергетический период плавки,
по таблице 4.3 учебного пособия "Расчет мощности и параметров электропечей
черной металлургии" Егоров А. В.
=
= 38см, округляем = 400 мм
= 1,5
9,8
- фактическое усилие
зажима электрода
= (1,2
/0,9=84,76
Список используемой
литературы
1. Егоров
А.В. "Электроплавильные печи черной металлургии" Учебник для вузов,
М; Металлургия, 1985, 280 с.
2. Егоров
А.В. "Расчет мощности м параметров электропечей черной металлургии"
учебное пособие для вузов М; Металлургия, 1990, 280 с.