Скрепер полуприцепной
Федеральное
агентство железнодорожного транспорта (РОСЖЕЛДОР)
Сибирский
государственный университет путей сообщения
Кафедра
“Механизация путевых, погрузочно-разгрузочных и строительных работ”
Курсовой
проект по дисциплине
²Строительные
и дорожные машины²
Скрепер
полуприцепной
Разработал
студент гр. 07-М-38
Войкин С.В.
Руководитель
доцент
Куликова Е.Г.
Содержание
1. Назначение, схема общего
устройства, описание работы машины
. Описание гидравлической схемы
машины
. Определение основных параметров
машины
. Определение основных параметров
рабочего органа
. Расчет несущей способности и
жесткости рамы рабочего органа
. Определение эксплуатационной
производительности скрепера
. Список литературы
Приложение
гидравлическая схема жесткость рама скрепер
1.
Назначение, схема общего устройства, описание работы машины
Скреперы предназначены для послойного
(горизонтальными слоями) копания грунта, транспортирования и отсыпки его в
земляные сооружения спланированными слоями заданной толщины. Кроме того, при
движении по насыпям скреперы своими колесами уплотняют отсыпаемые слои грунта;
благодаря чему сокращается потребность в специальных грунтоуплотняющих машинах.
Скреперы используются для разработки грунтов до
IV категории включительно. Очень плотные грунты, III - IV категории
предварительно разрабатываются рыхлителями. Возможность применения скреперов
определяется дальностью транспортирования грунта.
Полуприцепной скрепер обладает лучшей по
сравнению с прицепным уплотняющим свойством грунтов, в связи с распределением
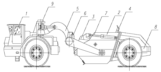
части массы на тягач. Скрепер, рисунок 1, оснащен гидросистемой для привода
рабочих органов. Состоит скрепер из тягача 1, ковша 2 с заслонкой 3, и задней
стенкой 4, тяговой рамы 5 с хоботом, несущей рамы с буфером, гидроцилиндры
подъема и опускания ковша 6, гидроцилиндры управления заслонкой 7,
гидроцилиндры перемещения задней стенки 8, и шкворневого устройства 9.
Рисунок 1 - Полуприцепной скрепер
1 - тягач, 2 - ковш, 3 - заслонка ковша, 4 -
задняя стенка, 5 - тяговая рама с хоботом, 6 -гидроцилиндры подъема и опускания
ковша, 7 - гидроцилиндры управления заслонкой, 8 - гидроцилиндр перемещения
задней стенки, 9 - шкворневое устройство
При наборе грунта гидроцилиндрами 6 опускается
ковш 2, поднимается заслонка 3 гидроцилиндрами 7.
При окончании набора грунта заслонка 3
прикрывается и ковш 2 приподымается гидроцилиндрами 6.
Перед транспортировкой ковш 2 полностью
подымается и окончательно закрывается заслонкой 3.
При выгрузке груза заслонка 3 открывается, ковш
опускается до 500 мм, в зависимости от высоты отсыпки грунта и конкретных
задач, задняя стенка вместе выдвигается гидроцилиндрами 8, освобождая ковш от
набранного ранее грунта.
2.
Описание гидравлической схемы машины
На схеме СДМ. 08-ВМ-40.00.00 ГЗ показана
гидравлическая схема скрепера, которая предназначена для управления ковшом,
заслонкой, механизмом разгрузки.
Управление подъемом или опусканием ковша
осуществляется с помощью гидроцилиндров Ц5, Ц6 для чего оператор ставит
распределитель Р3 в одну из рабочих позиций, при этом жидкость идет:
Управление заслонкой осуществляется цилиндрами Ц3,
Ц4. Путь жидкости:
Управление механизмом принудительной разгрузки,
осуществляется цилиндрами Ц1, Ц2. Путь жидкости:
В блок первичной защиты КП1, золотниковые
распределители Р1, Р2, Р3, манометры для замера давления в напорной и сливной
магистралях, фильтр Ф1 - для очистки рабочей жидкости. Блок первичной защиты
настроен на Р = 24 МПа. Рабочее давление в системе Р = 16 МПа.
3.
Определение основных параметров машины
Вес грунта
bг позволяет нам определить вместимость ковша q:
(1)
где g - ускорение свободного падения (g
= 9,81 м/с2); r - плотность грунта, принимаем r=1820
кг/м3 [7].
Вес скрепера
bc равен:
, (2)
где а - коэффициент материалоемкости скрепера,
принимаем а = 1,1´103 кг/м3
[7].
Тогда вес груженого скрепера
:
(3)
Внутренняя ширина ковша
рассчитывается из условия превышения габаритной ширины движителя тягача:
,(4)
где Вт - ширина тягача; Dв - зазор между наружным
краем движителя и внутренней поверхностью боковой стенки ковша.
м.
Для скрепера принятого в качестве
прототипа, на основании одинаковой вместимости ковша (q = 11 м3),
используется гусеничный трактор Т - 170. В расчете принимаем геометрические
параметры этого трактора: Вт = 3300 мм.
мм.
Габаритная ширина скрепера
,(5)
где Dв1 -
сумма толщин стенки, накладок тяговой рамы и зазора между ковшом и тяговой
рамой, Dв1
= 0,17 … 0,27 м, принимаем Dв1 =0,2 м.
мм.
Соотношение между длинной и высотой
ковша принимаем
H/L = 0,8.(6)
Длину предварительно найдем из соотношения:
.(7)
С учетом (6):
Тогда
(8)
м.
Тогда из соотношения (6):= 1,6 м.
Принимаем H = 1,6 м.
Высота задней стенки принимается:
.(9)
м.
Радиус дугообразной заслонки:
.(10)
м.
Окончательно принятые размеры:
ширина ковша В = 3400 мм
длина ковша L = 2000 мм высота ковша H = 1600
мм.
Размеры и тип пневматических шин
колес скрепера подобраны по наибольшей статической нагрузке согласно ГОСТ
8430-85. У полуприцепных скреперов 52% сцепного веса приходится на переднюю
ось, отсюда нагрузка на шину равна:

(11)

Н.
Из [2] выбраны шины 27.00-35 со следующими
характеристиками:
Размеры шины, мм
наружный диаметр 2220±34
ширина профиля 762±24
статический радиус 1015±17
масса шины, кг 760
внутреннее давление при скорости 50 км/ч, МПа
0,35
нагрузка на шину, кН 155,50
Скорости основных движений
Скорость движения при заполнении, м/с;
V1=0,7·V.(12)

Скорость движения при транспортировании грунта
самоходным скрепером составляет 40-50км/ч, принимаем 50 км/ч, что составляет:
Скорость при разгрузке,
(13)
Скорость холостого хода,
(14)
Внешние сопротивления, законы их
изменения
Суммарное сопротивление на заключительной стадии
наполнения ковша:
, (15)
где - WР - сопротивление
резанию; WH - сопротивление наполнению ковша;
-
сопротивление перемещения призмы волочения; WF - сопротивление
перемещению груженого скрепера.
Сопротивление резанию:
(16)
где С - число ударов динамического плотномера,
(принимаем С=12); h - глубина резания, принимаем h = 7 см; l - длина
горизонтальной режущей кромки, l = B = 3400 мм для сплошного пояса; g0
- угол резания, g0
= 40°;
S - толщина бокового пояса, принимаем S = 150 мм; Y0 - коэффициент,
зависящий от угла заточки лобовых поясов, Y0 = 0,8 [4];
m
- величина, зависящая от условий резания, m = 1 [4].
Н.
Сопротивление наполнению ковша:
,(17)
где W1 - сопротивление
вдавливанию срезаемого грунта в заполненный ковш; W2 - сопротивление
трению о грунт продвигающейся в грунт стружки.
(18)
где x - коэффициент,
зависящий от высоты грунта в ковше, x = 1,5 [4];
Ксж - удельная сопротивляемость пласта срезу на заключительной
стадии положения ковша, Ксж=9 Н/см2 [4];
Ас - площадь поперечного сечения стружки.
, (19)
м2.
Н.
tg j 0 , (20)
где g - ускорение свободного падения, м/с2,
(g = 9,81 м/с2); Н - высота наполнения ковша, Н = 1,6 м; l - ширина
стружки, l = 3,4 м; l - длина стружки в конце заполнения
ковша, l
= 0,25 м [4]; r
- плотность грунта, r = 1820 кг/м3; tg j
0 - коэффициент трения расчетного грунта о грунт, tg j
0 = 1.
Н.
Сопротивление перемещения призмы
волочения:
,(21)
где VП - объем призмы волочения, м3,
, (22)
м3.
Н.
Сопротивление перекатыванию
скрепера:
(23)
где f - сопротивление перекатыванию,
f = 0,06 [4].
Н. По
формуле (15) суммарное сопротивление:
Н.
Выбор тягача и толкача
Толкач подобран правильно, если соблюдаются два
условия:
,(24)
,(25)
где
- максимальные кратковременно
допустимые силы тяги тягача и толкача (при коэффициенте буксования для
колесного движителя
=0,3, для
гусеничного
=0,1);
-
коэффициент одновременной работы тягача и толкача, (
=0,85 [1]);
-
действительные скорости движения тягача и толкача при соответствующих
(
).
Построение кривой буксования
,(26)
где
- сила тяги движителя , кН;
- сила
тяжести, приходящаяся на ведущие колеса;
- коэффициенты, принимаемые в
зависимости от конструкции шин, грунта, давления воздуха в шинах (А=0,09,
В=2,34, n=8 [1]),
,(27)
Полученные значения
сведем в
таблицу 1.
Таблица 1 - Значения
Условия выбора тягача и толкача:
1.
,(28)
.
,(29)
где
- максимально кратковременно
допустимая сила тяги тягача, (при
= 0,3
= 124 кН,
= 1,7 м/с);
-
действительные скорости движения тягача и толкача, м/с;
Необходим толкач обеспечивающий силу тяги в 36,5
кН, например Т-130.
Рисунок 2 - Кривая буксования
4.
Определение основных параметров рабочего органа
Выполнена эскизная компоновка, исходными данными
являются:
Размеры ковша (В = 3,4 м; Н = 1,6 м; L = 2,0 м;
Нз = 1,76 м; Вш = 0,762 м).
Рекомендуется выполнение следующих положений:
равенство колеи передней и задней осей;
седельно - сцепное устройство обеспечивает
поворот тягача в плане относительно скрепера на 90° в каждую сторону;
зазор между задними колёсами и элементами
металлоконструкции не менее 1 м. Остальные размеры приняты конструктивно.
Расчет приводов рабочих органов
Целью расчета является определение усилий и
скоростей в соответствующих механизмах, выбор гидроцилиндров.
Расчетная схема показана на рисунке 2.
Рисунок 3- Расчетная схема полуприцепного
скрепера
Исходными данными являются известные силы: Gтяг
= 118,7 кН; Gк+г = 318,7 кН; Gр = 7 кН.
В соответствии с нагрузками на каждую ось
приняты: Rп = 165,724 кН; R3 = 152,976 кН.
Уравнения связи между неизвестными:
,(30)
,(31)
,(32)
кН;
кН.
Для определения неизвестных необходимо составить
и записать систему из двенадцати уравнений. Уравнения равновесия всей машины:
(33)
(34)
(35)
Уравнения равновесия тягача:
(36)
(37)
(38)
Уравнения равновесия тяговой рамы:
(39)
(40)
(41)
Рисунок 4 - Схема сил, действующих на тягач
Рисунок 5 - Схема сил, действующих на тяговую
раму скрепера
:
:
:
:
:
:
:
:
:
Из уравнений (27-35):
47,0 кН;
131,4 кН∙м;
36,5 кН;
154,9 кН.
Расчет механизма подъема и опускания
ковша
Расчётное положение: скрепер работает на
заключительной стадии наполнения ковша; включён механизм подъёма ковша, толщина
срезаемой стружки hс = 0.
Усилие Fп, действующее в механизме
подъёма, определяется из уравнений равновесия тяговой рамы.
Из уравнений (33-41):
кН.
Диаметр гидроцилиндров:
,(42)
где р - рабочее давление в гидросистеме, МПа (р
= 16 МПа); z - количество гидроцилиндров, (z = 2);
Принимаем 2 гидроцилиндра со следующими
параметрами:
Диаметр поршня, мм Dц = 100;
Диаметр штока, мм dшт = 60;
Ход поршня (штока), мм Хшт = 800;
Расчет механизма управления
заслонкой
Расчетное положение: происходит подъём заслонки
в начальной стадии разгрузки заполненного грунтом (с "шапкой") ковша,
при этом с заслонкой поднимается весь находящийся в ней грунт.
Рисунок 6 - Схема сил действующих на заслонку
Необходимое усилие FЗАС,
преодолеваемое гидроцилиндрами подъёма заслонки определяется из условия
равновесия системы
, (43)
где GЗАС -
сила тяжести заслонки, GЗАС = 4 кН; GГ - сила тяжести
грунта, находящегося в заслонке.
Плечи сил берем из прототипа.
Приближенно вес грунта в заслонке GГ
можно найти из выражения:
,(44)
где k3 -
коэффициент, учитывающий конфигурапию заслонки, k3 = 0,8; В3,
H3, L3 - соответственно ширина, высота и длина заслонки; rГ
-
плотность грунта; g - ускорение свободного падения.
Трение грунта по плоскости АВ не учитывают, так
как при повороте заслонки связь между грунтом в заслонке и грунтом в ковше
нарушается.
Выбор гидроцилиндра проводим по усилию:
(45)
Выбран гидроцилиндр с тянущим
усилием F = 32,5 кН [7].
диаметр поршня D = 70 мм;
диаметр штока d = 32 мм;
ход штока L = 640 мм;
номинальное давление в гидролинии p
= 16 МПа.
Механизм разгрузки
Расчётное положение: начальная стадия изменения
положения задней стенки, ковш перед этим был полностью заполнен. Расчётная
схема приведена на рисунке 6.
Рисунок 7 - Расчётная схема к определению
механизма разгрузки
Сила F, необходимая для выталкивания грунта из
ковша, кН:
,(46)
Сила трения грунта о днище ковша Fд,
кН:
, (47)
где µ1 - коэффициент трения грунта о
сталь, (µ1 = 0,7 [2]); Gгр - вес грунта оставшийся
в ковше после открытия заслонки, кН; γг
объемный вес грунта в естественном залегании, Н/м3 gгр -
объёмный вес грунта, кН/м3 (gгр = 17,8 кН/м3).
кН.
Сила трения грунта о боковые стенки
ковша Fб, кН:
, (48)
где Еа - активное давление грунта на
боковую стенку ковша, Па; ϕ2
- угол трения грунта по грунту, (ϕ2
= 26,5 [2]).
кН.
Сила сопротивления качению роликов задней стенки
по днищу ковша Fк, кН:
, (49)
где
- коэффициент сопротивления качению
роликов, (
= 0,12 [2]);
Gст - вес задней стенки, кН [2] (Gст = 6 кН);
кН.
Сила инерции Fj, кН:
,(50)
где uс - скорость движения задней
стенки (uс = 0,15 м/с [2]); t - время разгона, с (t = 0,5 с [2]);
кН.
кН.
Для нахождения высоты h, м берём сумму моментов
относительно точки А:
,
(51)
м.
По формуле (23) подбираем гидроцилиндр:
м.
Принимаем два гидроцилиндра [2] со следующими
параметрами:
Диаметр поршня, мм Dц = 90;
Диаметр штока, мм dшт = 50;
Ход штока, мм Хшт=840.
5.
Расчет несущей способности и жесткости рамы рабочего органа
Расчёт тяговой рамы производим на основании
ранее произведённых расчётов. Сечение 1 - 1: Условие расчёта прочности σи,
МПа:
,(52)
где Мх - момент от силы Fш,
кН∙м;
, (53)
Расчётная схема представлена на рисунке 8.
Рисунок 8 - Расчетная схема
кН∙м, Му - момент
от силы Rш, кН;
, (54)
кН∙м, Wx, Wy
- моменты сопротивления сечения относительно оси х и у, м3;
, (55)
где у - максимальное расстояние от центра
тяжести, м (у = 0,6 м); I - момент инерции сечения, м4;
м4,
м3,
[σизг]
- допускаемое напряжение на изгиб, МПа (для стали 3 [σизг]
= 160 МПа [3]);
,
Условие выполняется, следовательно, расчёт
сделан, верно.
Сечение 2-2 проверяется на прочность от
крутящего момента:
Условие расчёта прочности на кручение τкр,
МПа:
,(57)
где Мкр - крутящий момент, кН∙м:
;(58)
кН∙м.
- моменты сопротивлений сечения , м3;
, (59)
где d- средний диаметр сечения, м (d=0,4м); t
- толщина стенки, м (t = 0,1 м);
м3.
[τ] - допускаемое
напряжение при кручении, МПа (для стали 3 [σ] = 65 МПа
[3]).
.
Условие выполняется, прочность достаточна.
6. Определение
эксплуатационной производительности скрепера
Производительность эксплуатационная скрепера ПЭ,
м3/ч:
ПЭ=
,(60)
где
kH - коэффициент наполнения ковша, (kH = 0,9); kB
- коэффициент использования по времени, (kB = 0,85); kP -
коэффициент разрыхления грунта, (kP = 1,2); ТЦ - продолжительность
рабочего цикла, с.
ТЦ =
, (61)
где l1 - длина наполнения ковша, м; l2
- длина транспортирования грунта, м (принимаем l2 =3000 м); l3
- длина пути разгрузки, м; l4 - длина пути обратного (порожнего)
хода, м; tп - время на переключение передач, tп = 5 с; tпов
- время на один поворот, tпов = 10 с.
Длина пути наполнения ковша:
, (62)
где kп - коэффициент, учитывающий
потери грунта при образовании призмы волочения и боковых валиков, kп =
1,3; 0,7 - коэффициент, учитывающий неравномерность толщины стружки; Ас
- площядь стружки в начальный момент резания.
где
- толщина стружки в начальный
момент резания, м (
= 0,3 м).
Длина пути разгрузки ковша:
,(63)
где
- толщина отсыпаемой стружки,
принимаем из условия наиболее полного уплотнения грунта колесами скрепера.
Длинна пути порожнего хода:
,(64)
ТЦ =
.
По формуле (60):
ПЭ=
Сменная производительность:
,(65)
tcм - продолжительность смены, tcм
= 8 ч.
.
Список
литературы
1. Курсовой и дипломный проекты.
Требования к оформлению СТП СГУПС 01.01.2000. С 44.
. Проектирование
землеройно-транспортных машин. Методические указания. Новосибирск. 2003. 39с.
. Забегалов Г.В., Ронинсон Э.Г.,
Бульдозеры и скреперы. М., 1986. 303с.
. Машины для земляных работ. Гаркави
Н.Г. М., 1982. 333с.
. Строительные машины. Задания и
методические указания к лабораторным и практическим занятиям. Новосибирск.
1997. 43с.
. Дорожные мащины. Часть 1. Машины
для земляных работ./ Т.В. Алексеева, К.А. Артемьев, А.А. Бромберг и др. М.,
1972. 504 с.
Приложение
Эскизная компоновка прицепного скрепера с
принудительной разгрузкой
Кривая буксирования