Проектування очисних споруд у системі водопостачання

  • Вид работы:
    Дипломная (ВКР)
  • Предмет:
    Строительство
  • Язык:
    Украинский
    ,
    Формат файла:
    MS Word
    648,83 Кб
  • Опубликовано:
    2013-02-25
Вы можете узнать стоимость помощи в написании студенческой работы.
Помощь в написании работы, которую точно примут!

Проектування очисних споруд у системі водопостачання













Дипломний проект

На тему:

Проектування очисних споруд у системі водопостачання


ЗМІСТ

1. Завдання на проектування

2. Охорона джерел водопостачання від забруднення і виснаження

3. Розрахунково-конструктивна частина

3.1   Визначення розрахункових витрат води

3.2    Водозабірний вузол

3.2.1   Конструювання основних елементів водозабору

3.2.2 Розрахунок НС-1

.2.3   Захист водозабору від придонної криги, шуги, рибозахист

3.3   Очисні споруди

.3.1  Вибір технологічної схеми очистки води та складу ОС

3.3.2 Розрахунок реагентного господарства та хлораторної

.3.3   Розрахунок змішувача

.3.4   Розрахунок освітлювачів коридорного типу

.3.5   Розрахунок швидких фільтрів

.3.6   Побудова та розрахунок висотної схеми

3.4   Напірно-регулюючі ємкості

3.4.1   Розрахунок резервуарів чистої води

3.4.2 Розрахунок насосної станції другого підйому

4. Експлуатаційна частина

.1 Опис технологічного процесу

4.2    Експлуатація очисних споруд

4.3   Норми технологічного режиму

4.4    Експлуатація руслового водозабору

.5      Видалення з води запахів присмаків і розчинених газів

.6      Боротьба з біологічним обростанням

.7      Дефектна відомість

.8      Графік ППО і ППР

5. Охорона праці та БЖД

.1 Охорона праці

5.2    Техніка безпеки

5.3   БЖД об’єкту господарювання

6. Економічна частина

.1 Техніко-економічні показники

6.2    Виробнича програма

6.3   Визначення собівартості очистки одного метра кубічного води

.3.1  Кошторис річних експлуатаційних витрат

6.3.2 Розрахунок витрат на матеріали

.3.3   Розрахунок витрат на електроенергію

.3.4   Розрахунок амортизаційних відрахувань

.3.5   Розрахунок фонду оплати праці робітників з нарахуванням

.3.6   Розрахунок загально-виробничих витрат

Література

ВСТУП

Водні ресурси є національним багатством країни, однією з природних основ її економічного розвитку. Вони забезпечують усі сфери життя і господарської діяльності людини, визначають можливості розвитку промисловості і сільського господарства, розміщення населених пунктів, організації відпочинку й оздоровлення людей.

Вода - це не тільки природний ресурс, а й елемент, який має яскраво виражену соціальну значимість.

Водопостачання, як галузь, забезпечує стабільне функціонування промисловості, задовольняє соціальні, гігієнічні, культурно-естетичні та інші потреби населення. Для забезпечення водою населення та промислово-господарського комплексу необхідно мати цілу низку споруд для забору води, її підйому, очищення, накопичування, транспортування, розподілу. Набір споруд залежить від наявності якісних показників водних джерел, вимог споживачів до води та їх кількості, складу самих споживачів, наявності обладнання, матеріалів тощо.

Середньодобове споживання води на 1 міського жителя України становить 320 літрів на добу, а у великих містах Європи - 100-200 л. Крім того, під час транспортування втрачається приблизно 2 км3, що дорівнює річному стоку Південного Бугу.

В Україні 35 млн. жителів споживають воду з річкової системи Дніпра, де знаходяться 50 великих промислових центрів, 4 атомні електростанції, десятки тисяч підприємств промислового і сільськогосподарського профілю, 50 великих зрошувальних систем. Дніпро перетворився на гігантський накопичувач забруднених вод.

Централізованим водопостачанням в Україні забезпечене населення всіх міст і 86,4% селищ міського типу. У той же час централізованих систем каналізації й очисних споруд не миють 28 міст і майже третина селищ міського типу (392), а у 187 міських населених пунктах очисні каналізаційні споруди працюють неефективно, що призводить до щоденного скидання до5 млн. м3 забруднених стічних вод. Виробнича потужність усіх централізованих водопроводів сьогодні становить 25,7 млн. м³ на добу, а каналізаційних очисних споруд 16,4 млн. м³. Це зумовлює неприпустиме збільшення диспропорції між потужностями водопроводу й каналізації і, як наслідок, більш інтенсивне забруднення джерел водопостачання.

Водопостачанням називається комплекс заходів, за допомогою яких забезпечуються всі потреби споживачів у воді в будь-якому населеному пункті або на будь-якому великому, розташованому за межами населеного пункту, підприємстві. До цих заходів належать: добування води; поліпшення її якості; підняття води насосним устаткуванням і транспортування її до місць споживання; розподіл її між споживачами зі створенням умов для більш зручного й доцільного забору води. Метою водопостачання є:

• забезпечення потреб населення у доброякісній воді;

• сприяння зменшенню кількості інфекційних захворювань;

• забезпечення випуску, поліпшення якості, зниження собівартості промислової продукції, сприяння збільшенню її кількості;

• забезпечення водою тваринницьких ферм;

• забезпечення потреби у воді під час гасіння пожеж;

• забезпечення поливання присадибних ділянок, вулиць, теплиць, газонів, парків тощо;

• забезпечення водою будників відпочинку, санаторно-курортних комплексів, майстерень, машино-тракторних станцій, локомотивних та вагонних депо тощо.

Потреби у воді. Вода в житті людини відіграє важливу роль. Для фізіологічних потреб людині на добу потрібно 2,5 л питної води, але ресурси прісної води на земній кулі далеко неоднакові і більш як 500 млн. осіб страждають від захворювань, спричинених дефіцитом або низькою її якістю. Водночас у цілому на земній кулі на одного мешканця на рік припадає більш ніж 1000 м3прісної води.

1. Завдання на проектування

Вихідні дані

Потреба міста 20000м3

Продуктивність станції 22000м3

Потреба реагентів:

Коагулянт 446,688т/рік

Флокулянт 8,03т/рік

Хлор 48,18 т/рік

Нст І -підйому:

Нст ІІ -підйому:

2. Охорона джерел водопостачання від забруднення і виснаження

Сучасний розвиток промисловості, сільського господарства, транспорту, а також ріст міст супроводжується великим скидом забруднених вод. При відсутності належних заходів із зниження забруднення води, природне розбавлення і самоочищення стає недостатньою. Великі концентрації шкідливих домішок перешкоджають самоочищенню води і її забруднення інтенсивно прогресує.

Тому, для збереження чистоти водойм, необхідно:

·    забезпечити повну очистку комунально-побутових і промислових стоків;

·        вдосконалювати і змінювати технологію промислового виробництва;

·        розроблювати і впроваджувати маловодну і безводну технології;

·        широко впроваджувати оборотне водопостачання, розширювати повторне використання очищених стічних вод;

·        застосовувати раціональні способи і прийоми використання добрив і пестицидів;

·        розробляти і здійснювати державні плани водоохоронних заходів в масштабах басейнів річок і водойм з урахуванням перспективного розташування продуктивних сил і засобів виробництва.

Наразі існують такі способи очищення стічних вод: механічна, фізико-хімічна, хімічна і біохімічна.

Механічна очистка служить для відокремлення нерозчинних речовин шляхом проціджування, відстоювання, фільтрування і центрифугування. Застосовують її, як попередню перед іншими способами очистки, або у випадках, коли стічні води, які пройшли через згадані пристрої, використовують з метою виробництва чи, якщо можливо, їх скидають у водойму. Воду, яка пройшла механічну очистку, як правило хлорують.

Хімічні і фізико-хімічні способи застосовують для очистки виробничих стічних вод від колоїдних і розчинних речовин. Для цього, у відповідності з характером забруднення, у воду вводять спеціальні реагенти, пропускають повітря чи пару, використовують електроліз та іонообмінні матеріали.

Біохімічна очистка основана на властивості деяких організмів використовувати для свого розвитку органічні речовини стічних вод. Цей спосіб використовують після того, як стічна вода очищена від мінеральних і нерозчинних органічних речовин. Він дозволяє майже повністю видалити забруднення органічного походження. Біохімічну очистку проводять в природних умовах - на полях зрошення, а також в штучних умовах - в біологічних фільтрах.

Охорона води від забруднення добривами і пестицидами. Забруднення водойм не є обов’язковим супутником інтенсифікації сільськогосподарського виробництва. Більш того, при правильне використання мінеральних добрив покращує структуру ґрунту і підвищує його стійкість до водної і вітрової ерозії.

Для запобігання попадання добрив у водойми необхідно:

·    дотримувати відповідність норм кількості добрив потребі рослин;

·        встановлювати оптимальні терміни внесення добрив;

·        вносити добрива в подрібленому вигляді в період вегетації рослин;

·        вносити добрива разом із зрошувальною водою, що зменшує їх дозу.

Для обмеження попадання пестицидів у водні об’єкти необхідно:

·    вдосконалювати систему їх застосування;

·        застосовувати стрічкову чи крайову обробку замість суцільної;

·        ширше застосовувати біологічні методи захисту рослин;

·        розробляти менш шкідливі види пестицидів;

·        забороняти хімічну обробку за допомогою авіації.

Використання стоків тваринницьких комплексів. Задача боротьби з пагубною дією тваринницьких стоків на водні об’єкти довгий час рахувалась важкою із-за великої їх кількості, складності утилізації і вивозу, трудності забезпечення санітарного стану гноєсховищ. Ця проблема не вирішена і зараз для більшості невеликих і неспеціалізованих господарств.

Захист води від забруднення синьо-зеленими. “Цвітіння” води в результаті інтенсивного розвитку синьо-зелених водоростей явище закономірне. Воно виникає в результаті діяльності людини з формування біоценозів, створення водосховищ і т.п.

До заходів, які регулюють розвиток синьо-зелених можна віднести такі:

·    різке зменшення притоку харчових продуктів у водойму за рахунок поверхневих змивів і стічних вод;

·        видалення водоростей з подальшим їх використанням в господарських цілях;

·        локальне видалення мулових відкладень, які акумулюють значні запаси біогенних елементів;

·        підвищення ступеня кисневого насичення природних шарів води за рахунок додаткової аерації.

3. Розрахунково-конструктивна частина

.1 Визначення розрахункових витрат води

Водоочисна станція проектується з урахуванням її рівномірної роботи на протязі доби. Повна продуктивність станції включає водо потребу міста в добу максимального водоспоживання і витрати води на власні потреби станції.

вп =Q міста · kв.п.

де: Q міста - водо потреба міста, м3/добу;

kв.п. - коефіцієнт, що враховує витрати води на власні потреби станції.в.п.= 1,03 - 1,1, відповідно до завдання kв.п.= 10% = 1,1

вп = 20000·1,1 = 22000 м3/добу

.2 Характеристика джерела водопостачання

Джерелом водопостачання є річка зі швидкістю течії 0,8 м/с, висотою хвилі 0,4м, стійким льодовим режимом з товщиною криги 0,5м. Горизонти води в річці РВВ = 240,0м і РНВ = 234,0м при амплітуді коливань рівнів 6,0м.

Параметри якості води в річці:

каламутність М =270 мг/дм3

кольоровість Ц = 35 градусів

лужність Що = 2,9 мг-екв/дм3

запах і присмак - 3 бали

3.2 Водозабірний вузол

.2.1 Конструювання основних елементів водозабору

Оскільки береги річки пологі і ґрунти м’які, а коливання рівнів води 6,0м, то приймаємо русловий водозабір роздільного типу.

Водозабір розташовуємо за містом вище за течією. Навколо водозабору передбачене влаштуванням зон санітарної охорони.

Береговий колодязь проектуємо круглим в плані із залізобетону. Вода в береговий колодязь попадає за допомогою самопливних ліній від оголовка що занурений у річку. Береговий колодязь поділений на водоприймальну і всмоктувальну секції, відокремлені сітками.

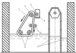
Мал. 3.1 Принципіальна схема руслового водозабору роздільного типу при м’яких ґрунтах

- русло річки;

- затоплений водоприймальний оголовок;

2    - водоприймальні вікна, перекриті сміттезатримувальними решітками;

3    - самопливні водоводи;

-а - сифонні водоводи;

  - береговий сітковий колодязь;

5       - водоочисні сітки;

         - службовий павільон;

         - всмоктувальні лінії насосів;

         - насосна станція І підняття;

10 - трубопровід для подачі води на промивку самопливних водоводів.

Визначаємо продуктивність однієї секції:

c =

де: Qв.в. - продуктивність водоочисного комплексу, м3/добу;

c= = 0,12м/с

Визначаємо площу однієї решітки за формулою:

бр = · K · 1,25

де: 1,25 - коефіцієнт, що враховує забруднення решітки;середня швидкість руху води у водоприймальному вікні, V= 0,2 - 0,6 м/с;

К - коефіцієнт стиснення площі вікна стержнями решітки визначається за формулою:

=

де: a - відстань між стержнями, а = 50 мм;- товщина стержнів, d = 6 - 10 мм.

== 1,16бр =· 1,16 · 1,25 = 0,35 м2

Приймаємо розміри решітки. Втрати напору в гратах решітки приймаємо 0,1.

Розрахунок сіток ведемо за формулами:

с= · K · 1,25

де:V- середня швидкість руху води в отворах сітки, V= 0,2 - 0,4 м/с;

К - коефіцієнт стиснення площі вікна стержнями решітки визначається за формулою:

=

де: а - відстань між дротом сітки в просвіті, а = 2 -10 мм;- діаметр дроту, d= 1 - 2 мм;

= = 1,78с=  · 1,78 · 1,25 = 0,67 м2

Величину плоских сіток приймають залежно від розмірів вікна. Втрати напору в сітці приймаємо 0,1 м.

Розміри решіток:

прохідний отвір вікна 600 х 800

висота Н = 1050

ширина L = 700

маса 33 кг

Розміри плоских сіток:

розмір 1000 х 800

висота Н = 930

ширина L = 1130

маса 53,5 кг

Приймаємо сталеві трубопроводи діаметром d=500мм зі швидкістю V=1,22 м/с, 1000і = 3,79. В межень вся витрата буде пропускатись двома самопливними трубопроводіми зі швидкістю V=6,1 м/с, 1000і = 1,05.

Визначаємо втрати напору при подаванні води одним самопливним водоводом:

 =  + 0,1 +, м

де: 0,1 - втрати напору в решітках, м;

 - втрати напору в самопливних трубопроводах

=  ∙ (/1000) = 3,79 ∙ (80/1000) = 0,3м

 - втрати напору на місцевих опорах, яка визначається за формулою:

 = ∑ = 2,35 ∙= 0,18м

де: ∑ - сума коефіцієнт місцевих опорів, прийм. ∑ = 2,35;

 = 0,3 + 0,1 + 0,18 = 0,58 м

Визначаємо втрати напору при подачі води двома самопливними водоводами:

 =  + 0,1 +, м

де: де: 0,1 - втрати напору в решітках, м;

 - втрати напору в самопливних трубопроводах

=  ∙ (/1000) = 1,05 ∙ (80/1000) = 0,08 м

 - втрати напору на місцевих опорах, яка визначається за формулою:

 = ∑ = 2,35 ∙= 0,045 м

 = 0,08 + 0,1 + 0,045 = 0,23 м

Відмітка рівня води у водоприймальній камері берегового колодязя під час межень:

 = РВВ -  = 240,0 - 0,58 = 239,42м

В повінь:

 = РНВ -  = 234,0 - 0,23 = 233,77м

Відмітка найнижчого рівня води у водоприймальній камері в період відключення одного самопливного водоводу на ремонт або промивання при горизонті низьких вод:

 = РНВ -  = 234,0 - 0,58 = 233,42м.

Відмітка рівня води у всмоктувальній камері в повінь:

 = - 0,1 = 239,42 - 0,1 = 239,32м

в межень при роботі двох самопливних водоводів:

 =- 0,1 = 233,77 - 0,1 = 233,67 м.

Відмітку верху сіток приймаємо на 0,15м нижче найнижчого рівня води у водоприймальній камері:

 =- 0,15 = 233,42 - 0,15 = 233,27м

Низ сіток буде знаходитись на відмітці:

 =-  = 233,27 - 0,93 = 232,34м

Отже відмітка дна берегового колодязя у всмоктувальній камері:

 =- 0,5 = 232,34 - 0,5 = 231,84 м

де: 0,5 - висота порогу перед сітками.

Відмітка дна приямка для збирання осаду:

 =- 0,3 = 231,84 - 0,3 = 231,54м

де: 0,3 - глибина приямка

Відмітка верху самопливних водоводів при вході їх в береговий колодязь:

 =  - 0,5 = 232,34 - 0,5 = 231,84 м

Відмітку підлоги службового павільйону приймаємо на 0,15м вище відмітки поверхні землі біля колодязя:11=ZПЗ-0,15=240,5- 0.15=240,35 м.

Тоді глибина берегового колодязя буде:

=Z11-Z9 = 240,35 - 231,54 =8,81 м.

Мінімальна глибина води в усмоктувальній камері:

min=Z6- Z9 = 233,27-231,54= 1,73 м

Діаметр усмоктуючих трубопроводів визначаємо за орієнтовною швидкістю V=1,5м/с:

= =  = 0,32м

Приймаємо трубопроводи діаметром 300мм.

Усмоктуючі трубопроводи: Напірні трубопроводи:=110 л/с; Q=110л/с;в.у.=1,45м/с; Vв.н.=2,07м/с;

iв.у.= 10,2; 1000iв.н.= 26,5;в.у.=300 мм; D=250мм;в.у.= 0,03м. hв.н.=0,689м.

.2.2 Розрахунок НС-1

Рис. 3.3 Планова розрахункова схема всмоктувальних комунікацій

1 - спільні всмоктувальні лінії,

- всмоктувальний колектор,

- всмоктувальні лінії насосів.

Насоси насосних станцій першого підйому забирають воду з джерела водопостачання і подають її на водоочисну станцію, в РЧВ, а іноді безпосередньо у водопровідну мережу. Для забезпечення оптимального режиму роботи очисних споруд подачу насосної станції 1-го підйому на протязі доби вважають рівномірною, тому середня годинна подача одного насоса визначається за формулою:

= , м3/добу

де n - число робочих насосів (мінімальне - 2);

=  = 458,335 м3/добу

Необхідний напір насосів визначається за формулою:

=  -  + hву + hвс + hНст

де:- максимальна відмітка води очисних споруд (змішувач), м;

- мінімальна відмітка води (найнижча відмітка в береговому

колодязі), м;вс - втрати напору в напірних лініях, м;ву - втрати напору в усмоктуючих лініях, м;Нст- втрати напору в комунікаціях насосної станції, приймаємо

 = 1-2 м;

H = 253 - 233,27+ 0,045 + 0,23 + 1,5 = 21,5 м

Встановлюємо два - робочі і один - резервний насоси марки Дф = 916,67 м3/годф = м= кВт= об/хв

η =%

Др.к.= мм

Δhдоп.= м

.2.3 Захист водозабору від природної криги, туги, рибозахист

Водоприймальні отвори мають бути захищені або самі запобігати потраплянню шуги і риби (особливо молоді) до водозабору. Шуга може повністю закупорити водозабір і вивести його з ладу. Риба, яка потрапляє до водозабору здебільшого гине, через що зменшуються рибні запаси і ускладнюється робота водозабору та інших споруд.

Найбільш поширеним засобом захисту є забезпечення дуже малих швидкостей входу води у отвори, а також утворення отворів фільтрувального типу, в яких вода проходить крізь шар пористого завантаження (щебінь, пінополістирол тощо). Проте в складних умовах захист отворів від шуги та риби забезпечується більш складними заходами.

Для боротьби з шугою треба правильно вибрати місце розташування водозабору, а також тип і конструкцію елементів водозабору (берегові замість руслових, ковшові водозабори, два водозабори по 50% продуктивності, обертальні сітки тощо); спрямляти русло річки на ділянці водозабору; змінювати динамічний стан потоку, будуючи струмененапрямні дамби і споруди; при невеликій кількості шуги використовувати решітки з гідрофобних матеріалів (дерево, ебоніт) або покривати металеві стержні гідрофобізуючими матеріалами (кам'яновугільна смола, гума, нафтобітум тощо); використовувати плавучі відокремлювалні пристрої (заводь, шуговід бійні короби); промивати решітки зворотною течією води або здійснювати їх механічне очищення; обігрівати решітки електрострумом, парою або гарячою водою, яку скидають перед водозабором і яка становить до 20% його витрати.

Рибозахисних заходів вживають на водоймах рибогосподарського призначення. За своєю природою їх поділяють на механічні, гідравлічні, фізіологічні.

Механічні перешкоди на шляху руху риби виконують у вигляді сітчастих затрат, жалюзей, фільтрів з кам'яних накидів, рослинних фільтрів, плетіння, решіток, плоских сіток, сіток із рибовід-водами, сітчастих барабанів тощо. Усі вони мають невеликі отвори, крізь які не може пройти риба, вода ж проходить з невеликою швидкістю. Ці пристрої найнадійніші і найпростіші, але вони можуть завдати шкоди окремим особинам риби.

Гідравлічні пристрої з погляду охорони риби кращі, проте потребують складних інженерних вирішень і постійного контролю збоку експлуатаційного персоналу. До них належать різноманітні струмененапрямні пристрої, за допомогою яких у водотоках створюються гідравлічні умови для спрямованого руху риби в районі водозабору. Найпростіші з них - це заводі, жалюзі, відбійні козирки.

Біологічні рибозагороджувачі відлакують рибу завдяки різноманітним подразникам. Вони являють собою системи, які утворюють у воді електричні, світлові, звукові поля, завіси з повітряних бульбашок тощо.

3.3 Очисні споруди

.3.1 Вибір технологічної схеми очистки води та складу ОС

Метод очистки вибирають за продуктивністю водоочисної станції, показниками вихідної води, а також враховуючи техніко економічні нормативи. Згідно таблиці 15 СНІП 2.04.02-08 в даному курсовому проекті булоприйнято двоступеневу схему очистки води з освітлювачами коридорного типу таз швидкими фільтрами, оскільки QВВ = 22000 м3/добу; каламутністьК= 270МЛ/дм3;кольоровість Ц = 35°. Також в проекті використаний реагентний метод обробки води.


- насосна станція першого підйому;

- реагентний цех;

- змішувач;

- хлораторна;

- освітлювач коридорного типу;

- швидкий фільтр

- резервуар чистої води

- насосна станція другого підйому.

.3.2 Розрахунок реагентного господарства та хлораторної

Для видалення домішок у воду додають різні реагенти, тип яких приймають залежно від якості води. За реагентного методу обробки води для прискорення процесу її прояснення у воду додають коагулянти. Необхідною умовою повноти протікання гідролізу є наявність у воді певного лужного резерву, оскільки при її недостачі гідроліз затримується, а в проясненій воді з'являються невикористані вільні іони алюмінію або заліза. У таких випадках воду необхідно штучно підлужувати. Для інтенсифікації процесу коагуляції застосовують різні флокулянти, до яких належать неорганічні або органічні високомолекулярні сполуки, що сприяють утворенню макромолекул адсорбованого або хімічно зв'язаного полімеру.

В даному курсовому проекті в якості коагулянта використовуємо сірчано - кислий алюміній Al2(SO4)3 · 18H2O. В період цвітіння водойми для інтенсифікації процесу додаємо флокулянт поліакриламід (ПАА).

Дозу коагулянту для високо кольорових вод визначаємо за формулою:

Дк = 4 · , мг/дм3

де Ц - кольоровість вихідної води, град;

Дк = 4 · = 24 мг/дм3

Для обробки висококаламутних вод дозу коагулянту визначаємо за таблицею. В якості розрахункової дози коагулянту приймаємо більше значення.

Доза коагулянта при обробці даної води становить 47 мг/дм3.

Визначаємо дозу підлужуючого реагента за формулою:

Дщ =  · К, мг/дм3

де: Ло - лужність природної води, мг-екв/дм3;

- надлишкова лужність води, що необхідна для нормального протікання процесу коагуляції;

Дк- розрахункова доза коагулянту, мг/дм3;

Ек - еквівалентна маса коагулянту, яка дорівнює для АІ2(504)з - 57,

К - еквівалентна маса лугу, яка дорівнює для вапна (СаО) - 28;

Дщ =  · 28 = - 30,1мг/дм3

Якщо величина Дщ від'ємна, то це означає, що підлужування не потрібне і оброблювана вода має достатній природній запас лужності.

При використанні флокулянтів дозу ПАА приймаємо дозу 1,0 мг/дм3.

Добові витрати коагулянту визначаємо за формулою:

=  == 1,034 т

Тоді місячна потреба коагілянту становитиме:

міс = G ∙ 1,2 ∙ 30 = 37,224 т

Для приготування розчину коагулянту застосовують спеціальні установки, до складу яких входять розчинні і витратні баки. Ємність розчинного бака визначаємо за формулою:

p= , м3

де:bp - концентрація розчину коагулянта до кінця розчинення,bр = 10-17%;- розрахункова витрата води, м3/год;

γ - густина розчину коагулянту, приймаємо γ = 1,1 т/м3;- час, що витрачається на повний цикл приготування розчину коагулянта,= 10-12 год;

p =  = 15,7м3

Приймаємо кількість баків не менше 2-х, при цьому визначаємо об'єм одного баку:

W1=Wp/3, м3

W1= 15,7/3 = 5,25 м3

Підбираємо розміри баків 1,8х1,8х1,7, м.

Ємність витратного баку визначаємо за формулою:

В = , м3

де: b - концентрація робочого розчину коагулянта, b = 4 - 10%;

В = = 31,4 м3

Приймаємо кількість баків не менше 2-х, при цьому визначаємо об'єм одного баку:

B1 = = 7,85м3

Підбираємо розміри баків 2х2х2, м.

Загальний об’єм баків - сховищ складе:

= 1,6(Gм - Пк)

де: Пк - об’єм одноразової поставки коагулянту

= 1,6 (93,06 - 120) = - 43,1

Кількість баків - сховищ приймаємо = 3шт.

Тоді об’єм одного бака становить:

=  =  = 14,4м3

Приймаємо розміри баків: 2,5х2,5х2,3

Знезаражування або дезінфекція води застосовується для знищення в ній хвороботворних та інших мікроорганізмів і вірусів до нормативів придатності її для питних потреб. З метою підтримання споруд водопідготовки в належному санітарному стані, а також для покращення процесу коагуляції застосовують попереднє знезаражування.

Для попередніх розрахунків хлорного господарства необхідну дозу хлору для знезараження води слід приймати: для води, що надходить на водоочисну станцію 3-5 мг/дм3; для фільтрованої води з поверхневих джерел 2-3 мг/дм3. Тривалість контакту хлору з водою - 30 хв. Дозу хлору для попереднього хлорування приймають в межах 3-10 мг/дм3.

Розрахункову годинну витрату хлору визначаємо за формулами:

 =

 =

де: , - відповідно, дози хлору, що додаються при попередньому і

остаточному хлоруванні, мг/дм3;вв - продуктивність водоочисної станції, м3/добу;

= = 3,7 кг/год

= = 1,8 кг/год

Сумарна витрата хлору становитиме:

заг = + заг = 3,7 + 1,83 = 5,5 кг/год

Добова витрата хлору становить:

= 5,5 ∙ 24 = 132 кг/доб

Необхідна кількість балонів ємністю 55л на добу:

Пб = /W ∙ 1.25 = 132/55∙1,25 = 2шт

Кількість витратних балонів у хлораторній:

 =  =  =10шт

де: W - кількість хлору, яку знімають з одного балона 0,5-0,7 кг/год

У витратному складі кількість балонів складе:

 =  =  = 58 шт

Витрати води на роботу хлоратора:

в = qзаг ∙ 0,5 = 5,5 ∙ 0,5 = 2,75 м3/год

де: 0,5- витрата води на 1кг хлору

Введення хлору для знезараження здійснюється безпосередньо в трубопровід перед резервуаром чистої води. В резервуарі забезпечується 30-хвилинний контакт хлору з водою. Для попереднього хлорування приймаємо хлоратор марки ЛК 10С: 1-робочий, 1-резервний.

Для остаточного хлорування приймаємо хлоратор марки ЛК 10С: 2-робочий, 1-резервний:

ХАРАКТЕРИСТИКА

ЛК 10С Для попереднього хлорування

ЛК 10С Для остаточного хлорування

Продуктивність по хлору, кг/год

0,85-5,5

0,85-5,5

Витрата води, м3/год

3-5

3-5

Тиск води перед хлоратором, МПа

0,18-0,5

0,18-0,5

Найбільша концентрація хлорної води, г/дм3

1,5

1,5

Діаметр патрубка відведення хлорної води, мм

38

38

Діаметр трубопроводу підведення води, мм

25

25

12,5

12,5

Габаритні розміри, мм:

висота

530

530

довжина

230

230

ширина

60

60


.3.3 Вихровий (вертикальний) змішувач

Вихровий (вертикальний) змішувач - це круглий або квадратний у плані резервуар з конічною чи пірамідальною нижньою частиною. Центральний кут міжнахиленими стінками а = 30 - 40°. Вода у змішувачі перемішується завдяки створенню вихрового руху внаслідок зміни швидкості висхідного потоку води від 1-1,5 м/с при вході у змішувач до 25 мм/с на рівні водозбірних пристроїв.

Площа поперечного перерізу циліндричної часини змішувача:

ц=

де: v- швидкість потоку в циліндричній частині змішувача, приймаємо

v= 30 - 40 мм/с;- продуктивність водоочисної станції, м3/год;

ц= = 10,2 м2

Діаметр змішувача становитиме:

=== 3,6 м

Діаметр вхідного отвору змішувача приймаємо рівним діаметру підвідного трубопроводу. При витраті q = 254л/с і v= 1,49м/с, 1000і = 6,4 діаметр d=450 мм підвідного трубопроводу

Висота конічної частини змішувача при куті конусності 40° буде дорівнювати:

к = к =  =4,63м

Об'єм конічної частини змішувача становитиме:

к =  · π · hк · , м3к =  · 3,14· 4,63 · = 17,88м3

Тоді повний об'єм змішувача складе:

=

де: t - тривалість перебування води в змішувачі, приймаємо t = 2 хв.

= = 30,56м3

Необхідний об'єм циліндричної частини:

ц = W - Wк, м3ц = 30,56 - 17,88 = 12,68м3

При площі циліндричної частини змішувача fц, м2, необхідна його висота складе:

ц = ц =  = 1,24 м

Загальна висота змішувача буде:

заг = hк + hц, м.заг = 4,63 +1,24 = 5,87м

Збір води здійснюється у верхній частині змішувача трьома дірчастими трубами.

тр = 85л/с q = 254

d = 400ммd = 600 мм= 0,63м/с V= 0,85м/с

і = 1,48 1000і = 1,53

.3.4 Освітлювачі із шаром завислого осаду

Освітлювачі із завислим осадом застосовують для видалення з води колоїдних та завислих домішок після обробки води коагулянтами і флокулянтами. В основу роботи освітлювачів покладено принцип контактної коагуляції у шарі завислого осаду, що формується з гідроксидів алюмінію або заліза. Цей шар виконує роль фільтра, сприяє кращому проясненню та знебарвленню води внаслідок більш повного використання адсорбційної ємкості пластівців.

Освітлювачі проектуються круглої в плані форми. При надходженні води з добавленими реагентами в споруду передбачаються пристрої для видалення повітря і газів. Вода рівномірно розподіляється по всьому перерізу освітлювача за допомогою дірчастих труб, а освітлена вода збирається за допомогою жолобів, розташованих біля верхніх країв освітлювачів. Осад, який поступово накопичується у завислому шарі освітлювача, відбирається у спеціальні ємкості - осадоущільнювачі.

Задаємося кількістю освітлювачів N (прийм. N = 6). Тоді продуктивність кожного з них складе:

осв = , м3/год

де qгод - продуктивність водоочисної станції, м3/год.

осв =  = 229,17 м3/год

Кількість завислих речовин у воді, яка надходить в освітлювачі.

С = К + Кф · Дк + 0,25 · Ц + В1,мг/дм3

де К - каламутність води, мг/дм3;

Кф - коефіцієнт, що враховує кількість нерозчинених речовин,

що вносяться коагулянтом, для очищеного Кф= 0,55, для неочищеногоКф = 1,3;

Дк - доза коагулянту, мг/дм3;

Ц - кольоровість води, град.;

В1 - кількість нерозчинених домішок, що вносяться з вапном,

В1 = (0,4….1) ∙ Дк, мг/дм3;

т - концентрація завислих речовин в освітленій воді, приймається в межах 8 - 12 мг/дм3;

Т - період роботи між скидуваннями осаду, приймаємо10 діб;

С = 270 + 0,55  47 + 0,25  35 = 304,6мг/дм3

Площа зони освітлення:

осв = , м2

де: К - коефіцієнт розподілу води між освітлювачем і осадоущільнювачем;осв - швидкість висхідного потоку води над шаром завислого осаду

в зоні освітлення, м/с;

осв = = 62,82м2

Тоді площа зони відокремлення осаду:

від = , м2

де: α - коефіцієнт зниження швидкості вихідного потоку води в ній у порівнянні зі швидкістю потоку води в зоні освітлення,α = 0,9.

від =  = 23,29м2

Загальна площа освітлювача:

= Fосв + Fвід, м2

F = 62,82 + 23,29 = 86,11м2

При довжині освітлювача В = 4,5м, ширина секції зони освітлення дорівнє bкор = 4,65,м а ширина вертикального осадо ущільнювач bo.y = 3,45,м. Приймаємо на початку діаметр телескопічного колектора для підводу води в кожен коридор освітлювача d1, мм і з другої половини d2, мм, при витраті qосв/2, л/с і орієнтовній швидкості vт = 0,5 - 0,6 м/с, визначаємо також обидва значення 1000і.= 31,83л/с1 = 250мм2 = 200 мм1 = 0,6м/с2 = 0,93м/с

i1 = 2,491000i2 = 7,39

Площа отворів при швидкості руху води в них 1,5 - 2 м/с дорівнює:

отв = , м2

де: qосв - продуктивність водоочисної станції, м3/с.

отв =  = 0,00775 м2

При діаметрі отворів 15 - 25 мм кількість дорівнюватиме:

= , шт.

n =  = 25,шт.

Отвори розташовуємо в два ряди, тоді при довжині освітлювача В, відстань між ними (крок) дорівнюватиме:,мм.

 = 0,36 мм

Збір освітленої води з кожного коридору здійснюється двома жолобами прямокутного перерізу.

Витрата води на кожен жолоб:

ж = , м3/годж = = 28,26 м3/год

Їхні габарити визначаються зі співвідношень:

= 0,45 · поч =1,5 · xкін = 2,5 · х

де: х - половина ширини жолоба,м;почі hкін - висота жолоба на початку і в кінці,м.

х = 0,45 · 0,007850,4 = 6,5см= 1,5 · 6,5 + 5 = 14,75смкін = 2,5 ·6,5 + 5 = 21,25 см

Сумарна площа отворів на кожному жолобі визначається за швидкістю руху води через отвори. Приймаємо швидкість руху води в отворах рівною vж= 1 м/с, тоді:

отв.ж.= , м2

де: qж - витрата води на один жолоб, м3/с;

отв.ж.=  = 0,00785м2

При діаметрі отворів 20 - 30 мм кількість їх дорівнює:

отв =

де: qж - витрата води на один жолоб, м3/с;

отв = = 16

Крок отворів при довжині жолоба В дорівнює:

В/ nотв =  = 0,28 м.

Для відведення води з осадоущільнювача встановлюємо дві перфоровані труби. Витрата води через кожну з них складе:

відв = відв = = 19,86 л/с

За витратою qвідв підбираємо діаметр труб так, щоб швидкість на виході з них не перевищувала 0,5 м/с.= 125= 0,4 м/с

і=288

Площа отворів в кожній збірній дірчастій трубі при швидкості води в них 1,5 м/с повинна дорівнювати:

отв = = 0,0066, м2;

при d = 10

20 мм їх число становитиме:

= , шт.= = 21 шт

Крок отворів дорівнює:

е = В/n, м.

е =  = 0,21м

Висоту освітлювача визначаємо з виразу:

осв = осв =  = 8,55м

де: α - центральний кут, утворений прямими, проведеними від осі

водорозподільчого колектора до верхніх точок кромок водозбірних жолобів, прийм. α ≤ 30°;

Висота пірамідальної частини освітлювача складе:

пір =

де: а - розмір дна освітлювача під колектором, а = 0,5;

α1 - кут нахилу стінок коридору, прийм. α1 = 60 - 70°.

пір =  = 3,32 м

При товщині захисного шару 1,5м і висоті осадовідвідних вікон 0,2м розмір вертикальних стінок освітлювача в межах завислого шару буде дорівнювати:

верт = hосв - 0,2 - 1,5 м,верт = 8,55 - 0,2 - 1,5 = 6,85 м,

а загальна висота зони завислого осаду:

в.о. = hвент + в.о.= 6,85 + = 8,51 м

Робочий об’єм осадоущільнювача до відмітки рівня завислого шару дорівнює:

= B ·

W = 4,5 · = 132,12 м3

Кількість завислих речовин, які надходять в осадоущільнювач, складе:

ос = , кг/годос = 0,3046· 152,78 = 46,54 кг/год

Час накопичення осаду при цьому складе:

= > 4 - 6 год,=  = 56,78 год

де: δср - середня концентрація осаду, при тривалості ущільнення 4-6 год і при відповідному значенні С, кг/м3

При швидкості руху води в осадовідвідних вікнах

вік = 10-15 мм/с = 36-54 м/с переріз їх складе:о.в. = о.в. = = 0,14м2

Приймаючи висоту вікна 0,2м визначаємо їхню загальну довжину:

= , м.= = 0,7м

Проектуємо з кожної сторони осадоущільнювача по горизонталі 4 вікна довжиною: l/4 = 0,35 м.

Для видалення осаду з осадоущільнювача передбачені дирчаті труби, які укладаються по повздовжній осі дна в місцях сходження нахилених стінок осадоущільнювача. Якщо прийняти час спорожнення осадоущільнювача t = 15 - 20хв (1/4 - 1/6 год), то кожна труба повинна забезпечити витрату:

тр = тр = = 400м3/год = 111,1л/с

Відповідно до норм, в трубах, які відводять осад, потрібно створювати швидкість не менше 1 м/с, а діаметр труб приймати не менше 150 мм. Приймаючи діаметр труби при витраті qтр, л/с, швидкість в кінці труби повиинна бути vтр ≥ 1 м/с.= 400мм= 0,83м/с

і = 2,46

Сумарна площа отворів при швидкості руху осаду через них vотв ≤ 3 м/с складе:

Σfо.в. = · 10000

Σfо.в. =  · 10000 = 444см2

При мінімально допустимому діаметрі отворів 20 мм площа кожного з них складе fо = 3,14 см2, тоді кількість отворів: nо = ∑ fо.в./fо= 141,4 = 142шт. крок між ними складе В/nо= 3см

Втрата води при спорожненні осадоущільнювача визначається за формулою:

Рос = · 100%

Рос = · 100%= 1,473

де: m - вміст завислих речовин у воді після освітлювача, m = 8 - 12 мг/дм3;

Втрати напору в отворах розподільчих трубопроводів визначаються за формулою:

1 = ξ ·

де: ξ - коефіцієнт місцевого опору, для отворів прийм. ξ = 2,0;

1 = 2 · = 0,41м

Втрати напору по довжині в телескопічних трубах, які підводять воду в освітлювач, визначаємо: на ділянці колектора d1 і довжині l = В/2 =2,25 м втрати hl = 1000і1 ∙ l = 1,76 ∙0,00225 = 0,004, м; на ділянці d2:

2 = 1000і2 ∙ l = 4,29 + +0,00225 = 0,0097м.2 = 0,004+0,0097=0,0137м

Втрати напору в завислому шарі, виходячи із втрат 1см на 1м завислого шару осаду, складуть:

3 = 1 ∙ hв.о. м.3 = 0,00225 · 8,51 = 0,019м

Втрати напору в отворах водозбірних лотків:4 = 2 · 4 = 2 ·  = 0,41м

А втрати напору по довжині у водозбірних лотках по довжині орієнтовно можна прийняти h5 = 0,06м.

Сумарні втрати напору в освітлювача складуть:

∑h = hl + h2 + h3 + h4, м.

∑h = 0,41 + 0,00137 + 0,019 + 0,41+ 0,06 = 0,9м

.3.5 Розрахунок швидких фільтрів

Швидкі фільтри влаштовують при реагентній обробці води для повного прояснення та знебарвлення води, яка надходить із відстійників або прояснювачів із завислим осадом. Вода, що надходить на швидкі фільтри, не повинна містити завислих речовин більше 12-25 мг/дм3, а після фільтрування - не більше 1,5 мг/дм3.Цей процес здійснюється шляхом пропускання води крізь шар дрібнозернистого фільтруючого матеріалу певної висоти. Швидкий фільтр являє собою прямокутній в плані залізобетонний резервуар, завантажений фільтруючим шаром зернистого матеріалу з підтримуючими шарами гравію, під якими розміщена дренажна система для збору фільтрованої води і рівномірного розподілу промивної води. У верхній його частині закріплені жолоби для збору брудної промивної води, по ним же підводиться освітлювана вода з відстійників. Вздовж фільтра розміщується арматура управління.

Визначаємо загальну площу фільтрів:

=

де QВВ - продуктивність водопровідної станції, м3/добу;

Т - час роботи очисних споруд на протязі доби, Т = 24 год;рн - розрахункова швидкість фільтрації, м/с.- число промивок кожного фільтра, прийм. 2;- інтенсивність промивки, прийм. л/с ∙ м21 - тривалість промивки фільтра, год,2 - час простою фільтра у зв’язку із промивкою, прийм. для

однопоточних фільтрів - 0,33 год;

= = 98,96 м2

Число фільтрів орієнтовно визначаємо за формулою:

=  · =  ·  = 5 шт

Виходячи з прийнятого числа фільтрів, площа кожного з них складе:

= ,м².

f =  = 19,6 м².

Приймаємо розміри фільтруючої поверхні ab, м. 4x 5

Розмір фракцій фільтруючого матеріалу і висоту шару завантаження приймаємо 1,4м

Швидкість фільтрації при форсованому режимі визначається за формулою:

рф =  · Vрн

де N1 - кількість фільтрів, що перебувають в ремонті, при N ≤ 20 - 1 фільтр, при N>20 - 2 фільтра;

рф =  · 6 =12,5 м/год

Швидкість фільтрації при форсованому режимі відповідає вимогам, то кількість фільтрів вибрана вірно.

Для розрахунку розподільчої системи визначаємо кількість води, необхідну для промивки одного фільтра:

= f · w, л/с=19,6 · 15 = 294 л/с

Діаметр центрального колектора D1, мм, визначаємо за швидкістю руху промивної води Vк = 0,8-1,2 м/с.1 = 600= 0,99м/с

і = 2,04

Якщо прийняти відстань між осями відгалужень дренажу від колектора l = 0,25 м, то площа фільтра, що припадає на кожне відгалуження розподільчої системи, при прийнятому зовнішньому діаметрі колектора визначається з виразу:

відг =  · l,м2

fвідг =  · 0,25 = 0,55 м2

Витрата води на одне відгалуження буде складати:

відг = fвідг · w, л/с.відг = 0,55· 15 = 8,25 л/с.

За витратою qвідг і орієнтовною швидкістю руху води біля входу у відгалуження Vвідг = 1,6-2,0 м/с, визначаємо діаметр труб відгалужень.= 60мм= 2,16м/с

і = 157,9

Сумарна площа отворів в трубах відгалужень фільтра:

отв = f · l / 100, м².

fотв = 19,6· 0,25 / 100 = 0,049 м².

При діаметрі отворів 10-12 мм, кількість отворів в дренажі одного фільтра буде дорівнювати:

отв∙4/3,14∙dотв = 9 шт.

Число відгалужень у фільтрі можна визначити з виразу: 2 ∙ (a /l) = 40.

При довжині відгалужень (b - d) / 2 = (5-0,7)/2 = 2,15м, м ≤ 150-200мм можна визначити крок отворів. Отвори розташовують в два ряди в шаховому порядку під кутом 45° до вертикальної осі труби.

При розрахунку жолобів для збору і відводу промивної води приймаємо відстань між їх осями не більше lж = 2,2 м. Кількість жолобів при цьому дорівнює: b / lж = 5/2,2 =2,27

Знаходимо відстань від кромок жолобів до рівня фільтруючого завантаження:

ж = + 0,25, м

де Н - висота фільтруючого шару,м;- відносне його розширення при промивці, прийм. 45;

ж = + 0,25 = 0,313 м

Визначаємо витрату води через один жолоб при промивці за формулою:

ж = , л/с

де w - максимальна інтенсивність промивки, л/с ∙ м2;ж - відстань між осями жолобів (не більше 2,2 м);

а - довжина жолоба, м;

ж =  = 0,15 м3

Ширину жолоба визначаємо за формулою:

В = К · , м

де К - коефіцієнт для п’ятикутного перерізу приймаємо 2,1.

α - відношення висоти прямокутної частини жолоба до половини його ширини, приймаємо 1 - 1,5;

В = 2,1 · = 0,54м

Висота прямокутної частини жолоба визначається за формулою:

hпр = 0,75 · B, мпр = 0,75 · 0,54 = 0,4 м

Корисна висота жолоба складе:

= 1,25 · B, м.= 1,25 · 0,54 = 0,675 м.

З урахуванням товщини стінки, висота жолоба:

к = h + 0,05, м.к = 0,675 + 0,05 = 0,725 м.

Тривалість роботи фільтра між промивками складе, год:

Троб = Т/2 - (t1 + t2 + t3),год

де t3 - тривалість скиду першого фільтрата в сток, прийм. 0,17 год.

Троб = 24/2 - (0,1 + 0,33 + 0,17) = 11,4 год

Визначаємо витрату води на промивку фільтра:

Рф = ·100%

де w - витрата води на одну промивку, м3/год;- розрахункова витрата води, м3/год;

Рф = = 7,09%

Втрати напору при промивці фільтра визначаємо в такій послідовності:

1)   в дренажній системі великого опору:

д=  ·

де Vk - швидкість на початку колектора, м/с;відг - швидкість на початку бокового відгалуження, приймаємо 1,6 - 2,0 м;w - відношення суми площ отворів дренажної системи до площі поперечного перерізу колектора;

w= fотв/π · (D1/2)2 = 0,2д=  · = 4,48м

2)   в підтримуючих шарах гравію:

пш = 0,022 · Ншг · w, м

де Нш.г. - висота шару гравію, м;- розрахункова інтенсивність промивки, л/с ∙ м2;

пш = 0,022 · 0,5 ·15 = 0,165 м

3)   у фільтруючому шарі:

ф =  · Hф

де: a і b - пераметри, відповідно рівні 0,76 і 0,017, для кварцевого піску

з розміром зерен 0,5 - 1,2 мм; 0,85 і 0,004 - для зерен 1 - 2 мм;

ф =  · 1,4 = 1,421м

4)   в трубопроводі, що підводить промивну воду до загального колектора розподільчої системи, придовжині трубопровода 50 м і відповідному діаметрі:

тр = l· 1000i, мтр = 50/1000 · 3,27 = 0,1635 м

) на місцеві опори в фасонних частинах і засувках:

Σм.о. = Σк ·

де ∑К - сума опорів,

∑К = К1 + К2 + К3;

К1 = 0,28 (для однієї засувки, встановленої на трубопроводі);

К2 = 0,992 (для 3-ох відводів, встановлених під кутом 90°);

К3 = 0,93 (для трійника);

∑К = 0,28 + 0,992 + 0,93 = 2,202м.о. =2,202 ·  = 0,106

Після цього підраховуємо суму втрат напору при промивці фільтра.

∑h = h1 + h2 + h3 + h4 +h5, м

∑h = 4,48 + 0,165 + 1,421 + 0,1635+0,106 = 6,34м

Необхідний напір промивного насоса:

Н = h2 + ∑ h + hз.н., м

при hз.н. = 1,5 м - запас напора;

Н = 0,165 + 6,34+ 1,5 = 8,005м

Продуктивність промивних насосів визначається за формулою:

нас = 3,6 ∙ F· w, м3/годнас = 3,6 · 98,96 · 0,015 = 5,34м3/год

3.3.6 Розрахунок та побудова висотної схеми очисних споруд

При проектуванні станцій освітлення і знебарвлення води з метою зменшення будівельної вартості необхідно технологічні споруди максимально прилаштувати до рельєфу місцевості. Для цього складають висотну схему споруд. Вона має вигляд повздовжнього профілю, на якому вказується висота споруд за ходом руху води на ділянці станції і встановлюється залежність між абсолютними відмітками рівнів води у технологічних спорудах.

Висотну схему починають складати з найнижчої споруди - резервуара чистої води. При визначенні відміток рівнів води на всіх спорудах водоочисної станції за початкову приймають відмітку поверхні землі площадки водоочисної станції Z1 біля РЧВ. Відмітку найвищого рівня води в РЧВ Z2 приймають за економічними і санітарними міркуваннями на 0,5 м вище відмітки Z1. Потім, враховуючи втрати напору в трубопроводах і спорудах, визначають відмітки рівнів води у всіх спорудах водоочисної станції. Орієнтовно ці втрати напору можна приймати за табл. 5.15. Для зменшення будівельної вартості водоочисної станції її окремі технологічні споруди необхідно розташовувати з урахуванням можливості самопливного відведення стічних вод і осадів із всіх споруд.

.4 Напірно-регулюючі ємності

.4.1 Розрахунок резервуарів чистої води

Для забезпечення надійності водопостачання в одному вузлі повинно бути не менше двох резервуарів одного призначення. При відключенні одного резервуару в іншому повинно зберігатись не менше 50% пожежного і аварійного запасів води.

Таблиця

Визначення залишків води в РЧВ

Години доби

Подача Н.ст І,%

Подача Н.ст ІІ,%

Надходження в РЧВ

Витрати з РЧВ

Залишок води в РЧВ

0-1

4,16

2,0

2,16

-

6,84

1-2

4,16

2,0

2,16

-

9,00

2-3

4,16

2,0

2,16

-

11,16

3-4

4,16

2,0

2,16

-

13,32

4-5

4,16

4,0

0,16

-

13,48

5-6

4,16

4,0

0,16

-

13,64

6-7

4,16

4,0

0,16

-

13,80

7-8

4,16

4,0

0,16

-

13,96

8-9

4,17

6,0

-

1,83

12,13

9-10

4,17

6,0

-

1,83

10,30

10-11

4,17

6,0

-

1,83

8,47

11-12

4,17

6,0

-

1,83

6,64

12-13

4,17

-

0,83

5,81

13-14

4,17

5,0

-

0,83

4,98

14-15

4,17

5,0

-

0,83

4,15

15-16

4,17

5,0

-

0,83

3,32

16-17

4,17

5,0

-

0,83

2,49

17-18

4,17

5,0

-

0,83

1,66

18-19

4,17

5,0

-

0,83

0,83

19-20

4,17

5,0

-

0,83

0

20-21

4,17

4,0

0,17

-

0,17

21-22

4,17

4,0

0,17

-

0,34

22-23

4,17

2,0

2,17

-

2,51

23-24

4,17

2,0

2,17

-

4,68


Об’єм РЧВ визначається за формулою:

РЧВ = Wрег + Wпож + Wав + Wвп, м3

де:Wрег - регулюючий об’єм, м3;пож - протипожежний запас, м3;ав - аварійний запас, м3;вп - об’єм води на власні потреби очисних споруд на період пожежі, м3;

Регулюючий об’єм визначаємо за формулою:

рег = , м3

де а - максимальний залишок води в РЧВ,%;

рег = = 3071,2 м3

Протипожежний запас води визначаємо з розрахунку на 10-хвилинну тривалість гасіння однієї зовнішньої і однієї внутрішньої пожеж при одночасних найбільших витратах на інші потреби міста:

пож = 3

де: qзовн.п. - витати на гасіння зовнішньої пожежі, приймається в залежності від чисельності населення і поверховості забудови, л/с; для розрахунку прийм. qзовн.п.=35 л/с за умови одночасного виникнення 2-х пожеж;вн.п. - витрати води на гасіння внутрішньої пожежі, прийм. 2,5л/с на одну пожежу (кількість пожеж залежить від кількості жителів і поверховості забудови), л/с;- час поповнення запасів води в резервуарі на час гасіння пожеж, для систем водопостачання І і ІІ категорії надійності приймають t = 3 год;

пож =  = 810м3

Аварійний запас РЧВ можна обчислити за формулою:

ав = 3

де: a, b, c - об’єм води, що споживається за три суміжні години найбільшого водоспоживання,%;

ав =  = 420 м3

Витрати води на власні потреби водоочисної станції визначають за формулою:

вп = Qдоб.мах · α,м3

де: мα - коефіцієнт витрат води на власні потреби, частка від Qдоб.maх; α=0,1....0,15;

вп = 22000 · 0,1 = 2200м3РЧВ = 3071,2 + 810+ 420+ 2200 = 6501,2 м3

Приймаємо два резервуара чистої води, при цьому об’єм кожного становитиме:

1РЧВ = 31РЧВ =  = 3250,6м3

Відповідно до визначеного об’єму визначаємо корисний та номінальний об’єми РЧВ та їх основні розміри 36х24х4,84м

.4.2 Розрахунок насосної станції другого підйому

Середня годинна подача одного насоса визначається за формулою:

= , м3/добу

де n - число робочих насосів (мінімальне - 2);

=  = 187,9 м3/добу

Необхідний напір насосів визначається за формулою:

=  -  + hву + hвс + hНст

де:- максимальна відмітка води очисних споруд (змішувач), м;

- мінімальна відмітка води (найнижча відмітка в береговому

колодязі), м;вс - втрати напору в напірних лініях, м;ву - втрати напору в усмоктуючих лініях, м;Нст- втрати напору в комунікаціях насосної станції, приймаємо

 = 1-2 м;

= 281 - 246 + 0,23 + 1,5 = 36,73 м

Встановлюємо два - робочі і один - резервний насоси марки Дф = 833,34 м3/годф = м= кВт= об/хв

η =%

Др.к.= мм

Δhдоп.= м

водопостачання очисний насосний водозабір

4.   Експлуатаційна частина

4.1   Опис технологічного процесу

Вода, що надходить вода по стальним трубопроводам надходить у змішувач. Для інтенсифікації процесів осідання завислих, колоїдних і високомолекулярних речовин, що знаходяться в поступаючій воді, яка обробляється, використовується коагулянт - сірчанокислий алюміній. Розчин реагенту, що пройшов дозатор, вводиться в трубу яка подає воду перед змішувачем або в головну частину змішувача.

Очистка води від хімічних, бактеріологічних і гідрологічних забруднювачів і для підтримання на спорудах необхідного санітарного стану проводиться хлорування води.

Змішування води з реагентами досягається виникненням турбулентного руху за рахунок спеціальної конструкції змішувача. Час змішування біля 2хв. Дозу реагентів визначають в залежності від якості поступаючої води на очистку на основі пробних лабораторних досліджень по кожному окремо.

Змішана з реагентами вода із змішувача по сталевих трубопроводах подається в освітлювач коридорного типу знизу і рівномірно розподіляється по площі робочого коридору. Далі вода рухається з низу в верх проходячи через шар завислого осаду, що складається з маси зважених пластівців, які безперервно рухаються, але весь шар в цілому не рухається, він знаходиться в стані динамічної рівноваги. Вода, що проходить через шар зваженого осаду, освітлюється в результаті контактної коагуляції. Об’єм шару повинен безперервно збільшуватися та цього не виникає, так як залишковий осад із зваженого шару видаляється в мулоущільнювач, де він ущільнюється і скидається у водостік. Освітлена вода, що пройшла через шар зваженого осаду, збирається за допомогою збірних жолобів або труб відводиться на швидкий фільтр, де вона звільнюється від зважених речовин, як природного виникнення, так і тих, які утворюються при її реагент ній очистці. Фільтрування проходить з верху, вниз. В процесі фільтрування зважені речовини осідають на поверхні фільтра і в його порах. Вода, що профільтрувалась збирається дренажною системою фільтрів і через гідросель по стальним трубопроводам поступає в РЧВ.

З резервуарів чистої води, за допомогою насосної станції другого підйому, вода подається в місто до споживачів.

4.2 Експлуатації очисних споруд

Реагенти зберігають так, щоб виключити шкідливий вплив їх на обслуговуючий персонал: хлорне вапно у закупорених дерев'яних бочках в сухому затемненому приміщенні; активні вугілля в пакетах чи в герметично закритих барабанах. Приміщення для зберігання та сухого дозування активного вугілля віднесені до класу В-2 по пожежо- і вибухонебезпечності, тому електричне обладнання застосовують у вибухозахищеному виконанні. У цих приміщеннях забороняється палити і користуватися відкритим вогнем.

Кислоти зберігають у щільно закритих скляних обплетених бутлях в окремих провітрюваних приміщеннях. Бутлі постачають бирками з найменуванням кислоти і встановлюють в один ряд. Аналогічним чином зберігають порожні бутлі з під кислот.

Роботи в бункерах, де зберігаються пилоподібні матеріали, проводить бригада, що складається не менше ніж з трьох осіб, з яких один спускається в бункер, надівши респіратор і рятувальний пояс з лямками, а двоє страхують його.

У реагентному цеху очисних споруд повинні бути респіратори й Захисні окуляри (індивідуальні для кожного оператора), аптечка першої долікарської допомоги, гліцерин і запас вати, шафа для зберігання індивідуальних засобів захисту, бутлі з розчином питної соди і з дистильованою водою, мило і рушник, протигази.

Для профілактичного огляду та ремонту сітчастих фільтрів необхідний безпечний доступ до промивним пристроям і сітчастим елементам. Камери барабанних сітчастих фільтрів огороджують та обладнують ходовими містками з перилами висотою 1 м і суцільним зашиттям знизу на висоту 0,1 м. Обертові частини приводного механізму закривають захисними кожухами. Приміщення, в яких розміщені сітчасті фільтри, характеризуються значною вогкістю, наявністю води і відповідно до класифікації, наведеної в ПУЕ, відносяться до приміщень з підвищеною небезпекою ураження електричним струмом.

Перед ремонтом, очищенням і промиванням ємнісні споруди (змішувачі, камери утворення пластівців, відстійники, освітлювачі зі зваженим шаром осаду, фільтри, резервуари чистої води, флотаційні камери, ванни знесолення) звільняють від води і ретельно провітрюють. Вживають заходів, що виключають наповнення ємкостей водою: перевіряють герметичність закритих засувок, знеструмлюють електрообладнання, вивішують на пускових пристроях, маховиках засувок і в небезпечних місцях попереджувальні знаки.

Роботи в ємнісних спорудах виконує бригада, що складається не менше ніж з трьох осіб. Робітники забезпечуються рятувальними поясами, мотузками, відповідної одягом, взуттям, протигазами (при необхідності), а також газоаналізаторами або лампами ЛБВК.

При роботі в ємнісних спорудах необхідний приплив свіжого повітря, для чого відкривають люки і лази, а при необхідності організують примусову подачу повітря.

При перевірці стану гравійних шарів щупом під час промивки фільтрувальних споруд (фільтрів, контактних освітлювачів) дотримуються особливу обережність і користуються тимчасовими перехідними містками з перилами висотою не менше 1 м. Цю роботу виконують два оператора, забезпечені рятувальними поясами з мотузками. Усувати виявлені дефекти при роботі механізмів і споруд, а також підтягувати болтові з'єднання на трубопроводах і агрегатах, що знаходяться під тиском, категорично забороняється.

Персонал, обслуговуючий видаткові склади хлору і утворення пластівців, навчають правилам експлуатації споруд, а також інструктують на випадок аварійної ситуації. Для цього проводять тренувальні заняття з імітацією аварій та рятувальних робіт.

Перед входом в хлордозаторну або на склад хлору черговий персонал повинен переконатися у справній роботі вентиляції та відсутності газу в приміщеннях. Загазованість приміщень визначають газоаналізаторами ФО-5, ФКГ-3 або УГ-2, а при їх відсутності індикаторами йодокрохмальними стрічками або нашатирним спиртом. При наявності в повітрі хлору нашатирний спирт димить, а йодокрохмальні стрічки забарвлюються в синій колір.

Входити в приміщення можна лише за наявності у кожного чергового протигаза, гумових чобіт і рукавичок. При вмісті в повітрі більше 1% хлору його запах відчувається через фільтр протигаза. У цьому випадку його необхідно замінити на шланговий або киснево-ізолюючий протигаз.

Балони і бочки з хлором транспортують зі складів я хлораторну на спеціальних ношах чи візках з підкладками під тару.

При виявленні витоку хлору з балонів або бочок місце витоку поливають водою або на нього накладають мокру дрантя, ганчірки та ін; в результаті на дефектному ділянці утворюється полій, яка зменшує або на час повністю припиняє витік газу. Невеликі витоку ліквідують поста спритною стяжних хомутів на паронітових прокладках або зачеканення тріщин свинцем. Хлор витрачають в першу чергу з відремонтованої тари; дефектні балони або бочки ізолюють від справних, помістивши в окреме приміщення і повертають на завод-виготовлювач (з дефектною відомістю)

При безперервній витоку хлору балон укладають в аварійний футляр або занурюють у дегазаційної ванну з 10% розчином гіпосульфіту натрію або вапна. З аварійної бочки хлор переливають в запасну або занурюють бочку в дегазаційну яму глибиною не менше 1,5 м з дегазуючих розчинів

Витоку усувають в протигазах і при включеній вентиляції. Для оповіщення оточуючих про аварії у хлораторних і складах встановлюють звукові сигнали.

Особливо небезпечні для обслуговуючого персоналу вибухи балонного і бочок, які можуть відбутися при перегріві тари з хлором або при сильному ударі. Тому обслуговуючий персонал не повинен допускати падіння балонів і бочок, ударів по ним, нагрівання на сонці або від нагрівальних приладів використання паяльних ламп або факелів для відігрівання замерзлих хлоропровідних труб, куріння в приміщеннях.

4.3   Норми технологічного режиму

Швидкість руху води в одоприймальних отворах 0,3 - 0,1 м/с

Швидкість руху води в одоприймальних отворах під час шуго-крижаних умов 0,05м/с

Швидкість руху води в водоводах 0,7-1,5м/с

Швидкість руху води в ковші 0,15-0,05м/с

Швидкість руху води при подачі 2-3 м/с

Швидкість руху води в самопливних трубопроводах під час промивки 1 - 1,2 м/с

4.4   Експлуатація руслового водозабору

Технічна експлуатація водозабірних споруд полягає в спостереженнях за джерелом, нагляді за водозабором і гідротехнічними спорудами. В свою чергу спостереження за джерелом передбачає дотримання санітарно-технічних вимог і спостереження за режимом водойми.

Спостереження за режимом водойми полягають в нагляді за рівнем води, зміною русла, рухом наносів, замуленням, льдоставом, шуго-льодовими явищами, льодоходами, якістю води.

Проби води на якість беруть систематично за місячним або річним планом-графіком. Повні хімічні і бактеріологічні аналізи роблять чотири рази на рік: у літню і зимову межень, під час весняної та осінньої повеней при максимальних горизонтах води в джерелі.

Короткі фізико-хімічні показники (температура, каламутність, рН, смак і запах, лужність, кольоровість, загальна і карбонатна жорсткість, наявність сульфатів, хлоридів, азотів, аміаку, нітратів і нітритів) та бактеріологічні (колі-титр, кількість бактерій) проводять щомісяця за погодженням із санепідемстанцією.

При виявленні порушень необхідно з'ясувати причини і вжити заходи по їх усуненню.

Основні заходи при експлуатації водозабору:

§ очищення і ремонт решіток (двічі на рік);

§   очищення від осаду самопливних або сифонних ліній (один-два рази на рік);

§   очищення від забруднення сіток (по мірі забруднення) і сітчастих колодязів (двічі на рік);

§   очищення ковшів від наносів (проводять в міру скупчення в ньому осаду);

§   обстеження і ремонт арматури і устаткування (не менш чим двічі на рік);

§   захист споруди від навалів льоду і дії хвиль (при наявності цих явищ і перед ними);

§   боротьба з біологічним обростанням окремих елементів споруди (не рідше чим один раз на рік);

§ боротьба з донним льодом та шугою (в міру потреби при наявності цих явищ перед ними).

При нагляді за гідротехнічними спорудами треба виконувати:

§ контроль за станом і роботою споруд;

§   повсякденний нагляд за спорудами (очищення їх від сміття, льоду, снігу, ґрунту, який обсипається, утеплення при необхідності споруд, обігрівання металевих конструкцій, обколювання льоду біля споруд, відведення дощової, талої і фільтраційної води, озеленення укосів, пофарбування, смоління, змазування металевих і дерев'яних частин тощо);

§   поточний і капітальний ремонт.

Крім того ведеться оперативна експлуатація гідротехнічних споруд, яка полягає в підведенні води до водозабірних споруд і скиданні її надлишку через водоскидні споруди в нижній б'єф (регулювання рівня), видаленні разом з водою льоду, шуги, сміття, наносів.

Результати всіх спостережень повинні заноситись до спеціальних журналів. В кінці року журнали здають в архів.

З існуючих водозабірних споруд найкраще захищають рибу фільтрувальні, комбіновані та глибинні споруди, а також річкові руслові водозабори із затопленими оголовками, якщо швидкість обтікання їх річковим потоком більше як в 3 рази перевищує швидкість входу води у водоприймальні вікна. Повністю виключається попадання риби в інфільтраційні водозабори.

Проблема ефективного і надійного захисту риби, особливо на великих водозаборах, вирішена ще недостатньо. Найчастіше на період скату рибної молоді на водоприймальних вікнах водозабору встановлюють металеві сітки з достатньо малими прозорами і періодично промивають їх зворотнім потоком води. При налагодженні поверхневих водозаборів робота рибозахисних пристроїв повинна бути перевірена.

Нормальна робота водозабірних споруд може порушуватися під. час повені, а також при розташуванні їх на березі річки, яка несе багато пливучих предметів (сміття, дерева, коріння, комиш та ін..). Оскільки відстань між стержнями ґрат становить 50-100 мм, через них в приймальне відділення берегового колодязя можуть попадати сторонні плаваючі предмети,, тому перед ґратами обов’язково влаштовують пливучі загородження (запані).

В практиці експлуатації водозабірних споруд поверхневих джерел відомі випадки припинення водопостачання через обмерзання водоприймальних ґрат. Тому при пусконалагоджувальних роботах на водозаборах, що будуть працювати у важких шуго-льодових умовах, перевіряють справність системи обігрівання решіток за допомогою пари, гарячої води або постійного електричного струму. Парообігрівання або обігрівання гарячою водою здійснюють шляхом пропуску пари (води) через трубчасту систему, ґрат або шляхом підведення пари (води) і розподілення їх перед ґратами.

Для очистки приймального відділення берегового колодязя від піску в ньому повинна бути змонтована і працювати система ежекторів з підвісними гнучкими шлангами.

Після грат вода проходить через сітки, які бувають плоскі та обертальні, з чарунками від 2 X 2 до 5 X 5 мм. Виконують їх з оцинкованої або нержавіючої сталі, латунного дроту та капронової сітки. Всі типи сіток потребують періодичної або безперервної чистки (промивання), яку виконують за допомогою промивних пристроїв..

При масовому розвитку у воді фіто- й зоопланктона використовують мікрофільтри з розмірами отворів до 40 X Х40 мкм, які добре зарекомендували себе при надходженні у водозабірні споруди синьо-зелених водоростей.

Для перекриття або виключення водоприймального колодязя та його окремих секцій встановлюють засувки, дросельні затвори, шибери і щити.

Контроль на водозаборах. Лабораторно-виробничий контроль на водозаборах проводять з урахуванням місцевих природних і санітарних умов. Перелік показників лабораторного контролю погоджують з органами санітарно - епідеміологічної служби. На водозаборах з поверхневих джерел аналізи проводять не рідше одного разу на місяць, а з підземних - не рідше чотирьох разів (по сезонах) протягом першого року експлуатації і надалі не рідше одного разу на рік у найбільш несприятливий період. Якість води при цьому має відповідати даним

Показник якості

Категорія водоспоживання


Централізоване або нецентралізоване господарсько-питне водопостачання продуктових підприємств.

Для купання, спорту і відпочинку населення, а також водойми в межах населених пунктів

Вміст зважених речовин

При скиданні стічних вод у водойму на 1 км вище контрольного створу вміст речовин, мг / л, не повинно збільшуватися більше ніж на: 0,25 0,75Для водойм, що містять в межень понад 30 мг / л природних мінеральних речовин, припускається збільшення до 5% Суспензії з гідравлічною крупністю більше 0,4 мм / с для проточних водойм і більше 0,2 мм / с - для водосховищ до спуску в вододжерело забороняються.

Наявність плаваючих домішок запах, присмаки

На поверхні водоймища не повинні виявлятися плаваючі плівки, плями мінеральних масел та скупчення інших домішок Вода не повинна набувати запахи і присмаки інтенсивністю більше 2 балів, які виявляються: безпосередньо або при безпосередньо наступному хлоруванні Вода не повинна повідомляти сторонніх запахів і присмаків рибам

Забарвлення

Не повинна виявлятися у стовпчику висотою, см:  20 10

Температура

Літня температура води в результаті спуска стічних вод не повинна підвищуватися більш ніж на 3 ° С у порівнянні із середньомісячною температурою води самого жаркого місяця року за останні 10 років

pH

Не повинен виходити за межі 6,5... 8,5

Мінеральний склад

Не повинен перевищувати по Нормується по показнику сухому залишку 1000 мг/л, в «присмак» тому числі хлоридів-350мг/л сульфатів - 500мг\л

Біохімічна потреба в кисні

Повна потреба при температурі 20°С не повинна перевищувати, мг/л:  3 6

Наявність збудників захворювань

У воді не повинно бути. Стічні води, містять збудників захворювань, слід піддавати знезараженню після відповідного очищення

Наявність отруйних речовин

Не повинні міститися в концентраціях, які можуть надати прямо чи побічно шкідливий вплив на організм




Періодичність наведених заходів встановлюється в залежності від умов забору води і вказується в посадових інструкціях.

Ґрати оголовка очищають ручними граблями з човнів (або льоду) або піднявши їх з води. Спосіб очищення залежить від конструкції ґрат і місцевих умов. Плоскі сітки очищають струменем води з брандспойта, для чого їх піднімають на рівень павільйону, попередньо встановивши в колодязі запасну сітку. Обертові сітки промивають під час обертання водою, що підводиться до дірчасті трубі під тиском 0,2... 0,3 МПа. Воду від промивання сіток відводять нижче водоприймача.

Самопливні труби очищають від осаду зворотним струмом води безпосередньо від насосів 1-го підйому або з берегового колодязя. При цьому берегової колодязь заповнюють водою до рівня, що перевищує рівень води в вододжерела не менше ніж на 1,5... 2 м, після чого відкривають шибери на самопливних трубах. Ефект зворотного промивання залежить від швидкості руху води в трубі, яка повинна бути в 4... 5 разів більше швидкості при нормальній роботі, але не менше 2... 2,5 м / с. Самопливні труби і галереї діаметром більше 800 мм очищають вручну або при повному виключенні їх з роботи.

Осад, що накопичується в береговому колодязі в весняний паводок, видаляють по мірі накопичення (але не рідше одного разу на рік) водоструминні ежекторами або вручну. Після очищення берегові колодязі протягом 4... 5 год дезінфікують хлоровмістних розчином (з розрахунку концентрації його в промивної воді 30... 40 мг / л). Після цього колодязь промивають свіжою водою і включають в роботу при наявності залишкового хлору не більше 1 мг / л.

Для видалення нафти і нафтопродуктів, що потрапили у водозабір і спливли в береговому колодязі застосовують еластичні спінені поліуретани, добре змочуються нафтопродуктами, що забезпечує інтенсивне поглинання ними нафти з води. Продукти, які не сплили, видаляються тільки на очисних спорудах.

Експлуатація в зимових умовах. Особливу увагу при експлуатації приділяють водозаборам на шугоносних і шугозабірних річках.

Для боротьби з заледенінням і закупоркою сміттєзатримних решіток застосовують електрообігрів, підведення теплої води або стисненого повітря і т. п. Ступінь напруженості шуго-крижаних утруднень визначається швидкістю течії води в річці. Так, на рівнинних річках зі швидкістю течії не більше 0,6 м / с труднощі пов'язані з виділенням на ґратах донного льоду. Найбільш елективний спосіб боротьби з цим явищем - завчасне створення над водоприймачем зберігає або крижаних полів, що створюються і утримуваних запанів. Такий захід необхідно тільки на період танення льоду, тобто на кілька днів.

На рівнинних річках зі швидкостями течії 0,7... 0,8 м / с шуго-крижані утруднення виявляються більш різноманітними і тривалими, а в деяких районах і неодноразовими. У таких умовах найбільш ефективно гранично знижувати швидкість прийому води з річки (використовувати всі вікна при відкритих перепуску), промивати решітки водоприймальних отворів затоплених оголовків зворотним струмом теплої або холодної води (іноді разом із стислим повітрям), влаштовувати механічне огорожу недостатньо заглиблених водоприймальних отворів запанів, тимчасовими заслонами з барж, катерів і т. п., огороджувати досить заглиблені отвори тимчасово встановлюваними водоповітряної завісами, видаляти плоскі сітки і пускати на безперервну роботу «лобові» механічні сітки на весь період танення криги з деяким обігрівом простору між полотнищами сіток в береговому колодязі. Якщо механічні сітки не пристосовані до витягання шуги з берегового колодязя, її видаляють іншими способами, а іноді розтоплюють потужними електронагрівачами.

На шуго-забірних річках при швидкостях течії більше 1 м/с можуть виникати різкі й значні коливання рівнів води, формуватися пер-первинні шуго-забори у верхів'ях плес, вторинні - на перекатах і берегові - при зриві руслових або повної ізоляції берегових водозаборів. Шуго-забори можуть надавати механічне вплив на водоприймачі. Для цих умов, окрім вище перелічених заходів, застосовують розчистку русла річки, поліпшуючу умови шуго-транзита (пристрій траншеї на перекатах, видалення запруд і т. п.), скидання теплої води на вході в ківш, кишені і канали; пристрій тимчасових резервних водоприймачів за можливими контурами берегових і руслових шуго-заборів, а також на обхідних протоках і опуклих ділянках берега русла.

Рибозахист. Питання рибозахисту розглядаються у двох аспектах: технічному (запобігання попадання риби у водозабірні споруди, що сприяє виникненню перешкод у роботі водозабору та очисних споруд) і екологічному (запобігання попадання риби, в основному молоді, в водоприймальні споруди, сприяючого нанесенню збитків рибному господарству і екологічної середовищі водойми). На водозаборах, встановлюваних у водоймах рибогосподарського призначення, застосовують механічні, гідравлічні та фізіологічні рибозахисні пристрої.

4.5    Видалення з води запахів присмаків і розчинених газів

Процес видалення із води запахів і присмаків називається дезодорацією. Залежно від природи останніх, існує кілька способів дезодорації води:

·    перехлорування з послідуючим дехлоруванням;.

·        хлорування з амонізацією;

·        аерація;

·        обробка озоном;

·        обробка або фільтрування через активоване вугілля та ін.

Перехлорування води великими дозами (до 10 мг/л) застосовують для усунення присмаків і запахів фенольних | сполучень, зниження кольоровості і вмісту бактерій. При цьому надлишок хлору, що перевищує його допустимий вміст у питній воді видаляється дехлоруванням: сірчаним газом, гіпосульфітом та ін. На нейтралізацію 1 мг активного хлору витрачається 0,9 мг сірчаного газу або 3,5 мг гіпосульфіту.

Суміщений процес хлорування і амонізації ліквідує запахи і присмаки у вихідній воді і маскує присутність залишкового хлору у очищеній воді.

Дозу аміаку при налагодженні станції передбачають залежно від дози хлорування таким чином, щоб досягти найбільш раціонального бактерицидного ефекту. Раціональне співвідношення хлору і аміаку 4:1-6:1.

При наявності у воді, що обробляється, фенолів, аміак повинен вводитись перед надходженням води на очисні споруди і за 1-2 хв до попереднього хлорування. Для маскування запаху, хлору аміак дозується після вторинного хлорування в резервуари чистої води або у водоводи перед ними.

Найкращий ефект дезодорації досягається обробкою води озоном або активованим вугіллям. Контакт води з активованим вугіллям може бути досягнутий двома способами: дозуванням пульпи вугільного порошку (одночасно з коагулюванням води або після нього); фільтрацією вже очищеної води через шар зернистого активованого вугілля.

Доза порошкоподібного вугілля залежно від інтенсивності запахів і присмаків у воді коливається в дуже широкому діапазоні - від 5 до 150 мг/л і виявляється в процесі пробної обробки активованим вугіллям і налагодження. Концентрація дозуємої пульпи складає 5%.

Об’єм завантаження вугільного фільтра визначається із умови: на 1 м3/год води, що обробляється, припадає 0,06- 0,12 м3 вугілля. Недоліком способу фільтрації є трудомісткість і неповноцінна регенерація відпрацьованого активованого вугілля лугом.

Розчинені у воді гази - СО2, О2, Н2, азот, метан - можуть бути видалені фізичними методами (аерацією, кип’ятінням, вакуумуванням), хімічними методами або їх комбінацією. Вільну вуглекислоту і метан видаляють з води аерацією, кисень - вакуумуванням або хімічним методом. Азот є інертним газом і, звичайно, не виникає необхідності його видалення.

При налагодженні роботи споруд для видалення вільної вуглекислоти приймають слідуючі навантаження:

Брязкальний басейн 1,5 м3/(м2∙год)

Вентиляторні градирні-дегазатори з насадкоюіз кілець Рашіга розміром 25X25 мм60 м3/(м2∙год)

Те ж, з насадкою рейок розміром 50X13 мм, з просвітами між рейками/20 мм 40 м3/(м2∙год)

Тиск води перед розбризкуючими, соплами бризкальних басейнів встановлюють 50-60 кПа. При цьому напорі щілеве сопло П-16 диспергує в повітрі 35 м3/ год води, гвинтове сопло - 15 м3/год, тангенціальне - 10 м3/год. Сопла розташовують на висоті 1 м над поверхнею води в басейні.

Вентилятор для подачі повітря у вентиляторну градирню-дегазатор вибирають з таким розрахунком, щоб він забезпечував подачу 20 м3 повітря на 1 м3 води, що обробляється, при глибокому видаленні двоокислу вуглецю і 10-15 м3 повітря на 1 м3 води при частковому його видаленні, що потрібне при знезалізненні води або її стабілізації.

Необхідний напір, який потрібно розвивати вентилятором, визначають, виходячи з суми витрат напору в розподільчій плиті, насадці, повітроводах. Витрати напору в розподільчій плиті і повітропроводах приймають 245 Па при частковому видаленню СОг і 343 Па - при глибокому видаленні.

Витрати напору в кільцях Рашіга розміром 25Х25Х ХЗ мм складають при глибокому видаленні СО2 - 294 Па на 1 м висоти шару насадки і 147 Па при частковому видаленню СО2. Втрати напору в дерев’яній насадці складають 98 Па на 1 м її висоти.

Розміри підвідних і відвідних трубопроводів приймають такими, щоб швидкість повітря в них була 5-6 м/с.

Висоту шару насадки приймають у вентиляторному дегазаторі за даними. Відвід води із дегазатора повинен мати гідравлічний затвор.

4.6   Боротьба з біологічним обростанням

Хімічні методи боротьби. Найбільш відомий метод запобігання біологічного обростання - покриття поверхонь токсичними фарбами. Широко використовуються оловоорганічні компоненти фарби, що володіють біоцидних дією.

Періодично можна хлорувати охолоджуючу воду, причому інтервали між подачею хлору у воду і тривалість кожного періоду хлорування залежать від ступеня забруднення води органічними речовинами, видів розвивається в охолоджувальних системах мікрофлори та інтенсивності її розвитку. Режим хлорування в кожному окремому випадку підбирається досвідченим шляхом.

Крім хлору для боротьби з біообростаннями може застосовуватися мідний купорос - головним чином з водоростями, що розвиваються в градирнях, на водорозподільних трубах і лотках, зрошувачі, а також в бризкальних басейнах і ставках - охолоджувачах оборотної води.

З інших реагентів, придатних для боротьби з біологічними обростаннями, застосовуються озон; гіпохлорити натрію і кальцію; сполуки ртуті; хлоровані похідні фенолу (зокрема, пентахлорфенолят натрію); перманганат калію, четвертинні амонієві підстави. На мікроорганізми згубно діє вільна вуглекислота, що вводиться у воду в дозах 30-50 мг / л.

Слід врахувати, що більшість іонів важких металів у малих дозах стимулюють ріст бактерій і водоростей у воді. Отже, одне і те ж речовина в певних дозах може діяти на організм як отруту або стимулятора.

Фізичні методи боротьби. Для боротьби з біообростаннями може широко використовуватися термічний метод - це або дію на шкідливих гідробіонтів теплою водою (якщо є поблизу ТЕЦ), або виморожування, дуже зручне в зимовий час.

Для великих залізобетонних і бетонних гідроспоруд застосовується метод катодного захисту, для чого на ізоляторах підвішують спеціальні зварні сітки-катоди. Цей спосіб в 1000 разів дешевше хлорування води і електрофільтрів.

Дослідження впливу ультразвуку і електрогідравлічного удару на біологічні обростання не знайшли поки промислового застосування через труднощі створення потужних генераторів ультразвукових коливань і апаратів електрогідравлічного удару.

Біологічні методи боротьби. Для боротьби з біообростанням використовуються біоценологічні відносини між різними групами гідробіонтів. Можна досліджувати рослини, які різко знижують вміст біогенних речовин у воді.

4.7   Дефектна відомість

Дефектна відомість - це документ складається за наявності вад,недоліків,браку у вироблених матеріальних цінностях в разі контролю якості як з боку виробника, продавця, так і збоку покупця. Використовується як документ реєструючий витрати при проведенні ремонтів.

Дефектну відомість вносимо у таблицю.

Таблиця

Опис дефектів з вказівкою одиниць виміру та обсягів робіт

Час необхідний для виконання ремонту

Необхідні матеріали, комплектуючі та механізми для виконання ремонту

Назва і кількість відходу матеріалів від руйнування

П. І. Б. та підпис осіб, які проводять огляд.

1.

Ремонт засувок

1 доба

Нова засувка, гайкові ключі, гайки.

Металобрухт

Чуманов В.Ю.

2.

Ремонт клапанів

1 доба

Гайкові ключі, нові клапани

Металобрухт

Чуманов В.Ю.

3.

Ремонт і фарбування дверей, огорож і т.д.

1 доба

Фарба, щітка по металу, кісточки.

Сміття

Чуманов В.Ю.

4.

Пошкодження стін

1 доба

Цемент, пісок, шпатель.

Будівельне сміття

Чуманов В.Ю.

5.

Очищення сіток і ковшів

1 доба

Відро, щітка.

Забруднення

Чуманов В.Ю.


4.8   Графік ППО і ППР

Система ППР (планово попереджувальних ремонтів) на підприємствах здійснюють експлуатацію та ремонт об’єктів водопровідно-каналізаційного господарства (ВКГ) і є обов’язкове для виконання ними незалеєно від форми власності.

Відповідальність за впровадження і суворе виконання системи ППР на об’єктах ВКГ покладається на керівника підприємства, що здійснює експлуатацію цих об’єктів.

Система ППР - це сукупність організаційних і технічних заходів по нагляду за технічним станом та всіх видах ремонту будівель, споруд, трубопроводів і устаткування, що виконують періодично заздалегідь складеним планом.

Основні завдання системи ППР на підприємствах ВКГ: попередження передчасного зносу будівель, споруд та устаткування і забезпечення надійності їх роботи, зниження витрат і підвищення якості, проведення ремонтних робіт для забезпечення подачі води, що відповідає вимогам державного стандарту на питну воду, відводу та очищення до встановлених вимог стічних вод.

·    Система ППР передбачає проведення практичних заходів: визначення переліку будівель, споруд і устаткування (обладнання), які належить ремонтувати;

·        визначення видів, характеру ремонтних робіт та їх обсягів;

·        визначення міжоглядових та міжремонтних періодів; структури ремонтних циклів для різних видів будівель, споруд і устаткування з урахуванням умов експлуатації;

·        планування ремонтних робіт;

·        визначення джерел фінансування;

·        організацію проведення оглядів та ремонтних робіт;

·        забезпечення технічною та кошторисною документацією;

·        забезпечення ремонтних робіт необхідними матеріалами, запасними частинами;

·        організацію виробничої бази для виконання ремонтних робіт. у т.ч. організацію центральних ремонтних баз, ремонтних цехів, майстерень і ремонтних бригад (із забезпеченням необхідним устаткуванням, ремонтним оснащенням і робочою силою);

·        організацію служби ППР на підприємстві ВКГ;

·        впровадження сучасних методів ремонту з використанням засобів механізації та методів відновлення зношених споруд, обладнання та їх окремих елементів;

·        впровадження чинних правил технічної експлуатації споруд і устаткування (обладнання) різного призначення;

·        організацію контролю за технічним обслуговуванням будівель, споруд та устаткування;

·        організацію контролю якості ремонтів.

5      . Охорона праці та БЖД

5.1   Охорона праці

Інструктажі з охорони праці та техніки безпеки. До експлуатації споруд систем водопостачання і каналізації допускаються працівники, які пройшли медичний огляд, які представили довідку про стан здоров'я та можливості працювати в конкретних умовах виробництва, оформивши трудову угоду і отримали інструктаж з охорони праці і техніки безпеки.

Інструктажі поділяються на вступний, первинний на робочому місці, повторний, позаплановий і поточний (ГОСТ 12.0.004-79).

Відповідно до Закону України «Про охорону праці» керівництво водоочисної станції повинне забезпечити:

·   безпеку виробничих процесів, устаткування, будівель і споруд;

·   усіх працівників - засобами індивідуального та колективного захисту;

·   професійну підготовку і підвищення кваліфікації працівників з охорони праці, пропаганду безпечних методів праці;

·   виконання санітарно-гігієнічних нормативів умов праці та оптимальних режимів праці і відпочинку працівників;

·   професійний добір виконавців для певних видів робіт.

Для організації роботи з охорони праці на одоочисній танції створюються служби охорони праці, які підпорядковуються безпосередньо керівникові підприємства і прирівнюються до основних виробничо-технічних служб.

Усі нещасні випадки, професійні захворювання і аварії підлягають обов’язковому розслідуванню спеціально призначеною комісією та обліку за встановленими формами згідно з «Положенням про розслідування та облік нещасних випадків, професійних захворювань і аварій а підприємствах, в установах і організаціях», затвердженим постановою КабМіну України від 10.08.93. №623

Вступний інструктаж проводить інженер по техніці безпечності із запрошеними на роботу незалежно від їх освіти, стажу роботи та посади. Інструктуються окремі особи або група осіб в кабінеті з охорони праці за програмою, затвердженою керівником (головним інженером) підприємства та погодженою з профспілковим комітетом. Програма повинна містити такі розділи: загальні відомості про підприємство ВКГ, основні правила внутрішнього трудового розпорядку; основні положення законодавства про охорону праці; правила техніки безпеки на всіх ділянках підприємства ВКГ; основні фактори виробничої санітарії; опис засобів індивідуального захисту; правила пожежної безпеки; способи надання першої допомоги постраждалим.

Про проведення інструктажу і перевірки знань робиться запис у журналі реєстрації та в контрольному листку вступного інструктажу обов'язковими підписами інструктували та інструктуючого.

Первинний інструктаж на робочому місці проводиться індивідуально з кожним працівником, що наближуються до роботи на даному виробничому ділянці. Інструктаж проводить керівник робіт (майстер, начальник дільниці) за затвердженими інструкціями з показом безпечних прийомів і методів праці. Робочі протягом 2-5 змін повинні виконувати роботу під наглядом майстра (бригадира), після чого оформляється допуск до самостійної роботи.

Повторний інструктаж проводиться щоквартально з метою перевірки рівня знань з техніки безпеки кожним працівників. Інструктаж проводять індивідуально або з групою робітників однієї професії (з бригадою) за програмою інструктажу на робочому місці.

Позаплановий інструктаж, як і повторний, проводиться при. зміні правил з охорони праці або технології виробництва, при застосуванні нових матеріалів, машин і механізмів, при порушенні працюючими вимог безпеки праці, які можуть призвести або призвели до виробничому травматизму чи аварій, при перервах в роботі більше 60 календарних днів (для робіт з підвищеними вимогами, з охорони праці - більше 30 днів).

Про проведення первинного, повторного і позапланового інструктажів відзначають в журналі реєстрацій інструктажів на робочому місці зазначенням виду та причини інструктажу та обов'язковими підписами інструктували та інструктуючого.

Поточний інструктаж проводиться з робітниками перед виконанням робіт по наряду-допуску і при видачі дозволу на виконання особливо небезпечних робіт. Підписи інструктували та інструктуючого повинні бути безпосередньо на зазначених документах.

Засоби захисту. Для захисту від пошкоджень і травм тіла, ніг, рук, голови, обличчя, органів зору, дихання та слуху працюючим на підприємстві безкоштовно видають відповідний спецодяг, спецвзуття, рукавиці, рукавички, каски, захисні окуляри, маски, щити, респіратори, промислові протигази, скафандри, протишуми. Крім того, для збереження від падіння з висоти слід видавати запобіжні пояси, страхові мотузки та троси, а для захисту від ураження електричним струмом - діелектричні рукавички, килимки, калоші та боти.

На робочих місцях повинні бути вивішені знаки безпеки, які вказують або попереджають про можливі небезпеки, що загрожують здоров'ю працюючих.

5.2    Техніка безпеки

Склад, чисельність і кваліфікація обслуговуючого персоналу визначається виробником залежно від потужності та ступеня складності споруд, технологічних процесів з урахуванням обсягів роботи з обслуговування і ремонту діючих мереж і споруд.

При визначенні чисельності обслуговуючого персоналу рекомендується використовувати Нормативи чисельності робітників, зайнятих на роботах по експлуатації мереж, споруді насосних станцій водопроводу і каналізації, затверджені Головою Держжитлокомунгоспу України 19 грудня 1991 року.

На підприємствах водопровідно-каналізаційного господарства діють такі форми навчання робітників:

·    виробничо-технічні курси;

·        курси навчання суміжним професіям;

·        курси цільового навчання;

·        школи з вивчення передового досвіду праці та інші форми навчання.

Навчання з робітничих професій може здійснюватися лише при наявності програмно-методичного та кадрового забезпечення, а також відповідної учбово-технічної бази (учбово-технічних кабінетів, лабораторій, тренувальних майданчиків, у т.ч. з охорони праці тощо).

Особи, що приймаються на роботу, пов'язану з безпосереднім обслуговуванням, ремонтом, випробуванням і налагодженням роботи споруд, комунікацій, устаткування, обов'язково проходять медичне обстеження на відповідність стану їхнього здоров'я вимогам до даної професії, а потім періодичні огляди згідно з Інструкцією по проведенню обов'язкових попередніх і періодичних медичних оглядів, затвердженою Міністерством охорони здоров'я України.

При призначенні фахівців на посади спеціалістів слід користуватися вимогами Кваліфікаційного довідника посад службовців.

До призначення на самостійну роботу чи у разі переведення на іншу роботу (посаду) робітники виробника зобов'язані пройти:

·    спеціальну фахову підготовку;

·        інструктаж на робочому місці;

·        перевірку знань цих Правил, виробничих і посадових інструкцій, правил з охорони праці згідно з Типовим положенням про навчання, інструктаж і перевірку знань працівників з питань охорони праці, затвердженим наказом Держнаглядохоронпраці України від 04.04.94 №30

Для працівників, що обслуговують електроустановки, обов'язкове знання Правил технічної експлуатації електроустановок споживачів і Правил техніки безпеки при експлуатації електроустановок споживачів.

Для працівників, що обслуговують хлорне господарство та хлораторні установки, обов'язкове знання Правил безпеки при виробництві, зберіганні, транспортуванні та використанні хлору, затверджених Держнаглядохоронпраці України наказом від 29.10.93 №105.

Первинній перевірці знань підлягає увесь персонал виробника до керівних та інженерно-технічних працівників включно.

Перевірку в процесі роботи здійснюють у строки, встановлені керівником підприємства.

Затвердження на посадах працівників підприємства провадиться згідно з Кодексом законів про працю України (322-08 <#"603141.files/image180.gif"> =  = тис. м3

. Подача води в мережу складає:

м = Qріч - Qв..п. = - = тис.м3

. Визначаємо кількість води, реалізованої споживачам:

реал = Qміста ×365 = ×365 = тис. м3

5.   Витоки і невраховані витрати:

в.н.в = × 100% =  =%

. Витоки і невраховані витрати:

в.н.в. = Qм - Qреал. = - = тис.м3

6.3 Розрахунок собівартості 1м 3 води

.3.1 Кошторис річних експлуатаційних витрат

Таблиця 6.3.1

Кошторис річних експлуатаційних витрат

Статті витрат

Сума, тис. грн.

% до підсумку

1

Матеріали

2

Електроенергія

3

Амортизація

4

Оплата праці робітників з нарахуваннями

5

Адміністративні і загальновиробничі витрати


Всього

100%

Собівартість очищення 1 м3 води складає:

С =  

.3.2 Розрахунок витрат на матеріали

. Для очистки води застосовуємо реагенти:2(SO4)3 = мг/ л;

Сl2 = мг / л;

. Витрати на матеріали розраховуємо формулою:

Вм =

де Ці - ціна 1 тонни реагенту, грн../ т;

 - кількість реагентів яка потрібна для річної очистки води.

Ці = ОЦ + Тр

де ОЦ - оптова ціна в цінах 2012р, грн..

Тр - транспортні витрати, які в учбових цілях приймаємо 30% від оптової ціни.

. Потребу реагентів на рік визначаємо за формулою:

 = qі ×Qріч,

де qі - доза реагентів, кг / тис. м3

Qріч - кількість води, що проходить через очисні споруди за рік, тис. м3 Оптову ціну (ОЦ) матеріалів з ПДВ приймаємо за даними водоканалу:

т Al2(SO4)3 = грн. / т;

т Сl2 = грн. / т;

т ПАА= грн. / т;

2(SO4)3 Ці = ×= грн / т

Сl2Ці = × = грн / т

ПАА Ці = × = грн / т2(SO4)3 = кг / тис. м3 × тис.м3 / 1000 = т;

Сl2 = кг / тис.м3 × тис. м3 / 1000 = т

ПАА  = кг / тис.м3 × тис. м3 / 1000 = т

Таблиця 6.3.2

Розрахунок витрат на матеріали

Найменування реагентів

Кількість очищеної води за рік, тис. м3

Потреба у реагентах

Ціна 1 т реагента, грн..

Всього витрат, тис. грн.



Доза кг / тис. м3

на рік, тонн



Al2(SO4)3






Сl2






ПАА






Всього








6.3.3 Розрахунок витрат на електроенергію

Вартість електроенергії розраховуємо за формулою:


де:  - кількість активної електроенергії кВт/год.;

С - тариф на електроенергію грн./кВт год.;

Кількість активної електроенергії розраховуємо за формулою:

+ , кВт/год

Витрати активної електроенергії на насосні станції розраховуємо за формулою:

= /год

де: - ККД насоса та електродвигуна; ККД електродвигуна приймаємо по підручнику Басс ст.33

Н - висота підйома води, м;

- кількість води, що очищається за рік тис.м3;

,72 - питомі витрати е/енергії, кВт/год., які необхідні підняти 1м3 води на висоту 1м;

- кількість активної електроенергії для інших потреб. Для учбової мети приймаємо цю кількість у розмірі 30% від активної електроенергії НС-І підйому.

Вихідні дані:

НС-І НС-ІІ -% -%= кВт N = кВт

Н= м Н= м

= = тис.м3

= /год

= /год

=  ∙ = кВт/год

= + + = кВт/год.

= ∙ = грн = тис.грн.

.3.4 Розрахунок амортизаційних відрахувань

Згідно з чинним законодавством України (Податковий кодекс України, згідно із Законом №2856-17 від 23.12.10р.) нарахування амортизаційних основних засобів здійснюємо за прямолінійним методом.

Балансову вартість основних фондів в цінах 1977р приймаємо для водопостачання за навчальним посібником "Водоснабжение технико-економические расчеты" под редакцией Г.М. Басса.

Для перерахунку балансової вартості в ціни 2011р приймаємо індекс перерахунку для будівель, споруд, мережі - 3,15;

Таблиця 6.3.3

Розрахунок початкової балансової вартості основних фондів

Найменування основних фондів і їх технічна характеристика

К-сть

Балансова вартість в цінах 1984 р

Індекс перерахування в ціни 2003 р

Загальна вартість в цінах 2010 р

Обґрунтування



Одиниці

Загальна




1

2

3

4

5

6

7

1. Річкові водозабірні споруди роздільного типу потужністю 200-1000л/с

1



3,15


Басс, ст. 120, т.1 ТП 901-2-12/71

2. НС-ІІ прод. 43- 90, М3/год.

1



3,15


Басс, ст. 124 т.1 ТП, 901- 2-61

3. Очисні споруди продуктивністю 50 тис. м3/добу

1



3,15


Басс, ст.122, т.1 ТП, 901-3-59

4. Блок реагентного господарства

1



3,15


Басс Ст.123 Т.1 ТП 4- 18-824

5. Хлораторна прод. 10 кг/год

1



3,15


Басс ст.123 Т.1 ТП 901-3-15/70

6. РЧВ 2шт об`ємом 4000м3

2



3,15


Басс ст. 126 т.1 ТП 4-18 853

7. Башта зберігання промивної води об’ємом 300м3, D= 8м

1



3,15


Басс ст. 124 т.1 ТП 901- 5-26/70

8. Споруди для Повторного використання промивної води

1



3,15


Басс ст. 123 т.1 ТП 4 - 18-824

9.Котельня прод. 2.1. гДж/год

1



3,15


Самохін т. 66.39

Разом








Норма амортизації, тобто річні відсотки відшкодування вартості зношеної частити основних засобів обчислюється за формулою:

На =  ∙ 100%

де:- початкова балансова вартість основних засобів;

- ліквідаційна балансова вартість основних засобів;

- термін корисного використання основних засобів;

Згідно чинного законодавства України мінімально допустимі строки корисного використання будівель - 20 років, споруд - 15 років. Отже, приймаємо = 20 років. Ліквідаційну балансову вартість  приймаємо на рівні 15% від первісної балансової вартосі основних засобів.

Тоді На =  ∙ 100=

Сума амортизаційних обчислюється за формулою:

А = На , грн..

Тоді річні амортизаційні відрахування становлять:

А = = грн..

Балансову вартість водопровідної мережі визначимо по укрупненим кошторисним нормам.

Загальну довжину водопровідної мережі визначаємо за формулою:

заг= N ∙l,

де: N - кількість населення,чол.0,83м- довжина водопровідних мереж яка припадає на одного мешканця при п’ятиповерховій забудові.

заг= тис ∙ м= 55,62км

Таблиця 6.3.4

Балансова вартість водопровідної мережі

№ п\п

Найменування елементів мережі і матеріалів трубопроводів

d мережім м

l км

Глибина м

Вартість одиниці, тис. грн

Індекс перера-хунку

Загальна вартість тис. грн

Обґрунтування

1

Головний трубопровід



2,0


3,15


Басс т.4

2

Районий трубопровід



2,0


3,15


Басс т.5





2,0


3,15


Басс т.5





2,0


3,15


Басс т.5





2,0


3,15


Басс т.5





2,0


3,15


Басс т.5

3

Вуличний трубопровід



2,0


3,15


Басс т.5


Разом









Згідно чинного законодавства України мінімально допустимі строки корисного використання передавальних пристроїв - 10 років. Отже,приймаємо =10 років. Ліквідаційну балансову вартість водопровідної мережі  приймаємо на рівні 15% від первісної балансової вартості.

Тоді На =  ∙ 100% =%

Отже,річні амортизаційні відрахування становлять:

А = = грн..

Загальна сума амортизаційних відрахувань за рік: тис. грн.

.3.5 Розрахунок фонду оплати праці робітників

Фонд оплати праці робітників складається з основного і додаткового фондів заробітної плати.

Основний фонд заробітної плати включає в себе:

·   тарифний фонд заробітної плати;

·   доплати до тарифного фонду (для учбової мети приймаємо в розмірі 60% від тарифного фонду).

Додаткова заробітна плата - це винагорода за працю понад встановлені норми, за трудові успіхи, винахідливість, особливі умови праці, основні та додаткові відпустки та пільгові години (для учбової мети приймаємо 9% від основного фонду заробітної плати).

Облікову чисельність робітників визначаємо за формулою:с =rя × Кп.н

де rя - явочна чисельність робітників, приймаємо за типовими нормативами чисельності робітників зайнятих на роботах по експлуатації мереж очисних споруд і насосних станцій водопроводу і каналізації.

Кп.н - коефіцієнт, що враховує планові невиходи;

Планові невиходи і номінальний фонд розраховуємо на одного середньо облікованого робітника.

Коефіцієнт планового невиходу:

Кп.н = 1 +% п. н. / 100

де% п. н. - відсоток непланових виходів

% п. н. =  ∙ 100%

Баланс робочого часу одного середньоспискового робітника

. Календарний фонд часу, днів 365

·   Число неробочих днів за рік, в тому числі

·   вихідні дні

·   святкові дні

2.   Номінальний фонд часу, днів (р. 1 - р. 2)

. Планові невиходи (або цілодобові втрати), днів,

в тому числі:

·   основна і додаткова відпустки

·   відпустки у зв’язку з навчанням

·   відпустка у зв’язку з вагітністю і пологами

·   невиходи по хворобі

·   виконання державних і суспільних обов’язків

5. Явочний фонд: часу, днів (р. 3-р. 4)

. Тривалість робочого дня (зміни), год.

. Внутрішньо змінні втрати робочого часу, год.

. Середня тривалість робочого дня (зміни), год. (р. 6-р. 7)

. Дійсний (ефективний) фонд робочого часу, год. (р. 5 × р. 8)

Кп.н = 1 +% п. н. / 100

Кп. н. =  =

% п. н =  × 100% =%

Таблиця 6.3.5

Розрахунок спискової чисельності робітників

№ п/п

Найменування споруд або робіт

Найменування професій

Явочна чисельність робітників, чол

Коефіцієнт, що враховує планові невиходи

Облікова чисельність робітників, чол

1

2

3

4

5

6

1

Насосна станція І-го та ІІ-го підйому

Машиніст насосних установок Електромонтер з ремонту та обслуговування електроустаткування Оператор хлораторної установки

4,2 ∙ 2   4,2 ∙ 2  4,2 ∙ 2

1,14   1,14  1,14

10   10  10

2

Очисні споруди: - Фільтри; - Хлораторні установки; - Цех приготування реагентів і дозування; - Комплекс очисних споруд

Оператор на фільтрах Оператор хлораторної установки Коагулянтник Слюсар-ремонтник Електромонтер з ремонту та обслуговування електроустаткування Машиніст компресорних установок

4,2  4,2 4,2 4,2   4,2  4,2

1,14  1,14 1,14 1,14   1,14  1,14

5  5 5 5   5  5

3

Споруди для зберігання та запасу води: - Резервуар чистої води; - Башта зберігання; - Споруди повторного використання води

   Водороздавальник  Водороздавальник Водороздавальник

   4,2  4,2 4,2

   1,14  1,14 1,14

   5  5 5

4

Пульт дистанційно-автоматичного керування

Оператор дистанційного пульта автоматичного керування

4,2

1,14

5

5

Знімання показів водомірів

Контролер водопровідного господарства

4,2 ∙ 2

1,14

10

6

Ремонт і встановлення водомірів

Слюсар з КВіПА (контрольно-вимірювальних приладів та автоматики)

3,2 ∙ 2

1,14

8

7

Лабораторія Виконання аналізів: - хімікобактер; гідрологічного; - радіологічного

Лаборант-мікробіолог Лаборант (інженер) Лаборант-радіометрист Пробовідбірник Комірник Слюсар з КВіПА Комірник

2 4,2 1 2 1 2 2

1,14 1,14 1,14 1,14 1,14 1,14 1,14

3 5 2 3 2 3 3

8

Сховища хлору

Зливальник-розливальник

4,2

1,14

5

9

Котельня

Машиніст котельної установки Апаратник хімводоочищення

4,0 1,2

1,14 1,14

5 5

10

Прибирання приміщень і територій

Прибиральник виробничих приміщень Прибиральник службових приміщень Прибиральник території

 5  4,0 8,0

 1,14  1.14 1,14

 6  5 10

11

Технічне обслуговування і поточний ремонт будівель

Муляр Столяр Штукатур

3,0 3,0 3,0

1,14 1,14 1,14

4 4 4

12

Обслуговування і ремонт повітряних ліній

Електромонтер з ремонту повітр. ліній Кабельник-спаювальник Електромонтер з обслуговування підстанцій Слюсар з КВіПА Електрогазозварник Електромонтер з ремонту та обслуговування електроустаткування Електромонтер з ремонту диспетчерського устаткування

 3,0 6,7  4,2 1,6 1,6   8,0  1,8

 1,14 1.14  1,14 1,14 1,14   1,14  1,14

 5 8  5 2 2   9  3

13

Централізовані склади

Комірник

2,0

1,14

3

14

Водопровідна мережа

Обхідник водопровідної мережі Слюсар аварійно-відбудовних робіт Машиніст насосних установок Електрогазозварник Муляр Дорожньо-колійний робітник Машиніст із прання та ремонту спецодягу Електромонтер Оператор диспетчерської служби (1 на дільницю) Машиніст екскаватора Коваль ручного ковання Комірник (1 на дільницю)

 1,6 8,7  1,4 2,5 0,6 0,3  0,17 0,8  2 0,15 0,17 2

 1,14 1,14  1,14 1,14 1,14 1,14  1,14 1,14  1,14 1,14 1,14 1,14

 2 10  2 3 1 1  1 1  3 1 1 3

Всього

233






Таблиця 6.3.7

Розрахунок загальновиробничих та адміністративних витрат

№п/п

Найменування показників

Сума, тис. грн

1

Утримання адміністративно-управлінського персоналу


2

Витрати на поточний ремонт основних фондів


3

Інші витрати


4

Плата за землю



Разом:




Таблиця 6.3.8

Утримання адміністративно-управлінського персоналу

№п/п

Найменування посад

Кількість посадових одиниць

Посадовий оклад, грн

Річний фонд заробітної плати, грн

1

1



2

Головний інженер

1



3

Головний технолог

1



4

Інженер-технолог

2



5

Головний енергетик

1



6

Інженер-енергетик

2



7

Головний механік

1



8

Інженер-механік

2



9

Інженер зміни

4



10

Інженер-хімік

3



11

Інженер мережі

3



12

Майстер на насосній станції

3



13

Економіст

2



14

Головний бухгалтер

1



15

Бухгалтер

3



16

Диспетчер

5



17

Технік

4



18

Юрист

2




Всього:

40




Єдиний соціальний внесок 40%:





Разом:





Витрати на поточний ремонт приймаємо в розмірі 3% від балансової вартості основних фондів: 0,03 = тис. грн.

Інші загальновиробничі витрати для учбових цілей приймаємо в розмірі 20% від суми адміністративних витрат і витрат на поточний ремонт основних фондів: (+) ∙ 0,2 = тис. грн..

Плату за землю приймаємо в розмірі грн за 1м² площі земельної ділянки, що займає підприємство.

Площа земельної ділянки становить: S = ∙ = м²

Література

1. ГОСТ 2761 - 84. Источники централизованного хозяйственно-питьевого водоснабжения. - М.: Стройиздат, 1985. - 12с.

2.      Запольський А.К. Водопостачання, водовідведення та якість води. - К.: Вища шк.; 2005. - 671 с.

3.      Орлов В.О., Шевчук Б.И. Интенсификация работы водоочисных сооружений. - К.: Будивельник, 1989. - 128 с.

4.      Петімко П.І. та ін.. Налагодження роботи систем водопостачання / П.І. Петімко, І.Т. Прокопчук, М.Ф. Царик. - К.Урожай. 1995. - 256 с.

5.      Рудник В.П., Петимко П.И. и др. Эксплуатация систем водоснабжения. - K.: Будивельник, 1983. - 184 с.

6.      СНиП 2.04.02 - 84. Водоснабжение. Наружные сети и сооружения. - М.: Стройиздат, 1985. - 136 с.

7.      Справочник монтажника: Монтаж систем внешнего водоснабжения и канализации / Под ред. А.К. Перешивкина. - М.: СтройиздатД978. - 576 с.

8.      Тугай А.М., Орлов В.О. Водопостачання: Підручник. K.: Знання, 2009. - 735с

9 Хоружий П.Д., Ткачук A.A. и др. Эксплуатация систем водоснабжения и канализации: Справочник. - К.: Будівельник,1993. - 294 с.

10.  Хоружий П.Д., Ткачук О.А Водопровідні системи і споруди: Навч. Посібник - K.: Вища шк., 1993. - 230 с.: іл..

11.  Правила технічної експлуатації систем водопостачання та каналізації населених пунктів України. КДП 204 - 12 Укр. 242 - 95.- Київ 1995.

12 Положення про проведення планово-попереджувальних ремонтів на підприємствах водопровідно-каналізаційного господарства України. КДП 204 - 12 Україна 262 - 97. ~ Київ 1997.

Похожие работы на - Проектування очисних споруд у системі водопостачання

 

Не нашли материал для своей работы?
Поможем написать уникальную работу
Без плагиата!
Без нейросетей!