Отопление и вентиляция жилого здания
Министерство образования РБ
Учреждение образования
Белорусский государственный
университет транспорта
Строительный факультет
Кафедра «Экология и рациональное
использование водных ресурсов»
Пояснительная записка
к курсовой работе
по дисциплине «Инженерные сети и
оборудование»
«Отопление и вентиляция жилого
здания»
Выполнил ст. группы ПР-21
Ковалев В.В.
Проверил ассистент Грузинова В.Л.
Содержание
Введение
.
Теплотехнический расчёт ограждающих конструкций
.1. Расчёт
наружной стены
.2. Расчёт
чердачного перекрытия
.3. Расчёт
перекрытия над подвалом
. Отопление
зданий
.1 Расчёт
теплопотерь помещений
.2 Расчёт
нагревательных приборов
.3
Гидравлический расчёт
.4
Присоединение системы к тепловым сетям
. Вентиляция
зданий
.1
Определение воздухообмена в помещении
.2 Выбор
системы вентиляции и их конструирование
.3 Расчёт
системы вентиляции
Заключение
Список
литературы
Введение
Важное место в решении задач по экономии топливно-энергетических ресурсов
занимает сокращение расхода тепла на отопление зданий. Теплопотери зданий
существенно зависят от сопротивления теплопередаче наружных ограждающих
конструкций и до настоящего времени неоправданно велики. Для Республики
Беларусь, которая вынуждена расходовать значительную часть национального дохода
на приобретение топливно-энергетических ресурсов, эта проблема весьма
актуальна.
Отопление необходимо для создания микроклимата помещений, поэтому оно
требует специального расчёта на соответствие нормам и оптимальному
энергопотреблению.
Проект отопления разработан в соответствии с заданием на проектирование,
а также СНБ 2.04.01-97 “Строительная теплотехника”. Заданием на курсовую работу
предусматривается проектирование систем отопления и вентиляции жилого
четырехэтажного, односекционного дома с высотой этажа 2,4 м, находящегося в
Гродненской области. Здание ориентированно на Север.
Стены здания - из силикатного кирпича плотностью 2100 кг/м3, с
внутренней известково-песчаной штукатуркой толщиной 0,02 м. В здании имеется не
отапливаемый подвал без световых проёмов высотой 2,2 м, а также чердак.
Окна в здании - с двойным остеклением на деревянных переплётах, входные
двери - двойные с тамбуром без тепловой защиты.
Отопление в здании предусматривается от внешнего источника - центральной
системы отопления с насосной циркуляцией теплоносителя, присоединение к внешним
теплоносителям через элеватор.
Трубы со стальными радиаторами РСВ-1 связаны однотрубно. Схема движения
теплоносителя тупиковая. Распределение теплоносителя - нижнее.
Система вентиляции - естественная.
Все расчётные данные по материалам и строительным нормам взяты из СНБ
2.04.01-97 “Строительная теплотехника”.
1.
Теплотехнический расчёт ограждающих конструкций
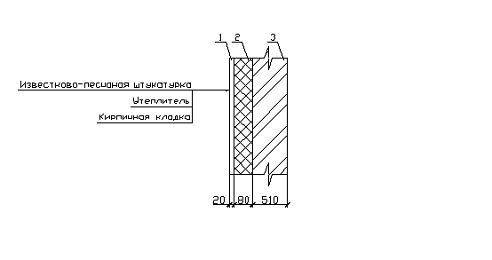
.1 Расчет наружной стены здания
Стена изображена схематически на рис. 1:
Рисунок 1 - Наружная стена
Согласно таблице 4.1 СНБ 2.01.01 расчётная температура для жилых зданий
составляет tв =180С, относительная
влажность воздуха 55%.
В соответствии с приложением А табл. А.1 СНБ 2.04.01 значение
коэффициентов теплопроводности и теплоустойчивости для используемых материалов
составляет:
) Известково-песчаная штукатурка
λ1=0,7 Вт/(м×0С), Ѕ1=8,69 Вт/(м2×0С), δ1=0,02 м;
) Утеплитель δ2=0,08 м
) кирпич силикатный на цементно-песчаном растворе
λ3=1,36 Вт/(м×0С),
Ѕ2=10,99 Вт/(м2×0С),
δ3=0,51 м;
Сопротивление теплопередачи наружной стены:
; (1.1.1)
где
δ
- толщина слоя, м; λ - коэффициент теплопроводности слоя, принятый с учетом
условий эксплуатации, Вт/(м×0С),
-
коэффициент теплоотдачи наружной поверхности ограждающей конструкции для зимних
условий, Вт/(м
×0С),
принимается по таблице 5.7 [2] (
=23),
- коэффициент теплоотдачи внутренней поверхности
ограждающей конструкции, принимается конструктивно
=8,7 Вт/(м
×0С).
Сопротивление
теплопередаче
ограждающей конструкции следует принимать равным
экономически целесообразному сопротивлению теплопередаче
, определенному исходя из условия обеспечения
наименьших приведенных затрат, но во всех случаях не менее требуемого
сопротивления теплопередаче
по
санитарно-гигиеническим условиям и не менее нормативного
.
Принимаем

, где
- нормативное сопротивление теплопередачи ограждающей
конструкции, которое следует принимать по таблице 5.1 [2]:
=2,0 (м2×0С)/ Вт;
Отсюда
по формуле (1.1.1):
; (1.1.2)
=
0,08/(2-1/8,7-0,02/0,7-0,51/1,36-1/23)=0,056 Вт/(м×0С);
Выбираем
материал из условия
. Теплоизоляционный материал принимаем согласно СНБ
2-04-97 из приложения А по таблице А1: пенополиуретан (ТУ 8-56-70): λ2 =0,05
Вт/(м×0С), Ѕ2=
0,67 Вт/(м2×0С);
Для применяемых материалов имеем:
R0=1/8,7+0,02/0,7+0,08/0,05+0,51/1,36+1/23=2,154
(м2×0С)/
Вт;
Тепловую инерцию D
ограждающей конструкции рассчитываем по формуле:
; (1.1.3)
где
- термические сопротивления отдельных слоев
ограждающей конструкции, (м2×0С)/ Вт;
- расчетные коэффициенты теплоусвоения материалов
отдельных слоев ограждающей конструкции, Вт/(м2×0С),
принимаемый по таблице А1 приложения А [2]:
D =
8,69*0,02/0,7+0,67*0,08/0,05+10,99*0,51/1,36=5,445;
т.к.
тепловая инерция находится в интервале от 4 до 7, то расчетная наружная
температура будет равна температуре наиболее холодных 3-х суток со степенью
обеспеченности 0,92:
; (1.1.4)
tн1 - средняя температура наиболее холодных суток обеспеченностью
0,92 0С;
tн2 - средняя температура наиболее холодной пятидневки
обеспеченностью 0,92 0С;
tн = ((-31)+(-22))/2= -28 0С;
Рассчитаем
требуемое термическое сопротивление:
; (1.1.5)
где:
-
расчётная температура внутреннего воздуха, 0С, принимается по
таблице 4.1 СНБ 2.04.01-97 (
=180С
);
-
расчётная зимняя температура наружного воздуха, 0С, принимается по
таблице 4.3 с учётом тепловой инерции ограждающей конструкции (
= -280С );
n - коэффициент,
учитывающий положение наружной поверхности ограждающей конструкции по отношению
к наружному воздуху, принимаемы по таблице 5.3 [2] (n=1);
-
коэффициент теплоотдачи внутренней поверхности ограждающей конструкции, Вт/(м2×0С),
принимаемый по таблице 5.4 (
=8,7
Вт/(м2×0С) );
- расчётный
перепад между температурой внутреннего воздуха и температурой внутренней
поверхности ограждающей конструкции, 0С, применяемый по таблице 5.5
(
= 60С);
=1*(18+28)/(8,7*6)=0,881(м2×0С)/ Вт;
Т.к.
>
(2,154
> 0,881) - условие выполняется, данный утеплитель удовлетворяет требованиям
СНБ 2.04.01-97.
Проверка
на отсутствие конденсации влаги на поверхности ограждающей конструкции
Температура
внутренней поверхности ограждающей конструкции:
; (1.1.6)
=18 -
(18+28)/(2,154х8,7)=15,55 0С;
Полученное
значение должно быть больше температуры точки росы
, которая определяется по формуле:
; (1.1.7)
где
- упругость водяных паров в воздухе помещения, Па:
; (1.1.8)
где
φ
- относительная влажность воздуха в
помещении, %, (φ=55%);
=0,55х2128,64=1170,75
Па;
=20,1-11,62=8,480С;
Т.к.
>
(15,55>8,48)
- условие выполняется.
1.2 Расчет
чердачного перекрытия
Чердачное перекрытие изображено схематически на рис. 2:
Рисунок 2 - Чердачное перекрытие
В соответствии с приложением А табл. А.1 СНБ 2.04.01 значение
коэффициентов теплопроводности и теплоустойчивости для используемых материалов
составляет:
) Цементно-песчаная стяжка
λ1=0,76 Вт/(м×0С), Ѕ1=9,6 Вт/(м2×0С), δ1=0,02 м;
) Утеплитель δ2=0,16 м
) Железобетонная плита
λ3=1,92 Вт/(м×0С), Ѕ2=17,98 Вт/(м2×0С), δ3=0,22 м;
Сопротивление
теплопередачи чердачного перекрытия:
; (1.2.1)
где
δ
- толщина слоя, м; λ - коэффициент теплопроводности слоя, принятый с учетом
условий эксплуатации, Вт/(м×0С),
-
коэффициент теплоотдачи наружной поверхности ограждающей конструкции для зимних
условий, Вт/(м
×0С),
принимается по таблице 5.7 [2] (
=12),
- коэффициент теплоотдачи внутренней поверхности
ограждающей конструкции, принимается конструктивно
=8,7 Вт/(м
×0С).
Сопротивление
теплопередаче
ограждающей конструкции следует принимать равным
экономически целесообразному сопротивлению теплопередаче
, определенному исходя из условия обеспечения
наименьших приведенных затрат, но во всех случаях не менее требуемого
сопротивления теплопередаче
по
санитарно-гигиеническим условиям и не менее нормативного
.
Принимаем

, где
- нормативное сопротивление теплопередачи ограждающей
конструкции, которое следует принимать по таблице 5.1 [2]:
=3,0 (м2×0С)/ Вт;
Отсюда
по формуле (1.2.1):
; (1.2.2)
=
0,16/(3-1/8,7-0,02/0,76-0,22/1,92-1/12)=0,060 Вт/(м×0С);
Выбираем
материал из условия
. Теплоизоляционный материал принимаем согласно СНБ
2-04-97 из приложения А по таблице А1:
Плиты
из резольнофенолформальдегидного пенопласта ( ГОСТ 20916-87 ):
λ2 =0,052
Вт/(м×0С), Ѕ2=
0,85 Вт/(м2×0С);
Для применяемых материалов имеем:
R0=1/8,7+0,02/0,76+0,16/0,052+0,22/1,92+1/12=
3,416 (м2×0С)/ Вт;
Тепловую инерцию D
ограждающей конструкции рассчитываем по формуле:
; (1.2.3)
где
- термические сопротивления отдельных слоев
ограждающей конструкции (м2×0С)/ Вт,;
- расчетные коэффициенты теплоусвоения материалов
отдельных слоев ограждающей конструкции, Вт/(м2×0С),
принимаемый по таблице А1 приложения А [2]:
D =
9,6*0,02/0,76+0,85*0,16/0,052+17,98*0,22/1,92=4,925;
т.к
тепловая инерция находится в интервале от 4 до 7, то расчетная наружная
температура будет равна температуре наиболее холодных 3-х суток со степенью
обеспеченности 0,92:
; (1.2.4)
tн1 - средняя температура наиболее холодных суток
обеспеченностью 0,92 0С;
tн2 - средняя температура наиболее холодной пятидневки
обеспеченностью 0,92 0С;
tн = ((-31)+(-22))/2= -28 0С;
Рассчитаем
требуемое термическое сопротивление
, (м2×0С)/ Вт:
; (1.2.5)
где:
- расчётная температура внутреннего воздуха, 0С,
принимается по таблице 4.1 СНБ 2.04.01-97 (
=180С
);
-
расчётная зимняя температура наружного воздуха, 0С, принимается по
таблице 4.3 с учётом тепловой инерции ограждающей конструкции (
= -28 0С);
n - коэффициент,
учитывающий положение наружной поверхности ограждающей конструкции по отношению
к наружному воздуху, принимаемы по таблице 5.3 [2] ( n=1 );
-
коэффициент теплоотдачи внутренней поверхности ограждающей конструкции, Вт/(м2×0С),
принимаемый по таблице 5.4 (
=8,7
Вт/(м2×0С);
-
расчётный перепад между температурой внутреннего воздуха и температурой
внутренней поверхности ограждающей конструкции, 0С применяемый по
таблице 5.5 (
= 40С);
=1*(18+28)/(8,7*4)=1,322
(м2×0С)/ Вт;
Т.к.
>
(3,416
> 1,322 ) - условие выполняется, данный утеплитель удовлетворяет требованиям
СНБ 2.04.01-97.
1.3 Расчет
подвального перекрытия
Подвальное перекрытие изображена схематически на рис. 3:
Рисунок 3 - Подвальное перекрытие
В соответствии с приложением А табл. А.1 СНБ 2.04.01 значение
коэффициентов теплопроводности и теплоустойчивости для используемых материалов
составляет:
) Линолеум λ1=0,38 Вт/(м×0С), Ѕ1=8,56 Вт/(м2×0С), δ1=0,005 м;
) Стяжка λ2=0,76 Вт/(м×0С), Ѕ2=9,6 Вт/(м2×0С), δ2=0,02 м;
) Утеплитель δ3=0,155 м;
) Железобетонная плита λ4=1,92 Вт/(м×0С), Ѕ4=17,98 Вт/(м2×0С), δ4=0,22 м;
Сопротивление
теплопередачи чердачного перекрытия:
; (1.3.1)
где
δ
- толщина слоя, м; λ - коэффициент теплопроводности слоя, принятый с учетом
условий эксплуатации, Вт/(м×0С),
-
коэффициент теплоотдачи наружной поверхности ограждающей конструкции для зимних
условий, Вт/(м
×0С),
принимается по таблице 5.7 [2] (
=6),
- коэффициент теплоотдачи внутренней поверхности
ограждающей конструкции, принимается конструктивно
=8,7 Вт/(м
×0С).
Сопротивление
теплопередаче
ограждающей конструкции следует принимать равным
экономически целесообразному сопротивлению теплопередаче
, определенному исходя из условия обеспечения
наименьших приведенных затрат, но во всех случаях не менее требуемого
сопротивления теплопередаче
по
санитарно-гигиеническим условиям и не менее нормативного
.
Принимаем

, где
- нормативное сопротивление теплопередачи ограждающей
конструкции, которое следует принимать по таблице 5.1 [2]:
= 2,0 (м2×0С)/ Вт;
Отсюда
по формуле (1.3.1):
; (1.3.2)
=
0,155/(2-1/8,7-0,005/0,38-0,02/0,76-0,22/1,92-1/6)=0,099 Вт/(м×0С);
Выбираем
материал из условия
. Теплоизоляционный материал принимаем согласно СНБ
2-04-97 из приложения А по таблице А1:
Плиты
полистиролбетонные теплоизоляционные (ТУ 21 БССР 222-87): λ2 =0,092
Вт/(м×0С), Ѕ2=
1,42 Вт/(м2×0С);
Для применяемых материалов имеем:
R0
= 1/8,7 + 0,02 /
0,76 + 0,155 / 0,092 + 0,22 / 1,92 + 0,005 / 0,38 + 1 / 6=
,12 (м2×0С) Вт;
Тепловую инерцию D
ограждающей конструкции рассчитываем по формуле:
; (1.3.3)
где
- термические сопротивления отдельных слоев
ограждающей конструкции, (м2×0С)/ Вт;
- расчетные коэффициенты теплоусвоения материалов отдельных
слоев ограждающей конструкции, Вт/(м2×0С),
принимаемый по таблице А1 приложения А [2]:
D = 8,56 * 0,005
/ 038 + 9,6 * 0,02 / 0,76 + 17,98 * 0,22 / 1,92 + 1,42 *
,155
/ 0,092 = 4,818;
т.к тепловая инерция находится в интервале от 4 до 7, то расчетная
наружная температура будет равна температуре наиболее холодных 3-х суток со
степенью обеспеченности 0,92:
; (1.3.4)
tн1 - средняя температура наиболее холодных суток
обеспеченностью 0,920С;
tн2 - средняя температура наиболее холодной пятидневки
обеспеченностью 0,920С;
tн = ((-31)+(-22))/2= -280С;
Рассчитаем
требуемое термическое сопротивление:
; (1.3.5)
где:
- расчётная температура внутреннего воздуха, 0С,
принимается по таблице 4.1 СНБ 2.04.01-97 (
=180С);
-
расчётная зимняя температура наружного воздуха, 0С, принимается по
таблице 4.3 с учётом тепловой инерции ограждающей конструкции (
= -280С);
n - коэффициент,
учитывающий положение наружной поверхности ограждающей конструкции по отношению
к наружному воздуху, принимаемы по таблице 5.3 [2] (n=0,6);
-
коэффициент теплоотдачи внутренней поверхности ограждающей конструкции, Вт/(м2×0С),
принимаемый по таблице 5.4 (
=8,7
Вт/(м2×0С);
-
расчётный перепад между температурой внутреннего воздуха и температурой
внутренней поверхности ограждающей конструкции, 0С, применяемый по
таблице 5.5 (
= 20С);
=0,6*(18+28)/(8,7*2)=1,586(м2×0С)/ Вт;
Т.к.
>
(2,12
> 1,586) - условие выполняется, данный утеплитель удовлетворяет требованиям
СНБ 2.04.01-97.
2. ОТОПЛЕНИЕ ЗДАНИЯ
.1
Расчёт теплопотерь помещений
Расчёт теплопотерь здания состоит из расчёта теплопотерь по всем
помещениям для каждого ограждения. Теплопотери здания складываются из
теплопотерь всех помещений, а теплопотери каждой комнаты рассчитываются как
сумма теплопотерь ограждающих конструкций, относящихся к данной комнате. Общая
расчётная потеря тепла каждой ограждающей конструкции вычисляется по формуле:
; (2.1.1)
Q -потери тепла,
Вт, определяется по формуле:
;(2.1.2)
F - площадь
ограждающей конструкции, м2;
tв - расчётная температура внутреннего воздуха,0С,
для жилых комнат принимается равной 18 0С, для ванной tв = 250С, для лестничной клетки и кухни 15 0С,
для сан. узла принимаем температуру 160С;
tн - расчётная зимняя температура наружного воздуха,
0С, принимается по таблице 5.2 СНБ 2.01.01;
n - коэффициент,
учитывающий положение наружной поверхности ограждающей конструкции по отношению
к наружному воздуху, принимается по таблице 5.3 СНБ 2.01.01;
R0 - термическое сопротивление,
;
К
- коэффициент теплопередачи,
;
; (2.1.3)
следует
учитывать, что для окна R0 =0,6
, для двери R0 =0,6 R0тр
Определим
удельную тепловую характеристику здания q, Вт/(м3*0С):
; (2.1.4)
Q - сумма
теплопотерь, Вт;
Vн -
строительный объём здания,
;
=18 0С;
-
расчётная температура наружного воздуха для холодного периода года (температура
наиболее холодной пятидневки с обеспечением 0,92), С0 (для
Гродненской области -220С);
α - температурный коэффициент, учитывающий изменение требуемого
термического сопротивления наружных ограждающих конструкций в зависимости от
;
Вычислим
температурный коэффициент α:
α =0,54+ 22/(18+22)=1,09;
q =
26460,9/[3024*(18+22)*1,09]= 0,20 Вт/(м3*0С) ;
Данные
расчёта оформлены в виде таблицы 2.1.1
отопление вентиляция помещение прибор
Таблица 2.1.1
Расчет теплопотерь помещений здания
|
Номер помещения
|
Наименование помещения
|
Наименование ограждения
|
Ориентация по сторонам света
|
Размеры поверхности ограждения
|
Площадь ограждения, м2
|
Сопротивление теплопередаче R0 (м2*°С)/Вт
|
Внутренняя температура tв,°С
|
Разность температур (tв -tн), °С
|
Коэффициент теплопередачи К, Вт/(м2*°С)
|
Потери тепла, Вт
|
Добавки к теплопотерям, %
|
Общая расчетная потеря тепла, Вт
|
|
|
|
|
|
|
|
|
|
|
|
Ориентация
|
Обдувание ветром
|
Прочие
|
Сумма
|
|
|
101
|
кух
|
нс
|
ю
|
3,85х2,7
|
10,4
|
2,15
|
15
|
37
|
0,46
|
179
|
-
|
10
|
-
|
10
|
196,9
|
|
|
п
|
-
|
3,85х3,65
|
14,1
|
2,12
|
|
|
0,47
|
147,6
|
-
|
-
|
-
|
-
|
147,6
|
|
|
о
|
ю
|
|
3
|
0,6
|
|
|
1,67
|
185
|
-
|
10
|
-
|
10
|
203,5
|
|
|
|
548
|
|
102
|
ж. к.
|
нс
|
ю
|
3,76х2,7
|
10,2
|
2,15
|
18
|
40
|
0,46
|
190
|
-
|
10
|
5
|
15
|
218,5
|
|
|
о
|
ю
|
|
3
|
0,6
|
|
|
1,67
|
200
|
-
|
10
|
5
|
15
|
230
|
|
|
нс
|
з
|
6,86х2,7
|
18,5
|
2,15
|
|
|
0,46
|
344,2
|
5
|
5
|
5
|
15
|
395,8
|
|
|
п
|
-
|
6,35х3,25
|
20,6
|
2,12
|
|
|
0,47
|
233,2
|
-
|
-
|
-
|
-
|
233,2
|
|
|
|
1077,5
|
|
103
|
ж. к.
|
нс
|
з
|
6,96х2,7
|
18,8
|
2,15
|
18
|
40
|
0,46
|
349,8
|
5
|
5
|
5
|
15
|
402,3
|
|
|
нс
|
с
|
4,76х2,7
|
12,9
|
2,15
|
|
|
0,46
|
240
|
10
|
5
|
5
|
20
|
288
|
|
|
о
|
с
|
|
3
|
0,6
|
|
|
1,67
|
200
|
10
|
5
|
5
|
20
|
240
|
|
|
п
|
6,45х4,25
|
27,4
|
2,12
|
|
|
0,47
|
310,2
|
-
|
-
|
-
|
-
|
310,2
|
|
|
|
1240,5
|
|
104
|
ж. к.
|
нс
|
с
|
4,15х2,7
|
11,2
|
2,15
|
18
|
40
|
0,46
|
208,4
|
10
|
5
|
-
|
15
|
239,7
|
|
|
о
|
с
|
|
3
|
0,6
|
|
|
1,67
|
200
|
10
|
5
|
-
|
15
|
230
|
|
|
п
|
-
|
4,25х4,15
|
17,6
|
2,12
|
|
|
0,47
|
199,2
|
-
|
-
|
-
|
-
|
199,2
|
|
|
|
904,7
|
|
кор. 2
|
п
|
-
|
2х2,1
|
4,2
|
2,12
|
18
|
40
|
0,47
|
79,2
|
-
|
-
|
-
|
-
|
79,2
|
|
прих.
|
п
|
-
|
3,85х1,5
|
5,8
|
2,12
|
18
|
40
|
0,47
|
109,4
|
-
|
-
|
-
|
-
|
109,4
|
|
кор. 1
|
п
|
-
|
2,1х1,2
|
2,5
|
2,12
|
18
|
40
|
0,47
|
47,2
|
-
|
-
|
-
|
-
|
47,2
|
|
105
|
ж. к.
|
нс
|
с
|
4,15x2,7
|
11,2
|
2,15
|
18
|
40
|
0,46
|
208,4
|
10
|
5
|
-
|
15
|
239,7
|
|
|
о
|
с
|
|
3
|
0,6
|
|
|
1,67
|
200
|
10
|
5
|
-
|
15
|
230
|
|
|
п
|
-
|
4,25x4,15
|
17,6
|
2,12
|
|
|
0,47
|
199,2
|
-
|
-
|
-
|
-
|
199,2
|
|
|
|
668,9
|
|
106
|
ж. к.
|
нс
|
с
|
4,76x2,7
|
12,9
|
2,15
|
18
|
40
|
0,46
|
240
|
10
|
5
|
5
|
20
|
288
|
|
|
о
|
с
|
|
3
|
0,6
|
|
|
1,67
|
200
|
10
|
5
|
5
|
20
|
240
|
|
|
нс
|
в
|
6,96x2,7
|
18,8
|
2,15
|
|
|
0,4
|
349,8
|
10
|
5
|
5
|
20
|
419,8
|
|
|
п
|
-
|
6,45x4,25
|
27,4
|
2,12
|
|
|
0,47
|
310,2
|
-
|
-
|
-
|
-
|
310,2
|
|
|
|
1258
|
|
107
|
ж. к.
|
нс
|
в
|
6,86x2,7
|
18,5
|
2,15
|
18
|
40
|
0,46
|
344,2
|
10
|
5
|
5
|
20
|
413,04
|
|
|
нс
|
ю
|
3,76x2,7
|
10,1
|
2,15
|
|
|
0,46
|
190
|
-
|
10
|
5
|
15
|
218,5
|
|
|
о
|
ю
|
|
3
|
0,6
|
|
|
1,67
|
200
|
-
|
10
|
5
|
15
|
230
|
|
|
п
|
-
|
6,35x3,25
|
20,6
|
2,12
|
|
|
0,47
|
233,2
|
-
|
-
|
-
|
-
|
233,2
|
|
|
|
1094,7
|
|
108
|
кух
|
нс
|
ю
|
3,85х2,7
|
10,4
|
2,15
|
15
|
37
|
0,46
|
179
|
-
|
10
|
-
|
10
|
196,9
|
|
|
п
|
-
|
3,85х3,65
|
14,1
|
2,12
|
|
|
0,47
|
147,6
|
-
|
-
|
-
|
-
|
147,6
|
|
|
о
|
ю
|
|
3
|
0,6
|
|
|
1,67
|
185
|
-
|
10
|
-
|
10
|
203,5
|
|
|
|
631,7
|
|
кор. 2
|
п
|
-
|
2х2,1
|
4,2
|
2,12
|
18
|
40
|
0,47
|
28,1
|
-
|
-
|
-
|
-
|
28,1
|
|
прих.
|
п
|
-
|
3,85х1,5
|
5,8
|
2,12
|
18
|
40
|
0,47
|
38,7
|
-
|
-
|
-
|
-
|
38,7
|
|
кор. 1
|
п
|
-
|
2,1х1,2
|
2,5
|
2,12
|
18
|
40
|
0,47
|
16,9
|
-
|
-
|
-
|
-
|
16,9
|
|
201
|
кух
|
нс
|
ю
|
3,85х2,3
|
8,9
|
2,15
|
15
|
37
|
0,46
|
153,2
|
-
|
10
|
-
|
10
|
168,5
|
|
|
о
|
ю
|
|
3
|
0,6
|
|
|
1,67
|
185
|
-
|
10
|
-
|
203,5
|
|
|
|
372
|
|
202
|
ж. к.
|
нс
|
ю
|
3,76х2,3
|
8,6
|
2,15
|
18
|
40
|
0,46
|
160
|
-
|
10
|
5
|
15
|
184
|
|
|
о
|
ю
|
|
3
|
0,6
|
|
|
1,67
|
200
|
-
|
10
|
5
|
15
|
230
|
|
|
нс
|
з
|
6,86х2,3
|
15,8
|
2,15
|
|
|
0,46
|
294
|
5
|
5
|
5
|
15
|
338,1
|
|
|
|
752,1
|
|
203
|
ж. к.
|
нс
|
з
|
6,96х2,3
|
16
|
2,15
|
18
|
40
|
0,46
|
297,7
|
5
|
5
|
5
|
15
|
342,4
|
|
|
нс
|
с
|
4,76х2,3
|
10,9
|
2,15
|
|
|
0,46
|
202,8
|
10
|
5
|
5
|
20
|
243,4
|
|
|
о
|
с
|
|
3
|
0,6
|
|
|
1,67
|
200
|
10
|
5
|
5
|
20
|
240
|
|
|
|
825,8
|
|
204
|
ж. к.
|
нс
|
с
|
4,15х2,3
|
9,5
|
2,15
|
18
|
40
|
0,46
|
176,7
|
10
|
5
|
-
|
15
|
203,2
|
|
|
о
|
с
|
|
3
|
0,6
|
|
|
1,67
|
200
|
10
|
5
|
-
|
15
|
230
|
|
|
|
433,2
|
|
205
|
ж. к.
|
нс
|
с
|
4,15x2,3
|
9,5
|
2,15
|
18
|
40
|
0,46
|
176,7
|
10
|
5
|
-
|
15
|
203,2
|
|
|
о
|
с
|
|
3
|
0,6
|
|
|
1,67
|
200
|
10
|
5
|
-
|
15
|
230
|
|
|
|
433,2
|
|
206
|
ж. к.
|
нс
|
с
|
4,76x2,3
|
10,9
|
2,15
|
18
|
40
|
0,46
|
202,8
|
10
|
5
|
5
|
20
|
243,4
|
|
|
о
|
с
|
|
3
|
0,6
|
|
|
1,67
|
220
|
10
|
5
|
5
|
20
|
240
|
|
|
нс
|
в
|
6,96x2,3
|
16
|
2,15
|
|
|
0,46
|
297,7
|
10
|
5
|
5
|
20
|
357,24
|
|
|
|
840,6
|
|
207
|
ж. к.
|
нс
|
в
|
6,86x2,3
|
15,8
|
2,15
|
18
|
40
|
0,46
|
294
|
10
|
5
|
5
|
20
|
352,8
|
|
|
о
|
ю
|
|
3
|
0,6
|
|
|
1,67
|
200
|
-
|
10
|
5
|
15
|
230
|
|
|
нс
|
ю
|
3,76x2,3
|
8,6
|
2,15
|
|
|
0,46
|
160
|
-
|
10
|
5
|
15
|
184
|
|
|
|
766,8
|
|
208
|
кух
|
нс
|
ю
|
3,85х2,3
|
8,9
|
2,15
|
15
|
37
|
0,46
|
153,2
|
-
|
10
|
-
|
10
|
168,5
|
|
|
о
|
ю
|
|
3
|
0,6
|
|
|
1,67
|
185
|
-
|
10
|
-
|
10
|
203,5
|
|
|
|
372
|
|
301
|
кух
|
нс
|
ю
|
3,85х2,3
|
8,9
|
2,15
|
15
|
37
|
0,46
|
153,2
|
-
|
10
|
-
|
10
|
168,5
|
|
|
о
|
ю
|
|
3
|
0,6
|
|
|
1,67
|
185
|
-
|
10
|
-
|
10
|
203,5
|
|
|
|
372
|
|
302
|
ж. к.
|
нс
|
ю
|
3,76х2,3
|
8,6
|
2,15
|
18
|
40
|
0,46
|
160
|
-
|
10
|
5
|
15
|
184
|
|
|
о
|
ю
|
|
3
|
0,6
|
|
|
1,67
|
200
|
-
|
10
|
5
|
15
|
230
|
|
|
нс
|
з
|
6,86х2,3
|
15,8
|
2,15
|
|
|
0,4
|
294
|
5
|
5
|
5
|
15
|
338,1
|
|
|
|
752,1
|
|
303
|
ж. к.
|
нс
|
з
|
6,96х2,3
|
16
|
2,15
|
18
|
40
|
0,46
|
297,7
|
5
|
5
|
5
|
15
|
342,4
|
|
|
о
|
с
|
|
3
|
0,6
|
|
|
1,67
|
200
|
10
|
5
|
5
|
20
|
240
|
|
|
нс
|
с
|
4,76х2,3
|
10,9
|
2,15
|
|
|
0,46
|
202,8
|
10
|
5
|
20
|
243,4
|
|
|
|
825,8
|
|
304
|
ж. к.
|
нс
|
с
|
4,15х2,3
|
9,5
|
2,15
|
18
|
40
|
0,46
|
176,7
|
10
|
5
|
-
|
15
|
203,2
|
|
|
о
|
с
|
|
3
|
0,6
|
|
|
1,67
|
200
|
10
|
5
|
-
|
15
|
230
|
|
|
|
433,2
|
|
305
|
ж. к.
|
нс
|
с
|
4,15x2,3
|
9,5
|
2,15
|
18
|
40
|
0,46
|
176,7
|
10
|
5
|
-
|
15
|
203,2
|
|
|
о
|
с
|
2x1,5
|
3
|
0,6
|
|
|
1,67
|
200
|
10
|
5
|
-
|
15
|
230
|
|
|
|
433,2
|
|
306
|
ж. к.
|
нс
|
с
|
4,76x2,3
|
10,9
|
2,15
|
18
|
40
|
0,46
|
218
|
10
|
5
|
5
|
20
|
243,4
|
|
|
о
|
с
|
|
3
|
0,6
|
|
|
1,67
|
200
|
10
|
5
|
5
|
20
|
240
|
|
|
нс
|
в
|
6,96x2,3
|
16
|
2,15
|
|
|
0,46
|
320
|
10
|
5
|
5
|
20
|
357,2
|
|
|
|
840,6
|
|
307
|
ж. к.
|
нс
|
в
|
6,86x2,3
|
15,8
|
2,15
|
18
|
40
|
0,46
|
294
|
10
|
5
|
5
|
20
|
184
|
|
|
о
|
ю
|
|
3
|
0,6
|
|
|
1,67
|
200
|
-
|
10
|
5
|
15
|
230
|
|
|
нс
|
ю
|
3,76x2,3
|
8,6
|
2,15
|
|
|
0,46
|
160
|
-
|
10
|
5
|
15
|
352,8
|
|
|
|
766,8
|
|
308
|
кух
|
нс
|
ю
|
3,85х2,3
|
8,9
|
2,15
|
15
|
37
|
0,46
|
153,2
|
-
|
10
|
-
|
10
|
168,5
|
|
|
о
|
ю
|
2х1,5
|
3
|
0,6
|
|
|
1,67
|
205
|
-
|
10
|
-
|
10
|
203,5
|
|
|
|
372
|
|
401
|
кухня
|
нс
|
ю
|
3,85х2,7
|
10,4
|
2,15
|
15
|
37
|
0,46
|
179
|
-
|
10
|
-
|
10
|
196,9
|
|
|
ч
|
-
|
3,85х3,65
|
14,1
|
3,42
|
|
|
0,29
|
152,5
|
-
|
-
|
-
|
-
|
152,5
|
|
|
о
|
ю
|
|
3
|
0,6
|
|
|
1,67
|
185
|
-
|
10
|
-
|
10
|
203,5
|
|
|
|
552,9
|
|
402
|
ж. к.
|
нс
|
ю
|
3,76х2,7
|
10,2
|
2,15
|
18
|
40
|
0,46
|
189,8
|
-
|
10
|
5
|
15
|
218,3
|
|
|
о
|
ю
|
|
3
|
0,6
|
|
|
1,67
|
200
|
-
|
10
|
5
|
15
|
230
|
|
|
нс
|
з
|
6,86х2,7
|
18,5
|
2,15
|
|
|
0,46
|
344,2
|
5
|
5
|
5
|
15
|
395,8
|
|
|
ч
|
-
|
6,35х3,25
|
20,6
|
3,42
|
|
|
0,29
|
240,9
|
-
|
-
|
-
|
-
|
240,9
|
|
|
|
1085
|
|
403
|
ж. к.
|
нс
|
з
|
6,96х2,7
|
18,8
|
2,15
|
18
|
40
|
0,46
|
349,8
|
5
|
5
|
5
|
15
|
402,3
|
|
|
о
|
с
|
|
3
|
0,6
|
|
|
1,67
|
200
|
10
|
5
|
5
|
20
|
240
|
|
|
нс
|
с
|
4,76х2,7
|
12,9
|
2,15
|
|
|
0,46
|
240
|
10
|
5
|
5
|
20
|
288
|
|
|
ч
|
-
|
6,45х4,25
|
27,4
|
3,42
|
|
|
0,29
|
324
|
-
|
-
|
-
|
-
|
324
|
|
|
|
1254,3
|
|
404
|
ж. к.
|
нс
|
с
|
4,15х2,7
|
11,2
|
2,15
|
18
|
40
|
0,46
|
214
|
10
|
5
|
-
|
15
|
246,1
|
|
|
о
|
с
|
2х1,5
|
3
|
0,6
|
|
|
1,67
|
200
|
10
|
5
|
-
|
15
|
230
|
|
|
ч
|
-
|
4,25х4,15
|
17,6
|
3,42
|
|
|
0,29
|
205,8
|
-
|
-
|
-
|
205,8
|
|
|
|
828
|
|
кор. 2
|
ч
|
-
|
2х2,1
|
4,2
|
3,42
|
18
|
40
|
0,29
|
49,1
|
-
|
-
|
-
|
-
|
49,1
|
|
прих.
|
ч
|
-
|
3,85х1,5
|
5,8
|
3,42
|
18
|
40
|
0,29
|
67,8
|
-
|
-
|
-
|
-
|
67,8
|
|
кор. 1
|
ч
|
-
|
2,1х1,2
|
2,5
|
3,42
|
18
|
40
|
0,29
|
29,2
|
-
|
-
|
-
|
-
|
29,2
|
|
405
|
ж. к.
|
нс
|
с
|
4,15x2,7
|
11,2
|
2,15
|
18
|
40
|
0,46
|
214
|
10
|
5
|
-
|
15
|
246,1
|
|
|
о
|
с
|
|
3
|
0,6
|
|
|
1,67
|
200
|
10
|
5
|
-
|
15
|
230
|
|
|
ч
|
-
|
4,25x4,15
|
17,6
|
3,42
|
|
|
0,29
|
205,8
|
-
|
-
|
-
|
-
|
205,8
|
|
|
|
681,9
|
|
406
|
ж. к.
|
нс
|
с
|
4,76x2,7
|
12,9
|
2,15
|
18
|
40
|
0,46
|
240
|
10
|
5
|
5
|
20
|
288
|
|
|
о
|
с
|
|
3
|
0,6
|
|
|
1,67
|
200
|
10
|
5
|
5
|
20
|
240
|
|
|
нс
|
в
|
6,96x2,7
|
18,8
|
2,15
|
|
|
0,46
|
349,8
|
10
|
5
|
5
|
20
|
419,8
|
|
|
ч
|
-
|
6,45x4,25
|
27,4
|
3,42
|
|
|
0,29
|
324
|
-
|
-
|
-
|
-
|
324
|
|
|
|
1271,8
|
|
407
|
ж. к.
|
нс
|
в
|
6,86x2,7
|
18,5
|
2,15
|
18
|
40
|
0,46
|
344,2
|
10
|
5
|
5
|
20
|
413
|
|
|
о
|
ю
|
|
3
|
0,6
|
|
|
1,67
|
200
|
-
|
10
|
5
|
15
|
230
|
|
|
нс
|
ю
|
3,76x2,7
|
10,1
|
2,15
|
|
|
0,46
|
189,8
|
-
|
10
|
5
|
15
|
218,3
|
|
|
ч
|
-
|
6,35x3,25
|
20,6
|
3,42
|
|
|
0,29
|
240,9
|
-
|
-
|
-
|
-
|
240,9
|
|
|
|
1102,2
|
|
408
|
кух
|
нс
|
ю
|
3,85х2,7
|
10,4
|
2,15
|
15
|
37
|
0,46
|
179
|
-
|
10
|
-
|
10
|
196,9
|
|
|
ч
|
-
|
3,85х3,65
|
14,1
|
3,42
|
|
|
0,29
|
152,5
|
-
|
-
|
-
|
-
|
152,5
|
|
|
о
|
ю
|
|
3
|
0,6
|
|
|
1,67
|
185
|
-
|
10
|
-
|
10
|
203,5
|
|
|
|
699
|
|
кор. 2
|
ч
|
-
|
2х2,1
|
4,2
|
3,42
|
18
|
40
|
0,29
|
49,1
|
-
|
-
|
-
|
-
|
49,1
|
|
прих.
|
ч
|
-
|
3,85х1,5
|
5,8
|
3,42
|
18
|
40
|
0,29
|
67,8
|
-
|
-
|
-
|
-
|
67,8
|
|
кор. 1
|
ч
|
-
|
2,1х1,2
|
2,5
|
3,42
|
18
|
40
|
0,29
|
29,2
|
-
|
-
|
-
|
-
|
29,2
|
|
ЛК
|
нс
|
ю
|
2,6х10,5
|
27,3
|
2,09
|
16
|
37
|
0,46
|
548,6
|
-
|
10
|
-
|
10
|
603,5
|
|
д
|
ю
|
2,1х1,9
|
4
|
1,2
|
|
|
0,83
|
140
|
-
|
10
|
320
|
330
|
462
|
|
3о
|
ю
|
|
9
|
0,6
|
|
|
1,67
|
555
|
-
|
10
|
-
|
10
|
610,5
|
|
п
|
-
|
2,6х6,2
|
16,1
|
2,12
|
|
|
0,47
|
103,1
|
-
|
-
|
-
|
|
103,1
|
|
ч
|
-
|
2,6х6,2
|
16,1
|
3,42
|
|
|
0,29
|
191,3
|
-
|
-
|
-
|
|
191,3
|
|
|
1970,4
|
|
Теплопотери всего здания
|
26460,9
|
|
|
|
|
|
|
|
|
|
|
|
|
|
|
|
|
|
|
|
|
2.2 Расчет нагревательных приборов
Нагревательные приборы являются основным элементом системы отопления. Они
устанавливаются непосредственно в помещении и должны удовлетворять
теплотехническим, санитарно-гигиеническим и технико-экономическим требованиям.
Теплотехнические требования сводятся к тому, чтобы нагревательные приборы
хорошо передавали тепло от теплоносителя отапливаемым помещениям, то есть
коэффициент теплопередачи их был как можно выше, но в тоже время их поверхность
не должна нагреваться выше 90 оС, так как при этой температуре может
быть сухая возгонка оседающей на приборе органической пыли.
В рассматриваемом доме нагревательные приборы установлены у наружных
ограждений под окнами.
Расчетная площадь Fp, [м2], отопительного прибора независимо от вида теплоносителя
определяют по формуле:
Fp =
где
Qпр -
требуемая теплоотдача прибора в рассматриваемом помещении, [Вт];
tср - средняя температура теплоносителя в нагревательном
приборе,[оС]
tср=
,
где
tг -
температура подающего теплоносителя, [оС];
tср =
оС
Для
однотрубных систем средняя температура теплоносителя в нагревательных приборах,
расположенных на различных этажах, различна и определяется как средняя
температура из температур теплоносителя: входящего в нагревательный прибор и
выходящего из прибора.
Температура
в любой точке стояка однотрубной системы многоэтажного здания может быть
определена по формуле
оС
оС
оС
Тогда
средняя температура теплоносителя в нагревательных приборах первого, второго,
третьего и четвёртого этажей соответственно равна
tср1 =
оС
tср2 =
оС
tср3 =
оС
tср4 =
оС
Число секций радиаторов определяем по формуле:
,
где
f1 = 0.71 м2 - площадь нагревательной
поверхности одной секции радиатора;
Fp -
расчетная площадь отопительного прибора, м2;
β4 = 1 - поправочный коэффициент, учитывающий способ
установки радиаторов в помещении;
β3 = 0.92 +
0.16/Fp - поправочный коэффициент, учитывающий число секций в
одном радиаторе.
Расчетное
число секций округляется таким образом, чтобы уменьшение теплового потока Qпр было не более 5
% (т.е. не более 60 Вт)
С
учетом вышеизложенного расчет нагревательных приборов сведен в таблицу 2.2.1
Таблица 2.2.1
Расчет нагревательных приборов
|
Номер помещения
|
Наименование помещения
|
Теплопотери Qпр, Вт
|
Средняя температура теплоносителя tср, 0С
|
Температура помещения tв, 0С
|
Тип нагревательного прибора
|
Коэффициент теплопередачи К, Вт/м2×°С
|
Поверхность нагрева Fр, м2
|
Количество секций
|
Группировка радиаторов
|
|
101
|
кухня
|
548
|
70
|
15
|
РСВ-1
|
11,5
|
0,866
|
1
|
1х1
|
|
102
|
жилая комната
|
1077,5
|
|
18
|
|
|
1,802
|
3
|
1х1 1x2
|
|
103
|
жилая комната
|
1240,5
|
|
18
|
|
|
2,074
|
3
|
1х1 1x2
|
|
104
|
жилая комната
|
904,7
|
|
18
|
|
|
1,513
|
1
|
1х1
|
|
105
|
жилая комната
|
668,9
|
|
18
|
|
|
1,118
|
1
|
1х1
|
|
106
|
жилая комната
|
1258
|
|
18
|
|
|
2,104
|
3
|
1х1 1x2
|
|
107
|
жилая комната
|
1094,7
|
|
18
|
|
|
1,831
|
3
|
1х1 1x2
|
|
108
|
кухня
|
631,7
|
|
15
|
|
|
0,999
|
1
|
1х1
|
|
201
|
кухня
|
372
|
61,5
|
15
|
|
|
0,696
|
1
|
1х1
|
|
202
|
жилая комната
|
752,1
|
|
18
|
|
|
1,503
|
2
|
2х1
|
|
203
|
жилая комната
|
825,8
|
|
18
|
|
|
1,705
|
2
|
2х1
|
|
204
|
жилая комната
|
433,2
|
|
18
|
|
|
0,866
|
1
|
2х1
|
|
205
|
жилая комната
|
433,2
|
|
18
|
|
|
0,866
|
1
|
1х1
|
|
206
|
жилая комната
|
840,6
|
|
18
|
|
|
1,68
|
2
|
2x1
|
|
207
|
жилая комната
|
766,8
|
|
18
|
|
|
1,533
|
2
|
2х1
|
|
208
|
кухня
|
372
|
|
15
|
|
|
0,696
|
1
|
1х1
|
|
301
|
кухня
|
372
|
|
15
|
|
|
0,829
|
1
|
1х1
|
|
302
|
жилая комната
|
752,1
|
54
|
18
|
РСВ-1
|
11,5
|
1,817
|
3
|
1х1 1x2
|
|
303
|
жилая комната
|
825,8
|
|
18
|
|
|
1,995
|
3
|
1х1 1x2
|
|
304
|
жилая комната
|
433,2
|
|
18
|
|
|
1,046
|
1
|
1х1
|
|
305
|
жилая комната
|
433,2
|
|
18
|
|
|
1,046
|
1
|
1х1
|
|
306
|
жилая комната
|
840,6
|
|
18
|
|
|
2,03
|
3
|
1х1 1x2
|
|
307
|
жилая комната
|
766,8
|
|
18
|
|
|
1,852
|
3
|
1х1 1x2
|
|
308
|
кухня
|
372
|
|
15
|
|
|
0,829
|
1
|
1х1 1x2
|
|
401
|
кухня
|
552,9
|
45
|
15
|
|
|
1,603
|
2
|
1х2
|
|
402
|
жилая комната
|
1085
|
|
18
|
|
|
3,494
|
5
|
1х2 1x3
|
|
403
|
жилая комната
|
1254,3
|
|
18
|
|
|
4,04
|
6
|
2х3
|
|
404
|
жилая комната
|
828
|
|
18
|
|
|
2,667
|
4
|
2х2
|
|
405
|
жилая комната
|
681,9
|
|
18
|
|
|
2,196
|
4
|
1х1
|
|
406
|
жилая комната
|
1271,8
|
|
18
|
|
|
4,096
|
6
|
1х1
|
|
407
|
жилая комната
|
1102,2
|
|
18
|
|
|
3,55
|
5
|
1х2 1x3
|
|
408
|
кухня
|
699
|
|
15
|
|
|
2,026
|
3
|
1х3
|
|
ЛК
|
1970,4
|
57,5
|
15
|
|
|
4,032
|
6
|
1х3 1х2 1х1
|
2.3
Гидравлический расчет трубопроводов
Цель гидравлического расчёта: определение диаметров теплопроводов при
заданной тепловой нагрузке и расчётном циркуляционном давлении установленном
для данной системы. Под расчетным циркуляционным давлением понимается
необходимое давление для поддержания принятого гидравлического режима системы
отопления, т.е. то давление, которое может быть израсходовано в расчетных
условиях на преодоление гидравлических сопротивлений в системе.
Из курса гидравлики известно, что при движении реальной жидкости по
трубам всегда имеют места потери давления для преодоления сопротивлений двух
видов: сопротивления на трение, на местное сопротивление.
Для данной однотрубной системы расчетное кольцо проходит через наиболее
удаленный от элеваторного пункта стояк. Данное неблагоприятное кольцо
разбивается на расчетные участки, под которыми принимают длину трубопровода с
постоянным расходом теплоносителя.
Для определения диаметра трубопровода, скорости движения воды в трубопроводе
нужно рассчитать расход воды на участке Gi, кг/ч, который определяется по
формуле:
,
где Qуч - тепловая нагрузка участка, Вт.
При подборе диаметра труб в
циркуляционном кольце исходят из принятого расхода воды и среднего
ориентировочного значения удельной линейной потери давления от трения при
движении теплоносителя по трубам, Па/м:
,
где
K - доля потери давления на трение, принимается равной
для систем с искусственной циркуляцией равной 0,65; Σl -
длина циркуляционного кольца (сумма длин участков расчетного кольца), м; Δррц - располагаемое циркуляционное
давление, Па.
Располагаемое
циркуляционное давление определяется по формуле:
Δррц
= Δрн +
Б(Δре пр
+ Δре тр),
где Δрн = 10
кПа - искусственное давление, создаваемое элеватором;
Б - поправочный коэффициент, для
однотрубной системы Б = 1;
Δре пр - давление возникающее от охлаждения воды в приборе,
Па;
Δре пр = n·h·g·(ρo - ρг)·0.6,
где n - число этажей;
h -
высота этажа, м;
ρo = 992.24 кг/м3 - плотность воды в обратной магистрали, при t = 40 °С;
ρг = 974.79 кг/м3 - плотность воды в подающей
магистрали, при t = 75 °С;
Δре пр =
4·2,4·9,81·(992,24 - 974,79)·0.5 = 822 Па
Δре тр = 0 Па - дополнительное давление от охлаждения воды в трубах;
Δррц = 10000 + 1∙(822
+ 0) = 10822 Па
Па/м;
Зная
Gi и Rср по
приложению В методического руководства по расчету отопления и вентиляции жилых
зданий определим d и v.
В
данном курсовом проекте гидравлический расчет трубопроводов ведется методом
удельных потерь давления. Потери давления на трение на участке определяются
путем умножения удельной потери давления R на длину
участка l м. Потери давления в местных сопротивлениях Z,
Па, определяются по формуле:
,
где
åx - сумма
коэффициентов местных сопротивлений на участке;
J - скорость воды на участке, м/с; r - плотность воды, кг/м3.
Сумма коэффициентов местных сопротивлений на участке зависит
от вида местных сопротивлений. Результаты расчета сведем в таблицу 2.3.1
Таблица 2.3.1
Гидравлический расчет трубопровода
|
Номер участка
|
Тепловая нагрузка участка, Q, Вт
|
Расход воды на участке, G, кг/ч
|
Длина участка, l, м
|
Диаметр трубопровода, d, мм
|
Скорость движения воды, V, м/с
|
Потери давления от трения на 1м длины, R, Па/м
|
Потери давления от трения на участке, Rl, Па
|
Сумма коэффициентов местных сопротивлений, Z, Па
|
Потери давления в местных сопротивлениях, Z, Па
|
Сумма потерь давления на учатке Rl + Z
|
|
1
|
26461
|
650,2
|
9,4
|
20
|
0,499
|
225
|
2113,1
|
11,5
|
1391,42
|
3504,54
|
|
2
|
24491
|
601,8
|
0,6
|
20
|
0,465
|
192
|
115,1
|
1
|
105,07
|
220,19
|
|
3
|
12233
|
300,6
|
0,79
|
20
|
0,233
|
51
|
40,6
|
13
|
342,94
|
383,49
|
|
4
|
10158
|
249,6
|
6,4
|
0,191
|
35
|
221,8
|
1,5
|
26,59
|
248,35
|
|
5
|
6428
|
157,9
|
10,06
|
20
|
0,122
|
15
|
152,4
|
3,5
|
25,31
|
177,72
|
|
6
|
4210
|
103,4
|
20
|
15
|
0,138
|
29
|
580,0
|
5,74
|
53,12
|
633,12
|
|
7
|
6428
|
157,9
|
12,6
|
20
|
0,122
|
15
|
190,9
|
3
|
22,11
|
213,00
|
|
8
|
10158
|
249,6
|
6,4
|
20
|
0,191
|
35
|
221,8
|
3
|
53,18
|
274,94
|
|
9
|
12233
|
300,6
|
0,59
|
20
|
0,233
|
51
|
30,3
|
1,5
|
39,57
|
69,85
|
|
10
|
24491
|
601,8
|
1,27
|
20
|
0,465
|
192
|
243,7
|
2,5
|
262,67
|
506,34
|
|
11
|
26461
|
650,2
|
10,34
|
20
|
0,499
|
225
|
2324,4
|
13
|
1572,91
|
3897,35
|
|
1
|
26461
|
650,2
|
9,4
|
20
|
0,499
|
225
|
2113,1
|
11,5
|
1391,42
|
3504,54
|
|
2
|
24491
|
601,8
|
0,6
|
20
|
0,465
|
192
|
115,1
|
1
|
105,07
|
220,19
|
Потери давления в кольце - 10128,9
Потери давления в кольце должны быть в пределах 90% располагаемого
давления:

(2.3.7)
-
условие выполняется.
2.4 Присоединение системы отопления к тепловым сетям
Работа
элеватора основана на использовании энергии теплоносителя подающей магистрали
тепловой сети, выходящей из сопла со значительной скоростью. При этом
статистическое давление её становится меньше, чем давление в обратной
магистрали, вследствие чего охлаждённая вода из обратной магистрали
подсасывается струёй воды из подающей магистрали в камеру высасывания.
Образовавшийся поток воды поступает в камеру смешения, где выравниваются
температуры и скорости, а давление постоянно. В диффузоре скорость потока
уменьшается по мере увеличения его сечения, а статическое давление
увеличивается. За счёт гидростатического давления в конце диффузора и в камере
всасывания элеватора создаётся циркуляционное давление, необходимое для
действия системы отопления.
Основной
расчётной характеристикой для элеватора служит так называемый коэффициент
смешения U, представляющий собой отношение массы подмешиваемой
воды Gп к массе поступающей воды Gс из тепловой
сети в элеватор:
;
(2.4.1)
где:
-
температура воды, поступающей в элеватор из подающей линии тепловой сети t1=100
0С ;
-
температура смешанной воды, поступающей в систему после элеватора, tг=75
0С;
t0 - температура охлаждённой воды из обратной линии
поступающей из системы отопления, to=40 0С;
;
Далее определяем основной размер элеватора - диаметр горловины dг, мм, перехода камеры смешения в
диффузор:
; (2.4.2)
где:
Gсм - количество воды, циркулирующей в системе отопления,
кг/ч;
∆pнас - гидравлическое сопротивление системы отопления, Па ∆pнас=11кПа;
Количество
воды, циркулирующей в системе отопления:
; (2.4.3)
где:
ΣQ - суммарный расход теплоты на отопление, Вт;
с
- удельная теплоёмкость воды, кДж/(кг*0С), принимаем с = 4,18
кДж/(кг*0С);
,6
- коэффициент перевода Вт в кДж/ч;
β1 и β2
- поправочный коэффициент, принимаем β1=1 и β2=1;
;
;
Подберём
серийный элеватор, имеющий диаметр горловины наиболее близкий к 23,2 мм. Номер
элеватора -3 (
мм).
Рассчитываем
диаметр сопла по формуле:
;
Давление
pэ, кПа,
которое необходимо иметь перед элеватором для обеспечения нормальной его
работы, рассчитывается по формуле:
(2.4.4)
.
3. ВЕНТИЛЯЦИЯ ЗДАНИЯ
.1 Определение воздухообмена в помещении
Система вытяжной вентиляции с естественным побуждением для жилых,
общественных и административно-бытовых зданий следует рассчитывать на разность
плотностей наружного воздуха при температуре 50С и внутреннего
воздуха при расчётной температуре для холодного периода года. Необходимость
встройки систем вентиляции в жилых и общественных зданиях обусловлено
выделением теплоты, влаги и вредных газов.
Воздухообменом
называется частичная или полная замена воздуха, содержащего вредные выделения,
чистым атмосферным воздухом. Количество воздуха L, подаваемого
или удаляемое за 1ч из помещения, отнесенное к его внутренней кубатуре
, принято называть кратностью воздухообмена n.
При этом знаком (+) обозначается воздухообмен по притоку, знаком (-) - по
вытяжке, т.е. n=L/
.
3.2
Выбор системы вентиляции и её конструирование
Канальными
системами естественной вентиляции называется система, в которой подача
наружного воздуха или удаление загрязнённого осуществляется по специальным
каналам, предусмотренным в конструкциях здания, или приставным воздуховодам.
Воздух в этих системах перемещается вследствие разности давлений наружного и
внутреннего воздуха.
Вытяжная
естественная канальная вентиляция состоит:
из
вертикальных внутристенных каналов с отверстиями, закрытыми жалюзийными
решётками;
сборных
горизонтальных воздуховодов и вытяжной шахты.
Для
усиления вытяжки воздуха из помещений на шахте часто устанавливают дефлектор.
В
кирпичных внутренних стенах размеры каналов принимаются кратными ½ кирпича (140х140, 140х270, 270х270, 270х400 мм и т.д).
Наименьший канал - 1/2х1/2 кирпича (140х140 мм).
Вытяжные
отверстия в жилых зданиях располагаем на расстоянии 0,5-0,7 м от потолка.
Наименьший размер вытяжной решётки 150х150 мм. В домах квартирного типа
допускается объединение вентиляционных каналов из туалетной и ванной комнат.
Обособленно выполняются вентиляционные каналы из кухонь.
Протяжённость
сборных каналов на чердаках от места присоединения вертикального вытяжного
канала до выбросной шахты не должна превышать 8 м, ближайшими по ходу воздуха к
вытяжной шахте должны быть вытяжные каналы верхних этажей. Минимальная высота
выброса воздуха над кровлей должна составлять, при скатных кровлях - 0,7 м, но
не более чем на 0,5 м выше конька, при плоских кровлях - 0,5 м.
3.3 Расчет
системы вентиляции
Таблица
3.3.1
Потребные вентиляционные объемы воздуха
|
Номер помещения
|
Помещение
|
Объем помещения, м3
|
Кратность обменов n
|
Объем вентиляционного воздуха L, м3/ч
|
|
|
|
приток
|
вытяжка
|
приток
|
вытяжка
|
|
101
|
кухня
|
24,7
|
-
|
3
|
-
|
74,1
|
|
уборная
|
3,14
|
-
|
3
|
-
|
9,42
|
Определяем площадь поперечного сечения воздуховода, м2, по
участкам:
(3.1)
где
- допустимая скорость в каналах, м/с. При
естественной вентиляции
= 0,5 м/с.
Число
каналов определяется по формуле
(3.2)
Расчетное
располагаемое давление
, Па, для каналов каждого этажа определяется по
формуле
(3.3)
где
h - вертикальное расстояние от центра вытяжной решетки
до устья вытяжной шахты, м;
-
плотность наружного воздуха при температуре + 5 0С,
= 1,27 кг/м3;
-
плотность внутреннего воздуха в зависимости от температуры, кг/м3.
Сопротивление
системы вентиляции определяется суммированием потерь давления на трения и в
местных сопротивлениях участков сети:
(3.4)
где
Rk - потери давления на 1 м длины воздуховода, Па/м,
принимается по таблице приложения 13[2];
m - поправочный
коэффициент для прямоугольных воздуховодов, m = 1,2;
n - поправочный
коэффициент на шероховатость стенок каналов;
l - длина
участка, м;
Z - потери
давления в местных сопротивлениях, Па,
(3.5)
где
- сумма коэффициентов местных сопротивлений на
участке, Па.
Так
как таблицы расчета воздуховодов даются для круглого сечения, необходимо
определять эквивалентный диаметр:
(3.6)
где
a и b - стороны прямоугольного канала, мм.
По
номограмме, зная расход воздуха на участке L, м3/ч,
и эквивалентный диаметр, dэк, мм,
определяем действительную скорость в канале
, м/с,
потери давления Rк, Па/м, и
динамическое давление, Па,
.
Аэродинамический
расчет вентиляционной системы сведем в таблицу 3.3.2.
Таблица
3.3.2
Аэродинамический расчет системы вентиляции
|
Номер участка
|
Расход воздуха на участке L, м3/ч
|
Длина участка l., м
|
Размеры канала a b,
мм
|
Эквивалентный диаметр dэк, мм
|
Действительная скорость воздуха, м/с
|
Потери давления на 1 м канала Rк, Па/м
|
Поправочный коэффициент для прямоугольных воздуховодов m
|
Абсолютная шероховатость канала Кэ
|
Поправочный коэффициент на шероховатость стенок каналов n
|
Потери давления на трение на участках Rк mnl, Па
|
Динамическое давление на участках рд, Па
|
Сумма коэффициентов местных сопротивлений
|
Потери давления в местных сопротивлениях Z, Па
|
Общие потери давления на участке (Rк mnl + Z ),
Паi
|
|
1
|
74,1
|
4,8
|
270x270
|
270
|
0,34
|
0,008
|
1,13
|
0,8
|
1,25
|
0,052
|
0,069
|
4
|
0,283
|
0,335
|
|
2
|
148,2
|
3,4
|
270x270
|
270
|
0,67
|
0,026
|
1,13
|
0,8
|
1,4
|
0,152
|
0,27
|
2,2
|
0,605
|
0,757
|
|
3
|
296,4
|
1,0
|
270x270
|
270
|
1,39
|
0,099
|
1,13
|
0,8
|
1,5
|
0,168
|
1,082
|
0,8
|
0,948
|
1,116
|
|
4
|
334,08
|
3,6
|
270x270
|
270
|
1,51
|
0,124
|
1,13
|
0,8
|
1,58
|
0,797
|
1,337
|
1,4
|
1,957
|
2,754
|
|
4,989
|
Для нормальной работы системы естественной вентиляции
необходимо, чтобы было сохранено соотношение
(3.7)
Проверим данное условие:
Вывод: аэродинамический расчет выполнен правильно, значит площади
сечения каналов подобраны правильно и равны 270х270 мм.
ЗАКЛЮЧЕНИЕ
Данная курсовая работа написана на тему: «Отопление и вентиляция жилых
зданий». Целью курсовой работы является изучение методов проектирования
отопления, т.к. отопление играет важную роль в проектировании любого здания,
поэтому в работе к системе отопления был представлен ряд требований, таких как:
санитарно-гигиенические, экономические, строительные, эксплуатационные. Для
этого были выполнены следующие расчёты: теплотехнический расчёт ограждающих
конструкций(1), расчёт теплопотерь(2), расчёт нагревательных приборов(3),
гидравлический расчёт(4) и аэродинамический расчёт(5).
В результате вышеперечисленных расчётов получили следующие результаты:
) в данном жилом здании для утепления наружных стен следует использовать
утеплитель из пенополиуретана (ТУ 8-56-70 ) ρ=80 кг/м3, для чердачных
перекрытий плиты из резольно-фенолформальдегидного пенопласта (ГОСТ 20916-87)
ρ=100 кг/м3,
для пола первого этажа следует применить утеплитель из полистиролбетонных
теплоизоляционных плит (ТУ 21 БССР 222-87) ρ=300 кг/м3 , при этом толщина наружных
стен δ=0,61
м, чердачного перекрытия
- δ=0,4
м, подвального
перекрытия - δ=0,4 м;
) расчёт теплопотерь ограждающих конструкций показал, что сумма
теплопотерь по всему зданию составляет 26461 Вт, а удельная тепловая
характеристика данного здания равна 0,20 Вт/(м3*0С);
) цель расчета нагревательных приборов - определение количества секций в
радиаторе и их группировка, тип нагревательных приборов применяемых в здании
РСВI-1;
4)
в результате гидравлического расчета были выбраны диаметры труб - 20 и15 мм,
выбран насос с номинальным давлением
кПа,
запас давления при этом составляет 6,4 %, выбран элеватор - 3 (
мм);
)
в результате аэродинамического расчета были выбраны соответствующие сечения
вентиляционных каналов - 270х270, запас давления составляет 2,04%;
В
курсовой работе также был выполнен расчёт нагревательных приборов, целью
которого было определение количества секций в радиаторе и их группировка. С
помощью гидравлического расчёта теперь можно судить о диаметрах трубопровода и
потерях здания. Аэродинамический расчёт даёт представление о расходе воздуха,
скорости воздуха в канале, динамическом давлении.
СПИСОК ЛИТЕРАТУРЫ
1. А.Б.
Невзорова, Г.Н. Белоусова. Отопление и вентиляция жилого здания: Пособие по
курсовому проектированию: Гомель БелГУТ, 2001-43с.
2. Строительная
теплотехника/СНБ 2.04.01-97. Мн., 1998 - 32с.
. Тихомиров
К.В. Теплотехника, теплогазоснабжение и вентиляция: Учеб. Для вузов. М: 1981 -
272с.
. Богословский
В.Н., Сканави А.Н., Отопление: Учеб. Для вузов. М.: Стройиздат, 1991 - 735с.