Загальна характеристика літака

  • Вид работы:
    Дипломная (ВКР)
  • Предмет:
    Транспорт, грузоперевозки
  • Язык:
    Украинский
    ,
    Формат файла:
    MS Word
    2,52 Мб
  • Опубликовано:
    2013-03-05
Вы можете узнать стоимость помощи в написании студенческой работы.
Помощь в написании работы, которую точно примут!

Загальна характеристика літака

Зміст

Розділ 1. Загальна характеристика літака

.1 Історія створення

.2 Основні льотно-технічні характеристики

.3 Модиифікаціїї літака

.4 Особливості експлуатації літального аппарату

Розділ 2. Конструктивно - силовий аналіз конструкції літака та його агрегатів

2.1   Загальна характеристика літака

2.2    Конструктивно-силова схема крила, основні його агрегати, відсіки, секції вузли та деталі

.3      Конструктивно-силова схема фюзеляжу, основні його агрегати, відсіки, секції вузли та деталі

.4      Конструктивно-силова горизонтального оперення, основні його агрегати, відсіки, секції вузли та деталі

.5      Конструктивно-силова схема вертикального оперення, основні його агрегати, відсіки, секції вузли та деталі

.6      Конструктивно-силова схема шасі, основні його агрегати, вузли та деталі

.7      Силова установка загальна конструкція та її особливості

Розділ 3. Призначення та конструкція основних функціональних систем

3.1 Система управління літаком

.2 Паливна та масляна системи

.3 Протипожежна система

.4 Протиобліднювальна система (ПОС)

.5 Система кондиціювання повітря (СКП)

.6 Система захисту від ураження блискавками

Розділ 4. Призначення та склад обладнання літака

.1     Пілотажно-навігаційне обладнання

4.2    Електротехнічне обладнання

Розділ 1. Загальна характеристика літака

.1 Історія створення

З появою в 1965 р. першого в світі широкофюзеляжного транспортного літака Ан-22 почався черговий етап багаторічної радянсько-американської гонки за першість у створенні гігантських крилатих машин.

Першим і цілком природним кроком конструкторів стала спроба максимально використовувати при створенні нового літака технологічні напрацювання з Ан-22.

Залишивши надії зробити новий літак «малою кров'ю», кияни до середини наступного року розробили відразу два аванпроектів: Ан-126 вантажопідйомністю 140 т і Ан-124 вантажопідйомністю 120 т. Здавалося АН126- ось він, наша відповідьамериканському конкуренту, але фахівці ЦАГІ зуміли переконати уряд, що реалізація проекту шестидвигунного літака пов'язана з надмірним технічним ризиком.

лютого 1972, Після всебічного вивчення проблеми, Комісія Президії РМ СРСР з військово-промислових питань прийняла рішення про вибір для подальшої розробки чотиридвигунного Ан-124 , яким на фірмі був привласнений індекс «виріб 200». В 1976 р О. К. Антонов прийняв важке рішення про повної переробки проекту, якому привласнили новий шифр «виріб 400». У січні наступного року вийшла Постанова ЦК КПРС і РМ СРСР № 79-23, що затвердило рішення Генеральної і містив нові вимоги до літака.

Щоб забезпечити належний технічний рівень «чотирьохсотки», вперше в СРСР було розроблено та реалізовано комплексно-цільова програма (КЦП), що передбачала поліпшення всіх складових ефективності літака. Прийняття КЦП-124 не тільки відіграла вирішальну роль у створенні «Руслана», але й дало потужний поштовх розвитку авіапромисловості. З метою пошуку оптимального поєднання параметрів за допомогою обчислювальної техніки було проаналізовано 540 можливих компонувань літака, в аеродинамічних трубах продути 185 різних моделей, у тому числі 36 варіантів крил. У результаті вжитих заходів крейсерською аеродинамічна якість літака збільшилася на 20%, вагова віддача - на 10-15%, на стільки ж знизився питома витрата палива двигунами, точність навігації зросла в 4 рази, а трудомісткості різних видів техобслуговування у порівнянні з Ан-22 і Іл-76 скоротилися від 2 до 5 разів!

Рис. 1.1. Вигляд літака Ан-124 у трьох проекціях

Одним з ключових моментів, що забезпечили досягнення бажаних характеристик при переході від «200» до «400», стало застосування крила, скомпонованого на основі суперкритичних профілів. Це був перший подібний досвід в СРСР.

Проектні параметри Ан-124 вибиралися дуже ретельно, у результаті ширина кабіни по підлозі визначена у 6200 мм. Однак Олег Костянтинович прийняв вольове рішення про збільшення ширини підлоги до 6400 мм. Сьогодні, коли «Руслан» в основному виконує комерційні перевезення негабаритних вантажів, ці 200 мм часто виявляються вирішальними.

До числа особливостей літака, в кінцевому підсумку визначили його успіх, слід віднести і два вантажних люки, що дозволили організувати наскрізний проїзд техніки і значно скоротити час навантаження-розвантаження. Зробити цю непросту процедуру більш зручною допомагає багатоопорне шасі з присіданням, що зменшує кут в'їзду на носову рампу. Воно спроектовано таким чином, щоб зменшити навантаження на аеродромне покриття.

Все це зробило Ан-124 літаком нового покоління, у багатьох відношеннях, особливо з транспортного потенціалу, що перевершує «Гелексі» на величину до 25%.

Перші примірники Ан-124, в тому числі для статвипробувань, будували в Київському авіаційному виробничому об'єднанні спільно з КМЗ.

Провідним льотчиком Ан-124 планувалося призначити заслуженого льотчика-випробувача Героя Радянського Союзу Ю. В. Курліна. Однак за півроку до першого польоту медкомісія тимчасово усунула Курліна від польотів, а ведучим льотчиком колегія МАП затвердила В. І. Терського.

жовтня 1982 у складальному цеху при великому скупченні працівників КМЗ і КиАПО відбувся традиційний мітинг. Антонов розбив об водило пляшку шампанського, і тягач викотив на світ божий перший дослідний Ан-124.

У ході наземних відпрацювань на борту Ан-124 вперше з'явилася назва «Руслан». Серед назв, які він серйозно розглядав, було навіть таке, як «Тарас Бульба». Але стислість і милозвучне слова «Руслан» взяли гору.

І ось настав 24 грудня 1982 Опівдні Ан-124 вирулив на ВПП заводського аеродрому у Святошині. Але, як тільки у свинцевій зимовому небі з'явилося віконце і на кілька хвилин визирнуло сонце, «Руслан» здійснив свій перший зліт. Пілотував його заводські льотчики-випробувачі В. І. Терський і А. В. Галуненко, штурманом був А. П. Піддубний, бортінженер - В. М. Воротніков і А. М. Шулещенко, радистом - М. А. Тупчієнко.

1.2 Основні льотно-технічні характеристики

Таблиця 1.1 Льотно-технічні характеристики

Модифікація

 Ан-124

Розмах крила, м

 73.30

Довжина літака, м

 69.10

Висота літака, м

 20.78

Площа крила, м2

 628.50

Маса, кг

-

 порожнього літака

173000

 нормальна злітна

392000

 максимальна злітна

405000

Внутрішнє паливо, кг

213714

Тип двигуна

 4 ТРДД Прогресс Д-18Т

Тяга, кН

 229.47

Максимальна швидкість, км / год

865

Крейсерська швидкість, км / год

 750-800

Перегоночна дальність, км

16500

Практична дальність, км

4500

Практична стеля, м

9500

Екіпаж, чол

 6-7

Корисне навантаження:

 88 людей або 120-150 т вантажу


.3 Модиифікаціїї літака

Модифікації:

«Виріб 400» - робочий шифр літака під час проектування

Ан-124 - базова модифікація військово-транспортного літака

Ан-124-100 - комерційний транспортний літак. Відрізняється двигунами Д-18Т третьої серії і відсутністю спеціального військового обладнання. Випускається з 1990 року в Києві і з 1993 року в Ульяновську. Виготовлено 7 літаків. Ще 15 літаків переобладнано з раніше випущених Ан-124.

Ан-124-100М - зі скороченим до 4 чоловік екіпажем. Відрізняється двигунами Д-18Т четвертої серії, складом устаткування. Максимальна вантажопідйомність 150 т. Злітна маса збільшена до 402 т. Розроблений в 1996 році.

Ан-124-100М-150 - модифікация літака Ан-124-100 з модернізованим бортовим обладнанням, зменшеним складом екіпажу, збільшеною вантажопідйомністю, збільшеною злітною масою (до 402 т) і максимальною дальністю польоту (до 15,5 тис. км), відповідає перспективним вимогам ICAO.

Ан-124-200 - модифікация літака Ан-124-100 з модернізованим бортовим обладнанням, зменшеним складом екіпажу до 4-х чоловік і збільшеною вантажопідйомністю в 150 тон.

Ан-124-210 - модифікация літака Ан-124-100 з модернізованим бортовим обладнанням, використанням двигунів Rollce-Royce RB211-524Н-Т, зменшеним складом екіпажу і більшеною вантажопідйомністю.

Ан-124-300 відрізняється від Ан-124-100М-150 подовженим на 6 м фюзеляжем, що дозволяє при тому же максимальному комерційному навантаженні в 150 т збільшити злітну масу до 553 т. і відповідно, максимальний запас палива - до 295 т, максимальну дальність польоту - до 16,8 тис. км

Ан-124FFR - пожежний (проект).

Ан-124-KC - літак авіа-заправник (проект).

.4 Особливості експлуатації літального апарату

Період експлуатації 1986 і по наш час.

Перші роки комерційної експлуатації показали не тільки високу ефективність «Руслана», але і виявили деякі недоліки.

Таблиця 1.2 Катастрофи Ан-124

Дата

Бортовий номер

Місце ка-тастрофи

Жертви

Стислий опис

13.10.92

82002

Київ

8/9

Другий прототип Ан-124. Разбився при випробувальному польоті.

15.11.93

82071

біля Кермана

17/17

Врізався в гору при заході на посадку.

08.10.96

82069

біля Турина

2+2/23

Розбився при заході на друге коло.

06.12.97

82005

Іркутськ

45+23/68

Відмова трьох двигунів невдовзі посля злету, упав на жилі будівлі.



В розділі «Загальна характеристика літака» було:

·        Розглянуто історію створення літака (причину, вибір підходу до проектування, вибір проекту, вибір параметрів літака, перший запуск);

·        Визначено основні льотно-технічні характеристики (по своїм льотно-технічним характеристикам Ан-124 - важкий транспортний літак);

·        Відображено результати експлуатації (з експлуатації можна побачити що обсяг виконаної роботи над проектуванням літака дав можливість літаку функціонувати в надзвичайно широких межах, також список катастроф показує високу надійність даного літального апарату);

 

Розділ 2. Конструктивно - силовий аналіз конструкції літака та його агрегатів

2.1    Загальна характеристика літака

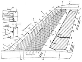
В даному розділі розглядатиметься конструктивно силові схеми таких елементів літального апарату(рис. 2.1), як: крило, фюзеляж, оперення, шассі та силова становка.

Рис. 2.1. Розміщення основних конструктивних елементів літака

- фюзеляж;2- двигуни;3- крило;4- горизонтальне оперення;5-кіль.

Фюзеля́ж - корпус літального апарату. Зв'язує між собою крила, оперення та (іноді) шасі. Фюзеляж літака призначений для розміщення екіпажу, устаткування та корисного навантаження. У фюзеляжі може розміщуватися паливо, шасі, двигуни.

Двигуни використовуються для приведення в рух літальних апаратів.

Крило - поверхня для створення підйомної сили.

Горизонтальне оперення забезпечує поздовжню стійкість, керованість і балансування.

Вертикальне оперення забезпечує літаку шляхову стійкість, керованість і балансування щодо вертикальної осі.

2.2 Конструктивно-силова схема крила, основні його агрегати, відсіки, секції вузли та деталі

Крило в авіаційній техніці - поверхня для створення підйомної сили.

На літаку встановлено стрілоподібне крило(рис. 2.2) трапецієподібної форми, що має злам, поперечне V і крутку профілю за розмахом.

Крило навішені на фюзеляжі за схемою верхнеплана за допомогою шести шарнірних вузлів. Знизу на крилі кріпляться чотири пілона для турбовентіляторних двигунів.

Конструкція крила за розмахом складається з центроплану і двох консольних частин крила (КЧК). До консольних частин кріпляться закінцівки. У поперечному перерізі крило складається з носової, кесонної і хвостовий частин.

Кесонна частина є силовою частиною крила і складається з поздовжнього і поперечного силових наборів. Поздовжній силовий набір складається з лонжеронів, верхньої та ніжній панелей. Поперечний силовий набір складається з нервюр.

У носовій частині крила повсьому розмаху кожної консолі встановлено шість секцій предкрилків. Предкрилки застосовуються при зльоті та посадці для поліпшення злітно-посадочних характеристик літака.

У хвостовій частині крила на кожній консолі встановлені внутрішній і дві секції кінцевих однощілинних закрилків, Внутрішній і зовнішній елерони і дванадцять секцій інтерцепторів. Закрилки призначені для поліпшення злітно-посадочних характеристик літака. Елерони служать для забезпечення поперечної керованості літака. Інтерцептори № 1, 2, 3, 4 використовуються в якості гальмівних для зменшення довжини пробігу, интерцептори № 5, 6, 7, 8 - в якості глісадні для різкого зниження літака, інтерцептори № 9, 10, 11, 12 - в якості інтерцепторів- елеронів для поперечного управління літаком.

Рис. 2.2. Схема крила

1.Секція № 1 передкрилка

16.Обтічник механізму навішування закрилка

2. Секція № 2 передкрилка

17. Інтерцептор № 8

3. Секція № 3 передкрилка

18. Інтерцептор № 7

4. Секція № 4 передкрилка

19.Секція № 1 кінцевого закрилка

5. Секція № 5 передкрилка

20. Інтерцептор № 6

6. Секція № 6 передкрилка

21. Інтерцептор № 5

7. Закінцівка крила

22. Інтерцептор № 4

8.Зовнішній елерон

23. Інтерцептор № 3

9.Внутрішній елерон

24.Внутрішній закрилок

10.Обтічник механізму навішування закрилка

25. Інтерцептор № 2

11. Інтерцептор № 12

26.Обтічник механізму навішування закрилки

12. Інтерцептор № 11

27. Інтерцептор № 1

13.Секція № 2 кінцевого закрилка

28.Консольна частина крила

14. Інтерцептор № 10

29.Центроплан

15. Інтерцептор № 9



Лонжерони(рис. 2.3) призначені для сприйняття моментів та сил. Конструктивно являють собою поздовжні балки, що складаються з поясів та стінок.

Рис. 2.3. Перерізи поясів лонжеронів

, 2 - з кутиками; 3 - з кутиками і полосою; 4 - з тавром; 5 - монолітне; 6 - з накладкою; 7 - двотаврове

Срінгери (рис. 2.4) - поздовжні елементи призначені для сприйняття згинаючого моменту, сприйняття місцевого повітряного навантаження і його передачі на нервюри.

Рис. 2.4. Типові перерізи стрінгерів

, 2, 3, 4, 5 - профілі гнуті або катані з листів; 6, 7, 8, 9, 10, 11- профілі пресовані або катані з виливанців

Нервюри (рис. 2.5) призначені для придачі форми профілю та передачі аеродинамічного навантаження з обшивки на стінки.

Рис. 2.5. Конструктивні схеми нервюр

а - балочна; б - рамна; в - фермена; г - змішана

Обшивка (рис. 2.6) призначена для герметизації крила та сприйняття аеродинамічного навантаження.

Рис. 2.6. Види трьохшарових обшивок

а - сотові; б - пористі; в - гофрована

Рис. 2.7. Схема розкрою і товщин обшивки крила

Кесон центроплана розташований між нервюрами № 5 (лівоюта правою) і утворює один паливний бак. Поздовжній силовий набір центроплана утворений чотирма лонжеронами і силовими панелями. Лонжерони № 1 і 4 виконані з двох балок (Верхньоїта нижньої), з'єднаних по середній лінії. Із зовнішнього боку стінка лонжерона підкріплена горизонтальними профілями. Лонжерони № 2 і 3 складаються з верхнього і нижнього поясів і стінки зі стійками. До кінців лонжеронів кріпляться кронштейни для стикування з КЧК. На лонжеронах № 1, 3 і 4 до цих кронштейнів знизу кріпляться кронштейни (9) стикування з фюзеляжем. На лонжеронах № 1 і 4 встановлені дуги (10), до яких кріпиться обшивка фюзеляжу.

Поперечний силовий набір центроплана утворений нервюрамі.

Нервюри центроплана - балочної конструкції, складаються з окремих ділянок, зістикованих по лонжеронах. Кожна нервюра складається з стінки, верхнього та нижнього поясів і стійок. Нервюра № 3 має горизонтальні балки. Стінки виконані з дуралюмінового листа, пояси та стійки - з пресованих профілів різних перетинів. У стінках нервюр є отвори для перетікання палива, для кріплення фланців і перехідників трубопроводів паливної системи, а також лази для огляду і обслуговування агрегатів. Нервюри кріпляться до поперечних ребер панелей на ділянці між нервюрами центроплана, на інших ділянках - за допомогою книц і компенсаторів.

Рис. 2.8. Кесон центроплана

1.Профіль

6.Лонжерон № 3

11.Болт

2.Верхня панель

7.Лонжерон № 2

12, 13.Панелі

3.Нервюра

8.Лонжерон № 1

14.Герметик

4.Лонжерон і 4

9.Кронштейн

15.Накладка

5.Нижня панель

10.Дуга



КЧК розташований між нервюрами № 5 і 54 і утворює шість паливних баків.

Поздовжній силовий набір КЧК утворений лонжеронами і панелями, які мають зрізаний стик по нервюрі № 41. Лонжерони № 1 і 4 мають протяжність усього розмаху КЧК, лонжерон № 2 закінчується на нервюрі № 41, лонжерон № 3 - на нервюр № 63. По конструкції лонжерони КЧК аналогічні лонжеронам центроплана. Лонжерон № 3 має люкі-лази у стінці. На лонжеронах № 1 і 4 є кронштейни для кріплення механізації і пілонів. У стінці лонжерона № 1 є отвори під рейки предкрилка, з боку кесона вони закриті кожухами, які виконані у вигляді герметичного склянки.

Нервюри складають поперечний набір і деякі з них є стінками паливних баків.

Нервюри виконані з окремих частин, розташованих між лонжеронами. По конструкції нервюри - балкового типу, посилені накладками, профілями і фітингами. У стінках нервюр зроблені отвори для перетікання палива, отвори для фланців і перехідників трубопроводів паливної системи, а також лази для входу в герметичні відсіки.

Нервюри кріпляться до верхніх і нижніх панелей і лонжеронів болтами і заклепками за допомогою книц і компенсаторів.

За призначенням нервюри поділяються на силові, посилені, герметичні і типові.

Силові нервюри встановлюються по місцях кріплення механізмів навішення закрилків, кронштейнів навішування пілонів двигунів, по стику КЧК з центропланом. До силовим відносяться нервюри № 5, 14, 15, 16, 26, 27, 28, 61-66. Силові нервюри відрізняються посиленими поясами і стінками або виконані цільноштампованими.

Нервюри. № 44, 45, 46, 47, 48, 50, 52, 53 - посилені, за цими нервюрам кріплятьсякронштейни для навішування елерона.

Гермонервюри є стінками паливних баків і сприймають тиск палива. До гермонервюр відносяться нервюри № 5, 11 і 12 - між лонжеронами № 1 і 2, № 14-між лонжеронами № 2 і 3, № 21 - між лонжеронами № 1 і 2, № 25 - між лонжеронами 35 2 і 3, № 31, 38, 50 і 53.

Між нервюрами № 11 і 12 і лонжеронами № 1 і 2 встановлено гермоперегородка витратного бака.

Решта нервюр - типові, в їх стінках виконані отвори полегшення.

Рис. 2.9. Кесон консольної частини крила

1.Силова нервюра

8.Лонжерон № 2

2.Верхня панель

9.Нижня панель

3.Гермонервюра

10.Лонжерон № 2

4.Типова нервюра

11.Кронштейн кріплення рейки механізму навішування предкрилка

5.Силова нервюра

12.Перегородка витратного бака

6.Лонжерон № 2

13.Кронштейн кріплення підйомника

7.Лонжерон № 2

14.Кронштейн кріплення пілонів силової установки


У носовій частині крила повсьому розмаху кожної консолі встановлено шість секцій предкрилка. Предкрилки застосовуються при зльоті та посадці для поліпшення злітно-посадочних характеристик літака.

У хвостовій частині крила на кожній консолі встановлені внутрішній і дві секції кінцевих однощілинні закрилків, Внутрішній і зовнішній елерони і дванадцять секцій інтерцепторів. Закрилки призначені для поліпшення злітно-посадочних характеристик літака. Елерони служать для забезпечення поперечної керованості літака. Інтерцептори № 1, 2, 3, 4 використовуються в якості гальмівних для зменшення довжини пробігу, інтерцептори № 5, 6, 7, 8 - в якості глісадні для різкого зниження літака, інтерцептори № 9, 10, 11, 12 - в якості інтерцепторів- елеронів для поперечного управління літаком.

2.3 Конструктивно-силова схема фюзеляжу, основні його агрегати, відсіки, секції вузли та деталі

крило фюзеляж літак

Фюзеляж літака являє собою суцільнометалевий напівмонокок з подовжнім набором з стрингерів і балок, поперечним набором з шпангоутів і робочої обшивки.

Схема фюзеляжу показана на рис. 1, конструкція - на рис. 2.

Фюзеляж - двопалубний, умовно розділений у вертикальній площині (за шпангоутам № 42 і 92) на три частини: носову, середню і хвостову; в горизонтальній площині (по верхній підлозі) на дві частини: верхню і нижню палуби.

Рис. 2.10. Частини на які ділиться фюзеляж

Рис.2.11. Фюзелюж в перерізі

Рис. 2.12.Конструктивно-силова схема фюзеляжу

Продовження (Рис. 2.12.Конструктивно-силова схема фюзеляжу)

Рис.2.12.

-шпангоут №10, 2-каркас фонаря, 3-проєм аварійного виходу, 4-підлога верхньої палуби, 5-проєм аварійного виходу, 6-проєм вхідного люка, 7-вікно, 8-вузел страхувального пристосування, 9-проєм експлуатаційного люка, 10-вантажна підлога, 11-скулова балка, 12-нижня частина парного шпангоута, 13-нижня частина не парного шпангоута, 14- проєм вхідних дверей, 15-проєм аварійного виходу, 16-нижня бортова балка переднього вантажного люка, 17-шпангоут №16, 18-шпангоут №20, 19-зашивка відсіків під передню опору шасі, 20-балка, утворююча бокову стінку відсіку для агрегатів стойок, 21-кронштейн кріплення гідроциліндра підйому носового обтікача, 22-кронштейн навішування носового обтікача, 23-верхня бортова балка переднього вантажного люка, 24-кронштейн кріплення підкоса і верхніх замків носового обтікача, 25-сходи, 26-шпангоут №42, 27-підцентропланна балка, 28-кронштейн кріплення підкоса, 29-надбудова центроплана, 30-гермошпангоут №55, 31-сходинка, 32-проєм експлуатаційного люка, 33-підлога кабіни обслуговуючого персоналу, 34-проєм аварійного виходу, 35-проєм вхідного люка, 36-вікно, 37-проєм аварійного виходу, 38-шпангоут №84, 39-кронштейн кріплення розкосу стійки основної опори, 40-шпангоут №67, 41-кришка оглядового люка, 42-шпангоут №64, 43-шпангоут №61, 44-шпангоут №58, 45-шпангоут №55, 46-продольна балка каркасу вантажної підлоги, 47-підкіс, 48-шпангоут №52, 49-балка відсіку основної опори шасі, 50-надбудова заднього порога, 51-заглушки, 52- гермошпангоут №92, 53-нижня панель фюзеляжа, 54-проєм експлуатаційного люка, 55-настил підлоги, 56-кронштейн кріплення носка кіля, 57-балки кріплення водила, 58-шпангоут №102, 59-кронштейн кріплення гідроциліндра системи управління середньою створкою, 60-підкільова панель, 61-настил, 62-шпангоут №114, 63-хвостовий обтікач, 64-шпангоут №123, 65-підлога хвостової частини, 66-проєм люка в підлозі, 67-проєм експлуатаційного люка, 68-стабілзаторна панель, 69-шпангоут №109, 70-шпангоут №92а, 71-рельс для бортового вантажного крана.

Для забезпечення надійної герметичності кабін герметизація фюзеляжу здійснюється двома ступенями.

Перший ступінь забезпечується тим, що болти і заклепки на герметичних ділянках фюзеляжу встановлюються з натягом. Натяг заклепок виходить за рахунок використання заклепок з компенсаторами.

Другий ступінь герметизації забезпечується додатковим покриттям місць можливого витоку повітря герметиками.

До основного каркасу відносяться поперечний і поздовжній силові набори, посилення вирізів під двері та люки.

Поздовжній силовий набір фюзеляжу включає стрингери (рис.2.12), рівномірно розташовані по периметру його перетину з відстанню між ними приблизно 170 мм, і ряд поздовжніх балок (мал. 2.13).

Рис. 1. Балка підфонарна, 2. Балка під замок гермо трапу, 3. Балка за фона рем, 4. Рельс для бортового вантажного крана, 5.Балка підцентропланна, 6. Балки под. замки гермотрапа, 7.Балка кріплення водила, 8. Профілі підсилення між шпангоутами №102-108, 109-114, 9. Бортова балка заднього вантажного люка, 10. Балка кріплення кронштейна навіски рампи заднього вантажного люка, 11.Балки кріплення кронштейнів навіски ВСУ, 12. Балка відсіку основної опори шасі, 13. Профілі підсилення між шпангоутами №39-42 і 55-57, 14. Балка кріплення кронштейна навіски носового обтікача, 15. Балка під гідроциліндр носового обтекателя, 16. Нижня бортова балка переднього вантажного люка, 17.Балка під гідроциліндр відкриття рампи переднього вантажного люка, 18. Балки кріплення центрального замка носового обтікача, 19. Балки під навісу стійки передньої опори шасі, 20. Балка кріплення кронштейна навіски рампи переднього вантажного люка, 21.Верхня бортова балка переднього вантажного люка.

Поперечний силовий набір утворений 123 шпангоутами. Шпангоути розподілені по довжині фюзеляжу з кроком 550-570 мм. Конструкція шпангоутів визначається конструкцією фюзеляжу (наявністю ліхтаря, дверей та люків, вирізів під передню і основну опори, переднього і заднього вантажних люків, стиків з центропланом крила і хвостовим оперенням).

У залежності від величини навантаження шпангоути діляться на силові, посилені і нормальні.

Силові шпангоути сприймають навантаження від кріплення передньої і основних опор шасі, крила, оперення і носового обтічника. Решта шпангоути служать для посилення обшивки і кріплення різних деталей обладнання.

До силовим відносяться шпангоути № 16, 20, 22, 42, 52, 55, 58, 61, 64, 67, 84, 86, 88, 90, 92, 92а, I02-II4; до посилених - шпангоути J6 10, 12 - 15, 94-101, II5-II9, 123; інші шпангоути - нормальні.

Прорізи під вхідні двері, аварійні виходи, вантажні та експлуатаційні люки мають підсилення.

До допоміжної конструкції фюзеляжу відносяться панелі і каркас підлоги, що не входить в основну силову конструкцію. Підлога різних участків фюзеляжу (рис. I) розташована на різних рівнях. Підлога, розташована на верхній палубі, знаходиться вище будівельної площині фюзеляжу на 3340 мм. Вантажна підлога знаходиться на нижній палубі нижче будівельної площині фюзеляжу на 1360 мм. Всі підлоги - горизонтальні.

.4 Конструктивно-силова горизонтального оперення, основні його агрегати, відсіки, секції вузли та деталі

Горизонтальне оперення (рис.2.14) включає в себе дві консолі стабілізатора і обидві половини керма висоти.

Кермо висоти призначене для забезпечення поздовжньої керованості літака, складається з двох секцій, пов'язаних між собою загальною системою управління і синхронно відхиляються вгору і вниз.

Рис.2.14. Горизонтальне оперення

Рис.2.14. 1-носова частина стабілізатора, 2,3,4,5-з’ємні носки, 6-кесонна частина стабілізатора, 7-закінцівка, 8-зовнішня секція руля висоти, 9-внутрішня секція руля висоти,10- хвостова частина стабілізатора, 11-рульовий привід.

Стабілізатор кріпиться до фюзеляжу по стикувальним профілям, встановленим на верхній і нижній частинах стабілізатора. На стабілізаторі є вузли для навішування керма висоти.

Кесон стабілізатора - клепаной конструкції, виконаний з подовжнього і поперечного наборів і панелей обшивки.

Поздовжній набір складається з двох лонжеронів - переднього (25) і заднього (20) і стрингерів. Лонжерони складаються з двох поясів і стінки зі стійками. До задньому лонжерону кріпляться кронштейни для навішування керма висоти і кріплення рульових приводів.

Поперечний набір складається з типових і силових нервюр, для яких встановлені кронштейни навішування керма висоти і кріплення рульових приводів. Нервюри складаються з поясів і стінки зі стійками, до силових нервюрам по задньому лонжерону кріпляться фітинги.

На кожній консолі стабілізатора навішені дві секції керма висоти: внутрішня і зовнішня.По конструкції вони однакові.

Кожна секція керма висоти (рис. I) складається з носків (8), лонжерона (9), набору нервюр,стрингерів, панелей обшивки і закінцівки (10).

Лонжерон - балкового типу, складається з двох поясів і стінки зі стійками. За нервюрам № 4, 7, 10 і 13 (для внутрішньої секції) і по нервюрам № I, 4, 7 і 10 (для зовнішньої секції) на лонжероні встановлені кронштейни (15) (рис. 2) для навішування РВ і кріплення рульових приводів ; по нервюрам № 19 і 22 (для внутрішньої секції) і по нервюрам № 16, 22І 28 (для зовнішньої секції) на лонжероні кріпляться кронштейни (25) для навішування РВ. По нервюрі № 33 на зовнішньої секції РВ встановлено кронштейн (4), що є торцевою діафрагмою носка.

Носок (8) (див. рис. I) складається з верхніх (5) і нижніх (4) діафрагм, обшивок з люками по вузлах навішування. Носок кріпиться до лонжерона заклепками. Люки закриті знімними кришками на болтах з анкерними гайками. У кришці (2) на нижній поверхні носка є стулка (I), навішена на двох петлях з пружинами (13) для притиснення стулок до обшивки хвостовій частині стабілізатора.

Нервюри стабілізатора складаються з поясів і стінки зі стійками. Стінки силових (по вузлах навішування) і кінцевих нервюр - суцільні, стінки типових нервюр мають отвори полегшення.

Рис.2.15. Стабілізатор

-створка, 2-кришка, 3-торцьова нервюра, 4,5-диафрагма носка, 6,7-верхні панелі, 8-носок, 9-лонжерон, 10-закінцівка, 11-такелажний вузел, 12-фторопластовий вузел, 13-пружина.

2.5 Конструктивно-силова схема вертикального оперення, основні його агрегати, відсіки, секції вузли та деталі

Вертикальне оперення (рис. 2) включає в себе кіль і кермо напрямку.

Кермо напрямку призначений для забезпечення шляхової керованості літака, виконаний двосекційним. Секції пов'язані загальною системою управління.

Рис. 2.16. Кіль літака.

Рис.2.16. 1-зализ кіля, 2-носок радіовідсіка, 3,4,5-з’ємні носки кіля, 6-кесонна частина кіля, 7-закінцівка, 8-верхня секція руля напряму, 9-нижня секція руля напряму, 10-хвостова частина кіля, 11-нижня частина носка кіля,12-носова частина кіля, 13-рульовий привід.

Кіль літака - суцільнометалевий, має симетричний профіль. Кіль складається з носової (32) (рис. I), кесонної (33) (міжлонжеронної) і хвостової (39) частин, розділених переднім і заднім лонжеронами. Зверху встановлена ​​закінцівка. На задньому лонжероні кіля навішене кермо напряму.

Кесон кіля утворений двома лонжеронами (переднім (21) і заднім (15), набором нервюр (18) і панелями.

Лонжерони кіля складаються з двох поясів і стінки зі стійками. На задньому лонжероні між нервюрами № 7-8 і 13-14 є нижній і верхній відсіки приводів, на яких креняться рульові приводи. Відсік приводів складається із кронштейнів, стінки зі стійками та балки. За нервюрам № 5, 7, 8, 10, II, 13, 14, 16, 18 і 21 встановлені кронштейни навішування керма напряму. Кронштейн (10) навіски керма напряму складається з поясів, стінок зі стійками та двох щік.

Нервюри кіля складаються з поясів, стінки зі стійками та компенсаторів, через які нервюри кріпляться до панелей кіля. У стінці нервюр виконаний люк, через який проходять сходи (16), встановлені ​​в кілі постійно і призначені для огляду внутрішнього каркасу кіля. По вузлах навіски керма напряму встановлені силові нервюри, решта нервюри - типові, їх стінки мають отвори полегшення.

На кілі навішені дві секції керма напряму - нижня і верхня. Нижня секція розташована між нервюрами кіля № 5-10, верхня секція - між нервюрами 10-21. По конструкції вони однакові.

Кожна секція керма напряму складається з лонжерона (6) (рис. I), стрингерів, панелей (5) і (7) обшивки, нервюр, носка (4) і закінцівки (8).

Лонжерон - балкового типу, складається з двох поясів, стінки з отворами полегшення і стійками. На лонжероні кріпляться вузли навішування керма напряму. Вузли навішування керма напряму - двох типів: за нервюрам № 6 і 8 - для нижньої секції і по нервюрам № 7 і 9 - для верхньої секції встановлені кронштейни (9) (рис. 2), що мають одне вушко для навішування керма напряму і два вушка - для кріплення рульового приводу; по нервюрам № I і 12 - для нижньої секції і по нервюрам. № 3, 13, 17 і 23 - для верхньої секції встановлені кронштейни (5), що мають вушко для навішування керма напряму. У вушку для навішування встановлений підшипник, для змащення якого є прес-маслянки.

Нервюри виконані з поясів, стінок і стійок. Стінки мають отвори полегшення. Нервюри діляться на силові, за якими кріпляться кронштейни навішування, та типові. Силові нервюри посилені фітингами.

Рис. 2.17. Руль напряму.

-торцева нервюра, 2-кронштейн, 3-кришка, 4-носок, 5,7-панели обшивки, 6-лонжерон, 8-законцовка, 9-такелажний вузол.

.6 Конструктивно-силова схема шасі, основні його агрегати, вузли та деталі

Літак обладнаний трьохопорним висувним шасі, яке складається з двох основних опор і передньої опори з керованими колесами. Для проведення завантажувальноно-розвантажувальних робіт через передній вантажний люк в носовій частині літака встановлено дві допоміжні опори.

Кожна основна опора включає п'ять амортизаційних стійок з двома гальмівними колесами на кожній. Стійки встановлені в обтічниках шасі і прибираються у напрямку до площини симетрії літака у відсіки під підлогою вантажної кабіни. Відсіки при прибраних і випущених опорах закриваються стулками.

Передня опора включає дві амортизаційні стійки з двома нетормозними колесами на кожній. Амортизаційні стійки прибираються вперед у напрямку польоту у відсіки носового обтічника фюзеляжу. Відсіки при прибраних і випущених стійках передньої опори закриваються стулками.

Літак оснащений системами прибирання-випуску шасі, гальмування коліс основних опор, повороту коліс передньої опори, регулювання висоти порогів (РВП).

Система прибирання-випуску призначена для прибирання, випуску та фіксації стояків у крайніх положеннях, а також для відкриття і закриття стулок відсіків у процесі збирання та випуску шасі в основному і резервному режимах. На літаку передбачений механічний випуск опор при відмові гідросистем.

Система гальмування забезпечує гальмування коліс основних опор шасі в основному і форсованому режимах, а також послявзлітне гальмування при прибиранні основних опор. Для гальмування коліс на стоянці і при буксируванні літака з вимкненимелектроживленням використовується режим ручного гальмування.

Система повороту коліс передньої опори призначена для витримування напрямку руху літака на землі при зльоті, посадці і рулюванні.

Основна опора шасі (рис.2.18) складається з п'яти амортизаційних стійок підносного типу, на яких встановлено по два гальмівних колеса. Передня і задня амортизаційні стійки - поворотні. Кут повороту поворотного важеля передньої стійки - 18 ° - 5 ° (назовні) від площини симетрії літака (ПСЛ) та 14° (всередину) до ПСЛ, задньої стійки-9°в обидві сторони.Конструкція поворотної частини забезпечує автоматичну установку коліс в нейтральне положення при збиранні стійки і ручне стопоріння поворотної частини важеля підвіски коліс.

Система регулювання висоти порогів (РВП) служить для опускання і підйому порогів переднього і заднього вантажних люків, для полегшення вантажно-розвантажувальних робіт та поліпшення технологічності при наземному технічному обслуговуванні елементів шасі, може використовуватися для аварійного випуску стійок передньої опори.

Рис.2.18. Основна опора шасі

-рескос, 2-одинарний замок створом, 4-юлок мікровимикачів БМ-703, 6-датчик ДСК, 8-датчик ДСК, 10-Датчик ДСК, 11-здвоєний замок відтворок, 13-блок мікровимикачів БМ-703, 14-одинарний замок створом, 15-шарнірний підшипник,16-цапфа.

Рис.2.19. Основно опора шасі (вид спереду)

-циліндр прибирання-випуску, 2-мала створка, 3-блок мікровимикачів БМ-703, 4-скадаючийся підкіс, 5-распор, 6-велика створка, 7-циліндр відкриття -закриття створки.

Передня опора шасі (рис. 2.20) складається з двох амортизаційних стійок (9), на яких встановлено по два нетормозних колеса.

Рис.2.20. Передня опора шасі

Рис.2.21. Передня опора шасі (вид спереду)

Рис.2.21. 1-велика створка відсіку шасі, 2-тормозний башмак, 3-замок випущеного положення, 4-замок прибраного положення, 5-мала створка відсіку шасі, 7-винтовий механізм, 8-траверса підкоса, 9-амортизаційна стійка, 10-не тормозне колесо.

2.7 Силова установка, загальна конструкція та її особливості

Силова установка (СУ) складається з чотирьох двигунів (ДУ) з двигунами Д-18T і систем, що забезпечують роботу двигунів. Двигуни живляться паливом від паливної системилітака.

Автономність запуску двигунів забезпечується двома бортовими допоміжної силової установки (ВСУ) з двигунами ТА-12.

Рухові установки за допомогою пілонів кріпляться до нижньої поверхні крила і включають в себе двигуни, гондоли, а також розміщені в гондолах магістралі, електропроводку, вузли та агрегати силової установки і пов'язані з двигунами системлітака.

Двигун Д-18Т - турбовентіляторний, двоконтурний, трьохвальної схеми, складається з п’ятнадцятиступінчатого компресора, камери згоряння і шестиступінчастої турбіни.

Компресор двигуна - осьовий, трьохкаскадний, складається з одноступінчастого надзвукового вентилятора, білязвукового семиступінчастого компресора середнього тиску (КСД) і дозвукового семиступінчастого компресора високого тиску (КВД).

Камера згоряння - кільцевого типу, має двадцять дві двоканальні робочі форсунки і два запальника.

Турбіна - трьохвальна, реактивна. Одноступінчасті турбіни приводять в обертання компресори високого і середнього тиску, чотириступінчаста турбіна - вентилятор.

Двигун кріпиться до силової частини пілона за допомогою переднього і заднього вузлів підвіски, встановлених на двигуні.

Передній вузол сприймає і передає на пілон тягове зусилля двигуна, вагове навантаження й бокові зусилля, задній - вагове навантаження і крутний момент.

Конструкція вузлів кріплення не передбачає можливості регулювання положення двигуна. Доступ до стикувальних болтів здійснюється через люки в бічних панелях силової частини пілона.

Рис.2.22. Схема кріплення СУ

Рис.2.22. 1-опорний кронштейн, 2-тяговий кронштейн, 3-люк, 4-пілон, 5-верхній кронштейн, 6траверса, 7-кронштейн. 8-серьга, 9-кронштейн, 10-серьга, 11-двигун.-

Розділ 3. Призначення та конструкція основних функціональних систем літака

.1 Система управління літаком

Система управління літаком включає в себе систему штурвального управління (СШУ) і комплекс систем управління взльотно-посадочними пристроями.

СШ7 складаєть з систем управління:

елеронами і інтерцепторами-елеронами;

рулем напрямку (РН);

Комплекс систем управління взльотно-посадочними пристроями включає в себе системи управління:

закрилками;

інтерцепторами;

предкрилками.

Контроль положення управляючих поверхностей і засобів механізації крила забезпечує система індикації за допомогою двух мнемоіндикаторів .

Рулі і елерони демпфуються рульовими приводами при знятті тиску у всіх гідросистемах. При цьому штурвали і педалі повинні знаходитись в нейтральному положенні, а штурвальні колонки і РВ повинні бути відхилені механізмом тримірування повністю в положення"ПІКІРУВАННЯ".

ПРИМІТКА. Під час стоянки літака РВ і елерони на обох полукрилах під дією вагової несбалансованості відклоняються вниз, при цьому зберігається нейтральне положення штурвалів. РН під дією вітрових навантажень відклоняються в ту чи іншу сторону, при цьому відповідно змінюється положення педалей.

Робота системи управління контролюється за допомогою бортової автоматизованої системи контроля (БАСК), отримуючій інформацію про стан системи управління у вигляді аналогових параметрів і бінарних сигналів.

Рис.3.1. Розміщення поверхностей керування літааком

.2 Паливна та масляна система літака

Подача палива в двигуни - автономна, до кожного двигуна паливо подається з його баків першої, другої, третьої черги вироблення. Гак нульової черги не використовується. В польоті перекачуючі насоси перекачують паливо із всіх баків в баки третьої черги, звідки воно поступає у витратні відсіки, а з витратних відсіків подається до двигунів підкачуючими насосами. При необхідності перекачуючі насоси подають паливо з баків першої і другої черг безпосередньо до двигунів, минаючи баки третьої черги. Управління подачою палива до двигунів здійснюється перекривними кранами.

Трубопроводи подачі палива до двигунів з’єднані між собою трубопроводом кільцювання через крани кільцювання. У випадку необхідності можна подати паливо по трубопроводу кільцювання із баків одного двигуна любому іншому двигуну.

Паливо, яке надходить в двигун, підігрівається в паливо-масляному радіаторі двигуна. Подача палива до ДСУ здійснюється двома підкачуючими насосами із бака третьої черги двигуна Л 2 чи по трубопроводу кільцювання із баків любого двигуна.

Злив палива з баків здійснюється через крани зливу, які знаходяться в гондолі кажного двигуна, чи через штуцера централізованої заправки.

Злив відстою палива здійснюється через систему централізованого зливу відстоя палива. Відстій палива можна злить і через клапаны злива відстою, який є в кожному паливному баці.

Рис.3.2. Місце роз положення місць зливу відстояного палива

Прибори контролю маслосистем двигунів, встановлені на літаку, призначені для вимірювання:

кількості мастила в маслобаках двигунів;

тиску мастила в маслосистемах двигунів;

температури мастила в маслосистемах двигунів.

Крім того, здійснена світлова сигналізація:

наявність стружки в подшипниках двигунів;

мінімального перепаду тиску мастила в маслосистемах двигунів.

Вимірювання кількості мастила в маслобаках двигунів здійснюється за допомогою індикаторів, працюючих в комплекті з ричажними поплавковими датчиками. Вимірювання тиску мастила в маслосистемах двигунів здійснюється за допомогою диференціальних манометрів ДИМ-Д.

Вимірювання температури мастила в маслосистемах двигунів здійснюється за допомогою індикаторів ІТ2П-60/260Б (в двигунах лівої плоскості крила) і ПТШ-60/260Б (в двигунах правої плоскості крила), працюючих в комплекті з приймачами температури П-77 вар. 2.

Сигналізація наявності стружки в подшипниках двигунів здійснюється за допомогою світлосигнальних табло ТС-3 і термостружкосигналізаторів ТСС-1ST.

Сигнализація мінімального перепаду тиска мастила в маслосистемах двигунів здійснюється за допомогою світлосигнальних табло ТС-3 і сигналізаторів СПТ-1,6ТМ.

Сигналізація засмічення маслофільтрів здійснюється за допомогою сигналізаторів СП-0,6Э з виводом інформації на екран індикації БАСК.

.3 Протипожежна система літака

Пожежне обладнання призначене для виявлення і ліквідації очагів пожеж у відсіках двигунів і 337, а також снгкалізагия про втрату ручного вмикання відрегулюйте в першу чергу у відсіків зализу крила.

Пожежне обладнання включає в себе систему покерної сигналізації, систему пожежогасіння (рис.3.3), переносні ручні вогнегасники і систему сигналізації про перегрів двигунів. Система потаємно сигнализации, система пароусунення і система сигналізації про перегрів двигунів складає стаціонарне попарне обладнання. Система пожежної сигналізації забезпечує :

сигналізацію про виникнення пожежі;

сигналізацію про місце винекнення пожежі ( крім відсіків крила );

автоматичне увімкнення першої черги пожежогасіння;

перевірку справності системи сигналізації.

Система сигналізації про перегрів двигунів забезпечує:

сигналізацію про перегрів основних двигунів;

перевірку справності системи сигналізації про перегрів двигунів:.

Система пожежогасіння забезпечує:

автоматичне і ручне гасіння пожежі у відсіках двигунів і ДСУ;

ручну подачу вогнегасних речовин у відсіки зализів крила ;

подечу вогнегасної речовини у відсіки гондол двигунів і ЕСУ при аварійній ситуації.

Управління стационарним пожежним обладнанням - електричне, здійснюється з робочого місця старшого бортінженера.

Для виявлення пожежі в грузовій кабіні використовуються два пристрої для обзору грузової кабіни, одне з яких встановлено в кабіні змінного экіпажу в районі шпангоутів Г 22-23, а друге - в кабіні обслуговуючого персонала в районі ппангоутів JP 84-85. Перевірку виконуйте з увімкненням чотирьох спеціальних фар , встановлених в грузовій кабіні.

Рис.3.3. Місця розміщення вогнегасників в кабінах

.4 Протиобліднювальна система (ПОС)

Протиобліднювальна система (ПОС) призначена для захисту літака від обміднювання і забезпечує захист від обміднювання до минус 20 0С.

ПОС літака включає в себе:

         ПОС планера;

-        ПОС повітрязабірників двигунів;

         ПОС ППТ і їх кронштейнів;

         ПОС переднього скла кабіни екіпажу (пілотів);

         сигналізатори обміднювання.

ПОС планера зображено на (рис.) - повітряно-теплова система (ВТ), забезпечуюча обігрів поверхнонь чотирьох секцій передкрилків на кожній консолі крила і повітрязабірників дренації паливних баків.

Рис.3.4. Схема ПОС планера

Сигналізатори обліднювання забезпечують сигналізацію про наявність обліднення і видають команду на автоматичне включення ПОС планера, повітрязаборників двигунів і кронштейнів ППТ. Відбір повітря на ПОС повітрязабірників двигунів дозволяється прпи температурі 8 0С і нижче на висотах від 0 до 11000 м у всьому діапазоні експлуатаційних швидкостей польоту на режимах польоту двигунів від земної малої тяги до взльотної включно. Відбір повітря на ПОС планера дозволяється при температурі 5 0С на всіх діапазонах експлуатаційних швидкостей і висот польоту на режимах роботи двигунів від польотно малому газі до взльотного включно. ПОС планера, повітрязабірників двигунів і кронштейнів ППТ можуть вмикатися автоматично (по сигналу від сигналізаторів обладнання) або вручну. ПОС ППТ і переднього скла пілотів вмикаються вручну. ПОС літака вимикається тільки вручну.

Температура повітря в ПОС:

         планера.……………………………………….(210±10) 0С

         повітрязаборників двигунів………………….(190-270) 0С

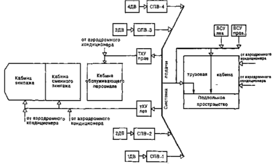
.5 Система кондиціювання повітря (СКП)

Система кондиціювання повітря (СКП) призначена для створення і підтримки в кабінах літака необхідних умов життєдіяльності.

За допомогою СКП (рис.) здійснюється:

відбір повітря від силової установки (СУ) і двигунів допоміжних силових установок (ДСУ);

обігрів (охолодження) кабін верхніх палуб і їх вентиляція;

вентиляція кабін верхньої палуби атмосферним повітрям;

обогрів і вентиляція грузової кабіни і її під підлогового простору;

додатковий обдув кожного члена екіпажу (індивідуальна вентиляція);

система обігріву повітрям кронштейнів ППТ;

продувка відсіків обладнання в кабіні змінного екіпажу;

обдув із середини скла фонаря кабіни екіпажа;

наддув гермокабіни з цілью підтримання в них необхного надлишкового тиску.

Рис.3.5.Схема кондиціювання повітря по літаку

СКП може працювати на землі і в польоті, з відбором повітря від силової установки, працюючих на всіх режимах , крім взльотного на взльоті, а на землі - також з відбором повітря від двух ДСУ. При польоті на малих висотах розгерметизовано верхні кабіни можуть вентилюватися атмосферним повітрям.Через спеціальні бортові штуцера до системи підключаться аеродромні кондиціонери для перед польотної підготовки кабін.

.6 Система захисту від ураження блискавками

Металізація - це технологічне і конструктивне рішення, яке забезпечує електричне з’єднання всіх елементів конструкції літака і встановленого на ньому обладнанні для проведення цих частин до одного електричного потенціалу.

Заземлення - це конструктивне пристосування, яке забезпечує на землі зняття з літака електростатичного заряду, який в процесі польоту накопичується на його корпусі і може досягти величини, небезпечної для екіпажу і обслуговуючого персоналу.

Металізація і заземлення дозволяють:

-        використовувати корпус літака в якості нульового проводу - для системи електрозабезпечення змінного трьохфазного струму з виведеною нейтралью або іншого проводу - для однопровідних систем електрозабезпечення змінного і постійного струму;

         знизити перешкоди радіоприйому;

         запобігти накопиченню електростатичного заряду на різноманітних елементах конструкції і обладнання літака;

         зменшити наслідки враження літака грозовими розрядами;

         зняти на землі з корпуса літака електростатичний заряд.

Металізації піддані всі внутрішні металеві елементи конструкції і управління, трубопроводи і обладнання, а також двигуни і зовнішні елементи конструкції. Для зменшення опору і збільшення надійності вузла металізації застосовані матеріали, стійкі до механічних і кліматичних впливів, а контактуючі поверхні, маючі захисні покриття (кадмій, нікель, хром, цинк), захищені і знежирені безпосередньо перед металізацієй.

Металізація елементів конструкції планера літака забезпечується за допомогою:

         кріпильних деталей (заклепок, болтів, винтів, хомутів, колодок);

         гнучких провідників (гнучких перемичок і шин);

         спеціальних контактуючих шайб.

Розділ 4. Призначення та склад обладнання літака

.1 Пілотажно-навігаційне обладнання

Пилотажно-навигационное оборудование предназначено для обеспечения экипажа пилотажно-навигационной информацией.

В пилотажно-навигационное оборудование входят:

информационный комплекс высотно-скоростных параметров;

система питания анероидно-мембранных приборов полным и статическим давлением;

анероидно-мембранные приборы;

приборы измерения пространственного положения самолета;

Информационный комплекс высотно-скоростных параметров предназначен для измерения, вычисления и выдачи экипажу и бортовым автоматическим системам информации о высотноскоростных параметрах, угле атаки и вертикальной перегрузке самолета.

Комплекс выполняет три основные задачи:

а) обеспечение экипажа информацией о заданных и текущих значениях высотно-скоростных параметров самолета;

б) обеспечение экипажа информацией о достижении критических значений приборной скорости ичисла М. об опасном отклонении от высоты эшелона, о приближении к заданной высоте эшелона, о предельно допустимой приборной скорости, о неправильной установке Р0 = 760 мм рт.ст.(1013.2 гПа). о предельно допустимых углах атаки и перегрузках и выдача предупреждающих

сигналов от системы ССОС;

в) обеспечение бортовых автоматических систем информацией о высотно-скоростных параметрахсамолета и отклонении их от заданных или стабилизированных значений.

Система питания анероиднонлембранных приборов полным и статическим давлениями предназначена для подачи полного и статического давлений к анероидно-мембранным приборам и к блокам других систем.

Механический высотомер ВМ-15 ПБ предназначен для индикации относительной барометрической высоты Нотм в пределах от 0 до 15000 м и выполняет роль дублирующего прибора по индикации Нотм указателями УВ-75-15ПБ систем СВС1-72-1-400.

Механический высотомер ВМФ-50 предназначен для индикации относительной барометрической высоты Нотм в пределах от- 0 до 50000 футов.

Вариометр ВР-ЗОПБ предназначен для индикации барометрической вертикальной скоростиVу, то есть скорости подъема или снижения, а также контроля горизонтального полета.

Вариометр ВР-75ПБ предназначен для индикации барометрической вертикальной скоростиVу, то есть скорости подъема или снижения, а также контроля горизонтального полета.

Указатель высоты и перепада давления УВПД-20 (рис. 5) предназначен для измерения"высоты" в герметической кабине и перепада между давлениями в кабине и окружающейатмосфере.

Указатель скорости КУС-730/1100-2 (рис. 6) предназначен для измерения приборнойскорости в пределах от 50 до 730 км/ч и истинной воздушной скорости в пределахот 400 до 1100 км/ч при высоте полета до 15 км.

К приборам измерения пространственного положения самолета относятся:

трехканалъная автономная инерциалъная система А826 (см. 118.50.00), одной из функцій которой является формирование сигналов, пропорциональных углам крена и тангажа самолета;

авиагоризонты левого и правого летчиков, в качестве которых используются команднопшютажные приборы ПКП-77М-1 (см. 022.80.00);

резервный авиагоризонт АГР-74М-15 (серия 2) с автономным источником питания - преобразователем ПТС-25М;

указатель крена и тангажа УКТ-4Р;

комбинированный прибор ДА.-ЗОП.

4.2 Електротехнічне обладнання

Бортові засоби централізованого електрозабезпечення забезпечують:

         багатоканальне електроживлення бортових приладів при роботі всіх основних джерел електроенергії;

-        нормальне електроживлення всіх споживачів при відмові половини основних джерел електроенергії;

         аварійне електроживлення частини споживачів без обмеження тривалості польоту при живленні від генераторів ДСУ (в діапазоні їх висотності) и протягом 25 хвилин при живленні від акумуляторних батарей і чотирьох спробах запуску ДСУ;

         електроживлення бортового вантажно - розвантажувального комплекса при виконанні наземних робіт;

         наземне електроживлення бортового обладнання практично без обмеження по потужності при не працюючих двигунах літака і відсутності аеродромних джерел електроенергії;

         автономний запуск двигунів.

Для живлення бортових споживачів літак обладнаний наступними системами електрозабезпечення:

         змінного трьохфазного струму напругою 200/115 В стабілізованої частоти 400 Гц;

-        змінного трьохфазного струму напругою 36 В стабілізованої частоти 400 Гц;

         постійного струму напругою 27 В.

До складу електропостачання входять:

а) джерела і перетворювачі електроенергії:

чотири генератори ГТ60ННЧ12Л;

два генератори ГТ40ПЧ8Б;

чотири трансформатора ТС310С04Б;

два трансформатора ТС350С04А;

чотири вирівнюючи пристрої ВУ-6Б;

чотири акумуляторні батареї 20НКБН-40Д чи 20FP38H1CT2-R чи 20НКБН-40-У3;

два перетворювача ПТС-1600;

б) розподільчі пристрої:

два ЦРУ 200/115 В;

два ЦРУ 27 В;

одна РУ 200/115 В;

- одна РУ 200/115 В і 36 В;

два РУ 200/115 В ДСУ;

одна РУ 200/115 В правого обтікача шасі;

два РУ 27 В;

два РУ 27 В обтікачів шасі;

два РУ 27 В кабіни обслуговуючого персоналу;

одна РУ 36 В;

дува РУ 200/115 В вантажних пристроїв;

в) блоки автоматики:

шість блоків БРЗУ115В;

чотири диференціально-мінімальних реле ДМР-200ВУ;

вісім автоматів АПШ-3М.

Розміщення перечисленних елементів показано на (рис.)

Рис.3.6. Схема розміщення електротехнічного обладнання по літаку

Похожие работы на - Загальна характеристика літака

 

Не нашли материал для своей работы?
Поможем написать уникальную работу
Без плагиата!
Без нейросетей!