Измеритель оптической мощности

  • Вид работы:
    Курсовая работа (т)
  • Предмет:
    Информатика, ВТ, телекоммуникации
  • Язык:
    Русский
    ,
    Формат файла:
    MS Word
    1,37 Мб
  • Опубликовано:
    2013-03-19
Вы можете узнать стоимость помощи в написании студенческой работы.
Помощь в написании работы, которую точно примут!

Измеритель оптической мощности

Введение

Для достижения требуемых параметров передачи ВОЛС и высоких эксплуатационных качеств ВОСП метрологическое обеспечение строительства и технической эксплуатации должно создавать возможность контроля практически всех операций монтажа оптических кабелей, измерения их параметров и параметров ВОЛС. Для контроля параметров оптических кабелей разработано большое количество методов измерения. Так как большинство параметров систем передачи могут определяться числовыми значениями физических величин, роль измерительной техники в телекоммуникациях трудно переоценить.

В процессе строительства и технической эксплуатации ВОЛС проводится комплекс измерений для определения состояния кабелей, линейных сооружений, качества функционирования аппаратуры линейного тракта, предупреждения повреждений, а также накопления статистических данных с целью разработки мер повышения надежности связи.

На этапе строительства ВОЛС в целях контроля качества строительства и связи измеряют следующие параметры: затухание ОВ на строительных длинах и смонтированных участках регенерации; затухание, вносимое соединениями ОВ; уровни мощности оптического излучения на выходных передающих и входных приемных электронных модулях; коэффициент ошибок. При необходимости устанавливают места повреждений.

Измерение уровней оптической мощности в процессе строительства и эксплуатации ВОЛС производится достаточно часто. Под абсолютным уровнем мощности понимают величину

где Р мощность измеряемого оптического излучения в заданной точке, мВт;  мощность нормального генератора, равная 1 мВт. Для определения уровня оптической мощности используют измерители оптической мощности.

Целью данного курсового проекта является исследование и создание устройства для измерения оптической мощности сигнала в ВОЛС.

В соответствии с целью решаются следующие задачи:

обзор методов и способов измерения затухания и оптической мощности в ВОЛС;

описание параметров измерителей оптической мощности;

обзор основных фирм по производству измерителей оптической мощности;

проектирование и изготовление измерителя оптической мощности.

затухание оптический мощность

Измерение волоконно-оптических линий связи

В процессе строительства и технической эксплуатации во ВОЛС проводится комплекс измерений для определения состояния кабелей, линейных сооружений, качества функционирования аппаратуры линейного тракта, предупреждения повреждений, а также накопления статистических данных с целью разработки мер повышения надежности связи. На этапе строительства ВОЛС в целях контроля качества строительства и связи измеряют следующие параметры: затухание ОВ на строительных длинах и смонтированных участках регенерации; затухание, вносимое соединениями ОВ; уровни мощности оптического излучения на выходных передающих и входных приемных электронных модулях; коэффициент ошибок. В группе продуктов, предназначенных для контроля и измерений на волоконно-оптических линиях, выделим несколько простейших подгрупп. К ним относятся измерители мощности оптического излучения, источники оптического излучения, оптические тестеры и аттенюаторы. Измерители мощности используются во время инсталляции, настройки и технического обслуживания систем передачи и с целью обнаружения неисправностей в ВОЛС.

С их помощью проводятся различные виды тестирования многомодовых локальных, одномодовых магистральных и городских сетей связи. Пары таких устройств применяются для двунаправленного измерения затухания при тестировании для аттестации кабельных систем. Источники оптического излучения находят применение в сочетании с измерителями оптической мощности для измерений затухания, идентификации волокон, тестирования сварок и разъемных соединений, сквозного тестирования оптических линий передачи. Основные направления использования оптических аттенюаторов - измерение границ оптических потерь сигнала; моделирования системных потерь, калибровка измерителя мощности и других инструментов тестирования.

Измерение оптической мощности и затухания

Измерение оптической мощности является метрологической основой волоконной оптики, а измерительный преобразователь оптической мощности в той или иной форме используется практически в каждом средстве измерения параметров световой волны. Различают измерение абсолютной и относительной мощности: первое - используется для определения характеристик источников и приемников оптического излучения, а второе - для измерения его ослабления, усиления, возвратных и вносимых потерь. Например, измерение абсолютной мощности оптического передатчика или чувствительности оптического усилителя (ОУ), позволяет определить запас мощности, а измерение относительной мощности позволяет установить потери ОВ, коэффициента усиления ОУ и другие. Оптическая мощность обычно определяется на основе измерений электрической мощности, так как последняя может быть точно определена по току и напряжению. Большинство лабораторий национальных стандартов, таких, как NIST (США), PTB (Германия) и NPL (Великобритания), детально исследуют этот вопрос.

Измерение оптической мощности и затухания - процедура, позволяющая определить качество оптических линий и их пригодность для передачи данных. Данное исследование необходимо для определения качества оптических линий и их влияние на работу сети в целом. Зачастую имеющиеся проблемы в сети не связывают с недостаточным качеством оптических трасс. Существует множество факторов, которые влияют на затухание сигнала в оптических линиях. Это могут быть: повреждения на трассе (нарушение технологии протяжки трассы, возникшие во время эксплуатации), низкое качество полировки разъемов, повреждения и трещины в разъемах, загрязнения. Все это касается не только самой оптической трассы, но и патч-кордов с разъемами.

Измерение оптической мощности и затухания, позволяет быстро дать ответ на вопрос о годности оптической линии, ее соответствия требуемому стандарту передачи данных. Проведя это исследование, можно исключить годные линии и провести другие исследования с выявленными не годными линиями, что позволит минимизировать затраты на экспертизу сетей.

Оптические линии, как никакие другие, должны отвечать стандартам качества, так как по ним проходят большие объемы данных в сконцентрированном виде. Некачественная оптическая линия может быть причиной значительного материального ущерба из-за потери данных, или невозможности запуска необходимых приложений (бухгалтерия-склад, связи между офисами, единая база данных и пр.).

Измерение затухания осуществляется на всех стадиях производства оптического кабеля, строительства и эксплуатации ВОЛС. Измеряют коэффициент затухания оптического кабеля, затухание строительных длин, затухание смонтированного участка регенерации, затухание соединений ОВ.

Оптическими вносимыми потерями называют отношение суммарной мощности оптического излучения на входных оптических полюсах компонента ВОСП к суммарной мощности оптического излучения на входных полюсах компонента ВОСП, выраженное в децибелах. Соответственно при измерении вносимого затухания определяют разность уровней мощности, воспринимаемой приемником излучения при его непосредственном подключении к источнику излучения, и мощности, поступающей на приемник при его включении на выходе измеряемого волокна, концы которого армированы оптическими соединителями.

Измерение уровней оптической мощности в процессе строительства и эксплуатации ВОЛС производится достаточно часто. Под абсолютным уровнем мощности понимают величину

где Р мощность измеряемого оптического излучения в заданной точке, мВт; Pн мощность нормального генератора, равная 1 мВт. Для определения уровня оптической мощности используют измерители оптической мощности.

Общий метод измерения вносимых потерь оптических элементов

Процесс измерения вносимых потерь включает два последовательно выполняемых этапа. На первом - проводится калибровка, т. е. измеряется эталонная мощность, или мощность на входе тестируемого элемента. На втором - в разрыв соединения вводится тестируемый элемент и измеряется мощность на его выходе. Величину ослабления проходящего через элемент оптического излучения (т.е. вносимые им потери) определяют как отношение измеренных значений мощности, выраженное в дБ.

Нужно учитывать, что разные типы элементов отличаются типом оптических входов и выходов (оптическими портами), требующим в ряде случаев использовать различные методы измерений. Как правило, порты оптических элементов представляют собой два оконцованных коннектором оптоволоконных шнура. Однако существует множество других типов портов, из которых в настоящее время наиболее распространены порты со шнурами с оголенным волокном и прикрепленные к корпусу элемента фланцевые коннекторы. Помимо конструктивных особенностей, оптические элементы отличаются и размерами оптических портов, которые варьируются от относительно больших размеров, порядка нескольких мм, до портов интегральных оптических элементов, составляющих несколько мкм.

Измерение мощности на выходе оптических волокон

При измерении оптической мощности на выходе стандартного одномодового ОВ с небольшой апертурой NA=0.1 обычно не возникает проблем, однако при тех же измерениях на одномодовом ОВ с тонкой сердцевиной и большой апертурой порядка 0.4 (используемом в ОУ) может возникнуть ряд сложностей. В некоторых случаях для уменьшения оптических отражений конец волокна может быть изогнут под углом, что приводит к увеличению эффективной апертуры. Учитывая, что в современных ВОСП используются различные типы ВОК, рассмотрим особенности измерения мощности на их выходе. Измерение мощности на выходе одномодовых оптических волокон Как правило, апертура ОВ для гауссовского пучка определяется углом, при котором фотодиод теряет 5% мощности излучения. Существует понятие эффективность соединения, которую можно представить в виде одноименного коэффициента (ниже rd - радиус ФД):


Заменив в (6.1-6) rz на z (расстояние между концом ОВ и ФД), что соответствует апертуре ОВ при 5%-ных потерях мощности, можно получить эффективность соединения, выраженную через апертуру:


Так, если радиус ФД равен 2,5 мм, расстояние z = 8 мм, а NA одномодового ОВ равна 0,3, то эффективность соединения составит 96%, что определяет ограничения, накладываемые апертурой.

Измерение мощности на выходе многомодовых оптических волокон

Так как апертура многомодового ОВ варьируется от 0,2 до 0,5, в зависимости от диаметра сердцевины и показателя преломления, проблемы, возникающие при его использовании, те же, что и при использовании одномодового ОВ с тонкой сердцевиной. Кроме этого многомодовое ОВ, и особенно ОВ с плавно изменяющимся показателем преломления, генерирует неравномерное оптическое излучение в отдаленной зоне, так называемые спекл-структуры, которые обусловлены взаимным влиянием мод.

Эта проблема возникает только в том случае, если источником излучения является лазерный диод, так как ширина спектра LED слишком велика для наблюдения данного эффекта. Спекл-структуры создают дополнительные погрешности, связанные с неоднородностью поверхности ФД, при которой положение и диаметр светового луча не могут точно контролироваться.

Измерение абсолютной мощности

Измерение абсолютной мощности, с точки зрения техники измерений, представляет собой простейшую процедуру, при которой источник излучения подключается непосредственно к измерителю оптической мощности, а показания снимаются в соответствии с рекомендациями руководства пользователя. Нередко для получения достоверных результатов данной процедуре предшествует этап автоматической или ручной самокалибровки. В качестве примера рассмотрим измерение мощности излучения LED, имеющих широкий спектр излучения, что приводит к дополнительной погрешности, учитывая зависимость чувствительности ФД от длины волны измеряемой мощности. В то же время, когда спектральное распределение мощности излучения LED и указанная зависимость спектральной чувствительности ФД известны, данную погрешность можно значительно снизить введением соответствующей коррекции.

Способы измерения затухания. Принцип определения затухания с помощью измерителя

Фактическая величина затухания на длине волны λ в различных разновидностях волоконно-оптических трактов и линий передачи сигналов, а также в их отдельных компонентах в соответствии с классическим подходом вычисляется следующим образом:

a = 10lgPo(λ)/PL(λ) дБ,

где Po(λ) - мощность оптического сигнала на входе тестируемого объекта, а PL(λ) - его мощность на выходе.

Таким образом, применительно к СКС мощность (уровень) оптического сигнала должна определяться на входе и выходе одного или нескольких последовательно соединенных волокон линейных и шнуровых кабелей.

Измерение мощности PL(λ) оптического сигнала на выходе не вызывает технических сложностей при характерных для современных волокон величинах числовой апертуры, поскольку размеры светочувствительной площадки ФД фотоприемника намного превышают диаметр сердцевины как многомодового, так и, тем более, одномодового световода. Определение же мощности Po(λ) - не столь простая процедура. Причина заключается в достаточно сильной зависимости данного параметра от условий ввода излучения в волокно (качество обработки торцевой поверхности, точность юстировки излучателя и его апертурные характеристики). Неопределенность увеличивается вследствие изменения модового состава оптического сигнала в сердцевине многомодового волокна, затухания мод оболочки одномодовых световодов и некоторых других эффектов. В этих условиях задача подавления нежелательных эффектов до безопасного уровня и последующей фиксации опорного или реперного (англ. reference) значения Po(λ) решается различными способами, каждому из которых соответствует свой метод измерения.

Классическая форма реализации любого метода с использованием измерителя оптических потерь представляет собой трехшаговую схему. На первых двух шагах инструментальными средствами определяется одна из характеристик Po(λ) и PL(λ). Затем по основному расчетному соотношению вручную или автоматически при помощи встроенного контроллера тестирующего оборудования вычисляется фактическая величина затухания.

Метод вносимых потерь

Метод вносимых потерь (замещения) применяется для определения потерь на разъемном соединении (рис. 4) и в оптическом кабеле.

 

Рисунок 1.1-Метод вносимых потерь.

В первом случае источник соединяется с измерителем калибровочным шнуром и измеряется уровень мощности P1. Затем последовательно с калибровочным шнуром включается тестируемый объект и измеряется значение P2. Потери ( (дБ), внесенные разъемным соединением К1, определяются по формуле


где  и  измеряются в Вт, или по формуле


где  и  измеряются в дБм. После этого измерения повторяются для второго коннектора К2 тестируемого шнура. Современные модели тестеров позволяют занести значение реперного сигнала P1 в память прибора, и в дальнейшем оно будет автоматически вычитаться из результатов измерений P2.

Во втором случае реперный уровень Р1 измеряется на двух соединенных между собой калибровочных шнурах. Затем вместо второго шнура, подключенного к приемнику, включается тестируемый кабель и фиксируется значение Р2. Величина потерь P12 определяется так же, как в первом случае. Затем выходы кабеля меняются местами и измерения повторяются, фиксируется значение P21. Потери в кабеле определяются как среднее между P12 и P21.

Тестирование соединительных шнуров и входной контроль кабеля проводятся по данному методу с помощью одного тестера или мультиметра, в то время как для измерений потерь в линии необходимо два тестера или мультиметра, по одному с каждой стороны. В последнем случае необходимо сличить показания приборов: реперный уровень P1 на измерителе первого тестера определяется по сигналу источника второго комплекта и наоборот. После этого бригады специалистов, работающие на двух противоположных концах линии, подключают последовательно ко всем волокнам кабеля сначала первый источник и второй измеритель и фиксируют значение P12. Затем подключают второй источник и первый измеритель и проводят измерения P21 во встречном направлении. Поскольку потери во встречных направлениях могут отличаться друг от друга, то результаты измерений P12 и P21 усредняются.

Измерение потерь проводится в соответствии с ГОСТ 26599-85 ("Метод измерения вносимого затухания"), ГОСТ 26814-86 ("Кабели оптические. Методы измерения параметров") и ГОСТ 28871-90 ("Аппаратура линейных трактов цифровых волоконно-оптических систем передачи. Методы измерения основных параметров"). Зарубежные аналоги данных методов измерения потерь - это EIA FOTP (Fiber Optic Test Procedure) - 171; EAI/TIA FO 2.1 OFSTP-7 (для одномодовых световодов) и OFSTP-14 (для многомодовых световодов), а также TR NWT - 000326 (рекомендации Bellcore).

Метод сопряжения волокон

Метод сопряжения волокон представляет собой одну из разновидностей метода вносимых потерь и используется для измерения затухания многоволоконных кабелей, а также построенных на их основе стационарных линий, простых и составных трактов. Определение параметра Po(λ) и мощности испытательного сигнала на выходе световода не имеет каких-либо особенностей. Характерной отличительной чертой метода является то, что благодаря специальной организации процедуры измерений источник излучения и фотоприемник измерителя не требуется размещать по разным сторонам тестируемой линии.

Суть используемого технического приема заключается в передаче по дополнительному световоду сигнала PL(λ) с дальнего конца измеряемого волокна обратно на тот конец кабеля или линии, где расположен источник излучения. Таким образом, в соответствии с идеологией метода тестирование осуществляется «по шлейфу», и на втором шаге измеритель фиксирует не PL(λ), а некоторую величину P' (λ) = PL(λ) + A' , где A' - затухание в обратном волокне шлейфа. Результат, отображаемый на индикаторе прибора, представляет собой смещенную оценку фактической величины затухания. Для устранения неопределенности, возникающей вследствие отсутствия информации о численном значении параметра A', привлекаются еще два дополнительных волокна, а полный цикл тестирования всегда состоит из трех измерений соединенных по шлейфу световодов (тестируемое измерение с каждым реверсивным и реверсивные друг с другом).

Расчетная часть процедуры тестирования выглядит следующим образом. Обозначим через AXY величину затухания шлейфа, образованного волокнами с номерами X и Y. Чтобы ошибка получаемого результата не превосходила уровень погрешности, вносимой собственно источником и приемником измерителя оптических потерь, должны выполняться следующие условия:

приемный блок измерителя обладает достаточно высоким уровнем линейности амплитудной характеристики;

потери в элементе, с помощью которого формируется шлейф из двух волокон, пренебрежимо малы по сравнению с потерями в отдельно взятых волокнах X и Y.

Математически последнее утверждение эквивалентно тому, что для указанного случая справедливо соотношение AXY = AX + AY.

Для шлейфов, образованных волокнами с номерами X, Y и Z, в результате проведения измерений находятся три значения величин потерь AXY, AYZ и AXZ. По ним удвоенная величина фактических потерь в волокне с номером X вычисляется в результате несложных математических выкладок следующим образом:

- AYZ + AXZ = (AX + AY) - (AY + AZ) + (AX + AZ) = 2AX.

Аналогично по результатам уже выполненных измерений второго этапа рассчитывают значения потерь в волокнах Y и Z.

Метод обеспечивает наибольшую эффективность при работе с линиями большой протяженности, когда из-за значительного пространственного разнесения точек подключения приборов возникают проблемы с определением опорного значения на приемном блоке измерителя оптических потерь. Основной областью его применения в СКС может считаться определение затухания линий подсистемы внешних магистралей при помощи оптического тестера или иного аналогичного одноканального прибора.

Метод сравнения

Используется для определения потерь в кабеле. Сигнал от источника при помощи равноплечного ответвителя делится на два канала, один из которых подается непосредственно на измеритель и служит реперным уровнем, а второй вводится в оптический кабель и затем на вход того же измерителя. Разница значений мощности между первым и вторым каналами дает величину потерь в кабеле. Достоинство метода - высокая точность, так как исключается влияние флуктуаций выходной мощности источника с течением времени. Используется этот метод преимущественно на заводах при выходном контроле параметров кабеля, его испытаниях и т. д.

Метод обрыва

Этот метод применяется для измерения потерь в оптических кабелях до их прокладки и оконцевания коннекторами. Он основан на сравнении уровня мощности на выходе длинного тестируемого отрезка кабеля с уровнем, измеренным на его коротком участке, который получается путем обрыва кабеля в начале измеряемого образца. Другими словами, сначала измеряется уровень P2 на выходе строительной длины кабеля.

Затем волокно обрывают вблизи источника и измеряют P1 на этом коротком участке. Потери определяются аналогично предыдущему случаю. Этот метод считается более точным, чем метод вносимых потерь, но он требует качественной подготовки торцов волокна и строгого соблюдения правил измерения.

Устройства для измерения оптической мощности. Основные сведения об измерителях оптической мощности

Оптические измерители мощности (Optical Power Meter - ОРМ) используются для измерения оптической мощности сигнала, а также для измерения затухания в кабеле. Эти измерители являются столь же распространенным прибором для инженеров, связанных с оптоволоконными системами, как мультиметр для инженеров-электронщиков.

Рисунок 2.1 -Оптический измеритель мощности "GN 6000"

Оптические измерители мощности обеспечивают как измерение кабельных линий, так и анализ работы терминального оборудования, передающего сигнал в оптическую линию. В паре со стабилизированным источником сигнала OPM обеспечивает измерение затухания - основного параметра качества оптической линии. Особенно важным классом измерений для OPM является измерение параметров узлов оптической линии (участков кабеля, интерфейсов, сварочных узлов, аттенюаторов и т.д.).

Виды измерителей оптической мощности

Можно выделить две основные группы измерителей оптической мощности:

·        измерители мощности с термофотодиодами (ТФД), основанные на измерении повышения температуры, вызванного оптическим излучением

·        измерители мощности с фотодиодами (ФД), основанные на использовании фотонов оптического излучения, генерирующих связанные пары: электрон-дырка

Хотя измерители мощности на ФД имеют небольшой диапазон рабочих длин волн, а также нуждаются в абсолютной калибровке, они используются чаще вследствие своей высокой чувствительности. Измерители мощности на ТФД предпочтительнее использовать в метрологических лабораториях ввиду их высокой стабильности и независимости показаний от длины волны оптического излучения в широком динамическом диапазоне. Кроме этого, сами ТФД могут быть непосредственно проверены при помощи измерений электрической мощности. Характеристики этих типов измерителей мощности приведены в табл. 2.1

Таблица. 2.1 Характеристики измерителей оптической мощности

Характеристики

Измерители мощности с ТFD

Измерители мощности с FD

Зависимость от длины волны

Не зависят от УФ до ИК

Зависят 2:1

Калибровка

возможна самокалибровка

необходима

Чувствительность

низкая (порядка 1 мкВт)

высокая (менее 1 мкВт)

Точность

±1%

±2%


Измерители мощности с термофотодиодами

Известны различные принципы измерения оптической мощности с помощью ТФД, наиболее распространенный из них основан на радиометрическом методе замещения, являющемся в общем случае методом автокалибровки. Согласно этому методу измеритель мощности сначала подвергается воздействию оптического излучения, а затем излучение отсекается (при помощи шторки или прерывателя) и заменяется электрическим источником, мощность которого контролируется так, чтобы поддерживать постоянную температуру. Так как электрическая мощность может быть измерена с высокой точностью, то обеспечивается высокая точность данного метода измерения оптической мощности.

В этом методе поглощающий слой, например, поверхность, покрытую черной краской, сначала облучают падающим светом, а затем нагревают его резистором, имеющим контакт с поглощающим слоем. Одна сторона резистора имеет изолированный слой серебра, покрытого черной краской для уравнивания колебаний температуры. Температура измеряется при помощи термобатареи (последовательно соединенных термоэлементов, расположенных в непосредственной близости от серебряной пластины), вырабатывающей напряжение, пропорциональное разности температур между поглощающим слоем и поверхностью с достаточно большой тепловой массой. Нелинейность метода не рассматривается, так как основой является достижение равенства температур для двух типов возбуждения. Необходимо, однако, обеспечить следующее:

·        Необходимую площадь поверхности с большой тепловой массой для поддержания постоянной температуры во время измерения;

·        Блокирование фонового и рассеянного светового излучения;

·        Оптимизацию теплового потока между поглощающим слоем и нагревателем;

·        Высокую поглощающую способность поверхности;

·        Точное измерение электрической мощности

Другая реализация данного метода основана на том, что вместо последовательного оптического и электрического воздействия, ТФД непрерывно электрически нагревается, потребляя мощность несколько большую оптической мощности, которую предстоит измерить, при этом фиксируется напряжение на ТФД. Затем он подвергается оптическому воздействию, а электрическая мощность уменьшается посредством обратной связи до тех пор, пока напряжение на ТФД не станет таким же, как и прежде. Результат измерения оптической мощности представляет собой разницу значений электрической мощности в этих двух процедурах (в измерении напряжения на ТФД нет необходимости). Наибольшая трудность при использовании ТФД заключается в их низкой чувствительности и большой продолжительности измерения (постоянная времени от нескольких секунд до нескольких минут в зависимости от размера ТФД). Лучшие результаты возможны при использовании термочувствительных элементов, выполненных на полупроводниковых материалах. Такие характеристики позволяют использовать тепловые измерители мощности для проведения калибровки, для других измерений в волоконно-оптической технике они используются довольно редко.

Особым типом теплового измерителя мощности является криогенный радиометр, представляющий собой ТФД, помещенный в вакуум и охлажденный жидким гелием до 6° К. Криогенные радиометры являются наиболее точными измерителями мощности благодаря тому, что:

·        при 6° К энергия, необходимая для увеличения температуры на 1° К, значительно снижается, что уменьшает постоянную времени и, следовательно, время измерения;

·        тепловое излучение соединительных проводов резистора, может устранить, сделав их сверхпроводящими;

·        потери от тепловой конвекции устраняются путем эксплуатации ТФД в вакууме

На практике криогенные радиометры при измерении мощности позволяют достичь погрешности, равной ±0,01%, однако вследствие высокой стоимости оборудования и сложности его эксплуатации они обычно используются только в национальных калибровочных лабораториях.

Измерители мощности с фотодиодами

Большим преимуществом ФД является то, что они способны измерять модулируемую высокочастотную мощность уровня менее 1 пВт (-90 дБм), однако из-за значительной зависимости от длины волны их полоса пропускания обычно не превышает одной октавы. Тем не менее, на сегодняшний день вследствие высокой чувствительности, малой инерционности и простоты использования ФД является наиболее распространенным фоточувствительным элементом. Эти элементы широко используются в большинстве измерительных средств, применяемых в телекоммуникациях.

Исходя из функционального назначения ФД, при их рассмотрении пользуются понятием чувствительности, так как в результате воздействия оптического излучения на ФД он создает фототок, интенсивность (оптическая мощность) которого пропорционально числу фотонов. Согласно, чувствительность ФД определяется отношением фототока к оптической мощности:


а при наличии усиления M выражением:

Используя выражение для оптической мощности фотона за время Dt при частоте световой волны v, вместо (6.1-1) получим:


где h - постоянная Планка, c - скорость света, e - заряд электрона; h- квантовая эффективность, равная 1 для PIN-диода, l - длина волны

Мгновенное значение тока фотодиода определяется выражением:


где E(t)-напряженность поля излучения.

На практике ФД отклоняются от этой зависимости, так как:

·        существует верхняя критическая длина волны, за пределами которой энергия фотона становится ниже энергии запрещенной зоны п/п материала, что приводит к резкому снижению чувствительности

·        при короткой длине волны некоторые фотоны поглощаются за пределами i-области фотодиода

·        происходит снижение чувствительности вследствие промежуточной рекомбинации

·        любые отражения от поверхности или внутри фотодиода уменьшают чувствительность

Последний фактор очень важен, так как отражения могут создавать значительные погрешности при измерении оптической мощности и вносимых потерь. Так, чистый InGaAs имеет показатель преломления, равный 3,5, что приводит к 31% отражений, для уменьшения которых обычно используются антиотражательные, например, четвертьволновые однослойные покрытия. Они уменьшают уровень отражений до 1% в пределах ограниченного диапазона длин волн. Если такой уровень отражений необходим в более широком диапазоне длин волн, используют многослойные покрытия. Следует отметить, что в некоторых случаях наблюдается периодическая структура отражений, что приводит к возникновению трудно устранимых оптических помех.

Параметры измерителей оптической мощности

Основными параметрами OPM являются:

·        тип детектора

·        линейность усилителя

·        точность и график необходимой калибровки

·        динамический диапазон

·        точность и линейность работы

·        возможность поддержки различных оптических интерфейсов

·        Оптический детектор

Наиболее важным элементом оптического измерителя мощности является оптический детектор, который определяет характеристики самого прибора.

Рисунок 2.2 - Схема устройства оптического измерителя мощности

Оптический детектор представляет собой твердотельный фотодиод, который принимает входной оптический сигнал и преобразует его в электрический сигнал заданной интенсивности. Полученный электрический сигнал идет через АЦП на сигнальный процессор, где производится пересчет полученного электрического сигнала в соответствии с характеристикой твердотельного фотодиода в единицы измерений (дБм или Вт), представляемые затем на экране прибора (рисунок 2.2). Для обеспечения стабильной работы твердотельного фотодиода используется термостабилизирование. Основной характеристикой прибора является характеристика зависимости выходного сигнала фотодиода от мощности входного оптического сигнала на разных длинах волн, точнее равномерность этой характеристики. В зависимости от этого сигнальный процессор в большей или меньшей степени должен компенсировать возможную нелинейность характеристики. В результате, если характеристика фотодиода сильно неравномерна, для ее компенсации сигнальный процессор должен иметь более сложную структуру. С другой стороны, более высокотехнологичный фотодиод будет иметь более равномерную характеристику, при этом сигнальный процессор может быть довольно простым.

При разработке OPM основным вопросом является выбор "золотой середины" между стоимостью высокотехнологичного фотодиода и сложностью/стоимостью сигнального процессора. Необходимо также учитывать, что некачественный фотодиод может иметь низкую стабильность характеристики по времени, что потребует регулярной калибровки прибора. Другой важной характеристикой фотодиодов является спектральная характеристика, т.е. зависимость эффективности работы фотодиода от длины волны передаваемого сигнала, где эффективность работы фотодиода определяется отношением тока на выходе к мощности принимаемого сигнала. Эта характеристика определяет диапазон использования различных фотодиодов в приборах. На рис. 2.3. представлены характеристики для трех основных типов фотодиодов: кремниевого (Si), германиевого (Ge) и на основе сплава арсенида галлия (InGaAs).

Рисунок 2.3 - Характеристики зависимости выходного сигнала фотодиода от длины волны принимаемого сигнала

Из рисунка видно, что кремниевый фотодиод может с успехом использоваться при измерениях оптического сигнала от 800 до 900 нм. На практике, оптические измерители мощности, использующие этот тип детектора калиброваны на более широкий диапазон - от 400-450 до 1000 нм. Для измерений в одномодовых волоконных кабелях 1310 и 1550 нм, получивших наибольшее распространение в современных системах связи, обычно используются германиевые детекторы или фотодиоды на основе сплава InGaAs (таблица 2.2). Соответственно, OPM , использующие эти фотодиоды, калиброваны в диапазонах от 780 до 1600 нм для Ge и от 800 до 1700 нм для InGaAs. Учитывая, что детекторы на основе Ge и InGaAs имеют сходную полосу пропускания, возникает закономерный вопрос о преимуществах и недостатках того или другого фотодиода. Из рисунка видно, что детекторы на основе InGaAs имеют более широкий спектр измерения по длинам волн, что позволяет создавать универсальные OPM , калиброванные на все три длины волны: 850, 1310 и 1550нм.

Таблица 2.2 -Типы детекторов OPM в зависимости от длины волны в ВОСП


Важным параметром ОРМ является устойчивость его работы при различных уровнях шумов. Основные источники шумов в оптических детекторах - квантовый шум, остаточный ток и поверхностный ток утечки. Квантовый шум обусловлен статистической конверсией фотонов в электроны на поверхности детектора. Остаточным током называется поток заряженных частиц при отсутствии светового сигнала. Ток утечки зависит от наличия дефектов на поверхности детектора, чистоты поверхности и напряжения смещения. У детекторов на основе сплава InGaAs остаточный ток намного меньше, чем у детекторов на основе Ge.

Рисунок 2.4 - Оптический измеритель мощности FOD 1202

Дополнительным фактором увеличения уровня шумов является температура (температурный шум). Так, например, остаточный ток детекторов на основе Ge значительно зависит от температуры, в то время как для детекторов InGaAs он практически не зависит от нее. Таким образом, OPM на основе детекторов InGaAs могут устойчиво работать в широком диапазоне температур без необходимости дополнительной стабилизации. В то же время детекторы на основе InGaAs являются довольно дорогими, что обеспечило высокое распространение OPM на основе Ge при прокладке и эксплуатации оптических кабелей в полевых условиях, поскольку такие OPM имеют эффективное соотношение цена/качество. OPM на основе InGaAs используются в основном в лабораториях для проведения измерений с высокой точностью, но могут успешно использоваться и при эксплуатации.

Рисунок 2.5 - Оптический измеритель мощности FOD 1204

Другим важным параметром OPM является принцип работы усилителя электрического сигнала детектора, который оказывает влияние на линейность работы OPM, его чувствительность и функциональность.

В практике современной техники усиления используются два основных принципа усиления:

·        логарифмическое

·        линейное

Использование логарифмического усиления не обеспечивает должной точности измерений и характеризуется рядом недостатков. Обычно OPM представляет результаты измерений в дБм или в Вт, приборы с логарифмическим усилителем не позволяют представлять результаты измерений в Вт, а технология логарифмического усиления, использующая обычно транзисторный р-n переход, приводит к дополнительной зависимости работы усилителя от температуры. Для проведения измерений на нескольких длинах волн логарифмические усилители требуют до 4-6 потенциометров, что также приводит к нежелательным последствиям в результате окисления потенциометров. Таким образом, использование принципов логарифмического усилителя приводит к низкой точности ОРМ и необходимости частой калибровки прибора.

Рисунок 2.6 - Оптический измеритель мощности "LP 5000"

Всех перечисленных недостатков практически лишены усилители, построенные на основе линейного усиления. Обычно они хорошо стабилизированы, что дает возможность компенсировать как ошибки начального сдвига, так и сдвиг сигнала в процессе измерений из-за климатических и прочих причин. Современные OPM содержат специально калиброванные данные в EEPROM, которые используются в режиме автокалибровки линейных усилителей в процессе измерений.

Рисунок 2.7 - Оптический измеритель мощности "PM 1100"

Точность измерений и график калибровки

Точность измерений и график калибровки для оптических измерителей мощности является еще одним важным параметром, поскольку в зависимости от точности изготовления детектора и параметров работы усилителя его характеристики могут изменяться. Этот параметр определяет стабильность работы прибора в процессе эксплуатации. Как уже отмечалось выше, приборы имеющие линейный усилитель и систему автокалибровки, являются предпочтительными еще и потому, что не требуют частой поверки.

Рисунок 2.8. Оптический измеритель мощности "АЛМАЗ 21"

Динамический диапазон

Наиболее существенными характеристиками OPM , которые необходимо учитывать при выборе приборов, являются динамический диапазон, разрешающая способность и линейность работы. Все перечисленные параметры напрямую связаны с описанными выше параметрами элементов OPM и особенно важны при выборе оборудования.

Линейность и точность

Самым важным критерием выбора ОРМ являются линейность его работы и точность. Под точностью понимается метрологическая точность, т.е. соответствие между измеренным значением параметра и значением, измеренным эталонным калиброванным прибором. Линейность прибора определяется стабильностью результатов измерений в зависимости от уровня сигнала, температуры, разрешения по длине волны и т.д.

Возможность поддержки различных оптических интерфейсов

Возможность поддержки различных оптических интерфейсов в современных оптических системах передачи также является важным условием выбора прибора. Современные оптоволоконные сети используют различные оптические интерфейсы. Наиболее распространенные типы оптических интерфейсов представлены на рисунке 2.9.

Рисунок 2.9 - Наиболее распространенные типы оптических интерфейсов

Все перечисленные параметры определяют характеристики оптических измерителей мощности, представленных на отечественном рынке.

Обзор устройств для измерения оптческой мощности

В настоящее время на российском рынке представлены измерительные приборы для волоконной оптики от десятков производителей и, большинство из них - иностранного производства. В таблице 2 представлены характеристики измерителей мощности от различных производителей.

Таблица 2.3 - Основные характеристики оптических измерителей мощности


Обзор существующих конструкций оптических тестеров

Оптические тестеры - приборы, предназначенные для измерения параметров трактов оптических систем связи. Этот вид измерительной техники представлен широким спектром приборов отличающихся по функциональным возможностям и набором измеряемых величин. В основном тестеры имеют в своем составе передающую часть с источником оптического излучения и приемную часть, содержащую фотоприемник и индикатор измеряемых величин. Передающие и приемные части могут быть выполнены как в составе одного прибора, так и независимо, в виде различных устройств.

Как правило, тестеры позволяют измерять мощность и (или) уровень мощности оптических сигналов. Некоторые тестеры обладают рядом дополнительных функций. Некоторые тестеры (в том числе тестер российского производства ОМК3-76) позволяют осуществлять телефонную связь по световоду.

Рассмотрим конструкции некоторых оптических тестеров. Возьмем для рассмотрения приборы, выполненные по разным технологиям и разными фирмами производителями. Для рассмотрения предлагается тестер российского производства ОМК3-76, так как он достаточно известен и широко применяется при измерениях, а также приборы фирмы Siemens и фирмы 3М.

Тестер ОМК3-76

Тестер оптический ОМК3-76 предназначен для измерения средней мощности оптического излучения в трактах световодных систем и генерирования оптического излучения на длинах волн (0.85-0.1)мкм и (1.3-0.1)мкм.

Тестер состоит из нескольких блоков: блока индикации (основного блока), блоков светодиодного (СИД) и лазерного (ЛД) преобразователей, блока фотопреобразователя (ФП). Блоки СИД, ЛД и ФП выпускаются либо для диапазона 0.85 мкм либо для диапазона 1.3 мкм. Способность тестера работать в диапазоне волн 0.85 мкм или 1.3 мкм зависит от конкретной комплектации прибора.

Тестер 0МК3-76 обладает следующими техническими характеристиками:

·   Длина волны оптического излучения:

на выходах преобразователей СИД-0.85 и ЛД-0.85 (0.85±0.1)мкм;

на выходах преобразователей СИД-1.3 и ЛД-1.3 (1.3±0.1)мкм.

·   Мощность непрерывного немодулированного излучения:

на выходном разъеме преобразователя СИД-0.85 не менее 10 мкВт;

на выходном разъеме преобразователя ЛД-0.85 не менее 300 мкВт;

на выходном разъеме преобразователя СИД-1.3 не менее 1 мкВт;

на выходном разъеме преобразователя ЛД-1.3 не менее 300 мкВт.

·   Частота модуляции прямоугольно модулированного со скважностью 2±0.2 оптического излучения от встроенного генератора 269.9-270.1 Гц.

·   Длина волны калибровки измерителя мощности оптического излучения:

с фотопреобразователем ФП-0.85 (0.85±0.1) мкм;

с фотопреобразователем ФП-1.3 (1.3±0.1) мкм.

·   Диапазоны измерения средней мощности непрерывного излучения:

на длине волны (0.85±0.1) мкм от 10-8 до 10-3 Вт (от -50 до 0 дБм);

на длине волны (1.3±0.1) мкм от 10-7 до 10-3 Вт (от -40 до 0 дБм);

·   Пределы допускаемого значения погрешности относительных измерений уровней мощности:

в диапазоне измеряемых мощностей от 10-8 до 10-3 на длине волны (0.85±0.1) мкм ±10%;

в диапазоне измеряемых мощностей от 10-7 до 10-3 на длине волны (1.3±0.1) мкм ±15%.

·   Питание: автономный источник постоянного тока (устанавливаемая батарея из 10 элементов) или внешний источник постоянного тока напряжением 12±1.5 В.

·   Габаритные размеры прибора (блока индикации) 80´228´308 мм.

·   Масса (блока индикации) 5 кг.

Структурная схема приемной части оптического тестера ОМК3-76 приведена на рис. 2.2. Прибор состоит из аналоговой и цифровой частей. К аналоговой части относятся фотопреобразователь, предварительный усилитель, основной усилитель и логарифмирующее устройство (логарифмирующий усилитель). Цифровая часть представлена аналого-цифровым преобразователем (АЦП). АЦП предназначен для преобразования напряжения эквивалентного мощности (или уровню по мощности) входного оптического сигнала в код используемый для работы цифрового индикатора.

Принцип действия прибора при измерении оптической мощности основан на преобразовании излучения фотоприемником в электрический сигнал.

Для измерения на диапазонах волн 0.85 мкм и 1.3 мкм фотоприемниками служат кремниевый и германиевый фотодиоды. При измерении оптической мощности в единицах «Вт» электрический сигнал фотоприемника усиливается предварительным усилителем. Предварительный усилитель обладает малым уровнем собственных шумов и имеет дискретно переключаемый коэффициент усиления. Переменный коэффициент усиления предварительного усилителя позволяет разбить измеряемый диапазон мощностей на несколько поддиапазонов для повышения точности измерения при малых входных мощностях. Затем сигнал усиливается основным усилителем, после чего он поступает на вход АЦП. В АЦП формируется двоичный код, значение которого пропорционально напряжению на выходе основного усилителя. Из двоичного кода с помощью дешифратора (находящегося в АЦП) формируются сигналы необходимые для работы цифрового индикатора.

При измерении уровня оптического излучения электрический сигнал фотоприемника так же усиливается предварительным, а затем основным усилителями. Но после усиления он не подается непосредственно на вход АЦП, так как в этом случае показания индикатора линейно соответствуют сигналу на выходе фотоприемника, а при измерении уровня сигнала между показаниями индикатора и сигналом на выходе фотоприемника должна быть зависимость вида:

, дБм (2.1)

где pинд - показания на индикаторе уровня по мощности;

UФП - напряжение на выходе фотопреобразователя пропорциональное мощности оптического сигнала на входе фотопреобразователя;

k - коэффициент пропорциональности зависящий от коэффициента усиления усилителей (подбирается при калибровке прибора);

UОП - опорное постоянное напряжение (подбирается при калибровке прибора).

Для решения этой задачи между выходом усилителя и входом АЦП стоит логарифмирующее устройство. Схемотехнически логарифмирующее устройство представляет собой операционный усилитель с выполненной определенным образом обратной связью. При соответствующей настройке схемы приемной части оптического тестера в целом, прибор выполняет следующую функцию:

, дБм (2.2)

где pинд - показания на индикаторе уровня по мощности;

Pопт - мощность оптического сигнала на входе фотопреобразователя;

P0 - мощность равная 1 мВт и соответствующая нулевому уровню сигнала.

Приборы фирмы Siemens

Фирма Siemens выпускает широкий спектр приборов предназначенных для измерения мощности оптических сигналов. Эти цифровые приборы отличаются компактностью, надежностью, низким энергопотреблением. Рассмотрим некоторые из них.

К2402 - измеритель уровня мощности оптического сигнала. Выполнен в виде компактного переносного прибора. Имеет трехразрядный жидкокристаллический индикатор. Внешний вид показан на рис. 2.3а. Выпускается в пяти модификациях. Имеет следующие технические характеристики:

·   Длина волны измеряемого оптического сигнала:

К2402-0.B - 0.85 мкм;

К2402-0.D - 0.85 мкм , 1.3 мкм;

К2402-0.G - 1.3 мкм , 1.55 мкм;

К2402-0.A - 0.85 мкм , 1.3 мкм , 1.55 мкм;

К2402-0.M - 0.67 мкм , 0.85 мкм.

·   Динамический диапазон измеряемых уровней мощности оптического сигнала:

К2402-0.B - от -50 до +3 дБ;

К2402-0.D - от -45 до +3 дБ;

К2402-0.G - от -50 до +3 дБ;

К2402-0.A - от -45 до +3 дБ на длине волны 0.85 мкм; от -50 до +3 дБ на длине волны 1.3 мкм и 1.55 мкм;

К2402-0.M - от +3 до -50 дБ.

·   Разрешающая способность индикатора 0.1 дБ.

·   Питание осуществляется от батареи напряжением 9 В в течении более чем 120 часов.

·   Габаритные размеры 60 мм ´ 110 мм ´ 30 мм.

·   Вес 0.17 кг.

К2401 и К2410 - приборы позволяющие измерять мощность и уровень по мощности оптического сигнала. На передней панели компактного корпуса расположен четырехразрядный жидкокристаллический дисплей и кнопки переключения режимов. Внешний вид приборов показан на рис. 2.3б. Приборы имеют следующие технические характеристики:

·   Длина волны измеряемого оптического сигнала 0.85 мкм, 1.3 мкм, 1.55 мкм.

·   Диапазон измеряемой мощности оптического сигнала:

К2401 - от 1 нВт до 10 мВт;

К2410 - от 1 нВт до 100 мВт.

·   Диапазон измеряемых уровней мощности оптического сигнала:

К2401 - от -60 до +10 дБ;

К2410 - от -60 до +20 дБ.

·   Разрешающая способность индикатора 0.01 дБ.

·   Питание от встроенной аккумуляторной батареи (в течении около 24 часов) или внешнего блока питания.

·   Габаритные размеры 85 мм ´ 150 мм ´ 34 мм.

·   Вес 0.36 кг.

К вышеперечисленным приемникам оптического излучения фирма Siemens выпускает источники оптического излучения - К2500, К2501, К2502, К2503, К2504, К2505. Источники позволяют вводить в волокно через стандартный оптический разъем постоянное или модулированное оптическое излучение. Приборы выпускаются в компактных переносных корпусах. На верхней панели имеется переключатель режимов работы и индикатор разряда батарей. Внешний вид приборов приведен на рисунке 2.3в. Приборы имеют следующие технические характеристики:

·   Источник излучения

К2500, К2501, К2502 - светодиод;

К2503, К2504, К2505 - лазерный диод.

·   Длина волны оптического излучения:

К2500 - 0.85 мкм ± 0.02 мкм;

К2501 - 1.3 мкм ± 0.02 мкм;

К2502 - 0.85 мкм ± 0.02 мкм, 1.3 мкм ± 0.02 мкм;

К2503 - 1.3 мкм ± 0.02 мкм;

К2504 - 1.55 мкм ± 0.02 мкм;

К2500 - 1.3 мкм ± 0.02 мкм, 1.55 мкм ± 0.02 мкм.

·   Ширина спектра оптического излучения:

К2500 - £ 50 нм;

К2501 - £ 140 нм;

К2502 - £ 50 нм при длине волны 0.85 мкм и £ 140 нм при длине волны 1.3 мкм;

К2503 - £ 7 нм;

К2504 - £ 15 нм;

К2500 - £ 7 нм при длине волны 1.3 мкм и £ 15 нм при длине волны 1.55 мкм.

·   Уровень мощности выходного оптического излучения:

К2500 - ³ -21 дБ для многомодовых волокон;

К2501 - ³ -21 дБ для многомодовых волокон и ³ -38 дБ для одномодовых волокон;

К2502 - ³ -21 дБ для многомодовых волокон и ³ 38 дБ для одномодовых волокон;

К2503 - ³ -5 дБ для одномодовых волокон;

К2504 - ³ -5 дБ для одномодовых волокон;

К2505 - ³ -5 дБ для одномодовых волокон.

·   Частота модуляции интенсивности оптического излучения 2 кГц.

·   Электропитание осуществляется от встроенных аккумуляторных батарей (в течении более 8 часов от одной зарядки).

·   Габаритные размеры 93 мм ´ 158 мм ´ 32 мм.

·   Вес 0.25 кг.

K2302 - универсальный прибор, содержащий источник и приемник оптического излучения. Позволяет измерять мощность и уровень по мощности оптического излучения. Выполнен в виде компактного ручного переносного прибора с жидкокристаллическим дисплеем. Дисплей позволяет отображать положительные или отрицательные четырехразрядные десятичные числа с десятичной точкой, а также отображает текущие режимы работы прибора (работа в режиме измерения мощности или уровня, включение источника излучения, индикация разряда батареи.). Оптическое волокно к прибору подключается с помощью разъемов расположенных в верхней части корпуса. Внешний вид прибора показан на рис. 2.3г. Прибор имеет следующие технические характеристики:

·   Длина волны выходного оптического излучения 0.85 мкм.

·   Ширина спектра выходного оптического излучения £ 50 нм.

·   Выходной уровень оптического излучения ³ -25 дБм.

·   Диапазон измеряемой мощности оптического сигнала от 1 нВт до 10 мВт.

·   Диапазон измеряемых уровней мощности оптического излучения от -60 дБ до +10 дБ.

·   Предел допускаемого значения погрешности при измерении уровня мощности 5% при 20 дБм.

·   Разрешающая способность индикатора 0.01 дБ.

·   Электропитание осуществляется от встроенных аккумуляторных батарей или от внешнего блока питания.

·   Продолжительность работы прибора от внутренних источников электропитания 24 часа с выключенной передающей частью и 6 часов со включенной передающей частью.

·   Габаритные размеры 85 мм ´ 150 мм ´ 34 мм.

·   Вес 0.36 кг.

Оптический тестер 23XT фирмы 3M

Фирма 3М выпускаем миникомплекм оптического тестера 23XT состоящий из источника оптического излучения 2XT (выпускается в двух модификациях 2XT8513 и 2XT1315) и измерителя уровня мощности 3XT. Созданные с использованием передовых технологий, они надежны и имеют размеры колоды игральных карт. Приборы вместе со шнурами и переходниками укладываются в небольшой чемоданчик для удобства переноски. Внешний вид приборов показан на рисунке 2.4. Приборы имеют следующие технические характеристики:

·   Длина волны выходного оптического излучения:

2XT8513 - 0.85 мкм, 1.3 мкм;

XT1315 - 1.3 мкм, 1.55мкм.

·   Уровень мощности выходного оптического излучения:

2XT8513 - -10 дБ на длине волны 0.85 мкм, -20 дБ на длине волны 1.3 мкм;

XT1315 - -20 дБ на длине волны 1.3 мкм, -35 дБ на длине волны 1.55 мкм.

·   Длина волны входного оптического излучения 0.85 мкм, 1.3 мкм, 1.55 мкм.

·   Диапазон измеряемых уровней мощности оптического излучения от -50 дБ до +3 дБ.

·   Разрешение индикатора 0.1 дБ.

·   Электропитание осуществляется от встроенных батарей напряжением 9 В.

·   Габаритные размеры 70 мм ´ 110 мм ´ 30 мм.

·   Вес 0.3 кг.

Измеритель уровня оптической мощности OPM-7 фирмы Philips

OPM-7 - измеритель уровня оптической мощности. Выполнен в виде ручного компактного прибора. Имеет ударопрочный алюминиевый корпус, покрытый вспененным полиуретаном. На передней панели корпуса расположен трехразрядный цифровой индикатор и кнопки переключения режимов работы. Оптическое волокно подключается к прибору через оптический разъем или адаптер открытых волокон. Внешний вид прибора показан на рисунке 2.5. Отличительной особенностью прибора является возможность выбора измеряемой длины волны в диапазоне 0.85..1.8 мкм через каждые 20 нм. Измеритель уровня имеет следующие технические характеристики:

·   Динамический диапазон измеряемого уровня оптической мощности -60..+5 дБ.

·   Измеряемые длины волн - 0.85 мкм, 1.3 мкм, 1.55 мкм, с возможностью переключения через каждые 20 нм.

·   Максимальная ошибка измерений на длине волны 0.85 мкм - 0.6 дБ при уровне сигналов от +5 до -42 дБ и 0.8 дБ при уровне сигналов от -42 дБ до -52 дБ; на длинах волн 1.3 мкм и 1.55 мкм - 0.6 дБ при уровне сигналов от +5 дБ до -50 дБ и 0.8 дБ при уровне сигналов от -50 дБ до -60 дБ.

·   Разрешение индикатора 0.1 дБ.

·   Электропитание осуществляется от встроенной батареи напряжением 9 В.

·   Время непрерывной работы от батареи более 56 часов.

·   Габаритные размеры 187´87´54 мм.

·   Вес 0.4 кг.

Изготовление измерителя оптической мощности

Изготовленный измеритель оптической мощности является аналоговым устройством, позволяющим измерять оптическую мощность излучения в диапазоне от 0,001 до 250 мВт. Далее приведен технический паспорт измерителя оптической мощности.

Настоящий паспорт позволяет ознакомиться с устройством и принципом работы измерителя оптической мощности и устанавливает правила его эксплуатации, соблюдение которых обеспечивает поддержание его в постоянной готовности к действию.

. Назначение

.1. Измеритель оптической мощности (далее по тексту Изделие) предназначен для измерения средней мощности оптического излучения на выходе волоконно-оптического кабеля.

.2. Тестер предназначен для работы при температуре от +10 до +35, относительной влажности воздуха 80 %, атмосферном давлении от 86 до 106 Па.

.3. Питание тестера осуществляется от двух батареек с общим напряжением 6В.

. Основные технические данные и характеристики

.1. Габаритные размеры тестера не более:

Длина……………..165 мм

Ширина……………120мм

Высота……………..60мм

Масса, не более………1кг

.2. Электрические и оптические параметры:

Диапазон измеряемых мощностей …….0,001 ...250 мВт

Пределы допускаемой погрешности при измерении мощности излучения не более……....30%

Рабочая длина волны, фиксированная в диапазоне……0,8 …0,9 мкм

Прибор откалиброван на длине волны…0,85мкм

. Устройство и работа

В основе работы Изделия лежит принцип преобразования фотодетектором оптического сигнала в электрический и измерении его величины.

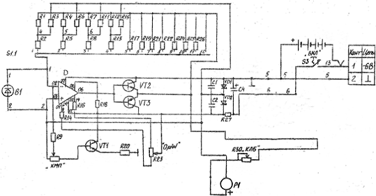
Схема электрическая принципиальная приведена в приложении 1

Электрическая схема Изделия реализована на полупроводниковых приборах и интегральной схеме. В качестве фотодетектора используется фотодиод ФД-256 в фотовентильном включении (без смещения).

Сигнальный ток фотодиода поступает на вход преобразователя «ток-напряжение», выполненного на интегральном операционном усилителе D 140УД12 в инвертирущем включении. Двухтактный эмиттерный повторитель на транзисторах VТ2 и VТ3 служит для увеличения нагрузочной способности операционного усилителя D и для согласования его выходного сопротивления с сопротивлением цепи обратной связи и сопротивлением индикатора PI. Напряжение с выхода преобразователя через переключатель рода работы S2 и потенциометры R29 и R30 поступает на стрелочный индикатор PI в качестве которого используется тестер YX-1000A со шкалами градуированными непосредственно в микроваттах.

Для компенсации входного тока утечки операционного усилителя используется цепочка R9,R10,R18,R20 и VT1. Резистор R23 используется для балансировки операционного усилителя.

Переключателем пределов измерений S1.1 осуществляется коммутация резисторов R1….R8,R11….R13,R17,R19,RP1….R26 в цепи обратной связи преобразователя «ток-напряжение», при этом чувствительность преобразователя меняется с шагом 5 дБ.

Конструктивно Изделие выполнено в сборном металлическом каркасе, состоящем из крышки и корпуса. Крышка Изделия является панелью управления, на который расположены органы управления Изделием.

. Особенности эксплуатации и указание мер безопасности

.1. В помещении, где установлен прибор, не должно быть вибраций, сильных электромагнитных полей, повышенной влажности и запыленности воздуха.

.2. Перед каждым измерением необходимо промывать этиловым ректификатным спиртом поверхности оптических деталей и измеряемого объекта.

.3. По окончании измерений ко входу и выходу прибора необходимо подсоединить заглушки для защиты от пыли.

.4. Не допускаются механические удары по корпусу прибора.

.5. Для замены элементов питания необходимо перевернуть прибор корпусом вверх и открыть крышку батарейного отсека.

.6. Наладочные работы, осмотры и ремонт производить только после отключения тестера от сети питания.

.7. При работе с Изделием необходимо оберегать глаза от попадания инфракрасного - излучения светодиода.

. Подготовка к работе

.1. Расположение органов управления и основных узлов на внешнем виде Изделия (рисунок 3.1).

Рисунок 3.1 - Органы управления и основные узлы измерителя оптической мощности

Цифрам на рисунке соответствует:

-переключатель диапазона измерений (11 позиций);

-электрический корректор «установка нуля»;

-грубая настройка;

-точная настройка;

-включение/выключения питания;

-измерительная шкала.

.2. К оптическому входу подключите заглушку.

.3. Установите ноль стрелочного индикатора механическим корректором

.4. Включите питание Изделия переключателем «Вкл.-Выкл».

.5. Переключатель пределов измерений установите в положение 1000, нажмите кнопку ««, установите нуль стрелочного индикатора электрическим корректором «Установка нуля», расположенном на панели управления.

.6. Переключатель пределов переведите в положение 0,01 и при необходимости установите нуль стрелочного индикатора, вращая ручки потенциометров «грубая/точная настройка».

.7. Переключатель пределов переведите в исходное положение 1000.

. Порядок работы

.1. Измерение средней мощности излучения на выходе волоконно-оптического кабеля.

.1.1. От оптического входа отключите заглушку и подсоедините к нему выход волоконно-оптического кабеля, оканчивающегося разъемом: для подключения кабеля без разъема используется специальная втулка, в которую вводят до упора предварительно разделанный выходной конец кабеля.

.1.2. Изменяя положение переключателя пределов измерения, выберите предел, удобный для отсчета показания по шкале индикатора.

.1.3. Произведите отсчет результата измерений по показаниям стрелочного индикатора.

.1.4. Переключатель пределов установите в исходное положение «1000», отсоедините оптический кабель от входа прибора, закройте оптический вход заглушкой.

Результаты испытаний прибора, оценка погрешности

Для оценки точности измерений производимых измерителем оптической мощности были проведены испытания.

Задача испытаний состояла в определении относительной погрешности измерений производимых прибором.

В качестве источника оптического сигнала использовались светоизлучающий диод (от лазерной указки) и лазерный диод. Через отрезок оптического волокна длиной около 1 метра оптическое излучение подавалось на вход измерителя оптической мощности. Измерения проводились 7 раз. Статистическая обработка полученных результатов проводилась следующим образом:

По результатам 7 измерений находим среднее значение показаний pизм по формуле:

, дБм (3.1)

где n - количество измерений, n=7;изм i - показания прибора во время i-го измерения, дБ.

Далее находим относительную погрешность измерений D по формуле:

, дБм (3.2)

где pэт - эталонное значение уровня мощности, дБ.

Зная относительную погрешность D, абсолютную погрешность измерений d рассчитываем по формуле:

, %. (3.3)

Испытания прибора проводились 2 раза при различных условиях. Первое испытание производилось с источником оптического излучения содержащего светоизлучающий диод. Эталонное значение уровня мощности оптического излучения при этом было pэт=-5.2 дБ. Результаты испытания 1 и результаты расчета погрешностей приведены в таблице 3.1.

Расчет  по формуле 3.1:

 дБм

Расчет по формуле 3.2:

дБм

Расчет d по формуле 3.3:

Таблица 3.1 - Результаты испытаний 1.

pэт, дБм

pизм, дБм

pизм, дБм

D, дБм

d ,%


1

2

3

4

5

6

7




-5.2

-5.3

-5.2

-5.3

-5.2

-5.4

-5.4

-5.3

-5.3

0.1

1.9


Второе испытание производилось с источником оптического излучения содержащего лазерный диод. Эталонное значение уровня мощности оптического излучения при этом было pэт=-21.3 дБ. Результаты испытания 2 и результаты расчета погрешностей приведены в таблице 3.2.

Расчет  по формуле 3.1:

 дБм

Расчет по формуле 3.2:

дБм

Расчет d по формуле 3.3:


Таблица 3.2 Результаты испытания 2.

pэт, дБм

pизм, дБм

pизм, дБм

D, дБм

d , %


1

2

3

4

5

6

7




-21.3

-22.0

-22.5

-21.9

-22.0

-21.8

-22.2

-22.3

-22.1

0.8

3.7


В результате испытаний измерителя оптической мощности были получены следующие результаты:

абсолютная погрешность измерений при уровне мощности входного оптического сигнала -5.2 дБ составляет 1.9 %;

абсолютная погрешность измерений при уровне мощности входного оптического сигнала -21.3 дБ составляет 3.7 %.

Испытания показали, что разработанный в этом курсовом проекте измеритель оптической мощности работоспособен и позволяет производить измерения с вполне приемлемой точностью. Точность измерений можно повысить путем более тщательной настройки прибора. Во время испытаний прибора было замечено, что точность показаний уменьшается с уменьшением уровня мощности измеряемого оптического сигнала. При необходимости избавиться от этого недостатка в дальнейших разработках прибора можно путем разбиения диапазона измеряемого сигнала на несколько поддиапазнов.

Заключение

В данном курсом проекте проведено исследование и создание устройства для измерения оптической мощности сигнала в ВОЛС.

В ходе курсового проекта были решены следующие задачи:

проведен обзор методов и способов измерения затухания и оптической мощности в ВОЛС;

выполнено описание параметров измерителей оптической мощности;

приведен список измерителей оптической мощности с сравнением их основных характеристик;

проектирование и изготовление измерителя оптической мощности.

Изготовленный в данной работе измеритель оптической мощности позволяет измерять оптическую мощность излучения (с длиной волны, фиксированной в диапазоне 0,8-0,9мкм) в диапазоне от 0,001 до 250 мВт.

Испытания измерителя оптической мощности показали, что он работоспособен и позволяет производить измерения с вполне приемлемой точностью.

Приложение А

Рисунок А.1- Принципиальная схема измерителя оптической мощности

Приложение Б

Параметры используемого фотодиода

Таблица Б.1 - Основные параметры фотодиода ФД-256.

Площадь фоточувствительного элемента (эффективная), мм2

1.37 (4)

Рабочая температура,º C

20±5

Рабочее напряжение, В

10

Диапазон спектральной чувствительности, мкм

0,4 - 1,1

Максимум спектральной характеристики, мкм

0,8 - 0,9

Темновой ток, нA , не более

5

Интегральная токовая чувствительность мкА/лк, не менее

0,02

Собственная постоянная времени (U = 10 В), нс, не более

12

Собственная постоянная времени (U = 60 В), нс, не более

2

Порог чувствительности, лм x Гц-1/2 , не более

1 x 10 -11

Корпус

металлический

Порог чувствительности, лм x Гц-1/2 , не более

1 x 10 -11

Электрическая плотность изоляции В, не менее

180

Входное окно

линза

Материал окна

стекло

Масса, г, не более

1



Приложение В

Таблица соответствия между значениями оптической мощности в дБм и мВт

P,dBm

P, mW

P,dBm

P, mW

P,dBm

P, mW

3,0

2,00

-2,4

0,58

-14,5

0,035

2,8

1,91

-2,6

0,55

-15,0

0,032

2,6

1,82

-2,8

0,52

-15,5

0,028

2,4

1,74

-3,0

0,50

-16,0

0,025

2,2

1,66

-3,5

0,45

-16,5

0,022

2,0

1,58

-4,0

0,40

-17,0

0,020

1,8

1,51

-4,5

0,35

-17,5

0,018

1,6

1,45

-5,0

0,32

-18,0

0,016

1,4

1,38

-5,5

0,28

-18,5

0,014

1,2

1,32

-6,0

0,25

-19,0

0,013

1,0

1,26

-6,5

0,22

-19,5

0,011

0,8

1,20

-7,0

0,20

-20,0

10,00

0,6

1,15

-7,5

0,18

-20,5

8,91

0,4

1,10

-8,0

0,16

-21,0

7,94

0,2

1,05

-8,5

0,14

-21,5

7,08

0,0

1,00

-9,0

0,13

-22,0

6,31

-0,2

0,95

-9,5

0,11

-22,5

5,62

-0,4

0,91

-10,0

0,10

-23,0

5,01

-0,6

0,87

-10,5

0,089

-23,5

4,47

-0,8

0,83

-11,0

0,079

-24,0

3,98

-1,0

0,79

-11,5

0,071

-24,5

3,55

-1,4

0,72

-12,0

0,063

-25,0

3,16

-1,6

0,69

-12,5

0,056

-25,5

2,82

-1,8

0,66

-13,0

0,050

-26,0

2,51

-2,0

0,63

-13,5

0,045

-26,5

2,24

-2,2

0,60

-14,0

0,040

-27,0

2,00


Таблица соответствия между значениями оптической мощности в дБм и мВт

P,dBmP, mWP,dBmP, mWP,dBmP, mW






-27,5

1,78

-41,0

79,43

-54,0

3,98

-28,0

1,58

-41,5

70,80

-54,5

3,55

-28,5

1,41

-42,0

63,10

-55,0

3,16

-29,0

1,26

-42,5

56,23

-55,5

2,81

-29,5

1,12

-43,0

-56,0

2,51

-30,0

1,00

-43,5

44,67

-56,5

2,24

-30,5

0,89

-44,0

39,81

-57,0

2,00

-31,0

0,79

-44,5

35,48

-57,5

1,78

-31,5

0,71

-45,0

31,62

-58,0

1,58

-32,0

0,63

-45,5

28,18

-58,5

1,41

-33,0

0,50

-46,0

25,12

-59,0

1,26

-33,5

0,45

-46,5

22,39

-59,5

1,12

-34,0

0,40

-47,0

19,95

-60,0

1,00


Приложение Г

Техническое задание на разработку измерителя оптической мощности

 

1.  Наименование и шифр изделия.

Наименование изделия - Измеритель оптической мощности (Optical Power Meter - ОРМ) (далее по тексту Изделие).

2.  Основание для разработки.

Задание на курсовой проект по дисциплине «Оптические цифровые телекоммуникационные системы».

3.  Назначение и цель создания Изделия

Изделие используется для измерения оптической мощности сигнала, а также для измерения затухания в кабеле. Изделие обеспечивает как измерение кабельных линий, так и анализ работы терминального оборудования, передающего сигнал в оптическую линию. В паре со стабилизированным источником сигнала OPM обеспечивает измерение затухания - основного параметра качества оптической линии. Особенно важным классом измерений для OPM является измерение параметров узлов оптической линии (участков кабеля, интерфейсов, сварочных узлов, аттенюаторов и т.д.).

Основными целями создания изделия являются:

получение опыта разработки аппаратуры;

возможность измерения мощности оптического сигнала;

Для реализации поставленных целей Изделие должно решать следующие задачи:

подключение оптического волокна;

преобразовывать оптический сигнал в электрический;

отображать полученное значение мощности.

. Исполнитель, соисполнители.

Студенты гр. ТКВ-07 Цындуев Э. Г.

. Технические требования.

.1 Состав изделия и требования к конструкции устройства.

Измеритель оптической мощности (рис. 1) состоит из:

·              фотоприемника (ФП), который преобразует мощность оптического излучения в электрический сигнал (фототок);

·              усилителя фототока (УФТ), на выходе которого с помощью осциллографа можно наблюдать сигнал, пропорциональный мгновенному значению мощности;

·              Логарифматора (сигнальный процессор) (ЛОГ);

·              аналого-цифрового преобразователя (АЦП);

·              устройства отображения (УО).

Рис.1. Структурная схема измерителя оптической мощности.

Основные технические параметры изделия.

Основными параметрами OPM являются:

·              тип детектора

·              линейность усилителя

·              точность и график необходимой калибровки

·              динамический диапазон

·              точность и линейность работы

·              возможность поддержки различных оптических интерфейсов

Основной характеристикой прибора является характеристика зависимости выходного сигнала фотодиода от мощности входного оптического сигнала на разных длинах волн, точнее равномерность этой характеристики. Другой важной характеристикой фотодиодов является спектральная характеристика, т.е. зависимость эффективности работы фотодиода от длины волны передаваемого сигнала, где эффективность работы фотодиода определяется отношением тока на выходе к мощности принимаемого сигнала.

Наиболее существенными характеристиками OPM , которые необходимо учитывать являются динамический диапазон, разрешающая способность и линейность работы.

Самым важным критерием выбора ОРМ являются линейность его работы и точность. Под точностью понимается метрологическая точность, т.е. соответствие между измеренным значением параметра и значением, измеренным эталонным калиброванным прибором. Линейность прибора определяется стабильностью результатов измерений в зависимости от уровня сигнала, температуры, разрешения по длине волны и т.д.

.3 Технические требования к структурным элементам Изделия.

.3.1 Требования к ФП:

ФП должен иметь фоточувствительную площадку, достаточную для регистрации всего потока излучения, выходящего из источника излучения или ВС.

Чувствительность ФП должна быть однородна по площади, а характеристика преобразования - линейной во всем диапазоне измеряемых мощностей. Чувствительность должна мало зависеть от температуры.

ФП должен обладать малым уровнем шума, низким порогом реагирования.

.3.2 Требования к УФ:

УФ должен иметь достаточный для качественного усиления динамический диапазон;

УФ должен иметь полосу пропускания соответствующую принимаемому оптическому сигналу;

высокое значение отношения сигнал/шум;

.3.3. Требования к логарифматору (сигнальному процессору):

Сигнальный процессор в большей или меньшей степени должен компенсировать возможную нелинейность характеристики зависимости выходного сигнала фотодиода от мощности входного оптического сигнала на разных длинах волн. В результате, если характеристика фотодиода сильно неравномерна, для ее компенсации сигнальный процессор должен иметь более сложную структуру. С другой стороны, более высокотехнологичный фотодиод будет иметь более равномерную характеристику, при этом сигнальный процессор может быть довольно простым. При разработке OPM основным вопросом является выбор "золотой середины" между стоимостью высокотехнологичного фотодиода и сложностью/стоимостью сигнального процессора.

Похожие работы на - Измеритель оптической мощности

 

Не нашли материал для своей работы?
Поможем написать уникальную работу
Без плагиата!
Без нейросетей!