Исследование тактико-технических характеристик и устройства ракеты-носителя 'Космос-3М'

  • Вид работы:
    Курсовая работа (т)
  • Предмет:
    Авиация и космонавтика
  • Язык:
    Русский
    ,
    Формат файла:
    MS Word
    1,19 Мб
  • Опубликовано:
    2012-10-07
Вы можете узнать стоимость помощи в написании студенческой работы.
Помощь в написании работы, которую точно примут!

Исследование тактико-технических характеристик и устройства ракеты-носителя 'Космос-3М'

Содержание

Введение

. Основная часть

.1 Компоновочная схема ракеты-носителя "Космос-3М"

.2 Краткая история создания

.3 Тактико-технические характеристики

.4 Краткое техническое описание конструкции

.5 Двигатели и их характеристики

.6 Подготовка и запуск

. Специальная часть

.1 Редукторы давления их устройство и принцип работы

Заключение

Библиографический список

Введение

Задачи освоения космического пространства явились мощным стимулом в развитии мировой науки и техники. Запуск в СССР (России) в октябре 1957 г первого ИСЗ положил начало практической космонавтики, а ракета Р-7, созданная в ОКБ-1 под руководством С.П. Королева, вошла в историю как первая ракета-носитель (РН), осуществившая вывод полезного груза на околоземную орбиту. Таким образом, мировой приоритет страны в открытии эры космонавтики был обеспечен благодаря успешному решению сложнейших научно-технических и производственных задач по созданию указанной ракеты-носителя, которая и по сегодняшний день, спустя почти полвека с начала запусков ИСЗ, является одной из базовых в ряду отечественных РН.

Многообразие задач, решаемых современной космонавтикой, определили необходимость создания космических аппаратов (КА) различного назначения и освоения различных типов орбит, от низких околоземных до межпланетных. Особое место занимает пилотируемая космонавтика, начавшаяся с исторического полета Ю.А. Гагарина в апреле 1961 г. РН "Восток", созданная на базе Р-7, обеспечившая успешный полет первого в мире космонавта, также вошла в историю мировых научно-технических достижений.

Сегодня масштабы космической деятельности человечества огромны. Космические технологии используют более 110 стран, а около 40 из них являются владельцами КА различного назначения. Однако количество стран, в которых разрабатываются и производятся собственные средства выведения КА, довольно ограничено, что является свидетельством сложности тех проблем, которые приходится решать при создании надежных РН. В 1960-70-е годы абсолютная монополия в этой области принадлежала двум странам - СССР и США. В течение 1980-90-х годов к ним присоединились ряд стран Западной Европы, объединенных в настоящее время вокруг Европейского космического агентства (ЕКА) с лидирующей ролью в нем Франции, а также Китай, Япония, Индия и др.

Если в период становления космонавтики работы в области ракетно-космической техники носили преимущественно закрытый характер, то начиная с 1990-х годов особенностью развития космической деятельности явилось формирование мирового рынка космических товаров и услуг. К настоящему времени сложилась определенная классификация сегментов этого рынка, в котором одним из важнейших являются "космические транспортные системы и средства доставки в космос полезных нагрузок". Неблагоприятные социально-экономические условия в России в 1990-х годах привели к значительному снижению потенциала ракетно-космической отрасли, что в период активного формирования мирового космического рынка значительно усугубило положение страны на этом направлении рынка высоких технологий. И только в сфере запусков КА отечественная ракетно-космическая отрасль остается конкурентоспособной. Мировой рынок пусковых услуг примерно поровну делится между Россией, США и ЕКА. Это является свидетельством высокого уровня разработок и производственной базы, созданной в стране в 60-80-х годах в области создания РН различного класса.

Одной из особенностей эксплуатируемых в настоящее время средств выведения является большая кооперация разработчиков и изготовителей ракетно-космической техники (РКТ), часть из которых находится в странах СНГ. В создании и эксплуатации практически всех, отраженных в настоящем пособии РН, задействована в той или иной мере кооперация предприятий, расположенных в России, на Украине, в Белоруссии. Все эти РН мы называем отечественными. С октября 1957 по настоящее время осуществлено около 2900 пусков отечественных РН, из которых полностью успешными явились около 2700 (150 - аварийных, 50 - частично успешных). С их помощью на орбиты в ближний и дальний космос выведено более 3 300 КА, в том числе около 150 иностранных. Для подготовки и пуска РН использовались 4 космодрома: "Плесецк" (с 1966 г. осуществлено более 1 500 пусков и выведено на орбиты 1920 КА), "Байконур" (с 1957 г. соответственно 1 200 пусков и 1 230 КА), "Капустин Яр" (с 1961 г. 140 пусков и 85 КА, в настоящее время не используется), "Свободный" (с 1997 г. 4 пуска и 4 КА).

Существующая отечественная система средств выведения КА включает ракетно-космические комплексы (РКК) с ракетами-носителями, относящимся по принятой у нас классификации к легкому, среднему и тяжелому классам.

К РН легкого класса относятся "Космос-3М", "Циклон-2", "Циклон-3" со стартовой массой до 200 т и массой полезной нагрузки до 3,6 т на низкой околоземной орбите (до 400 км). К данному классу относятся также твердотопливные четырехступенчатые РН "Старт-1", созданные на базе МБР РС-12М со стартовой массой 47 кг, способные выводить на низкие орбиты КА массой до 630 кг.

К среднему классу относятся РН типа "Союз", "Молния", "Зенит" со стартовой массой от 310 до 460 т, способные выводить полезные нагрузки на низкие орбиты от 7 до 13 т. РН "Молния" предназначена для выведения КА до 2 т только на высокоэллиптические орбиты с высотой апогея 40 000 км и перигея до 600 км.

Самыми мощными отечественными РН являются РН тяжелого класса типа "Протон", со стартовой массой около 700 т, обеспечивающие выведение КА массой до 20,4 т на низкие орбиты, а с применением разгонных блоков (РБ) типа ДМ - массой до 2,6 т на геостационарную орбиту.

Современные концепции дальнейшего развития средств выведения КА учитывают наряду с экономическими факторами ряд других обстоятельств, связанных как с разрушением прежней кооперации предприятий и отходом в зарубежную территорию крупнейшего космодрома Байконур, так и необходимостью обеспечения конкурентоспособности отечественных РН на мировом космическом рынке. Важнейшей задачей в настоящее время становится обеспечение независимого доступа России в космос и выполнение программ развертывания и поддержания отечественной орбитальной группировки КА (в течение 90-х годов ее численность уменьшилась почти в два раза и в настоящее время составляет около 100 КА). Гарантируемый доступ в космос заключается в возможности запуска КА (в первую очередь военного назначения) с космодромов, расположенных на территории России, ракетами-носителями, производимыми на российских предприятиях.

Среди мероприятий настоящего времени по совершенствованию отечественных средств выведения можно выделить:

модернизация базовых, конкурентоспособных на мировом космическом рынке РН "Союз" и "Протон" с целью продления их жизненного цикла, восстановление ресурса пусковых наземных комплексов, сохранение и развитие производства усовершенствованных типов РН ("Союз-2", "Протон-М"). В этих целях совершенствуется конструкция их двигательных установок, создается новая система управления на современной элементной базе с "гибким" программным обеспечением для бортовых вычислительных комплексов и др.;

освоение для выведения полезных нагрузок на низкие околоземные орбиты конверсионных МБР различного типа с заменой снимаемых с производства РН легкого класса "Космос" и "Циклон";

формирование научно-технического и технологического задела по ключевым элементам РН нового поколения;

проведение опытно-конструкторских работ по созданию универсальных космических ракетных комплексов легкого, среднего и тяжелого классов (проект "Ангара") с многократным использованием ступени-ускорителя (типа "Байкал");

проработка и поэтапная реализация перспективных проектов использования для выведения полезных нагрузок авиационно-космических систем (проекты МАКС, "Воздушный старт").

1. Основная часть

.1 Компоновочная схема РН "Космос-3М"

Рис. 1.1. Компоновка РН "Космос-3М" [1]:

- головной обтекатель;

- космический аппарат;

- бак горючего (НДМГ) 2-й ступени;

- бак горючего для ЖРД стабилизации;

- бак окислителя ЖРД стабилизации;

- бак окислителя (АК-27И) 2-й ступени;

- ЖРД стабилизации;

- маршевый ЖРД 2-й ступени;

- бак окислителя (АК-27И) 1-й ступени;

- приборы приборного отсека;

- РДТТ для разделения ступеней;

- бак горючего (НДМГ) 1-й ступени;

- ЖРД 1-й ступени;

- стабилизаторы 1-й ступени;

15      - графитовые газовые рули

.2 Краткая история создания

Эскизный проект (ЭП) носителя 65С3 (11К65) для вывода КА "малой" и "средней" массы (от 100 до 1 500 кг) на круговые (высотой от 200 км до 2 000 км) и эллиптические орбиты был разработан в конце марта 1961 г. в ОКБ-586 М. К. Янгеля (в настоящее время КБ "Южное" г. Днепропетровск) на базе одноступенчатой баллистической ракеты среднего радиуса действия Р-14 (8К65). ЭП был подкреплен Постановлением ЦК КПСС и Совета Министров СССР № 984-425 от 30 октября 1961 г. и Комиссией Президиума Совета Министров от 12 июля 1962 г. Работа по РН 65С3 несколько выпадала из главного направления деятельности предприятия (создание боевых баллистических ракет), М. К. Янгель предложил передать ее в ОКБ-10 М. Ф. Решетнёва, куда уже для сопровождения серийного производства была передана документация на баллистическую ракету среднего радиуса действия Р-14У (8К65У) [1].

ОКБ-10 М. Ф. Решетнёва включилось в работу по РН 11К65 (65С3) в конце 1961 г. В рамках проекта 11К65 ("Космос-3") двигатель 8Д514 для ракеты Р-14 был модифицирован и получил индекс 11Д615. На второй ступени носителя был установлен многофункциональный ЖРД 11Д47 разработки ОКБ-2 А.М. Исаева. Параллельно велась разработка конструкторской документации на модернизированный вариант ракеты-носителя 11К65М ("Космос-3М", рис. 1.1, фото. 1.1). В процессе работы над РН 11К65М сотрудники ОКБ-10 предложили оригинальное техническое решение, позволяющее запускать спутники на круговые орбиты путем введения "пунктирного" участка стабилизированного полета. Для реализации идеи была принята двухимпульсная схема включения маршевого ЖРД второй ступени: первый импульс формирует эллиптическую траекторию, в апогее которой вторым включением аппарат переводится на круговую орбиту. Для этого в ОКБ-2 А. М. Исаева был создан трехрежимный двигатель 11Д49 (два включения на номинальной тяге и работа в дроссельном режиме), а в ОКБ-10 М.Ф. Решетнёва разработали систему малой тяги, обеспечившую стабилизированный полет между двумя включениями маршевого ЖРД. Топливо для этой системы располагалось в двух специальных баках, подвешенных на внешней поверхности основного бака второй ступени [1].

В мае 1964 г. два РН 11К65 были вывезены на Байконур для пуска со стартовой площадки 41 [1].

С третьей попытки, 18 августа, ракета стартовала, выведя на орбиту три габаритно-весовых макета КА "Стрела" (спутники "Космос-38, 39, 40") с передатчиками системы "Маяк", электропитание которых осуществлялось от батареек для карманного фонаря.

3 сентября 1965 г. ТАСС сообщил о выведении пяти новых "Космосов" (№ 80 … 84) на круговую орбиту высотой 1 500 км [1].

мая 1967 г. ракетой-носителем 11К65М с космодрома Плесецк был успешно выведен на орбиту ИСЗ "Космос-158".

РН 11К65М изготавливались на заводе "Красмаш" (г. Красноярск) до 1971 г., затем по решению министерства, в связи с новыми задачами производство ракет-носителей было передано на ПО "Полет" (г. Омск), двигательной установки (ДУ) 11Д614 на завод "Южмаш" (г. Днепропетровск), а изготовление ЖРД 11Д49 осталось на "Красмаше", который выпускал этот двигатель до 1992 г. [1].

Постановлением ЦК КПСС и Совмина СССР № 949-321 от 30 декабря 1971 г. ракета-носитель 11К65М была принята на вооружение в составе космического комплекса специального назначения.

В 1972 г. разработка 11К65М была отмечена Государственной премией СССР в области науки и техники.

К настоящему времени выпущено более 760 ракет этого типа, с помощью которых выведено на орбиту около 750 спутников и в том числе РН "Космос-3М" использовался для выведения на орбиту спутников серии "Надежда" международной системы спасения "КОСПАС-САРСАТ", геодезических, навигационных, связных и других КА военного назначения, индийских спутников Aryabhata, Bhaskara и Bhaskara 2, французского КА Signe-3, шведских Astrid и Astrid 2, американских FAISat и FAISat-2V, мексиканского Unamsat-2, итальянских MegSat 0 и М1ТА, германских Tubsat В, Abrixas и CHAMP, британского SNAP-1, китайского Tsing Hua 1. С помощью ракеты проводились астрофизические, технологические и другие эксперименты в интересах Академии наук СССР, международной организации "Интеркосмос", отраслевых научно-исследовательских организаций, в том числе с возвращением ПГ на Землю. Примерно половина всех проведенных пусков ракеты приходится на суборбитальные полеты с полигона Капустин Яр для выполнения экспериментов на гиперзвуковых скоростях.

В 1995 г. ракета участвовала в международном конкурсе на легкий носитель Med-Lite для NASA. По оценке американских специалистов, которые провели сравнительный анализ 18 типов ракет легкого класса, созданных в разных странах, "Космос-3М" был признан одним из самых совершенных.

Маркетинг носителя на западном рынке ведут совместное предприятие Cosmos International GmbH (при участии германской фирмы OHB-Systems) и российское предприятие "Пусковые услуги".

Производство носителя осуществлялось в ПО "Полет" (г. Омск). Конструкторы предприятия разработали перспективный вариант 11К65МУ ("Космос-3МУ" или "Взлет"), оснащенного новой системой управления [1].

В последние годы на ракете были проведены работы по расширению возможностей РН:

обеспечена возможность попутного запуска одного или двух малых КА, размещаемых на основном КА;

обеспечена возможность группового запуска нескольких малых КА, размещаемых на специальном адаптере, оснащенном поворотными платформами и системами отделения;

создан и успешно прошел летные испытания головной обтекатель РН с увеличенной зоной полезной нагрузки.

В настоящее время все работы по ракете-носителю прекращены.

Фото. 1.1. Ракета-носитель "Космос-3М" на старте


Параметры

Значения

Наименование РН

"Космос-3М"

"Космос-3МУ" ("Взлет")

Стартовая масса РН, т

108

111,5

Размеры, м - длина - диаметр

 32,4 2,4

 33,1 2,4

Масса выводимого ПГ (кг) на круговые орбиты: - 200-1 700 км, i=51° - 200-1 700 км, i=66° - 200-1 700 км, i=74° - 200-1 700 км, i=83° - 1 000 км, i=83° На солнечно-синхронную орбиту - 475 км, i=97,3°

  1 500 … 780 1 400 … 700 1 350 … 660 1 250 … 600 930 600 … 850

  1 500 … 780 1 400 … 700 1 350 … 660 1 250 … 600 1 050 600 … 850

Возможность пространственного маневра второй ступени для расширения диапазона наклонений орбит при сохранении существующих трасс запусков и районов падения ступеней РН

Нет

Есть

Точность выведения КА на круговую орбиту высотой 200 км: - по высоте, км - по наклонению, ° - по периоду обращения, с

  ~ 40,0 ~ 8,0 ~ 30,0

  ~ 3,5 ~ 2,0 ~ 2,5

Объем зоны размещения ПГ, м3 - диаметр, м - высота, м

10,0 2,2 4,7

10,0 2,2 4,7

Возможность увода второй ступени с орбиты функционирования

Нет

Есть

Коэффициент надежности

0,97

-


1.4 Краткое техническое описание конструкции

Двухступенчатая ракета-носитель легкого класса "Космос-3М" (11К65М, рис. 1.1) состоит из двух ступеней и головного блока. Ступени соединены по схеме "тандем". На обеих ступенях РН установлены ЖРД, работающие на самовоспламеняющихся компонентах ракетного топлива - окислителе АК-27И (27 %-й раствор окислов азота (диоксид и тетраоксид азота) в азотной кислоте, ингибированной йодом) и горючем - несимметричном диметилгидразине (НДМГ). Управление полетом ракеты во время работы ЖРД первой ступени осуществляется с помощью газовых рулей, а при работе двигателя второй ступени - поворотными рулевыми соплами. Разделение ступеней производится по "полугорячей" схеме. Сброс головного обтекателя производится на участке полета второй ступени на высоте около 75 км [2]. Первая ступень ракеты включает переходной отсек, бак окислителя, межбаковый отсек, бак горючего, силовое кольцо и хвостовой отсек. Длина первой ступени 22,48 м, диаметр - 2,4 м, наибольший диаметр хвостового отсека - 2,8 м, наибольший поперечный размер - 4,53 м, сухая масса - 5,34 т, стартовая масса - 86,5 т [2].

Переходной отсек предназначен для соединения ступеней. Кроме того, в нем размещается двигательная установка второй ступени. Отсек клепаной конструкции из алюминиевых сплавов, представляет собой цилиндрическую обечайку, подкрепленную продольным (стрингерами) и поперечным (шпангоутами) силовым набором. Обечайка имеет два пояса люков. Верхний обеспечивает доступ к агрегатам ДУ второй ступени, нижний служит для выхода газов, истекающих из рулевых сопел ДУ второй ступени при разделении. Люки верхнего пояса закрываются крышками, нижнего - заклеиваются тканью [2].

Конструкция баков окислителя и горючего первой ступени практически одинакова. Каждый бак состоит из цилиндрической обечайки и двух сферических днищ, приваренных к ней через торцевые пустотелые шпангоуты. Окислитель имеет большую плотность (1,47 г/см3), поэтому его бак расположен впереди бака горючего. При этом центр масс ракеты смещен к головной части, увеличено расстояние до газовых рулей и стабилизаторов, улучшена устойчивость и управляемость ракеты в полёте. Обечайка бака горючего и часть секций обечайки бака окислителя изготавливаются из прессованных панелей алюминиевого сплава АМг-6Н. При панельной конструкции значительно упрощается производство баков и снижается их масса, поскольку прессованные панели в виде монолитно выполненных частей обшивки со стрингерами отличаются высокой прочностью и устойчивостью. Восемь панелей собираются на стапеле и свариваются по стыкам аргонно-дуговой сваркой, образуя цилиндрическую оболочку бака. Затем изнутри к стрингерам оболочки привариваются навесные кольцевые шпангоуты уголкового профиля (по другим данным, шпангоуты крепятся с помощью фиттингов) [2].

Оболочка воспринимает все внешние нагрузки, действующие на ракету при транспортировке и в полёте. Изготовление бака заканчивается стыковкой и приваркой к оболочке сферических днищ через торцевые усиленные шпангоуты и установкой арматуры. Через бак горючего проходит расходный трубопровод окислителя, размещенный в тоннельной трубе. Дренажно-предохранительный клапан бака горючего находится в хвостовом отсеке, а через весь бак к куполу верхнего днища проложена дренажная труба. Наддув бака горючего осуществляется сжатым азотом, а бака окислителя - сжатым воздухом. Эти газы хранятся в баллонах высокого давления, расположенных в хвостовом (азот) и межбаковом (воздух) отсеках [2].

Межбаковый отсек клепаной негерметичной конструкции из алюминиевых сплавов служит для соединения баков горючего и окислителя. Оболочка отсека тонкостенная из алюминиевого сплава Д19АТ, подкрепляющий набор из шпангоутов и стрингеров (алюминиевый сплав Д16Т) приклепан к ней. На наружной поверхности отсека размещены три тормозных РДТТ системы разделения ступеней, закрытые обтекателями. Тормозные пороховые двигатели после разделения ступеней замедляют полёт первой ступени и благодаря несимметричному расположению разворачивают ее относительно поперечной оси, устраняя соударение со второй ступенью. Конструкция хвостового отсека аналогична межбаковому с той лишь разницей, что хвостовой отсек - конической формы, диаметр донного среза ракеты 2,8 м. Коническая форма хвостового отсека позволяет разместить двигатель, сдвинуть центр давления вниз по длине ракеты от центра масс и тем самым улучшить её стабилизацию в полёте. Этому способствуют также трапецевидные аэродинамические стабилизаторы, закрепленные с помощью фитингов на торцевом шпангоуте. Ниже их, как продолжение фитингов, расположены стояночные опоры, а под углами 45° к плоскости стабилизации на том же шпангоуте размещены на кронштейнах графитовые газовые рули с электрическими рулевыми машинами. В отсеке расположен двигатель первой ступени - РД-216М. Тяга от него передается через специальную сварную раму на силовое кольцо, крепящееся к торцевому шпангоуту бака горючего. Таким образом, на хвостовой отсек в полете действуют только растягивающие силы, что позволяет облегчить его конструкцию. Вторая ступень состоит из приборного, топливного и хвостового отсеков. Кроме того, по бокам ступени смонтированы два навесных блока баков основных компонентов, обеспечивающих работу системы малой тяги (СМТ) и второе включение маршевого ЖРД. Длина второй ступени 4,2 м, наибольший поперечный размер - 3,5 м, диаметр топливного отсека - 2,4 м, диаметр баков СМТ - 0,355..0,4 м, стартовая масса - 18,9 т, сухая масса -1,72 т. Короткий приборный отсек имеет клепаную конструкцию и выполнен из алюминиевого сплава. На него опирается рама крепления полезного груза. На этой раме размещаются также приборы системы управления ракетой. Кроме того, приборный отсек служит для соединения второй ступени с головным обтекателем. Топливный отсек (ТО) сварной из сплава АМг-6. Он включает цилиндрическую обечайку и три днища - верхнее, среднее и нижнее. Среднее днище делит ТО на два отсека: окислителя и горючего. Все оболочки ТО - гладкие. Верхнее и среднее днища - сферические, а нижнее днище - составное. Оно образовано усеченным конусом и полусферой, обращенной внутрь бака. Крепление двигателя второй ступени безрамное - камера двигателя с помощью четырех кронштейнов на смесительной головке крепится прямо к нижнему шпангоуту конического днища ТО. Такая конструкция позволяет уменьшить длину межступенчатого переходника и следовательно его массу. Хвостовой отсек второй ступени имеет клепаную конструкцию. В нем размещены электроприводы рулевых сопел и тормозной РДТТ второй ступени. На поверхности хвостового отсека находятся нижние узлы крепления подвесных баков СМТ. К торцевому кольцу отсека крепится конический кожух для защиты агрегатов ДУ от газов, истекающих из рулевых сопел. На второй ступени установлена двигательная установка (ДУ) 11Д49, состоящая из маршевого двигателя и двигателя (системы малой тяги) СМТ. Для защиты КА на атмосферном участке полета РН используется головной обтекатель. Он состоит из двух полустворок, соединенных в единое целое замками продольного стыка. Крепление обтекателя к приборному отсеку второй ступени осуществляется замками поперечного стыка. Полустворки обтекателя клепаной конструкции и выполнены из алюминиевых сплавов. После раскрытия замков створки расталкиваются пружинными толкателями.

1.4 Двигатели и их характеристики

Двигатель первой ступени

Фото. 1.2. Жидкостный ракетный двигатель первой ступени РД-216М

Жидкостный ракетный двигатель первой ступени РД-216М (фото 1.2) с турбонасосной системой подачи выполнен по схеме без дожигания. Он создан в НПО "Энергомаш" под руководством В.П. Глушко. ЖРД состоит из двух идентичных двигательных блоков РД-215М, объединенных рамой их крепления на РН и общими системами запуска и регулирования. Каждый блок, являющийся по сути автономным ЖРД, включает две камеры, один ТНА, один восстановительный газогенератор и агрегаты автоматики. ТНА имеет одноступенчатые насосы окислителя и горючего, а также двухступенчатую осевую газовую турбину. Он располагается между камерами в районе их критического сечения. Отработанный генераторный газ выбрасывается через два выхлопных патрубка. Три таких блока образуют двигатель РД-218, устанавливаемый на первой ступени МБР Р-16, а один блок с высотными соплами представляет собой двигатель второй ступени той же ракеты РД-219. За счет блочной компоновки значительно экономятся средства и время на создание двигателей различных тяг [2].

Запуск ЖРД - одноступенчатый (пушечный), с первоначальной подачей компонентов в газогенераторы блоков из двух пусковых бачков путем их вытеснения азотом через наземный стартовый пневмощиток. Регулирование тяги в полете осуществляется одновременным изменением подачи в газогенераторы обоих компонентов при сохранении их соотношения и стабилизации температуры генераторного газа. Оно проводится гидроредукторами окислителя и горючего, управление которыми обеспечивают синхронно перенастраиваемые от системы регулирования кажущейся скорости (РКС) азотные редукторы каждого блока. Синхронизация опорожнения баков ступени осуществляется регулятором давления окислителя на входе в двигатель. Выключение ЖРД - двухступенчатое. Сначала прекращается работа газогенераторов, затем отсекается подача компонентов в камеры с одновременным дренажем горючего из трактов их охлаждения. Дренаж был введен для уменьшения импульса последействия и улучшения точности попадания исходной БРСД Р-14 (8К65). Большинство агрегатов автоматики двигателя имеет дублированный пиротехнический привод [2].

Двигательная установка второй ступени

Фото 1.3. Жидкостная ракетная двигательная установка 11Д49

Двигательная установка 11Д49 (фото 1.3) второй ступени, разработана в КБ химического машиностроения (КБХМ) под руководством А.М. Исаева. В состав ДУ входят маршевый двигатель и двигатель СМТ [2].

Маршевый ЖРД однокамерный, с четырьмя рулевыми соплами, выполнен по схеме без дожигания, с турбонасосной системой подачи топлива. Двигатель имеет два режима тяги (основной и промежуточный), может повторно запускаться для выведения КА на высокие орбиты и питается как из основных баков ступени (при первом включении), так и из баков СМТ (при втором включении). Маршевый двигатель имеет камеру, моноблочный ТНА, питаемый восстановительным газогенератором, два пиростартера предварительной раскрутки ТНА, окислительный и восстановительный газогенераторы наддува соответствующих основных баков ступени, азотную пневмосистему, управляющую работой большинства клапанов и агрегаты автоматики. Отработавший на турбине ТНА газогенераторный газ по системе газоводов направляется к четырем подвижным рулевым соплам, имеющим возможность отклоняться в одной плоскости на углы до 70 градусов с помощью электроприводов. Двигатель имеет двухступенчатый запуск и двухступенчатое выключение через промежуточную (около 550 кгс) ступень тяги, создаваемой рулевыми соплами при неработающей камере. Этот режим обеспечивает "полугорячее" разделение ступеней, стабилизацию второй ступени перед включением камеры на основной режим тяги и точное "довыведение" КА. На основном режиме автоматика двигателя осуществляет регулирование тяги по командам от системы РКС, регулирование (при первом включении) или стабилизацию (при втором включении) соотношения компонентов в камере с целью синхронизации опорожнения баков и стабилизацию температуры в основном газогенераторе [2].

Двигатель СМТ представляет собой четырехсопловый рулевой двигатель с вытеснительной подачей компонентов в специальный газогенератор - газогенератор СМТ. Этот двигатель имеет один режим малой (около 10 кгс) тяги, запускается один раз, питается из баков СМТ и предназначен для стабилизации ступени в "пассивном" полете между включениями маршевого ЖРД. Двигатель имеет восстановительный газогенератор СМТ, систему газоводов, четыре малых подвижных рулевых сопла, жестко связанных и отклоняемых вместе с соплами маршевого ЖРД, и пироуправляемые пускоотсечные клапаны. Он запускается и выключается в одну ступень, не регулируется и может непрерывно функционировать свыше 60 мин. Оба двигателя тесно увязаны между собой в конструкции и при функционировании ДУ [2].

Характеристики двигателей [1]

Параметры

Значения

Назначение

Двигатель 1-й ступени

Двигатель 2-й ступени

Название

РД-216М (11Д614)

11Д49

Тип

четырехкамерный ЖРД (два двухкамерных блока РД-215М)

Однокамерный ЖРД +  + 4 ´ рулевых сопла

Тяга, кгс - на уровне моря - в пустоте

 151 000 177 400

 - 16 060 + 4 ´ (1,4 … 1,8)

Удельный импульс, с - на уровне моря - в пустоте

 246 289

 - 303

Давление в камере сгорания, атм

75

102

Сухая масса двигателя, кг

1325

Время работы, с

125

350

Компоненты топлива - окислитель - горючее

 АК-27И НДМГ

 АК-27И НДМГ

Массовое соотношение  компонентов топлива

2,5

2,65

Система подачи

ТНА

ТНА

Диаметр двигателя, мм

2260

1900

Длина двигателя, мм

2195

1800


1.6 Подготовка и запуск

Подготовка РН Космос-3М к пуску производится на техническом и стартовом комплексах. Ступени РН и головной обтекатель поступают в монтажно-испытательный корпус (МИК) технического комплекса с завода или из хранилищ в специальных железнодорожных вагонах в расстыкованном состоянии. В МИКе проводится проверка ступеней, установка на них необходимого оборудования, сборка и стыковка ступеней, стыковка РН с КА и головным обтекателем. Все операции выполняются на горизонтально лежащей ракете. Подготовку Космос-3М к пуску обеспечивает на техническом комплексе за 34-36 часов расчет общей численностью до 105 человек. После сборки и проверки РН на техническом комплексе она перегружается на специальную железнодорожную транспортно-установочную тележку и отправляется на стартовый комплекс. На стартовом комплексе РН устанавливается в вертикальное положение, проводится установка необходимого оборудования и цикл предстартовых проверок. Затем носитель заправляется компонентами ракетного топлива и сжатыми газами, осуществляется его прицеливание и пуск. Все работы на стартовом комплексе обеспечиваются расчетом численностью 120...135 человек в течение 8-10 часов. Следует отметить, что РН "Космос-3М" была создана на основе баллистической ракеты Р-14 без существенных доработок по ее связи с наземным оборудованием. Это обусловило наличие в эксплуатационных процессах ручных операций, в том числе на заправленной компонентами топлива РН. Однако процесс предстартовой подготовки автоматизирован по отдельным важнейшим операциям: заправка РН компонентами топлива и сжатыми газами, отсоединение от РН заправочных коммуникаций, отвод от РН подвижной башни обслуживания, разворот РН на пусковом столе на направление стрельбы, отвод от РН кабель-мачты перед запуском двигателя первой ступени. В целом уровень автоматизации работ при подготовке РН Космос-3М около 70%. Остальные работы, в том числе повторное подсоединение заправочных коммуникаций для слива топлива в случае отмены пуска, выполняются вручную. В этом отношении данная РН близка к большинству зарубежных носителей, созданных в шестидесятые годы [2].

Пуск ракеты-носителя "Космос-3М" производится дистанционно с простого пускового устройства - стартового стола. Предпусковые операции и пуск РН выполняет расчет в 20…26 человек. Разделение первой и второй ступеней осуществляется по полугорячей схеме. При этом еще до разрыва механической связи между ступенями, в момент выключения ЖРД первой ступени, осуществляется запуск маршевого двигателя второй ступени на режим работы рулевых сопел. Истекающие из них газы попадают в переходной отсек и удаляются из него через нижние люки. После полного выключения ЖРД первой ступени механическая связь между ступенями разрывается с помощью пиропатронов, одновременно запускаются тормозные РДТТ, установленные на первой ступени и осуществляется плавное расхождение ступеней. Сброс головного обтекателя производится на участке полета второй ступени на высоте порядка 75 км при скоростном напоре около 14 кг/м2. При этом обтекатель при раскрытии замков продольного и поперечного стыка делится на две створки. Их программный разворот и отбрасывание от ступени осуществляется с помощью пружинных толкателей. Выведение КА на низкие орбиты осуществляется с однократным включением двигательной установки второй ступени. Перед отделением КА маршевый двигатель второй ступени переводится на режим работы рулевых сопел с целью уменьшения импульса последействия и уменьшения уровня возмущений при отделении КА. После полного выключения двигателя механическая связь между второй ступенью и КА разрывается и последний отталкивается от ступени с помощью специальных пирозамков-толкателей. После отделения КА на второй ступени включается пороховой двигатель, установленный под углом к оси ступени. При работе этого РДТТ ступень тормозится и закручивается, уходя с траектории полета ИСЗ [2].

2. Специальная часть

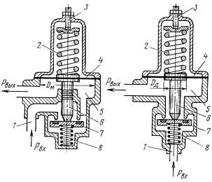
.1 Редукторы давления

Редукторы давления предназначены для понижения и поддержания на заданном уровне давления сжатого газа, поступающего из баллонов в пневмосистему. Настройка редуктора большей частью бывает постоянной и не изменяется во время работы двигателя.

Схемы редукторов с постоянной настройкой показаны ни рис. 2.1. Редуктор состоит из регулирующего органа-клапана 7 и чувствительного элемента-мебраны 4. Мембрана 4 вместе с пружинами 2 и 8 служит для создания силы, необходимой для подъема клапана 7, с которым она связана штоком 6 [3].

Рис 2.1. Схемы редукторов [3]: а - прямого действии; б - обратного действия; 1 - входной канал; 2 - пружина; 3 - регулировочный винт; 4 - мембрана; 5 - выходная полость редуктора; 6 -шток клапана; 7 - клапан; 8 - замыкающая пружиня; рвх - давление газа на входе в редуктор; рвых - давление газа на выходе из редуктора

Принцип работы редуктора, показанного на рис. 2.1, а, сводится к следующему. Газ под высоким давлением рвх входит через канал 1, проходит под клапаном 7, где происходит его дросселирование (уменьшение давления), и выходит с пониженным давлением рвых [3].

Величина понижения давления в редукторе определяется степенью открытия клапана 7. Чем больше клапан отошел от седла, тем меньше будет перепад давлений. Клапан в процессе работы редуктора перемещается под действием приложенных к нему сил. Пружина 2 и сила давления входящего газа на клапан 7 стремятся открыть клапан, а па мембране из-за давления газа риых возникает сила, стремящаяся закрыть клапан. В результате устанавливается равновесие сил, при котором клапан будет поднят на некоторую высоту, соответствующую заданному давлению полости 5. Величину давления риых устанавливают с помощью регулировочного винта 3, изменяя натяжение пружины 2 [3].

В рассмотренном редукторе высокое давление способствует открытию клапана. Такие редукторы называются редукторами прямого действия; в редукторе обратного действия (см. рис. 2.1, б) высокое давление стремится прижать клапан к седлу [3].

В качестве чувствительного элемента вместо мембраны может применяться сильфон или поршень.

В системах топливоподачи ЖРД в основном применяются редукторы обратного действия из-за того, что в случае поломки замыкающей пружины 8 нет опасности резкого повышения давления на выходе из редуктора. В редукторе прямого действия для устранения этого недостатка отказываются от замыкающей пружины, соединяя клапан жестко со штоком или устанавливая под клапан поршень, на который действует давление газа.

ракета двигатель редуктор топливоподача

Заключение

В курсовой работе были рассмотрены: в основной части: РН "Космос-3М" ее краткая история, краткое техническое описание конструкции ракеты и ее двигателей, а также их тактико-технические характеристики; в специальной части: регулятор давления его назначение, устройство и принцип действия.

Ракета-носитель "Космос-3М" хорошая ракета, надежная и она очень точно выводит КА на орбиты. Однако эта ракета разрабатывалась в конце 1960-х годов и морально устарела. Кроме того двигатели РН "Космос-3М" работают на очень токсичных компонентах топлива. В связи с этим в настоящее время в России создаются новые ракеты-носители легкого класса "Союз-2-1в" и "Ангара-1" на основе новых технологий и работающие на менее токсичных компонентах топлива.

Сегодня в мире передовыми странами в создании РН легкого класса считаются Россия и США, однако есть и новые конкуренты: это Европейское космическое агентство с РН "Вега"; Китай с CZ-1D, -2С; Индия с PSLV; Южная Корея с KSLV-1 (с помощью России) и т.д. Поскольку на рынке космических услуг существует потребность ракет этого класса, то останавливаться в разработках перспективных РН легкого класса еще рано.

Тем более в настоящее время отчетливо видно, что независимо от глобальных экономических кризисов ни одно из иностранных государств не отказывается от создания и совершенствования собственных РН. Не уменьшились и финансовые средства на создание новых РН и КА, а в некоторых странах даже увеличились.

В заключении можно сделать вывод, что бурное развитие космической индустрии продолжается. И в будущем еще о многих новых РН легкого класса мы сможем услышать и увидеть их изображение в технических журналах.

Библиографический список

.        Современные отечественные ракеты-носители. Ракетно-космическая техника: учеб. пособие / М. Д. Евтифьев, В. В. Филатов, Л. Н. Лебедева, В. В. Кольга, Л. А. Ковригин; Сиб. гос. аэрокосмич. ун-т. - Красноярск, 2005.

.        IX Международная выставка высокотехнологичной техники и

вооружений. http://www.vttvomsk.ru/rus/tovar/2/?tid=1954837&type=0&sort=2.

.        Пенцак И. Н.Теория полета и конструкция баллистических ракет: учеб.

пособие / И. Н. Пенцак - М:. Машиностроение. 1974. - 344 с.

Похожие работы на - Исследование тактико-технических характеристик и устройства ракеты-носителя 'Космос-3М'

 

Не нашли материал для своей работы?
Поможем написать уникальную работу
Без плагиата!
Без нейросетей!