Теплообменные аппараты применяемые в котельных

  • Вид работы:
    Реферат
  • Предмет:
    Физика
  • Язык:
    Русский
    ,
    Формат файла:
    MS Word
    1,09 Мб
  • Опубликовано:
    2012-10-26
Вы можете узнать стоимость помощи в написании студенческой работы.
Помощь в написании работы, которую точно примут!

Теплообменные аппараты применяемые в котельных














РЕФЕРАТ

Теплообменые аппараты, применяемые в котельных

СОДЕРЖАНИЕ

Введение

.        Виды теплообменных аппаратов применяемых в котельных

.1 Кожухотрубчатые теплообменники

.2 Элементные (секционные) теплообменники

.3 Пластинчатые теплообменники

. Экономайзеры

Список используемой литературы


ВВЕДЕНИЕ


Процессы теплообмена имеют большое значение в режиме работы котельных. Теплообменным аппаратом называют всякое устройство, в котором одна жидкость <#"584875.files/image001.gif">

Рис. 1 Внешний вид кожухотрубчатого теплообменника

Для увеличения скорости движения теплоносителей с целью интенсификации теплообмена нередко устанавливают перегородки как и трубном, так и межтрубном пространствах.

Кожухотрубчатые теплообменники могут быть вертикальными, горизонтальными и наклонными в соответствии с требованиями технологического процесса или удобства монтажа. В зависимости от неличины температурных удлинений трубок и корпуса применяют кожухотрубчатые теплообменники жесткий, полужесткой и нежесткой конструкции.

Аппараты жесткой конструкции используют при сравнительно небольших разностях температур корпуса и пучка труб; эти теплообменники отличаются простотой устройства.

В кожухотрубчатых теплообменниках нежесткой конструкции предусматривается возможность некоторого независимого перемещения теплообменных труб и корпуса для устранения дополнительных напряжений от температурных удлинений. Нежесткость конструкции обеспечивается сальниковым уплотнением на патрубке или корпусе, пучком U образных труб, подвижной трубной решеткой закрытого и открытого типа.

В аппаратах полужесткой конструкции температурные деформации компенсируются осевым сжатием или расширением специальных компенсаторов, установленных па корпусе. Полужесткая конструкция надежно обеспечивает компенсацию температурных деформаций, если они не превышают 10-15 мм, а условное давление в межтрубном пространстве составляет не более 2,5 кгс/см2.

Рис. 2 Принцип работы кожухотрубного теплообменника

Конструкция кожухотрубного теплообменного аппарата должна позволять выполнять очистку трубного пространства от загрязняющих отложений как химическим, так и механическим способами, трубы при этом должны быть достаточно жесткими во избежание их существенного прогиба после нескольких лет эксплуатации. Таким требованиям отвечают трубы с наружным диаметром 12 мм и толщиной стенки 1 мм.


Рис. 3 Элементный (секционный) теплообменник

 

1.3 Пластинчатые теплообменники


Этот тип теплообменников наиболее часто применяемый в котельных. Пластинчатый теплообменник - это устройство, в котором осуществляется передача теплоты от горячего теплоносителя к холодной (нагреваемой) среде через стальные гофрированные пластины, которые установлены в раму и стянуты в пакет.

Такая конструкция теплообменника обеспечивает эффективную компоновку теплообменной поверхности и, соответственно, малые габариты самого аппарата.

В теплообменниках фирмы “Риден” применяются пластины датской компании Sondex. Особое внимание, уделяемое концерном Sondex качеству поверхности пластин, служит гарантией долгой службы готового теплообменника и снижает скорость обрастания его агрязнениями.

Рис. 4. Пластинчатый теплообменник

- неподвижная плита с присоединительными патрубками; 2 - задняя прижимная плита; 3 - теплообменные пластины с уплотнительными прокладками; 4 - верхняя направляющая; 5 - нижняя направляющая; 6 - задняя стойка; 7 - комплект резьбовых шпилек.

Все пластины в пакете одинаковы, только развернуты одна за другой на 180°, поэтому при стягивании пакета пластин образуются каналы, по которым и протекают жидкости, участвующие в теплообмене. Такая установка пластин обеспечивает чередование горячих и холодных каналов.

В процессе теплообмена жидкости движутся навстречу друг другу (в противотоке). В местах их возможного перетекания находится либо стальная пластина, либо двойное резиновое уплотнение, что практически исключает смешение жидкостей.

Вид гофрирования пластин и их количество, устанавливаемое в раму, зависят от эксплуатационных требований к пластинчатому теплообменнику. Материал, из которого изготавливаются пластины, может быть различным: от недорогой нержавеющей стали до различных экзотических сплавов, способных работать с агрессивными жидкостями.

Материалы для изготовления уплотнительных прокладок также различаются в зависимости от условий применения пластинчатых теплообменников. Обычно используются различные полимеры на основе натуральных или синтетических каучуков.

Рис. 5. Схема распределения потоков в пластинчатом теплообменнике

теплообменник кожухотрубчатый пластинчатый экономайзер


2. ЭКОНОМАЙЗЕРЫ


Экономайзер представляет собой устройство, которое обогревается продуктами сгорания топлива. Подобное устройство предназначено для подогрева либо для частичного испарения воды, которая поступает в паровой котёл.

Экономайзер является неотъемным элементом котлоагрегата. Это теплообменник, где питательная вода, прежде чем будет подана в котел, подогревается при помощи уходящих из котла газов. Изготовляются экономайзеры из ребристых или гладких чугунных труб на давление 2,2 МПа, а на более высокую температуру и давление - как правило, из стальных гладких труб. Ребристые трубы - это довольно популярный вид товара. Они могут быть использованы в качестве труб отопления, поскольку имеют свойство держать тепло дольше чугунных труб. Это происходит за счёт ребристой поверхности. Ребристые трубы являются неотъемлемой частью экономайзеров.

В зависимости от металла, из которого изготовляют экономайзеры, они могут быть чугунными и стальными. Чугунные экономайзеры используют при давлении в барабане котла не более 2,4 МПа, а стальные могут применяться при любых давлениях.

Чугунный водяной блочный одноколонковый экономайзер выполняется из оребренных труб 3 (рис. 6), соединяемых между собой посредством калачей. Питательная вода проходит последовательно по всем трубам снизу вверх, а продукты горения проходят через зазоры между ребрами труб. В чугунных экономайзерах недопустимо кипение воды, так как это приводит к гидравлическим ударам и разрушению экономайзера. Для очистки поверхности нагрева водяные экономайзеры имеют обдувочные аппараты.

Рис. 6. Блочный одноколонковый чугунный водяной экономайзер:


В соответствии с требованиями Ростехнадзора экономайзеры некипящего типа должны быть отключаемыми по водяному тракту и тракту продуктов горения, т. е. должны иметь обводные (бай-пасные) линии в отопительном котле.

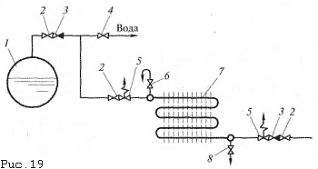
Устройство обводного газохода в отопительном котле для отключения индивидуального водяного экономайзера по тракту продуктов горения необязательно при наличии сгонной линии, обеспечивающей возможность постоянного пропуска воды через экономайзер в деаэратор в случае повышения температуры после него. Сгонной линией пользуются при растопке котла. Схема включения чугунного экономайзера с устройством сгонной линии представлена на рис. 7.

На входе воды в экономайзер и выходе из него должны быть установлены два предохранительных клапана 5 и два запорных вентиля 2. Кроме того, необходимы манометр, вентиль б воздушника для удаления воздуха при заполнении системы водой, вентиль 8 на дренажной линии для слива воды из экономайзера, обратные клапаны 3.

Рис. 7. Схема включения чугунного экономайзера:

- барабан котла; 2 - запорный вентиль; 3 - обратный клапан; 4 - вентиль на сгонной линии; 5 - предохранительный клапан; 6 - вентиль воздушника (стрелкой показано удаление воздуха в процессе заполнения экономайзера водой); 7 - чугунный водяной экономайзер; 8 - вентиль на дренажной линии.

Стальные трубчатые экономайзеры изготовляются из труб 028...38 мм, которые изгибают в змеевики 2, ввальцованные или вваренные в коллекторы 1 круглого или квадратного сечений, размещаемые за пределами газохода. Змеевики располагают в шахматном порядке и подвешивают с помощью специальных подвесок или опирают на опорные балки 3. Для выдерживания заданного шага между змеевиками служат дистанционные гребенки 4.

Схема включения кипящего стального трубчатого экономайзера. Такие экономайзеры выполняются неотключаемыми по водяному и дымовому трактам. Во избежание превращения всей воды, находящейся в экономайзере, в пар при растопке котла и его отключении предусматривается устройство рециркуляционной линии. Эта линия соединяет входной коллектор 9 экономайзера с барабаном 5 котла и обеспечивает поступление воды в экономайзер при ее испарении в периоды растопки и останова котла, когда питательная вода в экономайзер не подается. На линии рециркуляции имеется вентиль 11, который открывают при растопке и отключении котла и закрывают при включении котла в паровую магистраль.

Рис. 8. Стальной трубчатый экономайзер: а - общий вид; б - схема включения кипящего экономайзера:

- коллекторы; 2 - змеевик; 3 - опорная балка; 4 - дистанционная гребенка; 5 - барабан; 6 - вентиль воздушника; 7 - выходной коллектор подогретой воды; 8-экономайзер; 9-входной коллектор; 10 - вентиль на дренажной линии; 11 - вентиль на линии рециркуляции; 12 - запорный вентиль; 13 - обратный клапан; 14 - предохранительный клапан

Скорость воды в экономайзере принимают, исходя из условий предотвращения расслоения в них пароводяной смеси или прилипания пузырьков воздуха к внутренней поверхности. Для некипящих экономайзеров скорость воды должна быть не менее 0,3 м/с, а для кипящих экономайзеров - не менее 1 м/с.

Стальные экономайзеры применяют для использования уходящего газа, котлов типа Е, ДЕ, КЕ, ДКВР. Экономайзер монтируется за котлом, который работает на газе, не содержащем серных соединений, и в случае присутствия атмосферного деаэратора.

Блочные чугунные экономайзеры используются для нагревания питательной воды в стационарных водогрейных и паровых котлах, которые имеют рабочее давление не более 2,4 МПа.

Существует ещё один тип экономайзера - контактный водяной. Такой тип может быть использован для нагрева воды системы технологического и бытового горячего водоснабжения, прачечных или бань.

Применение тепла, которое было получено в контактном экономайзере в бытовом горячем водоснабжении, возможно только при условии наличия промежуточных теплообменников. Нагрев воды для прачечных или бань может производиться в контактных экономайзерах, использование которых разрешено Министерством здравоохранения РФ. Контактный экономайзер, как правило, устанавливается после поверхностных экономайзеров, которые принимаются в заводской комплектации котлоагрегатов, либо непосредственно за самими котлами.

Индивидуальные экономайзеры проектируются неотключаемые, т.е. на входе воды в экономайзер должен быть предусмотрен автоматический регулятор, который будет обеспечивать бесперебойное питание котлов.

Для нагрева сетевой и питательной воды в экономайзерах следует предусматривать направление потока воды снизу вверх, т.е. движение воды должно производиться в обеих колонках экономайзера снизу вверх.

Для обеспечения нормальных условий использования и управления работой экономайзер должен оснащаться арматурой, приборами безопасности и контрольно-измерительными приборами, которые доступны для обслуживания и наблюдения. Если же необходимо отремонтировать экономайзер, то в таком случае без ребристых труб не обойтись. Кроме таких труб для проведения ремонта экономайзера понадобятся калачи и чугунные дуги, а также крепёжные болты 20х85 (с гайкой и шайбой) и паранитовые прокладки.

На входе и на выходе воды в экономайзер устанавливаются гильзы, чтобы была возможность измерить температуру питательной воды.

2.       Зах Р.Г. Котельные установки. М.: Энергия, 1968

3. «К вопросу выбора типа водо-водяных подогревателей для систем теплоснабжения», Пермяков В.А. и др., «Промышленная энергетика», М., 2000 г.

4.       «Пластинчатые теплообменники Альфа Лаваль. Есть ли предел совершенству?», «Теплоэнергоэффективные технологии», Санкт-Петербург, 2003 г.


Не нашли материал для своей работы?
Поможем написать уникальную работу
Без плагиата!
Без нейросетей!