Расчет кожухотрубчатого двухходового воздухоподогревателя парового котла

  • Вид работы:
    Курсовая работа (т)
  • Предмет:
    Технология машиностроения
  • Язык:
    Русский
    ,
    Формат файла:
    MS Word
    323,99 kb
  • Опубликовано:
    2010-11-18
Вы можете узнать стоимость помощи в написании студенческой работы.
Помощь в написании работы, которую точно примут!

Расчет кожухотрубчатого двухходового воздухоподогревателя парового котла

Аннотация

Пояснительная записка представляет собой отчет о выполнении курсовой работы на тему: «Расчет кожухотрубчатого двухходового воздухоподогревателя парового котла».

Описанная в работе методика и формулы дают возможность формализованным путём с достаточной для инженерных целей точностью рассчитать размеры аппарата и выбрать их общую компоновку. Здесь рассматривается определение диаметра корпуса аппарата, количества и длины трубок, выбор размещения трубок в трубных плитах и расположение перегородок в трубном и межтрубном пространствах, определение диаметра патрубков для рабочих сред.

Для составления пояснительной записки в данной курсовой работе использовались: текстовый процессор Microsoft Word, табличный процессор Excel.

Введение

Широкое применение в технике водяного пара общеизвестно. Он применяется как рабочее тело на электрических станциях и как теплоноситель для технологических (выпаривание, сушка, нагрев и т.п.) и отопительных целей. Получение пара из воды осуществляется в котельных агрегатах – парогенераторах, паровых котлах.

Ведущее место в теплоэнергетике принадлежит паротехнике. Основным типом мощной тепловой электростанции является станция, работающая по паровому циклу и оборудованная котельными и турбинными агрегатами. Назначение котельных агрегатов заключается в надежном и экономичном производстве определенного количества пара заданных параметров.

Размеры, сложность и разнообразие оборудования, габариты здания, стоимость и сложность эксплуатации определяют важное место котельных установок на мощных электростанциях. Поэтому прогресс крупной энергетики самым тесным образом связан с развитием энергетического парогенераторостроения.

Котельные установки (меньшего масштаба) весьма распространены в различных отраслях промышленности – на промышленных теплоэлектростанциях, предназначенных для комбинирования выработки тепла и электрической энергии, как установки, вырабатывающие пар для производственных и отопительных целей, и т.п.

Современный котельный агрегат представляет собой крупное инженерное сооружение, сложный комплекс технических устройств и механизмов, работа которых для обеспечения надежности и экономичности работы агрегата должна быть весьма четкой и строго согласованной.

Целью выполнения курсовой работы является расчет тепломассообменных аппаратов при решении задач в сфере профессиональной деятельности.

1. Описание работы и конструкции паровых котлов

В этой главе подробно рассмотрены: котельный агрегат и его элементы, назначения парового котла и всех его составляющих, а также работа котельного агрегата и всех его элементов.

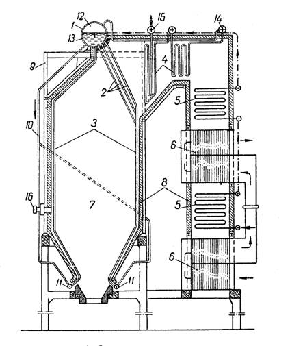
Котельный агрегат; его схема и элементы [1]

Котельный агрегат (рис. 1.) состоит из следующих элементов: собственно парового котла 1, 2, 3, пароперегревателя 4, водяного экономайзера 5, воздухоподогревателя 6, топочного устройства 7, обмуровки 8, каркаса 9, арматуры, гарнитуры и соединительных коммуникаций (труб и каналов).

Рис. 1 - Схема котельного агрегата

Назначением парового котла (в узком смысле слова, как элемента котлоагрегата) является превращение поступающей в него воды в насыщенный пар заданного давления. Собственно паровой котел состоит из разреженного пучка труб – фестона 2, системы экранных труб 3 и барабана 1.

Размещенные у стен топки экранные трубы 3 расположены вертикально. Из барабана 1 по опускным трубам 10 к нижним коллекторам экранных труб 11 подводится вода. Топочные экраны воспринимают большое количество тепла от заполняющих топочное пространство 7, интенсивно излучающих, раскаленных продуктов сгорания топлива. Вследствие этого в экранных трубах часть воды превращается в пар. Пароводяная смесь движется снизу вверх и отводится в барабан котла 1. Здесь пар отделяется от воды и поступает в паровое пространство 12, а вода из водяного пространства 13 поступает в опускные трубы 10.

Так осуществляется непрерывное движение воды по замкнутому пути, называемое естественной циркуляцией воды и происходящее вследствие разности удельных весов пароводяной смеси (в экранных трубах) и воды (в опускных трубах).

В экранах образуется основное количество пара, производимого котлом. Они служат также для предохранения стен топки от воздействия топочных газов, имеющих высокую температуру, и для предотвращения ошлакования топки.

Фестонные трубы 2 являются продолжением экранных труб, размещенных у задней стенки топки. Они образуются путем разводки труб заднего однорядного экрана в несколько рядов. Таким образом, создается пучок труб, которому тепло передается излучением и конвекцией, и продукты сгорания охлаждаются до заданной температуры перед пароперегревателем. Кроме того, фестон служит для защиты пароперегревателя от излучения заполняющих топку продуктов сгорания.

В барабане котла 1, как правило, устанавливаются сепарирующие устройства, служащие для отделения воды от пара и обеспечивающие получение практически сухого насыщенного пара.

Важным элементом котельного агрегата является пароперегреватель 4. Он предназначен для перегрева до заданной температуры полученного в котле насыщенного пара. Пароперегреватель состоит из группы параллельно включенных изогнутых труб-змеевиков, присоединенных к коллекторам. Насыщенный пар из парового пространства барабана котла по соединительным трубам поступает во входной коллектор пароперегревателя 14, далее движется по змеевикам, где перегревается до заданной температуры, а затем поступает в выходной коллектор 15 и оттуда направляется к потребителю.

Основное значение водяного экономайзера 5 заключается в подогреве питательной воды за счет тепла продуктов сгорания топлива. Конструкция экономайзера аналогична конструкции пароперегревателя. Вода подается питательным насосом во входной (нижний) коллектор экономайзера, проходит по змеевикам, поступает в выходной коллектор, а оттуда – в барабан котла. В крупных агрегатах, как правило, применяются двухступенчатые экономайзеры, как показано на рис 1.

Воздухоподогреватель 6 служит для подогрева поступающего в топку воздуха за счет тепла дымовых газов. Газы движутся сверху вниз внутри труб, омываемых снаружи поперечным потоком воздуха.

В топочном устройстве 7 осуществляется сжигание твердого топлива в виде пыли. Смесь топлива и воздуха поступает в топку из горелок 16, в топочной камере происходит воспламенение и горение топлива. Топочное устройство должно обеспечивать:

а) высокую степень полноты сжигания топлива при минимальном количестве избыточного воздуха;

б) охлаждение продуктов сгорания топлива до заданной условиями проектирования температуры.

Обмуровку 8 составляют стены и перекрытия котельного агрегата, выполненные из кирпича или из специальных плит и щитов. Она отделяет от наружного пространства топку и последующие газоходы агрегата – каналы, в которых размещены поверхности нагрева и по которым движутся дымовые газы. Внутренняя часть обмуровки топки, выполняемая из огнеупорных материалов, называется футеровкой. Обмуровка должна обладать хорошими теплоизоляционными свойствами для обеспечения невысокой температуры ее наружной поверхности и небольших потерь тепла в окружающую среду, а также должна быть плотной, обеспечивающей минимальные присосы внешнего воздуха в работающие под разряжением газоходы.

Каркас 9 служит для крепления и поддержания всех частей котельного агрегата и его обмуровки. Он выполняется в виде металлической конструкции из колонн и балок и опирается на фундамент.

Для возможности эксплуатации котельного агрегата необходим ряд приспособлений и устройств, носящих название арматуры и гарнитуры. К обязательной арматуре относятся: манометр, водоуказательные приборы, предохранительные клапаны, питательные, автоматические обратные, паровые, спускные и продувочные клапаны. Гарнитура агрегата – это преимущественно чугунные детали: дверки, крышки люков, гляделки в обмуровке, заслонки для регулирования тяги, а также обдувочные устройства, служащие для очистки поверхности нагрева от отложений летучей золы.

Соединительные коммуникации агрегата состоят из труб, подводящих воду к экранам и отводящих из экранов пароводяную смесь, из соединительных труб между экономайзером и барабаном котла и между котлом и пароперегревателем, из воздухопроводов – каналов для подвода воздуха и других более мелких внутренних коммуникаций.

На рис. 1 приведена П-образная компоновка агрегата. Она характеризуется наличием дух вертикальных шахт – топочной и конвективной и расположенного вверху соединительного газохода. Образующиеся в топке продукты горения движутся в топочном пространстве снизу вверх, омывают фестон, направляются в соединительный газоход, где расположен пароперегреватель, затем поворачивают на 90º, поступают конвективную шахту и движутся в ней сверху вниз, омывая последовательно поверхности нагрева водяного экономайзера и воздухоподогревателя. Охлажденные продукты горения отсасываются дымососом и через дымовую трубу удаляются в атмосферу. В случае надобности дымовые газы предварительно очищаются в специальных устройствах от летучей золы.

Воздухоподогреватели [1]

Воздухоподогреватель - теплообменный аппарат для нагревания проходящего через него воздуха. Его широко применяют в котельных установках тепловых электростанций и промышленных предприятиях, в печных агрегатах промышленности (например, металлургической, нефтеперерабатывающей), в системах воздушного отопления, приточной вентиляции и кондиционирования воздуха.

В качестве теплоносителя используют горячие газообразные продукты сгорания (в котельных и печных установках), водяной пар, горячую воду или электроэнергию (в системах отопления и вентиляции).

По принципу действия воздухоподогреватели разделяют на рекуперативные и регенеративные. В рекуперативных воздухоподогревателях теплообмен между теплоносителем и нагреваемым воздухом происходит непрерывно через разделяющие их стенки поверхностей нагрева, в регенеративных - осуществляется попеременно нагреванием и охлаждением насадок (металлических или керамических) неподвижных или вращающихся поверхностей нагрева воздухоподогревателя. На тепловых электростанциях применяются главным образом трубчатые (стальные и чугунные) рекуперативные воздухоподогреватели, реже - вращающиеся регенеративные. В металлургической промышленности широко распространены регенеративные Воздухоподогреватели периодического действия с керамической насадкой. Современные металлические воздухоподогреватели позволяют нагревать воздух до 450-600°С, воздухоподогреватели с керамической насадкой - до 900-1200°С.

Рис. 2 - Схема воздухоподогревателя

2. Составление модели расчета воздухоподогревателя

В данном разделе рассматривается формулировка задачи для расчета кожухотрубчатого двухходового воздухоподогревателя парового котла; представляются исходные данные и необходимые расчетные формулы.

 

2.1 Содержательная формулировка задачи

Задачей расчета теплообменного аппарата является определение основных размеров аппаратов и выбор их общей компоновки. Здесь рассматривается определение диаметра корпуса аппарата, количества и длины трубок, выбор размещения трубок в трубных плитах и расположение перегородок в трубном и межтрубном пространствах, определение диаметра патрубков для рабочих сред.

 

2.2 Исходные данные

Исходные данные к проекту: Дымовые газы(13% СО,11% НО),в количестве 19,6 кг/с движутся по стальным трубам диаметром 53/50 мм со скоростью 14 м/с.Температура газов на входе в воздухоподогреватель - 380.Воздух в количестве 21.5 кг/сек нагревается от 30 до 260 и движется поперёк трубного пучка со скоростью 8 м/с.Трубы расположены в шахматном порядке.

 

2.3 Расчетные формулы

Ниже подробно рассмотрены основные расчетные формулы для решения поставленной выше задачи.

2.3.1 Расчет проточной части трубного пространства

Основную группу теплообменных аппаратов, применяемых в промышленности, составляют поверхностные теплообменники, в которых тепло от горячего теплоносителя передается холодному теплоносителю через разделяющую их стенку.

Так как имеет место сложный теплообмен излучением и конвекцией, то основное уравнение теплопередачи будет иметь вид:

 (1)

где Q – тепловой поток (расход передаваемой теплоты), Вт,

K – суммарный коэффициент теплопередачи, Вт/(м2·К),

F - площадь поверхности теплопередачи, м2,

Δtср – средняя разность температур горячего и холодного теплоносителя, К.

Суммарный коэффициент теплоотдачи определяется следующим образом:

 (2)

Коэффициент теплоотдачи для воды, передаваемой тепло конвекцией, равен:

 (3)

где Nu – критерий Нуссельта, характеризующий интенсивность перехода тепла на границе поток – стенка;

λ – коэффициент теплопроводности теплоносителя;

dдиаметр трубки.

Коэффициент Нуссельта для воды (при Re > 10000) найдем из соотношения:

 (4)

где Re – критерий Рейнольдса, характеризующий соотношение сил инерции и трения в потоке:

 (5)

Коэффициент теплоотдачи для дымовых газов, передаваемых тепло излучением, равен:

 (6)

где = 5,67 Вт / м2·К4 - коэффициент излучения абсолютно черного тела,

ε’ – степень черноты поверхности теплообменника;

εг – степень черноты дымовых газов;

Tг и Tв – средние температуры по Кельвину газов и воды соответственно.

Степень черноты дымовых газов найдем по соотношению [3]:

 (7)

где  - степени черноты углекислого газа и паров воды соответственно. Эти величины определяются по справочникам с учетом парциального давления газа и средней длины пути луча, который определяется по формуле:

 (8)

где dн и dвнаружный и внутренний диаметры трубки соответственно;

s1 и s2 – шаги размещения трубок поперек и вдоль тока среды соответственно.

Степень черноты поверхности теплообменника равна

 (9)

где  - степень черноты стенки трубки.

Термическое сопротивление стальной стенки и загрязнений равно:

 (10)

где rзагр1 и rзагр2 – тепловая проводимость загрязнений стенок;

δ – толщина стенки;

λст – коэффициент теплопроводности стенки.

Тогда коэффициент теплопередачи будет равен:

 (11)

Средняя разность температур Δtср определяется следующим образом [2]:

 (12)

где Δtб и Δtм – большая и меньшая разности температур на концах теплообменника соответственно.

Если отношение , то с достаточной точностью вместо уравнения (12) можно применять следующее уравнение:

(13)

Следует отметить, что из уравнения (12) вытекает: если Δtб =0 или Δtм =0, то и Δtср =0; если Δtб = Δtм, то Δtср = Δtб = Δtм.

Если температура одного из теплоносителей в процессе теплопередачи не меняется вдоль поверхности (конденсация насыщенного пара, кипение жидкости), то среднюю разность температур Δtср также определяют по уравнениям (12) и (13).

Формулы (12) и (13) применимы при условии, что в теплообменнике значение коэффициента теплопередачи К и произведение массового расхода на удельную теплоемкость G·с для каждого из теплоносителей можно считать постоянным вдоль всей поверхности теплообмена.

В тех случаях, когда вдоль поверхности теплообмена значительно меняется величина коэффициента теплопередачи К (или произведение массового расхода на удельную теплоемкость G·с), применение средней логарифмической разности температур [уравнение (12)] становится недопустимым. В этих случаях дифференциальное уравнение теплопередачи решают методом графического интегрирования.

Среднюю температуру воды найдем по формуле:

 (14)

где tв нач и tв кон - начальная и конечная температуры воды соответственно.

Среднюю температуру дымовых газов найдем по формуле:

 (15)

Средний расход тепла, передаваемого от дымовых газов к воде, найдем по формуле:

 (16)

где Gв - весовой расход воды в теплообменнике;

cв – средняя удельная теплоемкость воды;

tв нач и tв кон - начальная и конечная температуры воды соответственно.

Площадь поверхности теплообмена аппарата находится из соотношения (1):

 (17)

Расчетная длина трубок определяется по выражению:

 (18)

Из уравнения непрерывности потока:

 (19)

легко определяется площадь сечения трубок одного хода:

 (20)

где G – весовой расход рабочей среды, кг / с;

w - скорость движения, м / с;

γ – удельный вес среды, кг / м3.

Площадь сечения определяется также соотношением

 

откуда находим количество трубок одного змеевика

 (21)

где dв – внутренний диаметр трубок.

Если по формуле (17) длина трубок окажется больше, чем 6 – 7 м, то следует принять несколько параллельно работающих змеевиков. Число ходов при этом составит:

 (22)

где L – рабочая длина трубок.

Общее количество трубок принятой длины L составит:

 (23)

Это количество трубок необходимо разместить в трубной плите и соответственно с принятым размещением определить диаметр корпуса аппарата.

2.3.2 Выбор и размещение трубок в трубных плитах

Выбор размещения трубок в трубных плитах должен производиться с учетом таких требований:

1) достижение максимальной компактности устройства, приводящей к уменьшению диаметров трубных плит и корпуса аппарата, а также к уменьшению сечения межтрубного пространства, что увеличивает скорость движущейся в нем рабочей среды и повышает коэффициент теплопередачи;

2) обеспечение достаточной прочности трубных плит и условий прочного и плотного крепления трубок в плитах;

3) придание конструкции аппарата максимальной «технологичности» в смысле облегчения условий изготовления и ремонта аппарата.

Соблюдение этих важных требований связано с выбором геометрической конфигурации размещения трубок в плитах и шага размещения.

По геометрической конфигурации различают следующие способы размещения трубок:

2)  по концентрическим окружностям.

Преимущественно распространение на практике получил первый из этих способов, причем здесь в свою очередь различают размещение труб по вершинам равносторонних треугольников (по сторонам правильных шестиугольников) и по вершинам и сторонам квадратов.

Если a – количество трубок, расположенных по стороне наибольшего шестиугольника, то общее количество трубок в пучке b будет равно:

 (24)

При этом количество трубок, расположенных по диагонали наибольшего шестиугольника равно

 (25)

Объединив соотношения (24) и (25) можно получить:

 (26)

В круглых плитах цилиндрических аппаратов при расположении трубок по периметрам правильных шестиугольников часть плит оказывается неиспользованной.

Количество трубок, размещенных дополнительно на указанных сегментах, определяется в зависимости от числа дополнительных рядов на сегменте (параллельных сторонам шестиугольников) и числом труб в каждом из этих рядов. Данные о количестве дополнительных трубок, располагаемых на сегментах трубных плит, приведены в справочной литературе.

 

2.3.3 Определение внутреннего диаметра корпуса аппарата

Внутренний диаметр корпуса  теплообменного аппарата определяется в зависимости от активной площади трубной плиты Ф, заключенной в этом корпусе.

 (27)

откуда

 (28)

Активная площадь трубной плиты слагается из полезной площади Фп, приходящейся на размещенные в плите трубки, и свободной площади Фс, не заполненной трубками:

 (29)

Полезная площадь трубной плиты прямо пропорциональна числу трубок аппарата:

 (30)

где Фтр – площадь плиты, необходимая для размещения одной трубки, включая и межтрубное пространство.

Величина площади Фтр при размещении трубок по вершинам правильных многоугольников определяется соотношением

 (31)

где t – шаг размещения трубок;

α – угол, образуемый центральными линиями трубных рядов.

Нетрудно заключить, что при размещении трубок по вершинам равносторонних треугольников (шахматное расположение) α = 60º и sinα = 0,866; при размещении трубок по вершинам квадратов (коридорное расположение) α = 90º и sinα = 1.

Свободная площадь трубной плиты определяется ее конструктивным оформлением. К ней относятся площадь по периферии трубного пучка, полосы для помещения перегородок в камерах аппаратов. Она составляет приблизительно 10 – 50 % от полезной площади трубной плиты Фп.

Таким образом, можно написать:

 (32)

или также

 (33)

где ψ – коэффициент заполнения трубной плиты.

При размещении трубок по шестиугольникам можно принимать ψ = 0,6 – 0,8.

Подставляя выражение (33) в формулу (28) получим расчетное соотношение для определения внутреннего диаметра корпуса аппарата:

 (34)

где ;

dн – наружный диаметр трубки.

Если принять во внимание, что поверхность теплообмена аппарата

 

и пренебречь небольшой разницей между значениями расчетного и наружного диаметров трубки dр и dн, то получим:

 (35)

Окончательно величина диаметра корпуса уточняется при изображении на чертеже размещения трубок и трубной плиты с учетом всех конструктивных особенностей данного аппарата.

 

2.3.4 Расчет проточной части межтрубного пространства

При движении в межтрубном пространстве однофазной среды исходным соотношением является по аналогии с расчетом трубного пространства уравнение непрерывности потока:

 (36)

откуда легко определяется площадь сечения трубок одного хода:

 (37)

где G – весовой расход рабочей среды,

w - скорость движения,

γ – удельный вес среды.

Величина площади сечения  определяется условиями размещения трубного пучка. При этом можно получить следующее соотношение:

 (38)

Если сопоставить эту величину с площадью сечения трубного пространства , то при средних значениях  получаем:


В случае поперечного потока среды в межтрубном пространстве полную площадь Фсв можно отнести к диаметральному продольному сечению, причем здесь

 (39)

где L – рабочая длина трубок.

Далее находим:

 (40)

где b – число трубок по диагонали периферийного шестиугольника.

В случае поперечного движения среды степень заполнения сечения трубками

 (41)

Обычно в теплообменных аппаратах .

Число ходов определяется на основании соотношения:

 (42)

либо также

 (43)

При этом количество перегородок

 (44)

3. Расчет аппарата для конкретных данных

В этой главе подробно рассмотрен расчет воздухоподогревателя для исходных данных.

3.1 Расчет проточной части трубного пространства

В трубном пространстве движется вода.

Примем конечную температуру охлаждения дымовых газов 300 ºС. Тогда температурная схема будет иметь вид:


Так как отношение , то среднюю разность температур найдем по формуле (12):

 

Среднюю температуру воздуха найдем по формуле (14):

Среднюю температуру дымовых газов найдем по формуле (15):

 

Тогда средний расход передаваемого тепла будет равен:

 

где средняя удельная теплоемкость воздуха св = 1,02 кДж / кг · К при t =145 ºC [5].

Суммарный коэффициент теплоотдачи определяем по формуле (2). Для этого найдем все входящие в него составляющие по формулам (3) - (11):

Для воздуха [5] ρ = 827,3 кг / м3 ; μ = 119,7 ·10-6 Па · с; λ = 0,629 Вт /м·К; Pr = 0,888.

Степень черноты дымовых газов найдем по соотношению (7). Для этого необходимо найти степени черноты углекислого газа и паров воды.

Длина пути луча равна

здесь s1 = 2,4dн и s2 = 2,3dн рекомендованы нормалями Главхиммаша при диаметре трубок d = 53 / 50мм.

Далее находим

Тогда по номограммам [3] этим значениям соответствует:

Значит, согласно уравнению (7) степень черноты дымовых газов будет равна

 

Степень черноты поверхности теплообменника найдем по соотношению (9). Из [2] для окисленной стали среднее значение степени черноты .

Приняв температуру стенки равной температуре остывших газов, можно записать:

Тогда коэффициент теплоотдачи для дымовых газов, передаваемых тепло излучением, будет равен

Найдем конвективную составляющую коэффициента теплоотдачи газа.

Для дымовых газов [5] ρ = 0,384 кг / м3 ; μ = 39,3 ·10-6 Па · с; λ = 7,84 · 10-2 Вт /м·К; Pr = 0,614.

Тогда найдем суммарный коэффициент теплоотдачи для дымовых газов

Термическое сопротивление стальной стенки и загрязнений равно:

где из [2] для стальной стенки ; .

Значит, коэффициент теплопередачи будет равен:

Площадь поверхности теплообмена аппарата будет равна:

 

Принимаем площадь поверхности теплообмена аппарата равную 1000 м2.

Тогда количество тепла, переданного конвекцией и излучением, найдем по уравнению (1):

Площадь сечения трубок трубного пространства определим по формуле (20):

 

Число трубок по формуле (21) составит:

 

Принимаем число трубок в соответствии с рекомендациями нормалей Главхиммаша равное n = 174.

Расчетная длина трубок в соответствии с (18) равна:

 

4. Проверочный расчет

Для поддержания теплового баланса в системе необходимо выполнение следующего равенства:

 

Получаем

Погрешность вычислений составляет

Значит, конечной температурой дымовых газов при расчете воздухопод

5. Результаты расчета

Задавшись выше целью работы, были решены следующие задачи:

1) Рассчитана проточная часть трубного пространства.

Приняв конечную температуру дымовых газов 300 ºС, получили:

а) среднюю разность температур ;

б) среднюю температуру воздуха ;

г) средний расход передаваемого тепла  ;

д) площадь поверхности теплообмена аппарата  ;

е) площадь сечения трубок трубного пространства ;

ж) число трубок трубного пространства n = 174;

з) длина трубок трубного пространства  

2) Рассчитана теплопередача лучеиспусканием.

а) Суммарный коэффициент теплоотдачи лучеиспусканием и конвекцией для дымовых газов  ;

б) Количество тепла, переходящего от более нагретого тела к менее нагретому посредством лучеиспускания и конвекции равно .

3) Расчет воздухоподогревателя вычислен с погрешностью .

6. Анализ результатов счета

Проверочный расчет показал, что в системе соблюден тепловой баланс. А значит, с учетом погрешности, расчет выполнен верно.

Похожие работы на - Расчет кожухотрубчатого двухходового воздухоподогревателя парового котла

 

Не нашли материал для своей работы?
Поможем написать уникальную работу
Без плагиата!
Без нейросетей!