|
№ варианта
|
Тип двигателя
|
Pном,
кВт
|
Uном,
B
|
η, %
|
Rя,
Ом
|
Rдп,
Ом
|
Lя,
мГн
|
nном,
об/ мин
|
α, град.
|
Id/Idгр,
(Idгр при α п.10)
|
|
1
|
2
|
3
|
4
|
5
|
6
|
7
|
8
|
9
|
10
|
11
|
|
11
|
2ПН200M
|
60
|
440
|
90,5
|
0,047
|
0,029
|
1,6
|
3150
|
57
|
0,48
|
1. функциональная
схема трёхфазного нереверсивного мостового тиристорного преобразователя с
нагрузкой ДПТ НВ представлена на рис.1.1.
. Расчет и выбор силового трансформатора для питания
тиристорного преобразователя
Выбор силового трансформатора производится по расчетным
значениям тока I2.расч, напряжению U2ф.расч, и типовой
мощности SТ. Напряжение первичной обмотки U1ф должно
соответствовать напряжению питающей сети (380/220 В).
Расчетное значение напряжения U2ф.расч вторичной
обмотки трансформатора, питающего ТП в режиме непрерывных токов, с учетом
необходимого запаса на падение напряжения в силовой части, определяется
формулой:
где ku=0,427 - коэффициент, характеризующий
отношение напряжений U2ф/Ud 0 в идеальном трехфазном мостовом выпрямителе;c=1,1 -
коэффициент запаса по напряжению, учитывающий возможное снижение напряжения
сети;a=1,1 - коэффициент запаса, учитывающий неполное открытие
вентилей при максимальном управляющем сигнале;R=1,05 - коэффициент
запаса по напряжению, учитывающий падение напряжения в обмотках трансформатора,
в вентилях и при коммутации;d.ном - номинальное напряжение на выходе
преобразователя, равное номинальному напряжению двигателя, Ud.ном= Uном.
Расчетное значение тока вторичной обмотки:
где kI= 0,815 - коэффициент схемы, характеризующий
отношение токов I2ф/Id в идеальной мостовой схеме;i=1,1
- коэффициент, учитывающий отклонение формы анодного тока вентилей от
прямоугольной;d.ном - значение номинального тока двигателя
где Рном- номинальная мощность электродвигателя;
- номинальный КПД электродвигателя;
- номинальное напряжение электродвигателя.
Рассчитываем (предварительно) действующее значение тока первичной
обмотки трансформатора:
где
- расчетный коэффициент трансформации
трансформатора.
где
- фазное напряжение первичной обмотки
трансформатора,
=220 В;
- схемный коэффициент первичного тока. Для мостовой схемы
=0,815. мощность
первичной обмотки трансформатора
где
-число фаз первичной обмотки,
=3.
мощность вторичной обмотки трансформатора
где m2 - число фаз вторичной обмотки трансформатора,
=3;
-действующее значение вторичного тока трансформатора;
- фазное напряжение вторичной обмотки трансформатора. ориентировочно принимаем
=
;
типовая мощность трансформатора
Трансформатор выбираем из условий:
- номинальное фазное напряжение вторичной (вентильной)
обмотки трансформатора должно быть близким к значению U2ф.расч:
.95×U2ф.расч = 226,765 £ U2ф.ном £ 1.2×U2ф.расч =
286,44
ток вторичной обмотки трансформатора должно быть больше или
равен I2.расч:2.ном³ I2.расч.
номинальная мощность трансформатора должна быть больше или
равна типовой: ном ³ SТ.
трансформатор выбирается по [3, табл.8.5].
Таблица 2.1
Параметры силового трансформатора ТСП-125/0,7-УХЛ4
|
Наименование
|
Обозна- чение
|
Величина
|
|
Номинальная
мощность, кВА
|
Sном
|
117
|
|
Напряжение
вентильной обмотки (линейное), В
|
U2ном
|
410
|
|
Ток вентильной
обмотки, А
|
I2ном
|
164
|
|
Напряжение
сетевой обмотки (линейное), В
|
U1ном
|
380
|
|
Мощность
холостого хода, Вт
|
Pхх
|
520
|
|
Мощность
короткого замыкания, Вт
|
Pкз
|
2700
|
|
Напряжение
короткого замыкания, %
|
Uкз
|
5,8
|
|
Ток холостого
хода, %
|
Iхх
|
4
|
Рассчитываем действительный коэффициент трансформации
выбранного трансформатора
где U1ф.ном = U1ном / Ö3 = 220В, U2ф.ном = U2ном /
Ö3 = 236,7В - номинальные значения фазного
напряжения первичной и вторичной обмоток.
действительные значения рабочих токов первичной и вторичной обмоток
2 =
I2расч = 135,07 А
Находим полное, активное и индуктивное сопротивления
трансформатора, приведенные к вторичной обмотке:
где Uкз% - напряжение короткого замыкания (табл.
2.1).
- номинальное линейное напряжение вторичной (вентильной) обмотки
трансформатора;
Активное сопротивление, приведенное к вторичной обмотке
трансформатора
где Ркз - мощность короткого замыкания, из табл.
2.1;
- номинальный ток вентильной (вторичной) обмотки.
Индуктивное сопротивление, приведенное к вторичной обмотке
трансформатора
. Построение внешних характеристик ТП для различных режимов
его работы
a = 15°, 30°, 45°, 60°, 75°, 90°
Внешняя характеристика ТП - это зависимость Ed =
f(Id) при Uу = const (a = const). Внешние
характеристики, полученные при различных фиксированных значениях Uу
образуют семейство внешних характеристик.
рассмотрим расчет и построение внешней
характеристики при угле управления α = 75°.
В режиме непрерывных токов среднее значение ЭДС ТП Ed
не зависит от тока нагрузки Id и определяется только углом
управления a
Ed = Ed 0 × cosa = 553,9·cos75° = 143,36В
где Еd 0 - ЭДС условного холостого
хода.
Режим прерывистых токов при углах открывания a ≥ aгр= 10°05¢ (при p = 6) ограничен
эллипсом (рис.3.1 зона I), который описывается уравнениями:
Ed.гр = В × cosa = 553,9·cos75° = 143,36Вd.гр
= А× sina = 78,59·sin75° =75.91A
где В = Ed 0 = 553.9B - большая
полуось эллипса (для трехфазной мостовой схемы Ed 0 = 2,34U2ф.ном= 2,34·236,7 = 553,9В).
А - малая полуось эллипса
где х2т - индуктивное сопротивление трансформатора,
приведенное к вторичной обмотке;
хd =w∙Lя -= 2πf· Lя = 2·3,14·50·0,0016 = 0,502 - индуктивное
сопротивление цепи нагрузки;
- число плеч силовой схемы (для мостовых m-фазных схем
k = 2);
p - пульсность схемы (для трехфазной мостовой схемы р = 6).
Рассчитанным значениям Ed.гр = 143.36В и Id.гр
= 75.91А соответствует точка 8 на графике (рис. 3.1), которая лежит на
границе зон прерывистого и непрерывного токов. В зоне непрерывных токов (зона
II, рис.3.1) характеристика проходит параллельно оси тока нагрузки через точки
8 и 9, где точке 9 соответствуют координаты Id = Id.ном =150,67А
и Ed = Ed.гр = 143,36В.
Для построения внешней характеристики в зоне прерывистых
токов (зона I, рис.3.1) необходимо рассчитать координаты нескольких (7 … 8)
точек в этой зоне.
Максимальное значение ЭДС E′d 0 при холостом ходе (Id =0) равно значению ЭДС в цепи
нагрузки и определяется в зависимости от угла управления a выражениями:
где Edm - амплитудное значение выпрямленной ЭДС (для
трехфазной мостовой схемы Edm =
×U2ф.ном =
× 236,7 = 579,8В.
На холостом ходе интервал проводимости тиристоров l = 0. в
режиме прерывистых токов интервал проводимости тиристоров находится в диапазоне
0< l< p/р.
Холостому ходу ТП соответствует точка 1. Поскольку угол управления
α = 75°> p/р=30°, то значение ЭДС холостого тока определяется по формуле:
′d0= Edm
cos(α-p/р)=
×U2ф.ном cos(α-p/р)=
=
∙236,7 cos(75-30)=409 В
Для нахождения координат (Id, Ed)
промежуточных точек 2, 3, 4, 5, 6, 7 зададим следующие значения интервалов
проводимости тиристоров в данных точках:
l2= 0.55∙
, l3= 0.7∙
, l4= 0.8∙
,
l5= 0.85∙
, l6= 0.9∙
, l7= 0.95∙
,
Выбор таких значений l связан с необходимостью получения более равномерной расстановки
точек по значениям тока. Определим, для примера, величину тока и ЭДС в точке 2
(l2= 0.55∙
= =0.57596 рад):
где E2m - максимальное значение ЭДС вторичной обмотки
(для трехфазной мостовой схемы E2m =Edm=
×U2ф.ном = 579,8В.
Аналогично рассчитываются величины тока и ЭДС в остальных точках.
Все результаты расчета внешней характеристики при α=75° записываются в табл. 3.1. Указанным
выше способом рассчитываются и строятся внешние характеристики при других
значениях угла управления α, а полученные результаты так же записываем в таблицу 3.1,
дополнив ее строками со значением углов управления.
В режиме непрерывного тока (l= p/р) ЭДС не зависит от
тока и график проходит параллельно оси тока нагрузки (зона II, рис.3.1).
Таблица 3.1
Результаты расчета внешних характеристик
|
Режим
прерывистого тока
|
Режим
непрерывного тока
|
|
|
Точки
|
1
|
2
|
3
|
4
|
5
|
6
|
7
|
8
|
9
|
|
|
α =5
(75°)
|
|
|
l, рад
|
0
|
0.55∙ 0.7∙ 0.8∙ 0.85∙ 0.9∙ 0.95∙
|
|
|
|
|
|
|
|
|
|
Id,
A
|
0
|
10.13
|
21.62
|
32.86
|
39.72
|
47.48
|
56.18
|
75.91
|
150.67
|
|
|
Ed,
A
|
409
|
279.7
|
239.59
|
212.2
|
198.37
|
184.47
|
170.5
|
143.36
|
143.36
|
|
|
α =
(15°)
|
|
l, рад
|
0
|
0.55∙ 0.7∙ 0.8∙ 0.85∙ 0.9∙ 0.95∙
|
|
|
|
|
|
|
|
|
Id,
A
|
0
|
0.153
|
2.101
|
4.88
|
6.89
|
9.407
|
12.48
|
20.35
|
150.67
|
|
Ed,
A
|
579.8
|
572.5
|
565.9
|
559.1
|
555.02
|
550.6
|
545.6
|
535.03
|
535.03
|
|
α =
(30°)
|
|
l, рад
|
0
|
0.55∙ 0.7∙ 0.8∙ 0.85∙ 0.9∙ 0.95∙
|
|
|
|
|
|
|
|
|
Id,
A
|
0
|
3.15
|
8.17
|
13.81
|
17.5
|
21.87
|
26.98
|
39.31
|
150.67
|
|
Ed,
A
|
579.8
|
551.03
|
533.62
|
519.93
|
512.49
|
504.66
|
496.46
|
479.7
|
479.7
|
|
α =
(45°)
|
|
l, рад
|
0
|
0.55∙ 0.7∙ 0.8∙ 0.85∙ 0.9∙ 0.95∙
|
|
|
|
|
|
|
|
|
Id,
A
|
0
|
5.94
|
13.69
|
21.79
|
26.91
|
32.84
|
39.64
|
55.6
|
150.67
|
|
Ed,
A
|
560
|
492.02
|
465.02
|
445.32
|
434.1
|
424.37
|
413.47
|
391.67
|
391.67
|
|
α =
(60°)
|
|
l, рад
|
0
|
0.55∙ 0.7∙ 0.8∙ 0.85∙ 0.9∙ 0.95∙
|
|
|
|
|
|
|
|
|
Id,
A
|
0
|
8.32
|
18.28
|
28.29
|
34.49
|
41.57
|
49.61
|
68.103
|
150.67
|
|
Ed,
A
|
502.12
|
399.47
|
364.74
|
340.36
|
327.85
|
315.16
|
302.29
|
276.95
|
276.95
|
|
α =
(90°)
|
|
l, рад
|
0
|
0.55∙ 0.7∙ 0.8∙ 0.85∙ 0.9∙ 0.95∙
|
|
|
|
|
|
|
|
|
Id,
A
|
0
|
11.26
|
23.49
|
35.19
|
42.24
|
50.14
|
58.92
|
78.63
|
150.67
|
|
Ed,
A
|
289.9
|
140.87
|
98.12
|
69.59
|
55.37
|
41.21
|
27.12
|
0
|
0
|
|
|
|
|
|
|
|
|
|
|
|
|
|
|
|
|
|
|
|
Рис.3.1 Внешние характеристики ТП при различных углах
управлении α
. Расчет и построение скоростных характеристик ДПТ в режиме
прерывистого и непрерывного токов
a = 15°, 30°, 45°, 60°, 75°, 90°
Скоростная характеристика дпт
ω=f(Iн), без учета падения напряжения на внутреннем
сопротивлении ТП, описывается следующим уравнением:
где

Рис.4.1 Вид скоростных характеристик ДПТ при различных углах
управления α
. Построение характеристик управления ТП при Id
=0, Id = 0,5×Id.гр и Id = Id.
и линейном пилообразном опорном напряжении
Характеристика управления ТП - это зависимость Ed
= f(UУ) при заданном значении тока нагрузки Id . Вначале
рассчитывается значение Id.гр при a=75о:
Id.гр = А× sina = 78,59·sin75° =75.91A
а затем и значение Id = 0,5× Id.гр.=
0,5·75,91 = 37,95А
Полученные значения тока, как и значение Id = 0,
используются при построении характеристик управления.
Задаваясь необходимым значением тока Id (по
заданию три значения: Id =0, 0.5∙Id.гр и Id.гр)
находим значение λ для всех значений угла a, используя формулу:
Далее подставляя полученные значения λ и угла управления a в формулу для ЭДС
определяем величину Еd:
Так делаем для трех значений тока Id (0, 0.5∙Id.гр
и Id.гр). Полученные данные также записываются в таблицы 5.1-5.3.
Напряжение управления при линейной пилообразной форме Uоп
по известному значению угла a
рассчитывается по следующей формуле
Таблица 5.1
Результаты расчета характеристики управления для Id =0
|
Еd,
В
|
289.91
|
410
|
502.15
|
560.07
|
579.83
|
579.83
|
|
α, град.
|
90
|
75
|
60
|
45
|
30
|
15
|
|
Uупр
В
|
0
|
2
|
4
|
6
|
8
|
10
|
Таблица 5.2
Результаты расчета характеристики управления для Id =Id.гр
|
Еd,
В
|
3.36
|
143.27
|
276.95
|
391.7
|
479.7
|
535.03
|
|
α, град.
|
90
|
75
|
60
|
45
|
30
|
15
|
|
Uупр
В
|
0
|
2
|
4
|
6
|
8
|
10
|
Таблица 5.3
Результаты расчета характеристики управления для Id =0.5·Id.гр
|
Еd,
В
|
63.74
|
201.7
|
321.4
|
416
|
481.19
|
535.03
|
|
α, град.
|
90
|
75
|
60
|
45
|
30
|
15
|
|
Uупр
В
|
0
|
2
|
4
|
6
|
8
|
10
|
Рис.5.1 Вид характеристик управления ТП при различных
значениях тока нагрузки Id
. Построение временных диаграмм напряжений и токов в нагрузке
Определяем значение тока Id.гр при заданном угле
управления α = 57°.
d.гр = А× sina = 78,59·sin57° = 65.91A
требуемое значение тока Id.
d = [Id/Id.гр] ∙Id.гр
= 0,48·65,91 = 31,636А
где отношение [Id/Id.гр] = 0,48 - по
заданию.
Подставляя значения Id и α в уравнение для тока
рассчитается значение λ.
λ = 0,838 = 49°
Далее, подставляя значение α и λ в выражение для ЭДС
,
определяется значение Еd.
Еd=354,764В
Используя полученные значения λ и Еd, а также, зная углы
управления α,
амплитуды фазного и линейного напряжений:
2ф.m=
×U2ф.ном =
×236,714 =334,764В2л.m=
×U2ф.ном =
×236,714 = 579,83В,
строятся временные диаграммы напряжений и тока в нагрузке, внешний
вид которых представлен на рис.6.1.
Рис.6.1 Временные диаграммы
а - напряжение катодной и анодной групп;
б - напряжение на входе ТП; в - ток в нагрузке
7. Теоретический вопрос к контрольной работе
Широкое применение в электроприводе находит трехфазная
мостовая схема ТП .Эта схема представляет собой сдвоенную нулевую схему,
работающую последовательно в оба полупериода переменного тока.
Поэтому для мостовой схемы:
Ed0 =
, где
- действующее значение линейной ЭДС вторичной цепи трансформатора,
В. По сравнению с трехфазной нулевой схемой мостовая схема имеет преимущества:
) выпрямленная ЭДС при одном и том же вторичном напряжении
трансформатора в 2 раза больше;
) пульсации выпрямленной ЭДС (частота пульсаций рав на 6f/с=300
Гц) в 2 раза больше по частоте и меньшепо амплитуде;
) вентильные группы могут подключаться к сети без трансформатора;
4) типовая мощность трансформатора меньше:
Перечисленные достоинства обусловливают преимущественное
применение трехфазной мостовой схемы в системах электропривода мощностью в
десятки - сотни киловатт.
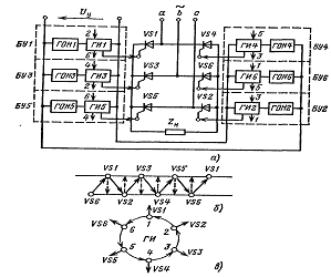
Рассмотрим примеры функциональных схем типовых трехфазных ТП
промышленных серий. На рис. 2.17, а представлена схема трехфазного мостового
нереверсивного ТП. Особенность мостовой схемы в отличие от нулевой заключается
в том, что в каждый момент времени открыты два тиристора, включенных
последовательно с нагрузкой.
Поэтому для поддержания обоих тиристоров во включенном
состоянии ширина открывающих импульсов должна быть не менее 60°, чтобы ТП не
смог закрыться в режиме прерывистых токов, так как через каждые 60° происходит
отключение одного из тиристоров и включение другого. Широкие импульсы
технически сложнее сформировать, чем узкие.
Рис. 2.17. Трехфазная мостовая схема нереверсивного ТП (а) и
дич-граммы очередности открывания тиристоров (б) и работы генераторов импульсов
(б)
Кроме того, широкие импульсы вызывают дополнительный нагрев
тиристоров. Поэтому вместо широких используются сдвоенные узкие импульсы.
Каждый тиристор через каждые 60° после основного открывающего импульса
(сплошная стрелка на рис.2.17, б) получает дополнительный импульс (штриховая
стрелка на рис. 2.17,б). На тиристор с номером i дополнительный импульс
поступает от генератора импульсов с номером i+1.
Диаграмма синхронизированной работы генераторов импульсов
приведена на рис. 2.17, в, где генераторы импульсов изображены в виде кружков,
основные импульсы - радиальными стрелками, а доп-ные - дуговыми стрелками. В
соответствии с диаграммой на рис. 2.17, а короткими вертикальными стрелками
показаны входы и выходы у генераторов для дополнительных импульсов.
Цифры устрелок генератора импульсов указывают номера других
генераторов,с которыми соединены вход и выход данного генератора. В состав СИФУ
входят шесть идентичных блоков управления БУ1-БУ6, в которых на генераторы
импульсов поступает разность опорных напряжений генераторов опорных напряжений
ГОН1-ГОН6 и общего для всех БУ напряжения управления Uy.
Цепь, в которой сравниваются (Uоп> и U/y, выполняет
функцию фазосмещающего устройства. Угол открывания тиристоров регулируется
изменением Uу.
На рис. 7.1 приведена трехфазная мостовая схема реверсивного
ТП с раздельным управлением. Две вентильные группы ВГ1 и ВГ2 представляют собой
два трехфазных моста, включенных встречно- параллельное.
Рис. 7.1. Трехфазная мостовая схема реверсивного ТП с
раздельным управлением вентильными группами
При раздельном управлении открывающие импульсы подаются
только на одну группу, находящуюся в работе, другая группа при этом закрыта. В
связи с этим отсутствует необходимость в уравнительных реакторах. Это снижает
массогабаритные показатели ТП, что является достоинством ТП с раздельным
управлением. Отсутствие уравнительного тока ухудшает характеристики ТП в зоне
малых нагрузок. Однако современные средства управления позволяют корректировать
и улучшать работу ТП в зоне прерывистых токов. Поэтому раздельное управление
находит все более широкое применение в системах электропривода не только
большой, но и малой мощности. Система управления ТП содержит кроме СИФУ1 и
СИФУ2, вырабатывающих управляющие импульсы для вентильных групп ВГ1 и ВГ2,
логическое переключающее устройство (ЛПУ), выполняющее автоматическое
переключение ВГ1 и ВГ2. На ЛПУ возлагаются следующие функции:
) выбор группы для работы в зависимости от знака управляющего
напряжения DUУ - разности задающего напряжения и напряжения
обратной связи;
) запрещение открывания неработающей группы при наличии тока
в работающей группе;
) запрещение снятия открывающих импульсов с работающей группы
при протекании в ней тока;
) обеспечение временной паузы перед включением вступающей,
работу группы.
Для реализации перечисленных функций требуется информация о
наличии тока в вентильных группах и знаке управляющего сигнала. Эта информация
поступает в ЛПУ с датчиков нулевого тока ДНТ1 и ДНТ2, а также с датчика
управления ДУ. Так как ЛПУ - устройство релейного действия, то его входные х0,
х1, х2 и выходные y1, y2 величины
являются дискретными и характеризуются двумя уровнями: низким (условно 0) и
высоким (условно 1). В терминологии алгебры логики сформулированный выше
алгоритм работы ЛПУ можно записать в виде структурных формул:
(7.1)
где y1, y2 - запрещающие сигналы на
открывание ВГ1 и ВГ2; x1, х2 - сигналы наличия тока в ВГ1
и ВГ2; x0 - сигнал выбора вентильной группы для работы (Х0=0,
DUУ>0) для ВГ1, Х0=1,
DUУ<0 для ВГ2); черты над
логической переменной означает ее инверсное значение.
В соответствии с (7.1) запрещающий сигнал у1 подается
на СИФУ1, если Х2=1 (Id2¹0) или x2=0 и x1=0, но x0=1.
Аналогично y2=1 если x1=1 (Id1¹0) или
X1=X2=0, но х0=0.
Если на вход ТП подать переменный сигнал управления с частотой fУ>fC,
то в выходной ЭДС ТП может появиться постоянная составляющая. Это означает, что
преобразование входного сигнала в выходной сопровождается существенными
искажениями. Теоретически ТП теряет полностью управляемость при
.
В диапазоне частот
ТП может пропускать переменный управляющий сигнал, не давая
постоянной составляющей. Однако это имеет место только для небольших диапазонов
изменения a и при определенных начальных фазах
входного сигнала. Поэтому практически полоса пропускания ТП ограничивается
частотой питающей сети. В этой полосе силовая часть ТП может рассматриваться
как безынерционное звено с косинусоидальной зависимостью средней ЭДС от угла
открывания.
В отличие от силовой части ТП СИФУ может вносить заметные фазовые
сдвиги величины a относительно
управляющего напряжения. Они определяются инерционностью элементов, входящих в
состав СИФУ. В зависимости от исполнения СИФУ как инерционное звено обычно
приводится к виду апериодического звена, звена с чистым запаздыванием или к
тому и другому вместе. С учетом инерционности СИФУ передаточные функции ТП для
линейного участка его характеристики управления имеют вид
(7.2)
; (7.3)
(7.4)
где TП»0,010¸0,015 с; tП»0,007¸0,015 с; kП -
коэффициент усиления ТП.
Поскольку инерционность ТП мала, то ее учитывать имеет смысл
только для малоинерционной нагрузки, постоянные времени которой соизмеримы с TП
и tП при условии требуемого высокого быстродействия регулирования
выходной координаты нагрузки. Примером такой нагрузки может служить двигатель
постоянного тока с независимым возбуждением. Структурная схема ТП для такой
нагрузки определяется в соответствии с (7.2)-(7.4). На рис. 7.2 приведена
структурная схема реверсивного ТП с совместным несогласованным управлением,
включенного на двигатель.
Для нагрузки с большой индуктивностью, например -- для
обмотки возбуждения, область прерывистых токов практически отсутствует. В этом
случае IdГР=0 и при несогласованном управлении характеристика
обратной связи по току вырождается в характеристику идеального реле.
Инерционность ТП ничтожно мала по сравнению с инерционностью указанной нагрузки
и не учитывается в расчетах. С учетом отмеченных фактов структурная схема ТП с
активно-индуктивной нагрузкой приобретает вид, показанный на рис. 7.3. Для
согласованного управления обратная связь по току в структурных схемах рис. 7.2
и 7.3 отсутствует и преобразователь оказывается линейным звеном.
Рис. 7.2. Структурная схема реверсивного ТП с совместным
несогласованным управлением вентильными группами при работе на двигатель
постоянного тока
Рис. 7.3. Структурная схема реверсивного ТП с раздельным
управлением с активно-индуктивной нагрузкой
Рис. 2.19. Характеристики управления вентильных групп
реверсивного ТП.
Литература
1.
Справочник по электрическим машинам: В 2 т./ под
общ. ред. И.П. Копылова, Б.К. Клокова. Т. 1. -М.: Энергоатомиздат, 1988. - 456
с.
2.
Анхинюк В.Л., Опейко О.Ф. Проектирование систем автоматического управления
электроприводами: Учебное пособие для вузов. - Мн.: Выш.. шк., 1986. - 143 с.
3.
Комплектные тиристорные электроприводы: Справочник/ И.Х. Евзеров, А.С. Горобец,
Б.И. Мошкович и др.; Под ред. канд. технических наук В. М. Перельмутера. - М.:
Энергоиздат, 1988. - 319 с.
4.
Терехов В.М. Элементы автоматизированного электропривода: Учебник для вузов. -
М.: Энергоатомиздат, 1987. - 224 с.
5.
Башарин А.В., Новиков В.А., Соколовский Г.Г. Управление электроприводами:
Учебное пособие для вузов. - Л.: Энергоиздат. Ленингр. отд-ние, 1982. - 392 с.
.
Руденко B.C.,. Сенько В.И., Чиженко И.М. Основы преобразовательной техники: Учебник
для вузов. - М.: Высш. школа. 1980.- 424 с.
7.
Справочник по проектированию электропривода и систем управления
технологическими процессами /под
ред. В.И. Круповича, Ю.Г. Барыбина, М.Л. Самовера. изд. 3-е, перераб. и доп. - М.: Энергоиздат, 1982. - 486 с.