Разработка лабораторной работы на тему: 'Пирометрические методы измерения температуры'

  • Вид работы:
    Курсовая работа (т)
  • Предмет:
    Физика
  • Язык:
    Русский
    ,
    Формат файла:
    MS Word
    577,92 Кб
  • Опубликовано:
    2012-10-16
Вы можете узнать стоимость помощи в написании студенческой работы.
Помощь в написании работы, которую точно примут!

Разработка лабораторной работы на тему: 'Пирометрические методы измерения температуры'















Курсовая работа

Разработка лабораторной работы на тему «Пирометрические методы измерения температуры»

Введение

тепловой излучение пирометр поверка

Пирометры - бесконтактные измерители температуры, принцип действия которых основан на регистрации теплового излучения объекта измерения преимущественно в диапазонах инфракрасного излучения и видимого света - по-прежнему являются незаменимыми элементами цепей контроля и управления в целом ряде отраслей промышленности - металлургической, машиностроительной, электронной, химической, медико-биологической и т.д. Уникальность подобных приборов заключается в том, что они позволяют измерять температуру тел в труднодоступных местах, на объектах, опасных для человеческого здоровья, а также температуру объектов, находящихся в движении (струя металла при выпуске из печи или ковша, слиток в процессе проката, лопатка вращающейся турбины). На сегодняшний день, практически, ни одна промышленная отрасль (сталелитейная, нефтеперерабатывающая) не обходится без применения пирометров. Поскольку пирометры принципиально не имеют ограничения верхнего предела измерения и не требуют контакта с объектом, то они применяются для измерения высоких и сверхвысоких температур, для измерения температуры агрессивных сред (жидкий металл, особенно цветной). Термометры при таких измерениях теряют свои метрологические свойства или просто разрушаются.

Применение пирометров предпочтительно в ряде случаев при автоматизации процесса там, где необходим непрерывный контроль температуры, при измерении температуры в быстропротекающих процессах (взрыв, вспышка, импульсный нагрев), так как постоянная времени фотоэлектрических приемников излучения чрезвычайно мала и это делает пирометрический контроль практически безынерционным.

И, наконец, пирометры необходимы в тех случаях, когда недопустимо искажение температурного поля объекта, которое может произойти в результате контакта термометра с объектом измерения. Это элементы микросхем, биологические объекты и т.п.

Использование современной элементной базы существенно расширило возможности этих приборов и позволило наделить их новыми свойствами - помимо измерения они могут теперь проводить обработку полученной информации и осуществлять сложные действия по управлению технологическим процессом. Снизился их вес, уменьшились габариты, приборы стали проще и удобнее в эксплуатации. Все это оказалось возможным благодаря применению в приборах новой элементной базы, включающей микропроцессоры.

Перед контактными методами измерения температуры пирометрические обладают следующими преимуществами:

·              высоким быстродействием, определяемым типом приемника излучения и схемой обработки электрических сигналов. При использовании квантовых приемников излучения (фотодиодов) и быстродействующих аналогово-цифровых преобразователей (АЦП) постоянная времени может составлять 10-2-10-6 с;

·              возможностью измерения температуры движущихся объектов и элементов оборудования, находящихся под высоковольтным потенциалом;

·              отсутствием искажения температурного поля объекта контроля, что особенно актуально при измерении температуры материалов с низкой теплопроводностью (дерево, пластик и др.), а также риска повреждения поверхности и формы в случае мягких (пластичных) объектов;

·              возможностью измерения высоких температур, при которых применение контактных средств измерения либо невозможно, либо время их работы очень невелико;

·              возможностью работы в условиях повышенной радиации и температуры окружающей среды (до 250°С) при разнесении приемной головки и электроники пирометра с помощью оптоволоконного кабеля.

1.      Тепловое излучение

 

.1 Источники теплового излучения


Наряду с контактными методами для измерения температуры можно использовать и тепловое излучение, так как известно, что различные свойства (параметры) теплового излучения нагретых тел зависят от их температуры.

Тепловое излучение - это свечение вещества, обусловленное тепловым движением - кинетической энергией его частиц. Так как тепловое движение неустранимо (оно прекращается только при температуре, равной абсолютному нулю, но такая температура, как известно, недостижима), то и тепловое излучение вещества, его свечение, имеет место всегда. Физический механизм этого излучения зависит от температуры и агрегатного состояния вещества. При низких температурах (Т< 500-600 К) излучение обусловлено колебательно-вращательным движением молекул, а также колебаниями атомов или ионов, составляющих твердое тело. Частота таких колебаний лежит в инфракрасной области излучения. С ростом температуры тела его энергия становится достаточной, чтобы перевести атомы или молекулы в возбужденные электронные состояния. Энергия излучения из этих состояний значительно больше, чем колебательно-вращательная, поэтому с увеличением температуры весь спектр теплового излучения смещается в сторону более коротких длин волн, т.е. в видимую область. Механизм теплового излучения металлов имеет свои особенности. В металлах есть много свободных, т.е. принадлежащих не отдельным атомам, а всей металлической решетке, электронов. При нагревании средняя скорость движения этих электронов растет. Но поскольку «свободные» электроны движутся в металлической решетке, то они периодически сталкиваются с ее атомами, тормозятся и, как всякая заряженная частица, движущаяся с ускорением (в данном случае - отрицательным), излучают электромагнитные волны. Понятно, что кроме этого металл при нагревании излучает также за счет колебательно-вращательного и электронного движений составляющих его атомов (ионов). В процессе излучения тело теряет энергию и охлаждается. Для поддержания постоянной температуры необходим приток энергии извне - за счет поглощения внешнего излучения или тепла от окружающей среды, путем нагрева электрическим током и т.д. При постоянной температуре излучающее тело и окружающая среда находятся в состоянии термодинамического равновесия, которое является основной отличительной чертой теплового излучения. Приведенная здесь сильно упрощенная схема механизма теплового излучения не учитывает многих его особенностей. Однако, независимо от природы температурно-излучающего вещества были экспериментально установлены следующие качественные закономерности:

а) при любой температуре Т > 0 К все тела излучают электромагнитные волны;

б) интенсивность излучения не зависит от свойств окружающей cреды и определяется только температурой данного тела;

в) c повышением температуры растет доля энергии теплового излучения, приходящаяся на область коротких длин волн. При низкой (например, комнатной) температуре излучение практически ограничено лишь очень длинными инфракрасными невидимыми волнами. По мере нагревания окраска тела начинает меняться, становясь сначала красной, а затем белой, что указывает на смещение максимума излучения в коротковолновую область спектра;

г) тепловое излучение в отличие от других видов излучения (люминесценции, рассеяния, отражения, тормозного, лазерного) является равновесным, т.е. это электромагнитное излучение тела, находящегося в состоянии термодинамического равновесия со средой.

 


1.2 Законы теплового излучения


Тепловое излучение нагретого тела может разными способами использоваться для измерения температуры. В данной работе применяется один из этих способов, имеющий наибольшее практическое применение. В основу описанного метода положено сравнение яркости нагретого тела с яркостью абсолютно черного тела в том же спектральном интервале. Под абсолютно черным телом понимается тело, которое поглощает всю падающую на него лучистую энергию. Такое идеальное тело в природе отсутствует. Модель его может быть представлена в виде небольшого отверстия в замкнутой полости (рис. 1.1). Излучение любой частоты, попав через это отверстие внутрь полости и претерпевая многократные отражения, практически из полости не выйдет. Поэтому малое отверстие, как и «черное тело», поглощает все падающие на него лучи любой длины волны.

Рис. 1.1. Модель абсолютно черного тела.

Для такой модели абсолютно черного тела коэффициент поглощения (отношение поглощаемой энергии к энергии падающего потока) можно принять равным единице. Все физические (реальные) тела по степени поглощения ими лучистой энергии отличаются от абсолютно черного тела и имеют коэффициент поглощения меньше единицы.

Интенсивность теплового излучения можно характеризовать величиной энергетической светимости R - количеством энергии, излучаемой при данной температуре единицей поверхности в единицу времени для всех длин волн. Энергетическая светимость физических тел R отличается от энергетической светимости R0 абсолютно черного тела при данной температуре Т и может быть охарактеризована коэффициентом (степенью) черноты тела ε. Этот коэффициент черноты представляет собой дробь, определяющую ту часть энергии, которую составляет излучение данного тела от излучения абсолютно черного тела при той же температуре, т.е. ε = R/R0.

Испускательной способностью тела rλ называется энергетическая светимость, приходящаяся на узкий спектральный интервал dλ, отнесенную к ширине этого интервала

λ =dR/dλ.

Обозначая через ελ - коэффициент черноты монохроматического излучения тела, аналогично предыдущему выражению, можно записать:

ελ= rλ / r0λ.

Для всех физических тел R< R0 и rλ < r0λ, т.е. 0 < ε < 1 и 0 < ελ < 1. Все эти величины зависят от строения вещества и от состояния его поверхности.

Экспериментальные данные, полученные при изучении испускательной способности абсолютно черного тела, позволили построить кривые распределения энергии по длинам волн. Кривые, полученные для нескольких температур, приведены на рис. 1.2, где по оси абсцисс отложены длины волн, по оси ординат - соответствующие значения испускательной способности.











Рис. 1.2. Распределение энергии в спектре излучения абсолютно черного тела

Как видно из рис. 1.2, кривые имеют максимум, который при повышении температуры становится не только более резко выраженным, но и сдвигается в сторону более коротких длин волн. Общее количество энергии, излучаемой телом с единицы поверхности (оно выражается площадью под соответствующей кривой), быстро возрастает с повышением температуры.

Неоднократно предпринимались попытки теоретически найти вид функции r0λ для абсолютно черного тела, определяющей зависимость интенсивности монохроматического излучения от длины волны и температуры. Все попытки, предпринятые в этом направлении, оставались безуспешными, пока не были приняты во внимание квантовые свойства процессов излучения и поглощения световой энергии. Анализируя причины неудач, немецкий ученый, известный физик М. Планк, пришел к выводу, что законы классической электродинамики не применимы к атомным излучателям; он допустил, что гармонический излучатель частотой ω может обладать запасом энергии, только кратным hν, где h - универсальная постоянная (постоянная Планка), равная 6,63·10-34 Дж·с. Из этого допущения, как следствие, вытекает, что как излучение, так и поглощение энергии атомом может происходить только порциями (квантами), величина которых так же определяется величиной ћ.

Исходя из этих предпосылок, Планк показал, что испускательная способность абсолютно черного тела определяется следующим соотношением:


где с=3·108 м/с - скорость света в вакууме, k=1,38·10-23 Дж/К - постоянная Больцмана, ћ=h/2π-постоянная Планка.

Обозначив

Тогда можно записать:

Из этих соотношений вытекает ряд основных законов теплового излучения абсолютно черного тела.

. Закон Стефана-Больцмана. Интегральная светимость R(T) (или энергия излучения) абсолютно черного тела пропорциональна четвертой степени абсолютной температуры T: , σ - постоянная Стефана-Больцмана, равная 5,671·10-8Вт ∙К4/м².

. Закон смещения Вина: произведение температуры T на длину волны λm, соответствующую максимуму, остается постоянным:  Значение постоянной Вина: b=2,898·10-3м·К.

. Закон излучения Релея-Джинса: справедлив при больших

2.      Классификация пирометрических методов и приборов измерения температур

 

.1 Пирометрические методы измерения температур


В природе не существует абсолютно черных тел. Наиболее близка к а.ч.т. сажа, которая поглощает 90% падающего на нее излучения. Излучательная способность реальных тел всегда ниже излучения а.ч.т. По форме функции излучения тела делятся на серые, форма функции аналогична форме функции а.ч.т и селективные, форма функции излучения резко отличается от излучения а.ч.т. Так как реальные тела имеют отличную от а.ч.т. функцию излучения, то вводят понятия различной температуры.

Рис. 1.3. Излучательная способность АЧТ и реальных объектов

Закон Планка и выводы из него справедливы только для так называемого абсолютно черного тела, представляющего собой воображаемый идеальный излучатель, развивающий наибольшую возможную при данной температуре мощность излучения. Поскольку мощность излучения реального физического тела при некоторой температуре всегда меньше мощности излучения абсолютно черного тела при той же температуре, то, оценивая температуру по монохроматической яркости, нельзя определить действительную температуру реального физического тела. Вместо нее всегда определяется относительно меньшая, так называемая яркостная температура, т.е. температура, до которой надо нагреть абсолютно черное тело для того, чтобы его монохроматическая яркость была равна соответствующей фактической яркости реального физического тела.

Радиационная температура - это температура а.ч.т., интегральное излучение которого равно интегральному излучению реального тела. Т.е. измеряют суммарное излучение объекта (плотность излучения во всем диапазоне длин волн - от λ=0 до λ2=∞) и по ее величине по функции излучения а.ч.т. ссудят о температуре. Она всегда ниже истинной.

Цветовая температура. Цвет имеет непосредственное отношение к температуре. Когда пламя горит при высокой температуре, то оно имеет синий цвет. Цветовая температура - это такая температура черного тела, при которой его энергетическая светимость равна энергетической светимости данного источника (например, лампы). Цветовая температура выражается в градусах по шкале Кельвина и базируется на воображаемом объекте, называемом черным телом.

Методы радиационной пирометрии основаны на определении: интенсивности суммарного потока излучения (пирометрия полного излучения); интенсивности монохроматического излучения (яркостная пирометрия); спектрального распределения плотности потока излучения (спектральное отношение, цветовая пирометрия).

Пирометрия полного излучения.

Полное излучение - это излучение во всем спектре, которое определяется площадью под кривой зависимости мощности излучения черного тела от длины волны (рис. 1.2)

Эти метод основан на зависимости от температуры интегральной мощности излучения АЧТ во всем диапазоне длин волн, определяемой законом Стефана-Больцмана:


где, Eт - полная энергия излучаемая телом при абсолютной температуре Т за одну секунду с поверхности площадью 1 см²;

σ - коэффициент пропорциональности равный 5,75 вт/см² град.4

Для реального тела эта зависимость определяется выражением


где 0,04≤εт≤1-коэффициент теплового излучения (коэффициент излучательной способности), зависящий от материала излучателя и от состояния и температуры его поверхности. Пирометр, градуированный по излучению АЧТ, при измерении на реальном объекте покажет так называемую радиационную температуру Тр, значение которой всегда меньше действительной температуры объекта Т. Связь между Тр и Т определяется из равенства σТр;Т σT4, откуда

Пирометрия частичного излучения.

Основана на использовании зависимости от температуры мощности излучения в ограниченном диапазоне длин волн.

Вследствие неполноты излучения реальных тел яркостные пирометры измеряют не действительную температуру тела Т, а так называемую яркостную температуру Тя. Соотношение между действительной и яркостной температурами, как следует из законов излучения, определяется выражением


где ελ - коэффициент теплового излучения для длины волны λ.

Из соотношения приведенного выше получаем выражение для истинной температуры объекта:

Метод спектрального отношения.

Регистрируется так называемая цветовая температура тела Тц-условную температуру, при которой АЧТ имеет такое же относительное спектральное распределение энергетической яркости, что и исследуемое реальное тело с действительной температурой Т.

Показания пирометра спектрального отношения соответствуют действительной температуре, если объект является абсолютно черным или серым телом.

Связь между действительной и цветовой температурой определяется выражением


где  и  - коэффициенты излучательной способности тела соответственно на длинах волн λ1 и λ2.

Для многих тел  не остается постоянным с изменением длины волны. У металлов  уменьшается с ростом длины волны, у неметаллических тел в ряде случаев , наоборот, увеличивается. Поскольку при λ12 величина то измеренная цветовая температура, как следует из выражения (12-3), может быть больше, меньше действительной температуры или равна ей. Из этого же выражения следует, что цветовая температура Тц тела тем ближе к действительной температуре, чем больше разность λ2 - λ1.

В применении пирометрических методов измерения температуры существуют методические проблемы.

Во-первых, в природе не существует идеально монохроматического излучения и реально существующее излучение в узком диапазоне длин волн (квазимонохроматическое) характеризуют эквивалентной длиной волны. Понятие эквивалентной длины волны широко используется в визуальной пирометрии. Некорректность такого подхода может приводить в значительным погрешностям при измерении высоких температур пирометрическими системами с широкой полосой пропускания или в инфракрасном диапазоне.

Во-вторых, в отличие от абсолютно черного тела, реальные тела имеют ненулевые значения коэффициентов отражения и пропускания и для них существенно понятие коэффициента излучательной способности, являющееся синонимом коэффициента поглощения для тела, находящегося в тепловом равновесии.

В-третьих, излучение окружающих тел, отражающееся от объекта также искажает картину его излучения. Погрешности в этом случае могут быть значительными.

 

.2 Классификация пирометров излучения

Пирометры полного излучения.

В этих пирометрах используется тепловое действие полного излучения нагретого тела, включая как видимое, так и не видимое излучение. Такие пирометры называются также радиационными. В качестве чувствительного элемента в радиационных пирометрах используется термобатарея из нескольких миниатюрных последовательно соединенных термопар 2 (рис 1.4), рабочие спаи которых нагреваются излучением объекта измерения (1), фокусируемых с помощью оптической системы (3). Возникающая Т.Э.Д.С. измеряется с помощью милливольтметра или автоматического потенциометра (4), градуированного в градусах.

Рис. 1.4

Радиационные пирометры градуируются по абсолютно черному телу и показывают так называемую «радиационную» температуру. Связь между истинной температурой тела и его радиационной температурой, показываемой прибором:


где TР - показания пирометра полного излучения. Поправка, которые необходимо вносить в показания радиационного пирометра для определения истинной температуры, могут достигать нескольких сотен градусов, если объект измерения по своим радиационным свойствам значительно отличается от абсолютно черного тела.

Положительной особенностью радиационных пирометров является то, что их можно применять также и для измерения невысоких температур, при которых объект измерения не дает видимого излучения. Возможно также измерение температуры тел, более холодных, чем окружающая среда. В последнем случае термобатарея не нагревается, а охлаждается во время радиационного теплообмена между ней и объектом измерения. В условиях, когда разница температур объекта измерения и окружающей среды невелика, необходимо тщательное термостатирование свободных концов термопар или всего корпуса телескопа пирометра. В настоящее время радиационные пирометры применяются для измерения температур в диапазоне от -40 до 2500°С. Особенно удобно применение радиационных пирометров для бесконтактного измерения невысоких температур, при которых методы оптической и цветовой пирометрии неприемлемы, например, для измерения невысоких температур движущихся предметов.

Пирометры частичного излучения являются более точными по сравнению с пирометрами полного излучения. Они работают на принципе сравнения яркости свечения измеряемого тела с яркостью свечения нити, температура которой однозначно связана с проходившим по ней током. То есть такие пирометры регистрируют так называемую яркостную температуру. Сравнение осуществляется наблюдателем, причем человеческий глаз оказывается способным весьма точно улавливать (в среднем ±5°С) момент равенства яркости свечения - в этом случае температуры нити и измеряемого тела равны и определяются по шкале встроенной в прибор и проградуированной в градусах.

В этих пирометрах используют не всю энергию излучения нити и измеряемого тела, а лишь часть его в зоне красного излучения с максимумом интенсивности при длине волны около 0.65 мкм. Для этой цели перед глазом наблюдателя ставят красный светофильтр, задерживающий волны с длиной менее 0.62 мкм.

Использование энергии излучения в видимой части спектра вызвано тем, что интенсивность этого излучения растет намного быстрее по сравнению с интегральным излучением, и при этом малые изменения температуры дают большие отклонения яркости, что намного повышает точность измерения.

Выбор красного светофильтра, обеспечивающего работу прибора с излучением длиной волны 0,65 мкм, обусловлен желанием проводить измерения с достаточной степенью точности при низких температурах 700 - 1000°С), так как при этом интенсивность излучения в красной области спектра является наибольшей по сравнению с остальным излучением в видимой области спектра.

Пирометры частичного излучения градуируются по излучению абсолютно черного тела. Поэтому при измерении температуры реальных тел они показывают более низкую по сравнению с действительной так называемую яркостную Тя температуру, т.е. температуру абсолютно чёрного тела, при которой интенсивность при этой длине волны равна излучению реального тела.

Соотношение между яркостной температурой Тя и истинной температурой Ти определяется уравнением:

,

где  - степень черноты (коэффициент излучательной способности нагретого тела), С2=14,38·10-3 м/град.

Отсюда по показанию пирометра Тя и коэффициенту ε можно определить температуру исследуемого тела. Расстояние до измеряемого тела практически не влияет на результат измерения.










 Схема яркостного пирометра

Пирометры частичного излучения получили наибольшее распространение. Устройство и принцип работы будут рассмотрены в главе 3.

Пирометры спектрального отношения. Если измерять интенсивность монохроматического излучения при какой либо температуре для двух диапазонов длин волн, например для красного и для сине-зеленого участков спектра, то отношение этих интенсивностей будет вполне определенным. В соответствии с законом Планка это соотношение не остается постоянным и будет меняться с температурой. При нагревании тела до температуры Т поверхностью тела испускаются фотоны. Фотоны имеет определенное распределение энергии, зависящее от температуры поверхности.

Цветовые пирометры используют зависимость спектральной интенсивности излучения от температуры. Они основаны на методе определения температуры по величине отношения интенсивностей излучения в двух длинах волн λ1 и λ2. Чувствительность метода тем выше, чем шире спектральный диапазон, т.е. чем меньше λ1 и больше λ2. Еще одним преимуществом цветовых пирометров является независимость их показании от расстояния до излучающей поверхности, ее размеров и углов наклона.

Для измерения цветовой температуры берут значения спектральныхкоэффициентов для λ1=0,665 мкм, λ2=0,457 мкм. При измерении температуры серых тел пирометром спектрального отношения, градуированным по абсолютно черному телу, не надо вводить поправку на неполноту излучения.

Принципиальная схема цветового пирометра построена таким образом: лучи от измеряемого источника света падают на селеновый фотоэлемент, перекрытый поочередно синим и красным светофильтрами. В цепи фотоэлемента включен микроамперметр.

3.     
Устройство и принцип работы пирометра типа ОППИР-09

Принцип действия оптических пирометров основан на сравнении в монохроматическом свете яркости излучения исследуемого накаленного тела с яркостью накала нити, интенсивность излучения которой в зависимости от температуры известна.

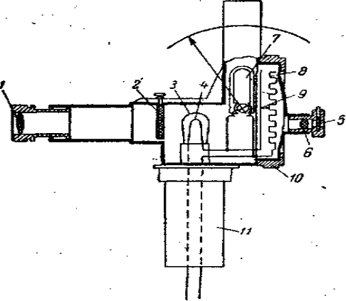
Схема наиболее распространенного оптического пирометра ОППИР-09 показана на рис. 1.6.

Рис. 1.6 Схема оптического пирометра ОППИР-09: 1 - объектив; 2 - ослабляющий светофильтр; 3 - температурная лампа; 4 - нить накаливания температурной лампы; 5 - монохроматический светофильтр; 6 - окуляр; 7 - милливольтметр; 8 - реостат; 9 - движок реостата; 10 - кольцевая рукоятка реостата: рукоятка прибора

Это переносный прибор, все части которого смонтированы в общем кожухе или корпусе. Луч света, испускаемый накаленным телом, попадает в прибор через объектив 1, а затем через окуляр 6 в глаз наблюдателя, сравнивающего яркость светового потока тела с яркостью нити 4 температурной лампы 3. Сравнение проводят в монохроматическом свете, получаемом с помощью светофильтра 5, расположенного за окуляром и пропускающего узкий спектральный участок света (область красных лучей).

Нить температурной лампы накаливается от щелочного аккумулятора, присоединенного к прибору проводами, проходящими через рукоятку 11.

Накал нити регулируют реостатом 8, включенным в цепь лампы последовательно. Движок 9 реостата передвигают при помощи кольцевой рукоятки 10. На рукоятке и на корпусе прибора имеются черточки белого цвета, около которых стоит отметка «0». Когда черточки на рукоятке и на корпусе прибора совпадают - цепь лампы разомкнута и аккумулятор отключен. Сила тока, подаваемого лампе, уменьшается, при повороте рукоятки по направлению стрелки, которая имеется на ней.

Температуру отсчитывают по показанию пирометрического милливольтметра 7, градуированного в градусах по накалу нити.

При измерении температуры оптическим пирометром ОППИР-09 его придерживают за рукоятку и направляют объектив на накаленное тело, предварительно убрав светофильтр. Передвигая окуляр и объектив, добиваются получения четких изображений нити температурной лампы и тела, температуру которого измеряют. После этого светофильтр снова помещают на его место и, поворачивая ручку реостата в сторону, противоположную направлению стрелки, постепенно повышая накал нити до тех пор, пока ее верхняя часть, хорошо заметная на фоне раскаленного тела, не сольется с фоном и не исчезнет из поля зрения.

Когда температура нити лампы (Э) ниже измеряемой температуры тела (Л), видна темная линия на светлом фоне (рис. 1.7 (а)). Если же температура нити лампы (Э) выше измеряемой (Л), видна светлая линия на темном фоне (рис. 1.7 (б)). При равенстве температур нить перестает быть видимой (рис. 1.7 (в)).

Рис. 1.7.

Оптический пирометр ОППИР-09 предназначен для измерения температуры от 800 до 2000˚C, однако нить температурной лампы не выдерживает накала больше 1400˚C. При температуре выше указанной материал нити начинает испаряться, вследствие чего характеристика лампы меняется. Чтобы избежать этого, при измерении температуры выше 1400˚С для ослабления светового потока накаленного тела между объективом и температурной лампой помещают дополнительный светофильтр 2. Таким образом, прибор имеет два диапазона измерений: 800-1400˚C и 1200-2000˚С.

Ввиду того, что оптические пирометры градуируют по излучению абсолютно черного тела, для измерения температуры реальных тел с различными' коэффициентами черноты в показания прибора следует вводить соответствующие поправки по специальным таблицам.

4. Разработка лабораторной установки и стенда


Нами были получены 2 пирометра, типов ОППИР-09 и ОППИР-17. Последний из них был без объектива и оба без аккумуляторов, поэтому перед нами стояла цель проверить работоспособность приборов и подобрать источник питания. Чтобы изучить устройство и схемы включения всех составляющих частей прибора, мы разобрали пирометр ОППИР-17.

Также необходимо было выяснить, на какое напряжения рассчитана эталонная лампа прибора. Изучив документацию и справочную литературу по пирометрам типа ОППИР-09, узнали, что диапазон напряжений для лампы составляет 2,0-2,4 В. Чтобы определить целостность и работоспособность лампы, мы измерили сопротивление лампы, изменяя положение движка реостата. Сопротивление лампы оказалось равным порядка 1,8-2,2 Ом.

Для того, чтобы пирометр был в устойчивом положении, мы поставили его в металлическую подставку, имеющей цилиндрическую форму, которая когда-то являлась составной частью какой-то установки. Лампу, температуру которой хотели измерить, установили в пенопластовый корпус, предварительно вырезав для нее отверстие.

Взяв блок питания осветителя микроскопа на 8 В, мы подключили его к пирометру. Такой же источник использовали для осветительной лампы микроскопа, которую мы взяли в качестве испытываемого образца. Установили лампу и прибор на расстоянии около 1 м.

Посмотрев в окуляр, мы увидели, что эталонная лампа прибора в рабочем состоянии, но стрелка измерительной шкалы не реагировала на изменение положения движка, т.е. не показывала измеренной температуры объекта. Нам пришлось заменить блок питания осветителя на стабилизированный источник постоянного тока Б5-47, выставив на нем напряжение в 2.2 В, так как в пирометре используется милливольтметр, относящийся к магнитоэлектрической системы, и выходное напряжение блока питания осветителя пирометра изменяется нагрузкой. С новым источником стрелка измерительной шкалы пирометра стала отклоняться, но используемая нами лампа давала несильное свечение и нить накала ее была слишком маленькой по размеру, что сделало проблематичным сличение яркостей спиралей.

Мы взяли лампу из диапроектора, работающую от сети. Но ее мощность оказалась гораздо большей, чем мощность эталонной лампы прибора. Поэтому яркость последней при минимальном сопротивлении реостата была меньше, яркости эталонной лампы. Для того, чтобы определить ее температуру нашим пирометром, нужно было либо уменьшить ее яркость с помощью светофильтров, либо найти способ регулирования ее мощности.

Также нам была предложена для исследования осветительная система микроскопа МИК: лампа и блок питания. Мощность и яркость данной лампы регулируется с помощью переключателя на блоке питания. Лампу поставили на столик от микроскопа с микрометрическими винтами, чтобы перемещать ее с целью совмещения изображений нитей накала ламп. Удобство последней лампы также в том, что ее нить накала имеет размер оптимальный для рассмотрения на ее фоне нити накала лампы пирометра, а также то, что напряжение на ней можно регулировать.

Также для измерения силы тока исследуемой лампы, нам необходимо было включить амперметр последовательно с ней. Нами был осуществлен разрыв цепи и методом паянного соединения мы присоединили амперметр.

Таким образом, наш лабораторный стенд состоит из пирометра, стоящего в металлической подставке, питающегося от источника постоянного тока и лампы, стоящей на столике от микроскопа с блоком питания и амперметра, включенного последовательно к ней.

5. Методика поверки визуального пирометра

 

.1 Аппаратура, используемая при градуировке и поверке пирометров


Температурная лампа. Лампа накаливания (рис. 1.8), тело накала которой выполнено в виде ленты, предназначенная для воспроизведения и передачи температурной шкалы по излучению, называемой температурной. Лампа состоит из стеклянного, чаще всего, цилиндрического баллона 1 с круглым плоским смотровым окном 2, расположенным напротив вольфрамовой ленты 4. Лента имеет n-образную форму и приварена к молибденовым держателям 5, электрически соединенным с цоколем лампы. У широко применяемой лампы типа ТРВ11100-2350 (СИ10-300) общая длина ленты около 40 мм, ширина 2.8 мм, толщина 40 мкм. Рабочий участок ленты (место визирования) отмечен специальным указателем (индексом) 3. Индекс выполнен в виде тонкой r-образной проволоки и приварен к одному из держателей. Для температур до 1800К целесообразнее использовать вакуумные лампы, а для более высоких температур - лампы, наполненные инертными газами. Колбы более мощных ламп наполняют инертным газом (азотом, аргоном или криптоном). Повышенное давление в колбе газонаполненных ламп резко уменьшает скорость испарения вольфрама, благодаря чему не только увеличивается срок службы лампы, но и есть возможность повысить температуру тела накаливания, что позволяет повысить КПД и приблизить спектр излучения к белому. Колба газонаполненной лампы не так быстро темнеет за счёт осаждения материала тела накала, как у вакуумной лампы.













Максимум температуры на рабочем участке ленты газонаполненных ламп выше середины из-за влияния температурного поля газа. Поэтому место визирования и индекс у этих ламп расположены выше середины ленты. Для газонаполненных ламп из-за влияния конвективных потоков газа наличие заметной зависимости яркостной (цветовой) температуры ленты от угла, под которым она визируется, требует строго и однозначно задавать направление визирования. Для этого на задней стороне баллона температурной лампы нанесена юстированная метка (чаще всего в виде креста). Ось визирования должна проходить через конец индекса и центр креста и быть перпендикулярна к плоскости ленты.

Питание температурных ламп осуществляется от стабилизаторов типа МТКС-3, СНП-40, СИП-35 или любых других, имеющих аналогичные характеристики.

Излучательные характеристики вольфрама в отличие от излучения абсолютно черным телом коррелируются специальным светофильтром ПС-5, выполненным из стекла толщиной 5 мм. Для удобства сравнения яркостей рядом со стеклом ПС-5 иногда монтируют линзу, увеличивающую визируемый участок в процессе излучения. Излучение лампы со стеклом ПС-5 и излучение черного тела при той же температуре имеют одинаковые функции распределения энергии по спектру в интервале видимого спектра, используемого в монохроматических пирометрах.

При работе с температурной лампой для уменьшения погрешности воспроизведения яркостных (цветовых) температур необходимо делать выдержку времени, указанную в стандарте на поверку, после установления нового значения тока в лампе.

Температурные лампы - основной тип образцового прибора для оптической пирометрии. Каждая температурная лампа градуируется индивидуально в соответствии с требованиями ГОСТ 8.155-75 и на каждую выдается свидетельство. В свидетельстве указывают зависимость силы тока, протекающего через ленту, от яркостной (цветовой) температуры.

 

.2 Поверка визуальных пирометров с исчезающей нитью


Пирометры монохроматические с исчезающей нитью накала образцовые 1 и 2-го разрядов и рабочие прецизионные поверяют по ГОСТ 8.212-77, пирометры визуальные с исчезающей нитью общепромышленные - по ГОСТ 8.130-74 и ГОСТ 8335-81.

При проведении поверки общепромышленных визуальных пирометров с исчезающей нитью выполняют следующие операции: внешний осмотр; проверку уравновешенной подвижной системы встроенного измерительного прибора; правильности перемещения реохорда реостата; перемещения объектива и окуляра вдоль оптической оси пирометра; определение основной погрешности и среднего квадратичного значения случайной составляющей основной погрешности.

Основную погрешность и среднее квадратичное отклонение случайной составляющей основной погрешности определяют методом прямого измерения температуры образцовой температурной лампы на установке УПО-6М² или подобной ей.

Установка УПО-6М² смонтирована в виде стола, в средней части которого находится оптическая скамья с температурной лампой. Лампа укреплена в каретке, имеющей регулировочные винты поворота, наклона и поперечного перемещения.

Измерительный прибор 1, температурная лампа 2, катушка 3, источник питания 6 и реостат 5 включены последовательно. Падение напряжения на катушке сопротивления измеряется образцовым потенциометром 4. Образцовая температурная лампа включается последовательно с измерительной катушкой сопротивления R=0,001 Ом. Образцовый потенциометр измеряет падение напряжения на катушке с R=0,001 Ом, благодаря чему его показания соответствуют току температурной лампы.








При определении основной погрешности в цепи образцовой температурной лампы медленно увеличивают силу тока до значения, соответствующего первой температуре, при которой проводится поверка. Корректируют значения силы тока после 30 минут выдержки и вносят в протокол. Реостатом пирометра пять раз уравнивают яркость нити пирометрической лампы с яркостью ленты температурной лампы, и при этом каждый раз отсчитывают показания по шкале измерительного прибора пирометра. Нить пирометрической лампы между отсчетами обязательно попеременно делают ярче и темнее ленты температурной лампы. Поверку шкалы пирометра производят по всем числовым отметкам шкалы. Для каждой поверяемой температуры вычисляют среднее арифметическое отсчетов tср.

Основную погрешность определяют по формуле

Δt=tср-t,

где tср-среднее арифметическое значение пяти отсчетов; t-значение температуры, установленной на образцовой температурной лампе.

Значение основной погрешности сравнивают с требованиями ГОСТ 8335-81. Для яркостных температур в интервале 900-1400°С среднее квадратичное значение случайной составляющей основной погрешности вычисляют по формуле

,

где Ri - разности между максимальным и минимальным показателями пирометра для пяти измерений, проведенных при постоянных температурах 900; 1000; 1100; 1200; 1300; 1400°С (i=1-5). Для пирометров, имеющих шкалу с верхним пределом измерения выше 2000°С по данным шкалы для нижнего предела измерения, составляют график зависимости поправок от температуры.

При определении основной погрешности пирометров с диапазоном измеряемых температур от 2000 до 6000°С рассчитывают значение пирометрического ослабления А.

,

где tисп - показания пирометра по основной шкале с учетом поправки, найденной по графику, при введенном соответствующем светофильтре; t-температура образцовой температурной лампы. Измерения А проводят при всех температурах, соответствующих пределу шкалы, и сравнивают с допускаемым значением, указанным в ГОСТ 8.130-74. В соответствии с найденным значением А для каждой поверяемой точки высокотемпературной шкалы пирометра, кратной 100°С, определяют значение кажущейся яркостной температуры по основной шкале. К полученным значениям температур по основной шкале прибавляют значение поправок. С помощью реостата пирометра устанавливают указатель прибора на значение tисп по основной шкале пирометра, а по высокотемпературной шкале отсчитывают tп. Затем определяют основную погрешность для всех числовых отметок шкалы пирометра, и полученные данные сравнивают с допускаемыми значениями.

6. Проблемы, возникшие при разработке лабораторной работы


В ходе проделанной работы можно выделить некоторые, возникшие методические проблемы.

Во-первых, полученные пирометры не имели источников питания. Нами был выбран стабилизированный источник постоянного тока Б5-47.

Во-вторых, возникли трудности в подборе объектов исследования. Одна из ламп накаливания не подошла из-за большой мощности, вследствие чего сложно было сравнивать яркость ее нити накала с яркостью нити накала пирометрической лампы. Вторая имела маленькую по размеру нить накала, поэтому возникла сложность наложения одной нити на другую и сравнения их яркостей. В итоге для исследования мы выбрали осветительную систему оптического микроскопа МИК.

В-третьих, нам необходимо было включить последовательно с исследуемой лампой амперметр, для чего мы сделали разрыв провода, соединяющего лампу и трансформатор, и присоединили с помощью пайки амперметр.

В-четвертых, для того, чтобы узнать правильную ли температуру показывает пирометр, необходимо было провести поверку и градуировку. Но в наших условиях это было не осуществимо. Главная причина - отсутствие образцовых средств поверки и необходимой аппаратуры.

Заключение

 

В ходе разработки курсовой работы мы ознакомились с принципом действия оптического пирометра с исчезающей нитью ОППИР-09 и с практическим измерением яркостной температуры нагретого тела и выявили ее связь с истинной температурой объекта.

Также разработали практические опыты измерения яркостной температуры лампы накаливания с помощью данного пирометра. В связи с этим было разработано методическое указание к выполнению лабораторной работы по этой теме, которое представлено в приложении. В ходе разработки лабораторного стенда возникли некоторые методические проблемы, которые нами были в большей степени устранены.

Нам не удалось провести поверку данного пирометра, в связи с отсутствием необходимого оборудования и образцовых средств поверки, в частности температурных образцовых ламп.

Безусловная уникальность пирометров заключается в его бесконтактном измерении температуры объекта на некотором расстоянии, например в следствии движении последнего. Они позволяют измерять температуру тел в труднодоступных местах, на объектах, опасных для человеческого здоровья.

Основными недостатками пирометрических измерений температуры являются трудности полного учета связей между термодинамической температурой объекта и регистрируемой пирометром тепловой радиацией. Необходимо учитывать изменение излучательной способности поверхности ε от длины волны λ в регистрируемом спектральном диапазоне и от температуры в диапазоне измерений, наличие поглощения излучения в среде между пирометром и объектом контроля, геометрические параметры поля зрения пирометра и его оптической системы, температуру окружающей среды и корпуса прибора.

Список использованной литературы

1. Олейник Б.М. Приборы и методы температурных измерений: учебное пособие / Олейник Б.М., Лаздина С.И., Лаздин В.П. - М.: Издательство Стандартов, 1987. 296 с.

2. ГОСТ 8.130-74 ГСИ. Пирометры визуальные с исчезающей нитью общепромышленные. Методы и средства поверки.

. Сулаберидзе В.Ш. Физические основы измерений ч. 1, 2: учебное пособие / Сулаберидзе В.Ш., Юлиш В.И. - СПб.: БГТУ, 2011. 216 с., 193 с.

4. Геращенко О.А. Температурные измерения/ Геращенко О.А., Гордов А.Н., Лах В.И. и др. - Киев: Наукова думка, 1984.

5. Ландсберг, Г.С. Оптика / Г.С. Ландсберг. - М.: Наука, 1976. 926 с.

. Бирюлин Ю.С. Лабораторные работы по физике. Оптика: учебно-методическое пособие/ Бирюлин Ю.С., Поляков Ю.А. - М.: Академия ГПС МЧС России, 2008. 95 с.

. Интернет - ресурсы:

)      http://www.support17.com - измерение температуры с помощью пирометров излучения;

2)      http://www.omsketalon.ru - преимущества и недостатки бесконтактного измерения температур;

)        http://www.studfiles.ru - лекции по ФОПИ «Оптические преобразователи температуры»;

Похожие работы на - Разработка лабораторной работы на тему: 'Пирометрические методы измерения температуры'

 

Не нашли материал для своей работы?
Поможем написать уникальную работу
Без плагиата!
Без нейросетей!