Проектирование электрической передачи локомотива

  • Вид работы:
    Курсовая работа (т)
  • Предмет:
    Физика
  • Язык:
    Русский
    ,
    Формат файла:
    MS Word
    1,74 Мб
  • Опубликовано:
    2013-01-02
Вы можете узнать стоимость помощи в написании студенческой работы.
Помощь в написании работы, которую точно примут!

Проектирование электрической передачи локомотива

Содержание

 

1. Исходные данные

2. Выбор расчетных значений силы тяги и скорости локомотива

3. Выбор типа электрической передачи

4. Определение мощностей, основных размеров тяговых электрических машин

5. Выбор схемы соединения тягового генератора, выпрямительной установки, тяговых электродвигателей

6. Расчёт параметров основных режимов работы, основных размеров тягового генератора постоянного тока. Выбор тягового генератора

7. Расчет и построение регулировочной характеристики тягового генератора. Обоснование и выбор принципиальной схемы системы возбуждения тягового генератора

8. Расчет основных параметров ТЭД и зубчатой передачи. Выбор тягового электродвигателя

9. Расчет нагрузочных характеристик ТЭД

10. Расчёт степеней ослабления тока возбуждения ТЭД

11. Расчёт электромеханических характеристик ТЭД

12. Расчет и посторенние тяговой характеристики, зависимостей напряжения и тока генератора от скорости тепловоза. Определение скоростей переключения ступеней магнитного потока ТЭД

13. Расчет коэффициента полезного действия электрической передачи

Вывод

Список используемой литературы

1. Исходные данные

 

по выполнению курсовой работы "Проектирование электрической передачи локомотива"

Студент: Тихомиров Ю.О. Группа: Л-0902 Вариант: №20

ДАНО:

Тепловоз образец: 2ТЭ10в

Назначение тепловоза: грузовой

Номинальная мощность дизеля Ne=2200 кВт

Номинальная величина вращения вала дизель-генератора nд=850об/мин

Нагрузка от оси на рельс Р0=225,4 кН

Сила тяги длительного режима на ободе колес Fk= 253кН

Скорость длительного режима, Vp=25 км/ч

Конструкционная скорость, Vк=100 км/ч

Диаметр колеса, D=1,05 м

Марка тягового двигателя тепловоза образца: ЭД-118А

Мощность тягового двигателя тепловоза-образца,

Максимальная величина вращения тяговых двигателей,max= 2290мин-1

 

2. Выбор расчетных значений силы тяги и скорости локомотива

 

Расчетная сила тяги Fкр определяется по условию реализации коэффициента тяги φкрна расчетном подъеме:

 

 H (2.1)

 

где -сцепной вес тепловоза, (число движущих осей) кН

Коэффициент тяги на расчетном подъеме:

Для грузовых тепловозов

Для пассажирских тепловозов

Для маневровых тепловозов

Скорость на расчетном подъеме:

 

, м/с (2.2)

 

Мощность дизеля, передаваемая тяговому генератору на номинальном режиме

 

, кВт (2.3)

 

Мощность, затрачиваемая на привод вспомогательных механизмов и машин

 

 (2.4)

 

К. п. д. передачи постоянного тока:

 

 (2.5)

 

К. п. д. передачи переменно-постоянного тока:

 

 (2.6)

 

где  - к. п. д. тягового генератора;

 - к. п. д. тягового электродвигателя;

 - к. п. д. зубчатой передачи от тягового электродвигателя к движущей оси;

 - к. п. д. выпрямительной установки

Расчёт:

 

 

3. Выбор типа электрической передачи

 

Рассматриваются три типа электрической передачи:

передача постоянного тока;

передача переменно-постоянного тока;

передача переменно-постоянно-переменного тока (передача переменного тока.

Передача постоянного тока применяется на большинстве эксплуатируемых тепловозов с электрической передачей.

В качестве тяговых генераторов применяются генераторы постоянного тока с независимым возбуждением.

Электромеханические характеристики тяговых электродвигателей постоянного тока с последовательным возбуждением позволяют достаточно просто сформировать требуемую тяговую характеристику тепловоза.

Передача постоянного тока используется на маневровых и магистральных тепловозах мощностью до 2000 кВт.

Использование передачи постоянного тока на тепловозах большой мощности не целесообразно, так как ухудшаются условия коммутации электрических машин, что ведет к снижению надежности передачи и увеличению расходов на ремонт. Поэтому на тепловозах мощностью свыше 2000 кВт используются передачи переменно - постоянного тока (включают в себя синхронный генератор, выпрямительную установку и тяговые электродвигатели постоянного тока) и переменно - постоянно - переменного тока (состоит из синхронного генератора, пускорегулирующей аппаратуры и асинхронных тяговых двигателей).

Исходя из того, что тепловоз, для которого проектируется электрическая передача, обладает мощностью N= 2000 кВт, используем передачу переменно - постоянного тока.

 

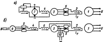
Рисунок 1. Упрощенная схема тяговой передачи переменно-постоянного тока:

 

ВВ - контактор возбуждения возбудителя; В - возбудитель; СТГ - стартер-генератор; КВ - контактор возбудителя; ТГ - тяговый генератор; БУВ - блок управления возбуждением; ТЭД - тяговые электродвигатели; ВУ - выпрямительная установка; 10-ICI, 10-1С2, 10-1СЗ - три фазы 1-й звезды; 20-2С1, 20-2С2, 20-2СЗ - три фазы 2-й звезды

Величина тока возбуждения ТГ, а следовательно, и напряжение, приложенное к ТЭД, регулируется блоком управления возбуждением (БУВ) посредством изменения моментов открытия тиристоров управляемого выпрямителя.

 

. Определение мощностей, основных размеров тяговых электрических машин

 

Номинальный режим работы электрических машин соответствует реализации тепловозом расчетных значений силы тяги и скорости движения. При этом обеспечивается продолжительный режим работы тягового генератора и тяговых электродвигателей. При скорости движения ниже расчетной тяговый генератор и тяговые электродвигатели могут работать кратковременно с перегрузкой по току.

Электрическая мощность тягового генератора на номинальном режиме:

 

 (4.1)

 

где  - мощность дизеля, передаваемая генератору на номинальном режиме;

 - к. п. д. генератора

Мощность, потребляемая тяговым электродвигателем

 

 (4.2)

 

где  - число тяговых электродвигателей

При индивидуальном приводе m выбирается по количеству колесных пар тепловоза.

электрическая передача локомотив скорость

Электромагнитные параметры на номинальном режиме и геометрические размеры электрической машины связаны машиной постоянной:

 

 (4.3)

 

где  - диаметр якоря, м;

 - длина якоря, м;- частота вращения вала якоря на номинальном режиме, с-1;

 - расчетная мощность, электрической машины, кВт;

 - коэффициент полюсного перекрытия (отношение ширины полюсного наконечника к полюсному делению);

 - коэффициент формы кривой поля;

 - обмоточный коэффициент;

 - линейная нагрузка якоря;

 - индукция в воздушном зазоре.

По соотношениям между  и , характерным для электрических машин рассматриваемого типа, определяются расчетные значения  и  и соответствующие габаритные размеры машин.

Расчёт:

 

 

За тепловоз-образец принимаем тепловоз 2ТЭ10в, у которого используется тяговый генератор типа ГП-311Б, его мощность составляет .

Тяговый электродвигатель марки ЭД-118 с потребляемой мощностью .

Расчетная мощность генератора

 

 (4.4)

 

где

 

 

 

5. Выбор схемы соединения тягового генератора, выпрямительной установки, тяговых электродвигателей

 

При выборе схемы соединения необходимо учитывать возможность реализации требуемых тяговых характеристик локомотивов при рациональных напряжениях и токах тяговых электрических машин.

На тепловозах мощностью 1470 кВт и выше применяется исключительно схема параллельного соединения тяговых электродвигателей и тягового генератора (рисунок 2).

Т.к. по мере повышения мощности следует повышать напряжение электродвигателя, следовательно, с ростом мощности тепловоза параллельное соединение электродвигателей целесообразнее по условиям получения рациональных параметров тяговых генераторов и электродвигателей.

 

Рисунок 2 Параллельная схема соединения тяговых электродвигателей и тягового генератора

 

Для параллельной схемы соединения:

 

 (5.1)

 (5.2)

 А

 

6. Расчёт параметров основных режимов работы, основных размеров тягового генератора постоянного тока. Выбор тягового генератора

 

При установившемся режиме работы дизеля от тягового генератора тяговым электродвигателям передается постоянная электрическая мощность при переменных значениях тока 1Г и напряжения Ur генератора, причем

 

 

где, - предельные значения тока и напряжения в пределах области Pr=const.

 

кВт (6.1)

 

Коэффициент регулирования напряжения тягового генератора:

 

 (6.2)

 

Принимаю значение коэффициента регулирования напряжения тягового генератора Кг = 1,6. Определим номинальное напряжение генератора:

 

=750/1,6=468 (6.3)

 

Номинальный ток генератора:

 

 А (6.4)

 

Максимальный ток генератора:

 

 А (6.5)

 

Минимальное напряжение генератора:

 

=, В (6.4)  =

 

Минимальный ток генератора:

 

=, А (6.5) =, А

 

Расчётная мощность генератора постоянного тока:

 

 (6.6)

 

Где = 1,03-1,10

 

1,06*1650=1749 кВт

 

Для расчёта машинной постоянной принимаются значения электромагнитных параметров:

 

Вб=0,65-0,69 Тл

А= (500-550) * А/м

 

Наружный диаметр станины по опыту построенных конструкций:

 

 (6.7)

 

Общая длина станины:

 

 (6.8)

 

Машинной постоянная:

 

 

Полученные значения токов сведём в таблицу 1

 

Таблица 1

Параметр, А

Значение

Параметр В

Значение

4758

0

4758

346

3525

468

2200

750

0

750

 

Рисунок 3 Внешняя характеристика тягового генератора

 

По полученным расчётным данным выбираем серийный тяговый генератор постоянного тока и составляется таблица основных технических параметров:

 

Технические данные ГП-311Б

Мощность, кВт

2000

Мощность, используемая на тепловозе при 20°С, кВт

1780

Напряжение продолжительного режима низшее, В

465

Напряжение продолжительного режима высшее, В

700

Ток при низшем напряжении, А

4320

Ток при высшем напряжении, А

2870

Частота вращения, об/мин

850

КПД в продолжительном режиме, %

94,2

Масса, кг

8700

 

7. Расчет и построение регулировочной характеристики тягового генератора. Обоснование и выбор принципиальной схемы системы возбуждения тягового генератора

 

Для формирования требуемой характеристики  системы регулирования ТГ необходимо поменять ток Iг в обмотке независимого возбуждения в соответствии с регулировочной характеристикой.

Расчет регулировочной характеристики выполняется для режимов постоянной номинальной мощности Ргн при номинальной частоте вращения вала дизель-генератора, ограниченные напряжение и тока генератора при переменной частоте вращения.

Расчет

Выбираем значение тока Iг =3000А (по таб1)

По характеристике  определяем Uг=700В

ЭДС для генератора постоянного тока:

 

 (7.1)

 

Где

 - сопротивление обмотки якоря и дополнительных полюсов для расчётной температуры нагрева обмоток.

 

 

Мощность генератора постоянного тока:

 

, Вт (7.2)

 

      700*3000=2100000 Вт =2100 кВт

     

Рисунок 4 Регулировочная характеристика генератора

 

На тепловозах с передачей переменно-постоянного тока применяется схема системы возбуждения с возбудителем переменного тока, питающим обмотку независимого возбуждения тягового синхронного генератора через управляемый выпрямитель.

Такая схема выполнена на более современном уровне в отличие от системы возбуждения тягового генератора с магнитным усилителем и селективным узлом.

Вместо генератора-возбудителя постоянного тока используется более простой и надежный синхронный генератор.

 

Рисунок 5 Система возбуждения с возбудителями переменного тока и выпрямителями

 

Схема рис.6, а системы возбуждения, где вспомогательный синхронный генератор 3 и возбудитель 7 расположены на одном валу с главным генератором 1, а ионный выпрямитель 5 с одно анодным вентилями имеет сеточное управление от регулятора возбуждения сильного действия. Гашение поля осуществляется переводом выпрямителя 5 в инверторный режим для передачи мощности от обмотки возбуждения главного генератора 2 к вспомогательному генератору 3.

Схема рис.3, применяется для турбогенераторов мощностью 1500 кВт и выше. В этой схеме обмотка возбуждения 2 главного генератора 1 получает возбуждение от индукторного генератора (возбудителя) 3 частотой 500 гц через кремниевые выпрямители 5. Генератор 3 имеет две обмотки возбуждения: обмотку независимого возбуждения 4, получающую питание от вспомогательного генератора (подвозбудителя) 9 через выпрямители 5, и обмотку последовательного самовозбуждения 6. Генератор 9 имеет полюсы в виде постоянных магнитов. Генераторы 3 и 9 расположены на одном валу с главным генератором 1. Индукторный генератор не имеет обмоток на роторе и поэтому очень надежен в работе. Параллельно к обмотке его якоря присоединена трехфазная индуктивная катушка (дроссель) 10, подмагничиваемая постоянным током. Катушка 10 потребляет от генератора 3 индуктивный ток, и так как при f = 500 гц индуктивное сопротивление обмотки якоря генератора велико, то напряжение на ее зажимах сильно зависит от тока катушки 10 Путем регулирования тока подмагничивания катушки 10 достигается быстрое регулирование напряжения генератора 3 и тока возбуждения. Обмотка возбуждения 6 способствует форсировке возбуждения при коротких замыканиях за счет действия апериодического переходного тока в обмотке возбуждения 2.

8. Расчет основных параметров ТЭД и зубчатой передачи. Выбор тягового электродвигателя

 

Основные размеры ТЭД определяются по расчетному значению машинной постоянной СА и приведенному моменту Мпр

 

 (8.1)

 

Коэффициент полюсного перекрытия

Приведенный момент:

 

 (8.2)

 

Номинальная частота вращения якоря ТЭД:

 

 (8.3)

 

где  диаметр колеса, м;

 - расчетная скорость тепловоза, м/с;

 - передаточноеотношение тягового редуктора

Расчет:

 

 обор/сек

 

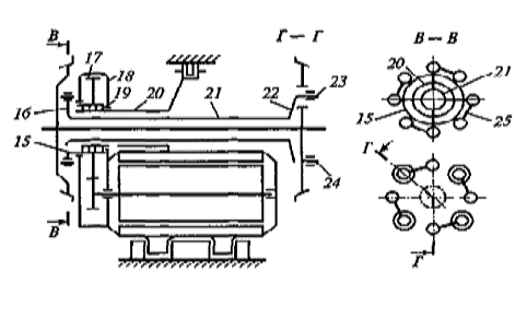
Рисунок 6 Схема опорно-рамной подвески тягового электродвигателя: 24 - пальцы колесных центров.18 - тяговые редукторы; 22 - приводные фланцы.15 - ступица большой шестерни; 16 - поводок фланца полого вала; 17 - большая шестерня; 19 - подшипники; 20 - полая опора; 21 - полый карданный вал; 23 - пальцы вала; 25 - поводки.

 

Подбираем граничные значения основных размеров двигателя:

Принимаем:я=0.498 м - диаметр якоря двигателя;я=0.43м - длина длина сердечника якоря;

Δ=130÷145мм - расстояние от кожуха зубчатой передачи до головки рельса;

а=130÷150мм - расстояние от корпуса двигателя до головки рельса.

Значение централи определяется по формуле:

 (8.4)

где  - модуль зубчатого зацепления;

 - число зубьев большого колеса тягового редуктора;

 - число зубьев малого колеса (шестрени).

Модуль  выбирается в зависимости от номинального момента на валу ТЭД.

Номинальный вращающий момент определяется по расчетной силе тяги и предварительно принятому передаточному отношению

 (8.5)

Определяем диаметр делительной окружности малого колеса

 (8.6)

Величина  проверяется по формуле:

 (8.7)

 (8.8)

где =5÷7мм - толщина кожуха редуктора

с=22÷25 мм - расстояние от кожуха редуктора до делительной окружности большого колеса

Рассчитываем количество зубьев большого колеса, по известному передаточному отношению:

 (8.9)

Диаметр якоря проверяем по максимальной окружной скорости якоря:


Уточненное значение номинальной частоты вращения якоря ТЭД:

 (8.11)

Максимальная частота вращения якоря ТЭД:

 (8.12)

Максимальный размер станины:

Нст=Dк-2е-2а (8.13)

Расчетный размер

В=Dя+2hm+2 δ +2hc (8.14)

где hm=0.750м - высота сердечника якоря;=0.057 мм - высота станины;

δ - воздушный зазор между сердечником полюса и поверхностью якоря.

Длина станины ориентировочно вычисляется по длине и диаметру якоря:

, м (8.15)

Высота станины определяется по расчетной площади поперечного сечения:

 (8.16)

где -основной магнитный поток; =1.55÷1.75 Тс - индукция в станине; Основной магнитный поток:

Вб (8.17)

Где а - число пар параллельных ветвей (а=2);

 число проводников обмотки якоря 54*4*2=432);

 число полюсов ();

 ЭДС двигателя (0.93*0.93*475=441.7 В);

Высота станины:

 (8.18)

Диаметр коллектора определяется из формулы:

 (8.19)

Расчёт:

Нст=0.105-0.3-0.260=0.768 м

В=0.498+0.15+0.05 +0.014=0.712 м

В Нст условие выполнено

 0.43+0.4*0.498= 0.629 м

0.0156/0.629 = 0.025 м

 м

По полученным данным выбираю двигатель-прототип ЭД-118А.

Таблица 2

Техническая характеристика ТЭД постоянного тока ЭД-118А

Параметры

Значение

Мощность, кВт

282

Напряжение продолжительного режима низшее, В

463

Напряжение продолжительного режима высшее, В

700

Ток при высшем напряжении, А

476

Ток при высшем напряжении, А

720

Частота вращения в продолжительном режиме, об/сек

9.75

Частота вращения в максимальная об/сек

40,47

КПД в продолжительном режиме

91,5

Коэффициент ослабления тока возбуждения

0,60/0,36

Расход охлаждающего воздуха м/с

80

Сердечник якоря


Диаметр наружный, мм

0,495

Длина, мм

0,465

Количество пазов

54

Обмотка якоря


Тип обмотки

Петлевая

Количество параллельных ветвей

4

Количество катушек

54

Количество секций в катушке

4

Сопротивление обмотки якоря при () Ом

0,013

Класс изоляции обмотки

F

Обмотка возбуждения


Количество главных полюсов

4

Количество витков на полюс

19

Сопротивление обмотки якоря при () Ом

0,0105

Класс изоляции обмотки

F

Добавочные полюсы


Количество плюсов

4

Количество витков на полюс


Сопротивление обмотки якоря при () Ом

0,00821

Класс изоляции обмотки

F

Масса, кг

3100


Рисунок 7 Габаритные размеры электродвигателя

9. Расчет нагрузочных характеристик ТЭД


1) Выбираем значение (Е/n) =0.32

) Задаемся величиной полной м. д. с. Fn

) Определяем размагничивающую долю реакции якоря

 (9.1)

) Рассчитываем м. д. с. якоря

 (9.2)


) Находим коэффициент размагничивания

 (9.3)


Расчёт индукции в зубцовом слое якоря проводится по данным электродвигателя-прототипа.

Зубцовое деление на 1/3 высоты зубца якоря

 (9.4)


где  - высота зубца ), м;количество пазов.

Толщина зубца на 1/3 высоты зубца

 (9.5)

где  - ширина паза (), м;


Индукция в зубце:

 (9.6)

где Кс = 0,95 - коэффициент заполнения сердечника якоря сталью.


Индукция в зазоре определяется:

 (9.7)

=0.374

где  - коэффициент полюсного перекрытия;

где полюсное деление:

 (9.8)


По характеру намагничивания стали якоря определяется напряженность магнитного поля в зубцовой зоне.

Нз1/3=f (В'з1/3)

Рисунок 8 Определение полной м. д. с. Fп

Выбираем сталь марки Э12

Расчётная индукция в зубце:

+ Нз1/3  (9.9)


== 0.854 (9.10)


10. Расчёт степеней ослабления тока возбуждения ТЭД


1) Выбираем значение α2=0.4 - коэффициент ослабления второй ступени

) Рассчитываем ток и напряжение двигателя для минимального тока генератора при постоянной мощности

д=Iгmin/m2 (10.1)д=Pг*1000/m*1/Iд (10.2)д=2200/6=366.6 Ад=1650*1000/6*1/4366.6=750 В

Определяются ток возбуждения

в=Iд*α (10.3)= Iв*w (10.4)

Где w - количество витков обмотки на полюс.

в=0.4*366.6 =146.6 А= 146.6*19 = 2786 А*в

Находим активное сопротивление цепи якоря электродвигателя:

д=rя+rдп+α*rгп (10.5)

где я =0.01794 Ом-сопротивление обмотки якоря;дп =0.01133 Ом-сопротивление обмотки добавочных полюсов;гп =0.01449Ом-сопротивление обмотки главных полюсов

д=0.0105+0.01133+ (0.4*0.01449) = 0.035Ом

11. Расчёт электромеханических характеристик ТЭД


Расчет частоты вращения якоря:

 (11.1)

Ток задается в пределах диапазона

Напряжение определяется по мощности генератора Рг и соответственно двигателя Рд=Рг/m, которая принимается постоянной.


Вращающий момент на валу ТЭД:

М=См*Ф*Iд (11.2)

М= 69*0.045*366.6 =1138

Электромеханическая магнитная постоянная

 (11.3),

Таблица 3

 а

 1д. А

 Uд В

 1в, А

 F, Ав

 Е/п, Вс

 R* Ом

 n, с'1

 М, Нм


396

700

396

7524

0,5

0,04423

22,68

1896,84


466

620

466

8854

0,55

0,04423

18,1

2455,35


536

540

536

10184

0,58

0,04423

14,78

2978,23

1

606

460

606

11514

0,62

0,04423

11,6

3599,4


676

380

676

12844

0,64

0,04423

4144,7


746

300

746

14174

0,655

0,04423

6,74

4681,1


816

220

816

15504

0,68

0,04423

4,46

5315,75


857

140

857

16283

0,695

0,04423

2,62

5705,99


396

700

249,48

4740,12

0,375

0,04123

30,3

1422,63


466

620

293,58

5578,02

0,41

0,04123

24,41

1830,35


536

540

337,68

6415,92

0,44

0,04123

19,67

2259,35

0,63

606

460

381,78

7253,82

0,47

0,04123

15,53

2728,6


676

380

425,88

8091,72

0,5

0,04123

11,9

3238,04


746

300

469,98

8929,62

0,53

0,04123

8,66

3787,74


816

220

514,08

9767,52

0,56

0,04123

5,78

4377,68


857

140

539,91

10258,29

0,575

0,04123

3,23

4720,78

 0,4

396

700

158,4

3009,6

0,2

0,03823

56,9

758,74


466

620

186,4

3541,6

0,25

0,03823

40,11

1116,07


536

540

214,4

4073,6

0,285

0,03823

30,44

1463,44


606

460

242,4

4605,6

0,32

0,03823

22,89

1857,75


676

380

270,4

5137,6

0,35

0,03823

17,06


746

300

298,4

5669,6

0,38

0,03823

12,15

2715,74


816

220

326,4

6201,6

0,42

0,03823

7,8

3283,26


857

140

342,8

6513,2

0,45

0,03823

4,2

3694,53

 

Рисунок 9 Скоростные характеристики проектируемого двигателя при различных степенях ослабления тока возбуждения n=f (

Рисунок 10 Моментные характеристики проектируемого двигателя при различных степенях ослабления тока возбуждения М=f ()

12. Расчет и посторенние тяговой характеристики, зависимостей напряжения и тока генератора от скорости тепловоза. Определение скоростей переключения ступеней магнитного потока ТЭД


Скорость локомотива рассчитывается по скоростным характеристикам n=f (Iд) тягового электродвигателя при расчетных значениях ослабления тока возбуждения  при изменении тока двигателя в пределах  с выбранным шагом

 (12.1)

Касательная сила тяги локомотива рассчитывается по характеристикам момента М=f (Iд) тягового электродвигателя

 (12.2)

Ток генератора определяется по формуле

г=m2*Iд (12.3)

где m2 - количество параллельных ветвей в тяговой силовой цепи

Напряжение генератора

 (12.4)

Расчет:

г= 8*366.6= 2932 А


Выбор режима переходов на основное поле выполняется графаналитическим методом. В ходе расчета определяется величина токов и напряжений ТГ, скорости движения тепловоза, при которых необходимо производить переходы.

Определение точек переходов по характеристикам Ur=f (V) и Ir=f (V) основывается на следующих соображениях:

. Электромагнитные процессы, происходящие в тяговой силовой цепи после шунтирования обмоток возбуждения ТЭД, заканчиваются быстро, так что новый режим работы генератора и двигателей устанавливается практически при неизменной скорости движения тепловоза. Если пренебречь незначительным изменением К.П.Д. электрической передачи, то при постоянстве мощности дизеля в этом случае сохраняется неизменной и сила тяги.

. При повышении скорости движения переходы на первую и вторую ступень ослабления тока возбуждения осуществляется при токах генератора соответственно

 (12.5)

 (12.6)


. При снижении скорости движения тепловоза обратные переходы с первой и второй ступеней ослабления тока возбуждения осуществляется при токах генератора соответственно

 (12.7)

 (12.8)


В соответствии с принятыми значениями токов определяются напряжения генератора


Таблица 4

 а

 Iд, А

 n, с'1

 М, Нм

 V, км/ч

 Fк,kH

 IГ, А

 Uг, в

1

396

22,68

1896,84

56,13

102,49

2376

700


466

18,1

2455,35

44,79

132,7

2796

620


536

14,78

2978,23

36,6

160,9

3216

540


606

11,6

3599,4

28,71

194,5

3636

460


676

9,1

4144,7

22,52

223,9

4056

380


746

6,74

4681,1

16,68

252,9

4476

300


816

4,46

5315,75

11,04

287,2

4896

220


857

2,62

5705,99

6,48

308,3

5142

140

0,63

396

30,3

1422,63

74,99

76,86

2376

700


466

24,41

1830,35

60,41

98,9

2796

620


536

19,67

2259,35

48,68

122,1

3216

540


606

15,53

2728,6

38,44

118,24

3636

460


676

11,9

3238,04

29,45

174,95

4056

380


746

8,66

3787,74

21,43

204,6

4476

300


816

5,78

4377,68

14,3

236,5

4896

220


857

3,23

4720,78

7,99

255,1

5142

140

0,4

396

56,9

758,74

140,83

40,9

2376

700


466

40,11

1116,07

99,27

60,3

2796

620


536

30,44

1463,44

75,34

79,1

3216

540


606

22,89

1857,75

56,65

100,4

3636

460


676

17,06

2266,63

42,22

122,5

4056

380


746

12,15

2715,74

30,07

146,7

4476

300


816

7,8

3283,26

19,3

177,4

4896

220


857

4,2

3694,53

10,39

199,6

5142

140


Рисунок 11 Тяговая характеристика

Рисунок 12 Характеристика генератора

Рисунок 13 Характеристика генератора

13. Расчет коэффициента полезного действия электрической передачи


Рассчитываем к. п. д. для электрической передачи переменно-постоянного тока

 (13.1)

К. п. д. ТЭД определяется на основе расчета потерь на перемагничивание стали якоря, электрических потерь в обмотках, механических потерь в коллекторно-щеточном узле, подшипниках и. т.д.

Расчет потерь на перемагничивание стали производится по значениям магнитного потока и частоты перемагничивания для разных режимов работы электродвигателя.

Магнитный поток Ф определяется:

 (13.2)

где  - величина, определяемая по нагрузочным характеристикам электродвигателя

 - электромагнитная постоянная

Удельные потери на перемагничивание в сердечнике якоря:

 (13.3)

где =0.01* (1/25а) 2

Площадь поперечного сечения ярма якоря:

 (13.4)

где  - высота ярма якоря. Частота перемагничивания:

=p*n (13.5)

Рисунок 14. Схема магнитной цепи машины постоянного тока:

1. Сердечник (ярмо) якоря;

. Зубцовая зона якоря;

. Воздушный зазор;

. Сердечник полюса;

. Станина.

Удельные потери на перемагничивание в зубцах якоря:

 (13.6)

где  - коэффициент, определяемый конструктивными параметрами электродвигателя.

Зубцовое деление якоря:

 (13.7)

где  - количество пазов в сердечнике якоря

Коэффициент полюсного перекрытия


Полюсное деление:

 (13.8)

Коэффициент заполнения сердечника якоря сталью

Кс=0.93

Толщина зубца на ½ высоты hn зубца:

 (13.9)

где -ширина паза

Потери на перемагничивание стали якоря:

 (13.10)

Масса зубцового слоя якоря:

 (13.11)

где =7.8*103 кг/м - плотность стали. Масса сердечника якоря:

 (13.12)

Электрические потери в обмотках электродвигателя:

 (13.13)

Потери в обмотке якоря:

 (13.14)

Потери в обмотках главных полюсов и шунтирующем резисторе:

 (13.15)

где  - эквивалентное сопротивление цепи, обмотки возбуждения

Потери в обмотках добавочных полюсов:

 (13.16)

Потери на трение щёток о коллектор:

 (13.17)

где  - площадь контактной поверхности всех щёток,

=

 (13.18)

где

Площадь контактной поверхности щёток одного бракета:

 (13.19)

где допустимая плотность тока под щёткой.

Формула расчёта потерь с учётом приведённых соотношений может быть представлена в виде:

= (13.20)

где =постоянный для электродвигателя коэффициент

Потери на трение в подшипниках:

 (13.21)

где  - мощность, передаваемая электродвигателю

Добавочные потери:

 (13.22)

Потери в щёточных контактах:

 (13.23)

Общие потери в электродвигателе:

 (13.24)

К. п. д. тягового электродвигателя:

 (13.25)

Расчет:

=2*25=50Гц

5 м

 м

122.3 кг

=

406/ (2*12*) =17

=68

=0.3*1682 = 504.6 Вт

366.6*2= 733.2 Вт


Таблица

а

1дА

1г,А

n,с'1

V,км/ч

Pс,Вт

РдобВт

Рэл,Вт

Рк,Вт

Ртр,Вт

Рщ,Вт

Рд,Вт

1

396

2376

0,069

22,68

56,13

0,94

12964

4100

4000

0,008

577,2

792

25,5

0,89

0,839


466

2796

0,076

18,1

44,79

0,96

10584

3400

5600

0,007

1082,7

852

22,4

0,91

0,857


536

3216

0,081

14,78

36,6

0,95

8673

2900

7300

0,005

793,7

912

21,5

0,9

0,848


606

3636

0,086

П,6

28,71

0,955

7201

2400

9200

0,004

554,9

972

21,51

0,908

0,853


676

4056

0,089

9,1

22,52

0,95

7120

2130

11360

0,0034

393,6

1032

22

0,91

0,848


746

4476

0,091

6,74

16,68

0,945

5140

1830

12704

0,002

266,2

1092

23,2

0,92

0,844


816

4896

0,094

4,46

11,04

0,941

5100

1620

16200

0,002

159,9

1152

24,8

0,89

0,84


857

5142

0,097

2,62

6,48

0,938

4900

1490

18100

0,0009

78,24

1290

26,1

0,94

0,838

0,63

396

2376

0,052

30,3

74,99

0,94

12120

3600

3700

0,01

2510,9

792

22,7

0,91

0,839


466

2796

0,0 ' 57

24,41

60,41

0,96

10031

3011

5120

0,009

1747,5

852

20,5

0,92

0,857


536

3216

0,061

19,67

48,68

0,95

8460

2539

6600

0,007

1229,6

912

19,6

0,97

0,848


606

3636

0,065

15,53

38,44

0,955

7270

2182

8300

0,006

847,7

972

19,6

0,92

0,853


676

4056

0,069

11,9

29,45

0,95

6340

1900

10270

0,004

566,83

1032

20,2

0,99

0,848


746

4476

0,074

8,66

21,43

0,945

5590

1600

12300

0,003

358,76

1092

21,3

0,93

0,844


816

4896

0,078

5,78

14,3

0,941

4970

1491

14700

0,002

207,6

1152

22,8

0,89

0,84


857

5142

0,08

3,23

7,99

0,938

4570

1370

16440

0,001

100,22

1290

24

0,94

0,838


396

2376

0,028

56,9

140,83

0,94

8800

2600

3500

0,021

7613,6

792

23,3

0,92

0,839

0,4

466

2796

0,035

40,11

99,27

0,96

7850

2300

4700

0,015

4077,4

852

19,5

0,95

0,857


536

3216

0,04

30,44

75,34

0,95

6830

2000

6200

0,011

2530,7

912

18,3

0,93

0,848


606

3636

0,044

22,89

56,65

0,955

6020

1800

7800

0,008

1572

972

18,2

0,92

0,853


676

4056

0,049

17,06

42,22

0,95

5300

1590

9600

0,006

981,2

1032

18,6

0,92

0,848


746

4476

0,053

12,15

30,07

0,945

4750

1428

11500

0,004

584,5

1092

19,7

0,96

0,844


816

4896

0,058

7,8

19,3

4330

1200

13700

0,003

310,3

1152

21,2

0,94

0,84


857

5412

0,063

4,2

10,39

0,938

4070

1220

15350

0,001

138,12

1290

22,5

0,97

0,838

Рисунок 15 Характеристик К.П.Д. электрической передачи К.П.Д. =

Рисунок 16 Характеристик К.П.Д. электрической передачи К.П.Д. =

Вывод


Входе расчета курсового проектирования освоил методику расчета и выбора основных параметров, характеристик, принципиальных схем электрической передачи по расчетным характеристикам и справочных данных серийных тяговых электрических машин.

При выполнении проекта решил следующие задачи:

Расчет параметров и выбор электрической передачи;

Расчет параметров и выбор тяговых электрических машин;

Расчет регулировочной характеристики и выбор принципиальной схемы возбуждения тягового генератора;

Расчет коэффициента полезного действия электрической передачи.

В ходе расчета установил, что для тепловоза 2ТЭ10в подходит электрическая передача переменно-постоянного тока.

Достоинством электрической передачи переменно - постоянного тока: снятие ограничения по мощности тягового генератора и более высокое КПД, в отличие от передачи постоянного тока

Данным типом передачи оборудованы большинство серий современных магистральных тепловозов мощностью 1500 - 4500 кВт.

Список используемой литературы


1.       Голубятников С.М. и др. Тепловозы СССР. Отраслевой каталог. - М.: НИИИнформтяжмаш, 1983.

2.       Жилин Г.А. и др Пассажирский тепловоз ТЭП 70. - М.: Транспорт, 1976

.        Иванов В.Н. и др. Конструкция и динамика тепловозов. - М.: Транспорт, 1974.

.        Луков Н.М., Стрекопытов В.В., Рудая К.И. Передача мощности тепловозов. - М.: Транспорт, 1987. - 279с

.        Панов Н.И. и др. Тепловозы. - М.: Машиностроение, 1976.

.        Пойда А.А. и др. Тепловозы. - М.: Транспорт, 1986.

.        Проектирование электрических машин. И.П. Копылов, Ф.А. Горяинов, Б.К. Клоков и др. - М.: Энергия, 1980. - 495с

.        Фуфрянский Н.А. и др. Развитие локомотивной тяги. - М.: Транспорт, 1982.

.        Электрооборудование тепловозов: Справочник. В.Б. Верхогляд, Б.И. Вилькевич, и др. - М.:, Транспорт, 1981. - 287с.

Похожие работы на - Проектирование электрической передачи локомотива

 

Не нашли материал для своей работы?
Поможем написать уникальную работу
Без плагиата!
Без нейросетей!