Конструкция тепловоза ТЭП70

  • Вид работы:
    Дипломная (ВКР)
  • Предмет:
    Транспорт, грузоперевозки
  • Язык:
    Русский
    ,
    Формат файла:
    MS Word
    1,19 Mb
  • Опубликовано:
    2011-06-20
Вы можете узнать стоимость помощи в написании студенческой работы.
Помощь в написании работы, которую точно примут!

Конструкция тепловоза ТЭП70

СОДЕРЖАНИЕ

Введение

1.       Анализ и расчет исходных данных

.        Компоновочная схема тепловоза

.        Описание компоновочной схемы

.        Описание потока энергии

.        Дизель-генератор 2А-9ДГ

5.1 Конструкция основных узлов дизеля

. Системы дизеля

6.1 Топливная система

6.2 Масляная система

6.3 Водяная система

.4 Система вентиляции картера

7. Системы тепловоза, приводы и вспомогательные агрегаты

.1 Водяная система

.2 Масляная система

.3 Топливная система

.4 Охлаждающее устройство воды, масла и наддувочного воздуха

.5 Централизованная система воздушного охлаждения электрических агрегатов

.6 Воздухоочиститель дизеля

.7 Противопожарная установка

.8 Приводы вспомогательных агрегатов

. Электрическое оборудование тепловоза

.1 Принципиальная схема и основные характеристики электрической передачи

.2 Электрические машины

.3 Выпрямительная установка

. Экипаж тепловоза

.1 Кузов

.2 Тележки

.3 Рессорное подвешивание

.4 Тормозное оборудование. Песочная система

. Топливный насос высокого давления

Введение

Коломенский тепловозостроительный завод с 1959 г. разрабатывает конструкции магистральных пассажирских тепловозов и газотурбовозов. В 1960г. заводом был построен пассажирский тепловоз ТЭП60 мощностью по дизелю 3000 л. с. с конструкционной скоростью 160 км/ч. Проведенные в 1961 г. испытания со скоростью движения до 193 км/ч показали хорошие динамические характеристики первого отечественного пассажирского тепловоза. Однако, увеличение веса и скорости пассажирских поездов в 1970-е годы XX века требовало применения на некоторых линиях более мощных, чем ТЭП60 тепловозов. На Приволжской и Октябрьской дорогах стали применять тепловозы 2ТЭП60. Но применение двухсекционных тепловозов вызывало и двукратное увеличение расходов. Требовалось создание тепловоза, имеющего мощность большую, чем ТЭП60, но без значительного увеличения веса тепловоза.

Задачу проектирования тепловоза, отвечающего таким требованиям, выполнила группа конструкторов Коломенского тепловозостроительного завода под руководством Ю. В. Хлебникова.

Первый тепловоз по новому проекту был построен в июне 1973 года. Тепловоз получил обозначение ТЭП70-0001. В 1974-1975 годах были построены тепловозы 0002, 0003, 0004, в 1977-1978 годах 0005, 0006, 0007. Опытные тепловозы ТЭП70 стали поступать в депо Орша Белорусской железной дороги для эксплуатационных испытаний. Тепловоз ТЭП70-0005 прошёл теплотехнические и динамические (по воздействию на путь) испытания.

Кузов тепловоза был изготовлен из низколегированной стали и алюминиевых сплавов. Кузов - несущий, ферменно-раскосного типа. Опирание кузова на тележки через две центральные маятниковые опоры с резиновыми амортизаторами и четырьмя боковыми цилиндрическими винтовыми пружинами. Тележки были выполнены аналогично тележкам тепловоза ТЭП60, но имели отличия ввиду того, что колёсные пары выполнены диаметром по кругу катания 1220 мм.

Опыт, полученный в результате испытаний, дал конструкторам Коломенского завода материал для внесения изменений в конструкцию тепловоза.

. Анализ исходных данных

Выбор основных параметров силовой установки и вспомогательного оборудования локомотива.

Исходные данные:

Тип передачи мощности: электрический

Длина участка (Loy): 470 км

Число пар грузовых поездов в сутки (2n): 15 пары/сутки

Пассажирооборот в обоих направлениях (П): 3,2 млн. чел.

Расчетный подъем (ip): 10

Расчетная скорость (Vр): 52 км/ч

Индивидуальное задание: топливный насос высокого давления.

Q - вес состава, кН.

Q - 7156 [кН]

Р - вес локомотива, кН.

P - 1176 [кН]

P=mгр*g. кН

Q=mсл*g,

где g- ускорение свободного падения (g=9,8-10 м/с)

- служебная масса [т]

- 129 [т]

Касательная сила тяги определяется из условия равномерного движения поезда с расчетной скоростью (Vр) на расчетном подъеме (iр), когда имеет место равенство сил полного сопротивления движений поезда (Wр) и касательной силы тяга локомотива (Fк):


 ,кН (1)

, кН

Масса состава пассажирского поезда определяется по исходным данным с учетом числа вагонов в поезде и среднего числа пассажиров в вагоне:

 , т (2)

где П - годовой пассажиропоток, чел.;

nпасс - число пар пассажирских поездов в сутки;

Nпасс - количество пассажиров в вагоне (Nпасс = 4050 чел.);

mваг - масса пассажирского вагона (mваг @ 60 т).

, т

После определения касательной силы тяги (Fк) по формуле (1), рассчитывается предварительно касательная мощность локомотива из выражения:

 , кВт (3)

 , кВт


 , кВт (4)

где jмощн - коэффициент полезного использования мощности для тяги (для тепловозов с электрической передачей 0,70,75);

 , кВт

"Как прототип выбран локомотив ТЭП70"

Число секций локомотива подсчитывается по формуле:

 , (5)

где Nес - мощность одной секции серийного локомотива.


После выбора секции локомотива и числа секций необходимо уточнить, откорректировать вес состава. Так как округление количества секций в данном случае осуществлять рекомендуется в большую сторону, то возникает запас по силе тяги локомотива, а следовательно, появляется возможность увеличить первоначально заданный вес состава, определив его новое расчетное значение по следующей формуле:

 , кН (6)

где Qр - уточненное расчетное значение веса состава , кН;

Fкр - расчетная сила тяги выбранного серийного прототипа локомотива (при расчетной скорости vр) , Н;

w0’ и w0’’ - основные удельные сопротивления движению соответственно локомотива и вагонов при скорости движения vр, Н/кН.

 , кН

Далее необходимо описать взаимодействие основных узлов выбранного локомотива с указанием их технико-экономических параметров (мощности, частоты вращения, тока, напряжения, КПД и др.) и определить:

·   значение коэффициента, учитывающего расход мощности на привод вспомогательных агрегатов (SNвсп) тепловоза по формуле:

 , (7)


·   значение коэффициента полезного использования мощности дизеля для тяги по формуле:

 , (8)


- КПД тепловоза при номинальном режиме работы дизеля по формуле:

 , (9)

где gе - удельный эффективный расход топлива, кг/кВт.ч;

Ни - теплота сгорания топлива (Ни=42500 кДж/кг).


- значение удельной силы тяги локомотива:

 , Н/кВт (10)

 , Н/кВт

 значение удельной массы:

 ,  (11)

 ,

 коэффициент тяги:

 ,  ;  ,  (12)

2. Компоновочная схема



3. Описание компоновочной схемы

Основные узлы экипажа тепловоза: главная рама с автосцепками, кузов и ходовые части, к которым относятся тележки с колесными парами, буксами и рессорным подвешиванием. Узлы и детали экипажной части выполняют различные функции. Главная рама тепловоза служит основанием для силовой установки и вспомогательного оборудования. Кузов служит наружным ограждением силовой установки тепловоза и вспомогательного оборудования. Колесные пары направляют движение локомотива по рельсовой колее, участвуют в реализации силы тяги, создаваемой двигателем тепловоза, а также тормозной силы. Рама опирается на буксы через рессоры или пружины, образуя так называемое рессорное подвешивание. Силовая установка: основные узлы и принцип работы ДВС: неподвижный цилиндр двигателя вместе с картером о поддоном образуют единую конструкцию называемую остовом дизеля. Сверху цилиндр закрыт крышкой, в которой расположены впускной и выпускной клапаны и форсунка для подачи топлива. Для управления движением впускных и выпускных клапанов предназначен распределительный вал, который приводится во вращение коленчатым валом шестеренчатой передачей. При работе двигателя поршень совершает возвратно-поступательное движение вдоль оси цилиндра, которое с помощью кривошипно-шатунного механизма преобразуется во вращательное движение коленчатого вала. Коленчатый вал в свою очередь соединен с тяговым генератором. Тяговый генератор предназначен для преобразования механической энергии дизеля в электрическую и питания ею тяговых электродвигателей через выпрямительную установку. Выпрямительная установка служит для преобразования переменного тока, вырабатываемого тяговым генератором, в постоянный. Тяговые электродвигателя предназначены для привода колесных пар через тяговые редукторы и обеспечения движения тепловоза. Кроме все этого на тепловозе имеются возбудители и вспомогательные генераторы. Возбудителя предназначены для питания постоянным током обмотки независимого тягового генератора, а вспомогательные генераторы для питания различных нагрузок собственных нужд тепловоза (заряд аккумуляторной батареи, питание цепей освещения и управления, электродвигателей привода насосов, вентиляторов и т.д.). Вспомогательные системы и оборудование. Топливная система. В нее входят топливные баки, топливоподкачивающие насосы, фильтры и топливопроводы. Система предназначена для хранения дизельного топлива и подачи его к топливной аппаратуре (насосам высокого давления) дизеля. Также в топливную систему включают устройства для подогрева топлива - топливоподогреватели. Масляная система выполняет несколько функций. Главная из них - поддержание необходимого давления для обеспечения жидкостного режима трения в подшипниках коленчатого вала и других трущихся узлах дизеля. Кроме того, масляная система служит для охлаждения поршней дизеля и отвода тепла, образующегося при трении, от смазываемых узлов дизеля и его агрегатов, а также для удаления от рабочих поверхностей трущихся узлов дизеля продуктов их износа. Для выполнения этих функций система - замкнутая, циркулируемая. Водяная система. Служит для отвода и рассеивания тепла в атмосферу от неподвижных деталей рабочего механизма (втулок и крышек цилиндра). Вода охлаждает эти детали при помощи его внутренней системы охлаждения и переносит тепло в охлаждающее устройство (радиаторы), где оно передается атмосферному воздуху. Система - замкнутая, циркулируемая. Циркуляцию воды в ней обеспечивает водяной насос. Кроме того водяная система используется для отвода тепла от водомасляного теплообменника и охладителя наддувочного воздуха. Система воздухоснабжения дизеля. Предназначена для снабжения дизеля необходимым количеством чистого воздуха под избыточным давлением, для наполнения им цилиндров а также для их продувки. Нагнетателем воздуха служит турбокомпрессор.

. Описание потока энергии

В начале энергия заключается в химической энергии дизельного топлива. Затем с помощью топливной системы, а именно: фильтров грубой и тонкой очистки, насоса высокого давления, трубопровода высокого и низкого давления. Топливо из бака попадает в цилиндр, где оно самовоспламеняется, преобразуя химическую энергию в тепловую. В цилиндре создается давление, которое приводит поршень в движение, таким образов тепловая энергия преобразовывается в механическую. Поршень с помощью шатуна передает энергию на коленчатый вал. Коленчатый вал вращает якорь генератора, который вырабатывает переменный ток, тем самым преобразовывая механическую вращательную энергию коленчатого вала в электрическую. Затем ток, проходя через выпрямительную установку, становится постоянным и идет на тяговые электродвигатели, которые преобразовывают электрическую энергию в механическую, передавая вращательной движение, через тяговый редуктор, колесной паре. Колесная пара создает касательную силу тяги и через рессорное подвешивание передает ее раме тележки. Рама тележки соединена с главной рамой тепловоза, на которой установлена автосцепка. Таким образом, сила тяги передается на автосцепку, которая далее передается составу.

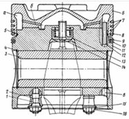
. Дизель-генератор

На тепловозе ТЭП70 в качестве силовой установки установлен дизель-генератор 2А-9ДГ (рис. 1). Он состоит из дизеля типа 2А-5Д49 и синхронного генератора, установленных на общей поддизельной раме и соединенных муфтой пластичного типа.


Дизель типа 2А-5Д49 четырехтактный, V-образный, шестнадцатицилиндровый с газотурбинным наддувом и клапанным распределением.

Принцип работы:

При сгорании топлива в объеме сжатого воздуха между стенками цилиндра, крышкой и днищем поршня образуются газы - продукты сгорания. Вследствие этого давление в цилиндре резко возрастает, что приводит к перемещению поршня. Таким образом, тепловая энергия продуктов сгорания в цилиндре преобразуется в механическую работу.

В дизеле 5Д49 цикл рабочего процесса совершается за два оборота коленчатого вала. При вращении вала от н.м.т. (нижняя мертвая точка - наиболее близкое к валу положение поршня) воздух в рабочем объем цилиндра между поршнем и крышкой сжимается. За 20⁰ до в.м.т. (верхняя мертвая точка - положения поршня при максимальном удалении от вала) в такте сжатия в цилиндр подается топливо. Под действием газов поршень в такте расширения движется вниз и через шатун вращает коленчатый вал. За 50⁰ до н.м.т открываются выпускные клапаны и отработанные газы выходят в выпускные коллекторы. В такте выпуска при движении поршня вверх происходит выталкивание отработавших газов. Выпускные клапаны открываются за 55⁰ до в.м.т. При открытии впускных и выпускных клапанах происходит продувка цилиндра. Через 35⁰ после в.м.т при движении поршня вниз цилиндр заряжается свежим воздухом в такте всасывания. При движении поршня после н.м.т. вверх выпускные клапаны закрываются с запаздыванием на 30⁰. Снова начинается такт сжатия и весь цикл повторяется.

.1 Конструкция основных узлов дизеля

Блок цилиндров (рис. 2) представляет собой сварнолитую конструкцию V-образной формы. Нижняя картерная часть сварена из литых стоек, а верхняя - из листов. К стойкам блока прикреплены болтами 2 штампованные подвески 1. Стык блока и подвесок имеют зубцы б, которые препятствуют смещению подвесок относительно блока. В развале блока образован ресивер надувочного воздуха е и канал д для прохода масла к подшипникам коленчатого вала. В отверстия, образованные стойками блока и подвесками, установлены вкладыши 12 коренных подшипников. На девятой стойке и подвеске установлены полукольца 11 упорного подшипника, препятствующего перемещению коленчатого вала в осевом направлении. В торцевом листе имеется отверстие, по которому масло подводится в масляный канал д, откуда по каналам в в стойках блока поступает на смазку коренных подшипников.


Коренные подшипники (рис. 3) предназначены для укладки коленчатого вала и состоят из корпуса и двух вкладышей. Верхний вкладыш на рабочей поверхности имеет канавку а и отверстия б, через которые поступает масло из канала в стойке блока цилиндров в подшипник. Нижний вкладыш около стыка имеет карманы, которые служат для поступления смазки к трущимся поверхностям и непрерывной подачи масла к шатунным подшипникам и поршню. Положение верхнего и нижнего вкладышей фиксируется штифтом 3, запрессованным в подвеску.


Рама сварной конструкции. Предназначена для установки на ней дизеля, генератора, размещения масла для дизеля и крепления дизель-генератора к раме тепловоза через амортизаторы. Коленчатый вал. (рис. 4) Отлитый из высокопрочного чугуна, азотирован, что повышает прочность вала и износостойкость шеек. На фланце а установлен антивибратор, обеспечивающий умеренные напряжения кручения в вале от крутильных колебаний. Масло из коренных подшипников по отверстиям в шейках коленчатого вала поступает на смазку шатунных подшипников.

Шатуны. Шатуны (рис. 5) передают энергию от поршня к коленчатому валу. Шатунный механизм состоит из главного 2 и прицепного 15 шатунов. Шатуны соединены между собой пальцем 13, который установлен во втулке 12, запрессованной в проушине главного шатуна.


Шатунный подшипник смазывается и охлаждается маслом, поступающим из коренных подшипников через каналы коленчатого вала.

Поршень. (рис. 6) Составной конструкции, состоит и стальной головки 6 и алюминиевого тронка 11, скрепленных четырьмя шпильками 1 с гайками 16. Головка поршня охлаждается маслом. Из верхней головки шатуна масло поступает в плотно прижатый к ней пружиной 14 стакан 13 и далее по отверстиям б в полость охлаждения а. Из полости охлаждения масло по каналам в стекает в картер дизеля.


Лоток (рис. 7), предназначенный для размещения распределительного кулачкового вала и топливных насосов высокого давления, установлен на блоке цилиндров. Состоит и половин 3 и 4 , скрепленных болтами и шпильками. Распределительный вал 8 в разъемных алюминиевых подшипниках 26. Он передает движение топливному насосу, а также клапанам крышки цилиндра посредством рычагов 7 и 9 и штанг 20 и 30.

Распределительный вал (рис. 8), предназначенный для управления движением впускных и выпускных клапанов и работой топливных насосов соответственно порядку работы цилиндров, приводится во вращение коленчатым валом посредством шестерен привода и приводной втулки 7, напрессованной на вал 8.

локомотив тепловоз дизель экипаж


Турбокомпрессор (рис. 9), предназначенный для подачи воздуха под избыточным давлением для увеличения мощности и экономичности дизеля, расположен на кронштейне с переднего торца дизеля. Состоит турбокомпрессор из одноступенчатой осевой турбины, работающей за счет энергии выпускных газов, и одноступенчатого центробежного компрессора. Колесо компрессора и диск турбины смонтированы на одном валу (роторе).

Принцип работы следующий: отработавшие газы из цилиндров дизеля по коллекторам и газовой улитке направляются на лопатки рабочего колеса турбины и приводят во вращение ротор, отдавая при этом свою энергию. Газы из турбины выходят по выпускному патрубку в глушитель. А затем в атмосферу. При вращении ротора воздух засасывается через входной патрубок в колесо компрессора, где происходит его основное повышение давления. В диффузоре и воздушной улитке происходит дальнейшее повышение давления. Из компрессора воздух подается в охладитель и далее в цилиндры дизеля.


Охладитель надувочного воздуха (рис. 10), установленный на кронштейне 8, состоит из сварочного корпуса 12, патрубка 13, верхней 2 и нижней 6 крышек и охлаждающей секции.

Вода поступает в охладитель по патрубку е нижней крышки, перегородка д которой делит водяную полость секции охладителя пополам, проходит по трубкам одной, а затем и второй половины секции и выходит через патрубок с. Пар из водяной полости отводится через трубку 1, установленную в верхней крышке.

Надувочный воздух поступает к охладителю по патрубку 13, охлаждается в межтрубном пространстве и по каналу ж в кронштейне поступает в ресивер блока цилиндров.

Регулятор имеет центробежный измеритель частоты вращения коленчатого вала, автономную масляную систему, устройство ступенчатого пятнадцатипозиционного электрогидравлического дистанционного управления, устройство для дистанционной остановки дизель-генератора с пульта управления тепловоза или при срабатывании защит дизель-генератора и устройство для вывода якоря индуктивного датчика в положение минимального возбуждения тягового генератора.


6. Системы дизеля

.1 Топливная система

Топливная система дизеля состоит из топливного бака, фильтров, насоса высокого давления, форсунки и трубопровода высокого и низкого давления. Обеспечивает подачу топлива в цилиндры в заданном количестве и в определенное время, а также равномерное распределение топлива по объему камеры сгорания в распыленном состоянии. Форсунка предназначена для направления струи и распыления топлива в камере сгорания. Топливный насос, установленный на лотке, предназначен для подачи топлива в форсунку. Топливные баки предназначены для хранения дизельного топлива. Являются элементом конструкции главной рамы и выполняются заодно с ней. Топливоподкачивающие насосы предназначены для подъема топлива из бака, преодоления потерь давления в фильтрах и подачи топлива к топливному насосу дизеля. Вязкость дизельного топлива сильно возрастает при понижении температуры. Поэтому во избежание затруднений в подаче топлива в зимних условиях в топливные системы обязательно включают устройство для подогрева топлива - топливоподогреватели.



.2 Масляная система

Выполняет несколько функций. Главная из них - поддержание необходимого давления и подвод масла для обеспечения жидкостного режима трения в подшипниках коленчатого вала и других трущихся узлах дизеля.

В систему входят масляные насосы, охладители масла, фильтр грубой очистки, центробежные фильтры, маслопрокачивающий насос, трубопровод и клапаны. Все элементы системы, кроме маслоподкачивающего насоса, расположены на дизель-генераторе. Для снижения общего уровня давления в системе на дизеле применены два последовательно расположенных масляных насоса.

Из ванны поддизельной рамы через сетчатый маслозаборник и размещенный в нем невозвратный клапан масло поступает во всасывающую полость первого насоса и подается в охладители. Часть масла поступает к центробежным фильтрам, из которых сливается в поддизельную раму. Из охладителей масло поступает во всасывающую полость второго насоса и затем через фильтр грубой очистки подается на дизель. Оба насоса имеют одинаковую конструкцию, но частота вращения второго на 3% выше первого (рис. 13).

Масляный насос обеспечивает циркуляцию масла в системе или в отдельных ее частях. Насос шестеренчатого типа (рис. 14) односекционный, не реверсивный, приводится от дизеля через шлицевое соединение.




Охладители масла, размещены на поддизельной раме с левой и правой сторон, предназначены для охлаждения масла, циркулирующего в системе дизеля. По потокам воды и масла охладители подключены последовательно. Охладитель (рис. 15) состоит из корпуса 2, передней 11 и задней 1 крышек, охлаждающей секции 10 и кронштейнов 8 и 15. Перегородка 5 крышки 11 разделяет водяную полость охладителя пополам.


Вода в охладитель масла поступает по патрубку а передней крышки, проходит по патрубку 6 и выходит из патрубка б. масло в охладитель поступает по трубопроводу, расположенному в поддизельной раме, и через отверстие в кронштейне15 проходит в межтрубном пространстве и выходит через отверстие в кронштейне 8.

.3 Водяная система

Водяная система служит для отвода и рассеивания в атмосферу тепла от неподвижных деталей рабочего механизма, а также выпускных коллекторов во избежание их чрезмерного нагрева. Вода охлаждает детали дизеля при помощи его внутренней системы охлаждения и переносит тепло в охлаждающее устройство (радиаторы), где оно передается атмосферному воздуху.


Водяная системы двухконтурная закрытая с избыточным давлением (рис. 16). Горячий контур отводит тепло от деталей дизеля, а холодный контур - от надувочного воздуха и масла дизеля.

Вода горячего контура из холодильной камеры тепловоза поступает во всасывающую полость водяного насоса горячего контура и далее через коллекторы правого и левого рядов блока цилиндров на охлаждения втулок и крышек цилиндров и среднего корпуса турбокомпрессора. Из крышек цилиндров вода поступает на охлаждение выпускных коллекторов, газовыпускных труб и корпуса турбины.


Из выпускного и среднего корпусов турбины и левой газовыпускной трубы вода отводится в холодильную камеру тепловоза. Вода холодного контура из холодильной камеры тепловоза поступает во всасывающую полость водяного насоса холодного контура и далее к охладителю надувочного воздуха, затем к охладителям масла, а от них отводится в систему тепловоза.

Водяные насосы (рис. 17) обеспечивают необходимую интенсивность циркуляции воды в системах. Водяные насосы нереверсивные, центробежные, установленные на приводе насосов, приводятся через шлицевое соединение. Оба насоса одинаковой конструкции. Один насос работает в горячем контуре охлаждения, другой - в холодном.

.4 Система вентиляции картера

Система вентиляции картера служит для вентиляции и создания разрежения в картере дизеля путем отсоса газов турбокомпрессором. Разрежение предотвращает вытекание масла и выход газов через зазоры у валов, выходящих наружу, а также через неплотности в соединениях.

Система вентиляции состоит из трубопроводов, маслоотделительного бочка, управляемой заслонки и дифференциального манометра. Отсос газов производится из картера и лотка по трубам через маслоотделительный бачок и затем по трубе во всасывающую полость турбокомпрессора.


Управляемая заслонка (рис. 18) предназначена для обеспечения разрежения в картере дизеля в заданных пределах. При повышении частоты вращения коленчатого вала дизеля и, следовательно, увеличения давления воды, воздействующей на мембрану 3, заслонка 17 против часовой стрелки , уменьшая проходное сечение трубы, а при уменьшении частоты вращения коленчатого вала дизеля заслонка поворачивается по часовой стрелке и увеличивает проходное сечение трубы. Такое программное управление заслонкой в зависимости от давления воды в системе охлаждения позволяет поддерживать необходимый диапазон разрежения в картере при работе по тепловозной характеристике и на холостом ходу.

. Системы тепловоза, приводы и вспомогательные агрегаты

.1 Водяная система

Назначение. Высокая температура газов, возникающая при сгорания топлива в цилиндрах, может вызвать резкое ухудшение условий смазки трущихся частей значительные термические напряжения в деталях, если не предусмотреть специального их охлаждения. Для отвода тепла от неподвижных деталей дизеля (втулки цилиндров, выпускные коллекторы и т.д.) используется система водяного охлаждения. Кроме того, водяная система используется для отвода тепла от смазочного масла, охлаждаемого в водомасляном теплообменнике. Водяная система служит также и для отвода тепла от наддувочного воздуха, нагревающегося при сжатии, и поэтому включает в себя воздухоохладитель. Охлаждение воды и наддувочного воздуха происходит в секциях радиаторов, установленных в холодильнике.

В холодное время года горячая вода дизеля используется для обогрева кабины машиниста, нагрева топлива в топливоподогревателе и воды в бачке санузла.

Устройство и работа. Система водяного охлаждения дизеля выполнена замкнутой. Циркуляция в системе дизель - охлаждающие устройства обеспечивается водяными насосами. Для раздельного регулирования температур воды и масла на тепловозе применена водяная система, состоящая из двух самостоятельных контуров циркуляции: контура охлаждения дизеля и контура охлаждения масла и наддувочного воздуха (рис.19).

В первом контуре вода, охлаждающая дизель, включая втулки цилиндров, газовыпускные коллекторы и турбокомпрессор, отдает тепло воздуху, проходящему через водовоздушные секции 19 и 43 охлаждающего устройства. Во втором контуре вода, охлаждающая масло дизеля в двух водомасляных теплообменниках 3 и надувочный воздух в водовоздушном холодильнике 6, отдает тепло воздуху, проходящему через водовоздушные секции 21. Каждый контур циркуляции обслуживается своим водяным лопастным насосом.


7.2 Масляная система

Назначение. Масляная система предназначена для подачи под избыточным давлением смазки в сопряженные узлы рабочих механизмов дизеля для поддержания в них жидкостного трения и охлаждения ряда его узлов. Система состоит из двух частей: внутренней, включающей в себя пути подвода масла внутри дизеля, и внешней, которая обеспечивает циркуляцию, охлаждение и очистку масла.

Устройство и работа системы. Схема трубопровода внешней части системы смазки тепловоза (рис. 20) состоит из маслопрокачивающего агрегата 10 и трубопровода с обратным клапаном 8, предназначенных для заполнения системы маслом перед пуском дизеля и подвода смазки ко всем трущимся его частям. Насос засасывает масло из картера дизеля по трубопроводу 9 и подает его к дизелю через обратный клапан 8, фильтр грубой очистки 3 и охладитель 2. До пуска дизеля для надежной смазки его узлов агрегат должен проработать после нажатия кнопки 60 с и создать давление в самой отдаленной точке системы (в конце лотка) не менее 0,2 кгс/. После пуска дизеля трубопровод маслопрокачивающего насоса отключается от системы клапаном 8.


После остановки дизеля маслопрокачивающий агрегат включается и обеспечивает прокачку дизеля маслом в течение 60 с. На маслопроводе перед фильтром грубой очистки установлен терморегулятор, который в зависимости от температуры масла управляет режимом работы гидромотора вентилятора холодильника, обеспечивая заданную температуру масла, поступающего в дизель, путем изменении интенсивности охлаждения в воздуховодяных секциях второго контура циркуляции. До и после фильтра грубой очистки предусмотрены ответвления к манометрам 11 и 12, установленным на приборном щитке дизельного помещения. Манометры позволяют контролировать величину гидравлического сопротивления фильтра.

.3 Топливная система

Назначение. Топливная система (рис. 21) предназначена для подачи топлива под давлением к топливной аппаратуре дизеля, а также размещения запасов топлива, его фильтрации и подогрева в холодное время года. Запас топлива храниться в топливном баке 9, размещенном ниже дизеля и включенном в силовую схему несущего кузова.


Устройство и работа топливной системы. Из топливного бака 9 (см. рис. 21) топливо по трубе эжекционного устройства 12 через фильтр грубой очистки 6 закачивается топливоподкачивающим агрегатом 22 и подается через фильтр тонкой очистки 4 в коллектор топливных насосов дизеля. Топливные насосы подают топливо к форсункам. Для надежной работы системы подачи температура топлива в баке должна быть не менее 30-40⁰С. Для этого предусмотрена интенсивная циркуляция топлива, осуществляемая в результате того, что топливоподкачивающий агрегат подает больше топлива, чем необходимо для реализации полной мощности дизеля. При этом часть топлива сливается из коллектора топливных насосов по трубе 16 в топливоподогреватель 23, а затем по трубопроводу 25 в топливный бак. В подогревателе топливо нагревается горячей водой системы охлаждения дизеля (в летнее время топливоподогреватель отключают).из топливоподогревателя большая часть топлива сливается в бак 9 по трубопроводу 25, и таким образом прогревается весь запас топлива.

.4 Охлаждающее устройство воды, масла и наддувочного воздуха дизеля

Назначение. Охлаждающее устройство предназначено для отвода и рассеивания в окружающую среду тепла от охлаждающих жидкостей (воды и масла), а также для охлаждения рабочего воздуха дизеля. Охлаждающее устройство обеспечивает заданный температурный режим дизеля (по температуре воды, масла и наддувочного воздуха), который регулируется автоматически при помощи гидрообъемного привода вентиляторов. Вода, масло и наддувочный воздух дизеля охлаждаются соответственно в водуховодяном, водомасляном и водовоздушном теплообменниках.


Схема охлаждающего устройства тепловоза (рис. 22) включает в себя два самостоятельных контура циркуляции. В первом контуре вода, охлаждающая детали дизеля отдает тепло воздуху в водяных секциях 4 воздушного теплообменника. Во втором контуре вода, охлаждающая наддувочный воздух в трубчатом охладителе 6 и масло дизеля в водомасляных теплообменниках 7, отдает тепло в водяных секциях 5. Охлаждение масла промежуточным теплоносителем (водой) позволяет уменьшить общее количество теплообменных секций на тепловозе и сделать более устойчивой температуру масла, что очень важно при переменных режимах работы дизеля.

Похожие работы на - Конструкция тепловоза ТЭП70

 

Не нашли материал для своей работы?
Поможем написать уникальную работу
Без плагиата!
Без нейросетей!