Эффективность природоохранных мероприятий ОАО 'Каравай'

  • Вид работы:
    Курсовая работа (т)
  • Предмет:
    Эктеория
  • Язык:
    Русский
    ,
    Формат файла:
    MS Word
    465,4 Кб
  • Опубликовано:
    2012-11-21
Вы можете узнать стоимость помощи в написании студенческой работы.
Помощь в написании работы, которую точно примут!

Эффективность природоохранных мероприятий ОАО 'Каравай'

Введение

природоохранный загрязняющий вещество

Актуальность темы исследования. Природные ресурсы и природные условия являются основой материального производства и жизнедеятельности населения. Состояние окружающей среды, качественный уровень использования, охраны и воспроизводства её ресурсов во многом определяют темпы экономического роста и эффективности производства в целом. Поэтому задача улучшения состояния окружающей среды, сохранения и приумножения природных богатств имеет народнохозяйственное значение.

Основополагающим принципом при решении многих экономических, экологических и социально-экономических проблем является принцип устойчивого развития. Условиями перехода к устойчивому развитию, наряду с формированием экологически безопасной модели рыночных отношений и утверждением экологически чувствительных моделей производства и потребления, также является комплекс общегуманитарных предпосылок. В их числе - формирование в обществе новой системы ценностных приоритетов, изменение массовых культурных представлений и стереотипов, этнических норм, утверждение социально-политической структуры общества, обеспечивающей возможно более полное участие всех заинтересованных лиц в выработке социально и природоохранных решений.

Усиление интеграции экономических и экологических процессов в мире привело к более широкому пониманию устойчивого развития, к расширению его социально-экономической составляющей. В соответствии с данным подходом достижение устойчивого социально-экономического развития требует согласования стратегий, нацеленных на ускорение экономического роста и охрану окружающей среды. Важнейшую роль при этом играют инвестиции.

Оценка эффективности инвестирования природоохранных программ с каждым годом становится все более актуальной. Определение экономической эффективности природоохранных мероприятий производится с целью технико-экономического обоснования выбора наилучших вариантов природоохранных мероприятий, различающихся между собой по воздействию на окружающую среду, а также по воздействию на производственные результаты предприятий, объединений, министерств, осуществляющих эти мероприятия. При этом имеет место обоснование экономически целесообразных масштабов и очередности вложений в природоохранные мероприятия при реконструкции и модернизации действующих мероприятий; распределение капитальных вложений между одноцелевыми природоохранными мероприятиями; обоснование эффективности новых технологических решений в области ликвидации загрязнения. Ожидаемая чистая экономическая эффективность определяется на этапах формирования планов НИОКР, проектирования, создания и освоения новой природоохранной техники с целью выбора варианта природоохранных мероприятий.

В связи с вышеизложенным представляется актуальным рассмотрение теоретико-прикладных основ экологизации инвестиционной деятельности и обоснования принимаемых решений в области инвестирования природоохранных мероприятий.

Объектом исследования являются природоохранные мероприятия ОАО «Каравай». Предметом исследования является механизм обоснования проекта природоохранных мероприятий ОАО «Каравай».

Целью данной работы является анализ эффективности проекта природоохранных мероприятий. Поставленная цель определила задачи работы:

1.      Анализ экологического ущерба предприятий;

.        Характеристика природопользования предприятий

3.      Раскрытие механизма обоснования природоохранных мероприятий;

.        Определение направлений совершенствования состава и структуры ресурсов, направляемых на природоохранные мероприятия на примере ОАО «Каравай».

1. Теоретические аспекты природоохранных мероприятий в промышленности

Часть проводимых мероприятий, связанных с производственной деятельностью, обеспечивает достижение не только экономического, но и экологического эффекта. Поэтому помимо затрат целевого экологического назначения достижение экологического результата обеспечивается и такими производственными затратами, как затраты на разработку безотходных и малоотходных технологий, выпуск экологически чистой продукции, снижение материалоемкости производства и др.

Падение производства, замедление масштабов использования природных ресурсов объективно и довольно существенно уменьшает негативное воздействие на природу. Однако одновременно усиливается износ основных фондов, снижаются возможности финансирования развития природоохранной индустрии, замедляется замена устаревших и экологически вредных технологий, и снижается выпуск средозащитной техники; наблюдается уменьшение масштабов агротехнических и других мероприятий, имеющих природоохранный эффект; сохраняется и увеличивается высокий уровень аварийности, сопровождающейся залповыми сбросами и выбросами вредных веществ; увеличиваются попытки завоза из-за рубежа токсичных отходов и возникает ряд других негативных моментов, усугубляющих экологическую обстановку в регионах.

При определении потребностей в инвестициях экологического назначения следует учитывать, в первую очередь, имеющуюся высокую степень износа эксплуатируемого экологического оборудования, так уже 15…17 лет назад порядка половины всех воздухоохранных установок эксплуатировалось в течение 10 и более лет при сроке их полной амортизации в пределах 12 лет. Более 20 % водоочистных сооружений работало не эффективно из-за физического и морального износа.

Успешное решение проблемы охраны окружающей среды и рационализации природопользования требует учета и характеристики затрат экологического (средозащитного) назначения, называемых также затратами на природоохранные мероприятия (охрана окружающей среды).

Система показателей результатов природоохранной деятельности включает три раздела: показатели экологических, социальных и экономических результатов. Показатели экологических результатов могут быть представлены в виде ряда подсистем в соответствии с компонентами окружающей среды: подсистема показателей результатов охраны водных ресурсов, воздушного бассейна, земельных ресурсов, лесного фонда, заповедных территорий, рыбных запасов, недр (полезных ископаемых); показатели использования твердых отходов, шумового, электромагнитного, радиационного загрязнения территории.

Система показателей результатов природоохранной деятельности может быть построена и на основе другого признака. Таким признаком может быть направление природоохранной деятельности. Тогда система показателей может включать следующие разделы:

результаты мероприятий по предотвращению загрязнения окружающей среды;

результаты мероприятий по ликвидации последствий загрязнения;

результаты сокращения потерь природных ресурсов как следствие рационального их использования;

результаты восстановления отдельных компонентов природной среды;

результаты воспроизводства компонентов окружающей среды.

Для анализа результатов природоохранной деятельности необходимы данные, характеризующие средозащитные затраты и использование основных фондов природоохранного назначения. Особенно важен анализ капиталовложений в охрану природы, так как он дает возможность определения эффективности проводимой природоохранной политики. Показатели основных фондов и затрат средозащитного назначения могут быть выделены в особую подсистему показателей результатов природоохранной деятельности.

Предприятие обязано иметь следующую нормативную экологическую документацию, утвержденную в органах экологического надзора:

·        проект санитарно-защитных зон (СЗЗ) (с января 2001 г. на основании приказа №218 Госсанэпиднадзора);

·        том предельно допустимых выбросов;

·        том предельно допустимых сбросов;

·        проект лимитов размещения отходов;

·        баланс водопотребления и водоотведения;

·        разрешение на выбросы загрязняющих веществ в атмосферу, сбросов сточных ливневых вод, размещение отходов.

Указанные документы составляют основу для экологического паспорта предприятия, который составляется один раз в пять лет в соответствии с ГОСТом 17.0.0.04-90 и дополняется при изменении , технологии производства.

В экологическом паспорте предприятия должна содержаться следующая информация:

·        Краткая природно-климатическая характеристика района расположения предприятия.

·        Общие сведения о предприятии.

·        Использование земельных ресурсов.

·        Краткое описание технологических процессов и сведения о продукции, балансовая схема материальных потоков.

·        Характеристика сырья, использования материальных (земельных, водных) и энергетических ресурсов.

·        Характеристика источников воздействия на окружающую среду

·        Характеристика выбросов в атмосферу и их источников.

·        Характеристика сбросов в водные объекты и их источников.

·        Характеристика источников сбросов на почву.

·        Характеристика твердых отходов и их источников.

·        Оценка влияния производства на окружающую среду.

·        Характеристика очистных сооружений.

·        Характеристика отходов, образующихся на предприятии.

·        Характеристика полигонов и накопителей.

·        Оценка эколого-экономической деятельности предприятия.

·        Определение предельно-допустимых выбросов (сбросов и других нагрузок) предприятия в окружающую природную среду.

·        Характеристика природоохранных мероприятий.

·        Сведения о рекультивации нарушенных земель и снятии нарушенного слоя почвы.

·        Сведения о транспорте предприятия.

·        Сведения о плате за выбросы (сбросы), размещение отходов загрязняющих веществ в окружающей среде.

Характеризуя район расположения предприятия, важно отметить, какие хозяйственные и природные объекты расположены рядом, где размещены жилые кварталы, земли сельскохозяйственного назначения, лесопарковые зоны, уровень грунтовых вод, постоянные и временные водотоки на территории или в непосредственной близости, метеорологические условия, господствующее направление ветров.

Необходимо указать, есть ли вероятность возникновения чрезвычайных ситуаций природного характера (ураганов, пыльных бурь, наводнений и т.д.).

Поскольку выбранная технологическая схема производства влияет на количественный и качественный состав выбросов, то внедрение экологически чистых, малоотходных технологий является приоритетным направлением в мировой хозяйственной практике. На предприятии должен быть перечень применяемых и выделяющихся от техпроцесса вредных веществ с указанием их ПДК, классов опасности. Отдельным списком оформляются сильнодействующие ядовитые вещества (СДЯВ) и легковоспламеняющиеся жидкости (ЛВЖ). Руководителем предприятия утверждается перечень мероприятий по сокращению использования веществ, разрушающих озоновый слой.

Вид используемого сырья и топлива в значительной мере определяет характер воздействия предприятия на объекты окружающей среды, поэтому экологический паспорт предприятия должен содержать все данные о поставщиках сырья, топлива, наличии особо опасных элементов в сырье и материалах. Количественную оценку вредных выделений при использовании различных видов топлива можно выполнить в соответствии с «Методикой определения выбросов загрязняющих веществ в атмосферу при сжигании топлива в котлах производительностью менее 30 тонн пара в час или менее 20 гкал в час».

Характеристика выбросов и источников загрязнения атмосферы учитывает суммарный объём выбросов в целом по предприятию, а также структуру выбросов по четырём классам опасности.

Следует считать, что на предприятии соблюдены требования экологической безопасности по охране атмосферного воздуха, если оно имеет: том ПДВ, Разрешение на выброс загрязняющих веществ и выполняет нормативы, согласованные Разрешением на выброс; материалы инвентаризации источников выбросов загрязняющих веществ в атмосферу (форма №1 -воздух); ведется журнал ПОД-1, в котором содержаться материалы первичного учета состава газовых выбросов от стационарных источников загрязнения и их характеристик, журнал ПОД-2, где учитывается выполнение мероприятий по охране атмосферного воздуха, а также журнала ПОД-3, в котором характеризуется работа установок очистки газа. Кроме этого, на предприятии должны готовиться материалы государственной статистической отчетности по охране атмосферного воздуха (форма №2ТП - воздух) и разрабатываться план-график контроля за соблюдением нормативов ПДВ, согласованного с территориальными органами Госкомэкологии.

Кроме того, предприятия в своей практической деятельности должны руководствоваться СанПиН 2.1.7.1322-03 «Гигиенические требования к размещению и обезвреживанию отходов производства и потребления» и НД №3209-85 «Предельное количество накопления токсичных промышленных отходов на территории предприятия (организации)».

Размеры санитарно-защитных зон (СЗЗ) производств по обработке пищевых продуктов и вкусовых веществ определяются в зависимости от класса опасности предприятия. В пределах СЗЗ запрещена жилая застройка, размещение садовых и дачных участков, не допускается размещение пищевой промышленности, хранилищ питьевой воды. Эта территория не может быть использована для рекреации, здесь нельзя проектировать парки, спортивные, оздоровительные, образовательные комплексы. В пределах СЗЗ допускается выращивание технических культур, размещение предприятий инфраструктуры, нежилых помещений, складов, коммуникаций, ЛЭП, электроподстанций, нефте- и газопроводов, канализационных, насосных станций, сооружений оборотного водоснабжения, пожарных депо, бань, прачечных, гаражей и т.д.

Требования экологической безопасности по использованию и охране вод от загрязнения предусматривают наличие на предприятии нормативов предельно допустимых сбросов (ПДС) и Разрешения на сброс загрязняющих веществ (при сбросе в открытые водоемы). Предприятие должно иметь договор на прием, транспортировку, очистку сточных вод, договор на забор воды, разрешение на спецводопользование. Необходимо регулярно составлять отчет по форме №2-ТП (водхоз).

Основанием для выдачи Разрешения служит отчет о выполнении природоохранных мероприятий за предыдущий год, план природоохранных мероприятий на текущий год; отчет о контроле нормативов выбросов; копия документов, подтверждающих своевременное внесение платы за загрязнение окружающей среды.

2. Анализ эффективности природоохранных мероприятий ОАО «Каравай»

.1 Краткая экономическая характеристика ОАО «Каравай»

Открытое акционерное общество «Каравай» представляет механизированное предприятие по производству хлебобулочных и кондитерских изделий производительностью более 20 тонн в сутки. Ассортимент выпускаемых изделий может достигать более 40 наименований. Кроме основного производства цеха по производству хлеба завод имеет:

·        кондитерский цех по производству вафельных тортов и других кондитерских изделий;

·        цех по выпуску стеновых материалов;

·        ремонтно-механический цех по выпуску металлоизделий;

·        торговая сеть из 12 фирменных магазинов 2 торговых павильонов;

·        малые пекарни - 3 шт.;

·        мельница с выработкой до 30 тонн в сутки.

В настоящее время завод выпускает до 60 тонн хлебобулочных изделий в сутки, что составляет 30 % существующих мощностей.

Реализация хлебобулочных изделий осуществляется, в основном, через сеть фирменных магазинов ОАО «Каравай».

По сей день технология приготовления хлеба не изменилась. Однако износ основных средств составляет 70 %. В настоящее время на предприятии разработаны планы по совершенствованию качества продукции, расширению ассортимента и снижению ее себестоимости.

При этом, цены на сырье, материалы, топливно-энергетические ресурсы, оборудование и услуги растут без ограничения, т.е. хлебопекарная отрасль - одна из самых важных в социальном плане, становится в неравные условия с другими товаропроизводителями, продукция которых не подвергается государственному регулированию.

.2 Анализ природоохранных мероприятий ОАО «Каравай»

Рассмотрим проект по установке оборудования, снижающего вредное воздействие ОАО «Каравай» на окружающую среду Для предприятий хлебопекарной отрасли такими воздействиями основным загрязнителем технологические выбросы в атмосферу от хлебопекарных установок (камер) по вытяжным каналам за счет естественной тяги через металлические трубы или шахты; выбросы при сжигании топлива в топочных устройствах хлебопекарных печей для обогрева канальных систем и пекарных камер, для топки котлов (получение пара и горячей воды); выбросы от мучной пыли в складских помещениях и при использовании рукавных фильтров; выбросы от вспомогательных производств (сварочные, деревообрабатывающие участки, механические мастерские), а также выбросы от автотранспортных цехов (участков).

От установок сепарации зерна, просеивания муки, смешивания, дозирования, замеса происходит шумовое воздействие. Шум возникает и от эксплуатации автотранспортных средств.

Сбросы могут содержать проливы бензина, остатки от мытья установок по замешиванию, закваске теста и другого пекарного вспомогательного оборудования, при этом в сток могут попадать органические вещества, сульфаты, фосфаты, нитраты, щелочи и кислоты.

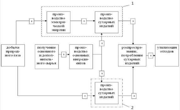
Исходя из принципа главного принципа оценки жизненного цикла (ОЖЦ) - от начала до конца, экологизации подлежит вся продукционная цепочка - от производства, прежде всего, сельскохозяйственной продукции до потребления произведенных продуктов питания и размещения отходов производства и потребления в окружающей среде. Весь комплекс сложных взаимоотношений между производством продуктов питания и окружающей природной средой может быть представлен с помощью концепции жизненного цикла (ЖЦ) продукции в виде продукционной цепочки (рис 1). С точки зрения управления воздействием на окружающую среду (экологического менеджмента) ЖЦ представляет собой совокупность последовательных и взаимосвязанных стадий продукционной системы.

ОЖЦ позволяет сделать «прозрачным» жизненный путь исследуемой продукции, облегчает доступ к каждому звену продукционной цепочки, дает возможность управлять и изменять их, и, как следствие, повышать ресурсную эффективность производства и минимизировать воздействие на окружающую среду.

Рис. 1 - Продукционная цепочка и связанное с ней использование ресурсов и экологические последствия

Представляя собой количественную оценку экологического воздействия, ОЖЦ может быть использована для улучшения экологических аспектов продукции на различных стадиях ее жизненного цикла. Она может применяться на уровне организации при стратегическом планировании, определении приоритетов, проектировании продукции или процесса и др.; для выбора показателей экологической эффективности, включая методы измерений; при разработке системы экологического менеджмента, экологической политики предприятия и др.; для целей экологического маркетинга продукции, (например, для получения знака экологической маркировки, экологической декларации продукции).

Для ОЖЦ характерны следующие ограничения:

критерии выбора (например, границ системы, источников информации, категорий воздействий и пр.), а также и допущения, сделанные в ходе ОЖЦ, могут быть субъективными;

модели, используемые в ОЖЦ, ограничены соответствующими допущениями и могут быть непригодны для всех потенциальных воздействий;

результаты исследований ОЖЦ, сфокусированные на глобальных и региональных проблемах, могут быть непригодны для локальных применений, т.е. локальные условия могут быть неадекватно представлены региональными, или глобальными условиями;

точность исследований ОЖЦ может быть ограничена степенью доступности необходимой или отсутствием соответствующей информации, ее качеством (например, пропусками), видами имеющейся информации, ее объединением, усреднением, специфичностью для данного местоположения объекта;

отсутствие инвентаризационных данных, используемых для оценки воздействий, вносит неопределенность в результаты воздействий, которая меняется в зависимости от пространственных и временных характеристик каждой категории воздействия.

ОЖЦ является итерационной процедурой и включает в себя 4 фазы.

На первой фазе ОЖЦ происходит определение цели исследования, области применения его, установление границ системы рассматриваемой продукционной системы (ПС), а также определение функциональной единицы.

На второй фазе ОЖЦ проводится инвентаризационный анализ продукционной системы, т.е. сбор качественной и количественной информации о входных и выходных материальных и энергетических потоках для каждой стадии рассматриваемой производственной системы (ПС).

Третья фаза ОЖЦ посвящена оценке воздействия ПС на окружающую среду. Данная фаза является наиболее специфичной стадией ОЖЦ, в ходе которой происходит выявление и оценка величины и значимости существующих и потенциально возможных экологических воздействий ПС. ОВЖЦ может проводиться как вручную, с использованием расчетных методик, так и с помощью специализированных программных средств.

На четвертой, заключительной фазе ОЖЦ проводится интерпретация результатов, анализ альтернатив, формулирование заключений и рекомендаций.

Для проведения полноценной ОЖЦ необходимо использование баз данных по распространенным и специфическим материалам и процессам, методик оценки экологического воздействия, а также выполнение большого объема вычислений, подготовка графической визуализации результатов исследования. Все это практически невозможно без применения специализированного программного обеспечения.

Рассмотрим пример выполнения ОЖЦ для ОАО «Каравай» Санкт-Петербурга. Предприятие специализируется на выпуске мучных кондитерских изделий. К числу наиболее значимых источникам воздействия на окружающую среду относятся вспомогательные подразделения - энергоснабжающие объекты (в том числе и в отношении теплового загрязнения) и транспортные участки, а также системы водоснабжения и канализирования сточных вод; к менее значимым воздействиям относятся выбросы загрязняющих веществ в атмосферу и обращение с отходами.

Ниже представлены результаты сравнительного анализа производства хлебопекарной продукции (на примере сушек) с использованием различных видов топливно-энергетических ресурсов - природного газа и электрической энергии. Анализ был проведен на основе оценки «экологического» жизненного цикла с целью определения возможностей повышения энергетической эффективности хлебопекарных предприятий.

Для сравнительного анализа было рассматривается наиболее значимый технологический источник загрязнения - хлебопекарные печи, вопрос о модернизации которых уже рассматривается руководством хлебопекарного предприятия. Были отобраны печи, работающие на природном газе и электрической энергии, характеристики которых приведены в таблице 1. В качестве функциональной единицы была выбрана часовая производительность хлебопекарных печей - 160 кг/ч сушек.

Таблица 1 - Характеристики газовой и электрической хлебопекарных печей ОАО «Каравай»

Параметры печи

Печь газовая

Печь электрическая

Производительность печи

160 кг/ч

160 кг/ч

Продолжительность выпечки

14 мин

14 мин

Тепловыделяющий элемент

муфель

ТЭН

Фактический расход топлива

20 м3/ч природного газа

51,61 кВт-ч электроэнергии

Температура уходящих газов

(320±10) °С

(180±10) °С

Состав уходящих газов

СО2, СО, NOx

-

КПД печи

75 %

30 %


Исследуемые продукционные системы ПС №1 (с использованием электрической энергии) и ПС №2 (с использованием природного газа) представлены на рисунке 2.

Рис. 2 - Общая схема ЖЦ сушек: 1 - границы ПС №1; 2 - границы ПС №2 ОАО «Каравай»

Анализ продукционных систем осуществлялся по принципу «от ворот до ворот», такие стадии ЖЦ сушек, как добыча (или выращивание) первичного сырья и дополнительных материалов, их переработка, потребление готовой продукции, утилизация отходов производства и потребления, а также стадия транспортировки сырья, полуфабрикатов и отходов остаются за границами ПС и не рассматриваются в данном исследовании, поскольку они являются одинаковыми для обеих ПС.

Для продукционных систем были приняты следующие допущения: несмотря на то, что ассортимент продукции предприятия насчитывает несколько видов сушек, в исследовании учитывалось производство только одного вида; расход упаковочных материалов и расход энергии на технологические нужды не рассматривались, т.к. они одинаковы для обеих ПС; учитывалась только энергия, необходимая для работы хлебопекарных печей; выработка тепловой энергии на ТЭЦ при производстве электроэнергии не рассматривалась. Было принято, что тепловые потери на ТЭЦ составляют 65 %, при транспортировке электроэнергии по сетям - 17 %, при работе электрической печи - 30 %, при работе газовой печи - 73 %.

В таблице 2 приведена классификация результатов ИАЖЦ на основе выбранных категорий воздействия и показателей категорий.


Таблица 2 - Категории воздействий и показатели категорий для ОЖЦ сушек ОАО «Каравай»

Категория воздействия

Результат ИАЖЦ

Показатель категории

Характеристический коэффициент

Глобальное потепление климата

Выбросы СО2, CH4,

Уменьшение теплового излучения в космос

Потенциал глобального потепления (ПГП), г-экв СО2

Образование фотохимического смога

Выбросы NOx, СО, НМУ, этанола, ацетальдегида, уксусной кислоты

Образование легкоокисляющихся веществ

Потенциал фотохимического образования озона (ПФОО), г-экв этана/г

Закисление почв, воды

Выбросы NOx

Увеличение концентрации Н+

Потенциал закисления (ПЗ), мол. Н+/г

Образование отходов

Отработанное техническое масло

Образование токсичных отходов

Показатель образования отходов (ПОО), г/ФЕ

Тепловое загрязнение атмосферы

Потери тепла в атмосферный воздух

Образование тепловых потерь

Показатель теплового загрязнения (ПТЗ), кВт/ФЕ


В таблице 2 представлены результаты расчетов показателей категорий воздействия на окружающую среду входных и выходных потоков рассматриваемых продукционных систем с разделением по стадиям ЖЦ в физических единицах. Сравнительный анализ категорий воздействия в относительных единицах (рис.3) показывает, что ПС №1 оказывает большее воздействие на окружающую среду, чем ПС №2 по всем рассматриваемым категориям.

При этом значения показателей категорий воздействия (за исключением категории воздействия «образование фотохимического смога») ПС №1 превышают более чем в 2,2 раза значения аналогичных показателей ПС №2.

Вклад отдельных стадий ПС №1 (с электрической печью) и ПС №2 (с газовой печью) в рассматриваемые категории воздействия показан на рисунке 4.

Таблица 3 - Результаты расчетов показателей категорий воздействия по стадиям ЖЦ для двух ПС ОАО «Каравай»

Показатель категории воздействия



ПС №1


ПС №2


Ед.

пр-во э/энергии

транспор-

пр-во сушек


пр-во сушек


измерения


тировка э/энергии

в электропечи

итого

в газовой печи

ПГП

г-экв. CO2

103 626,66

0

0

103 626,66

46 663,66

ПФОО

г-экв. этана

35,83

0

74,21

110,04

90,34

ПЗ

мол. H

6,01

0

0

6,01

2,70

ПТЗ

кВт/кг газа

115,48

10,57

15,48

141,53

48,00

ПОО

г/кг газа

852,75

0

247,73

1100,48

384,00

ПИПТ

г/кг ФЕ

0

0

3,84

3,84

3,84


Рис. 3 - Сравнительный анализ двух ПС по вкладу в показатели категорий воздействия (для ОАО «Каравай»)

Рис. 4 - Вклад отдельных стадий продукционных систем ОАО «Каравай» ПС №1 и ПС №2 в показатели категорий воздействия

Как было сказано выше, ПФОО отличается от других показателей категорий воздействия. В продукционной системе ПС 1 основной вклад в ПФОО вносит стадия производства сушек (на электрической печи). Это связано с тем, что на стадиях производства и транспортировки электрической энергии вклад в ПФОО вносят два загрязняющих вещества - СО и неметановые углеводороды (НМУ), а на стадии производства сушек помимо СО и НМУ выделяются такие вещества, как этанол, уксусная кислота, ацетальдегид, которые также приводят к образованию фотохимического смога.

Основной вклад в ПГП, ПЗ, ПТЗ и ПОО в ПС №1 вносит стадия производства электроэнергии на ТЭЦ, которые в первую очередь зависят от расхода природного газа и, следовательно, КПД ТЭЦ.

При выборе типа хлебопекарной печи и проведении сравнительного анализа рекомендуется использовать такой инструмент для принятия экологически обоснованных решений, как ОЖЦ. позволяющий количественно оценить вклад рассматриваемых продукционных систем в загрязнение окружающей среды и провести обоснованный сравнительный анализ.

При проведения сравнительного анализа хлебопекарных печей рекомендуется дополнить экологические критерии, традиционно рассматриваемые в ОЖЦ, экономическими и социальными показателями.

Так, например, для предварительной экономической оценки рекомендуется проводить расчет величины предотвращенного ущерба, наносимого окружающей среде в ходе работы рассматриваемых стадий ЖЦ.

Для оценки социальных аспектов можно использовать такие показатели, как предотвращенный ущерб, наносимый здоровью обслуживающего персонала во время эксплуатации хлебопекарных печей (например, при тепловом излучении от поверхности печи), вероятность возникновения факторов опасности, учитываемых при охране труда на хлебопекарных предприятиях.

2.3 Оценка эффективности природоохранных мероприятий

Загрязнение атмосферы хлебозаводом происходит от стационарных и передвижных источников.

Количество источников загрязняющих веществ на хлебозаводе 31, из них организованных - 15, неорганизованных - 16. Всего выбрасывается загрязняющих веществ в атмосферу - 63,7 т/год, из них от стационарных источников - 62,5 т/год.

Основные загрязняющие вещества: этиловый спирт, уксусная кислота, уксусный альдегид, мучная пыль, диоксид азота, оксид азота, оксид углерода, бенз(а)пирен, оксид железа, оксид марганца, фтористый водород, абразивная пыль, диоксид серы, свинец, углеводороды, сажа, бензол, ксилол, толуол, уайт-спирит, керосин, органическая пыль.

Объем водопотребления на предприятии, составляет 94440 м /год, сброс 50052м /год. Производственно-бытовые сточные воды, образованные в результате использования воды питьевого качества, получаемой из водоканала, отводятся с территории предприятия в канализации системы водоканала. Анализ данных показывает, что составляющие компоненты в сточных водах не превышает ПДК.

Произведенный анализ показывает, что выбросы сточных вод и твердых отходов соответствуют нормам, установленным нормативными документами. Содержание вредных веществ, в сточных водах сбрасываемых в канализацию не превышает ПДК. Твердые отходы передают на утилизацию, на предприятия, имеющие лицензию.

Анализ выбросов в атмосферу, показал, что в наибольшем количестве на предприятии выбрасывается оксид углерода 24,5 т/год. В связи с этим целью работы является разработка мер по снижению этих выбросов.

Из анализа технологического процесса производства хлебобулочных изделий видно, что основным источником выбросов оксида углерода является катальная 5,2% и пекарные печи 94,8%.

Существует несколько методов очистки газов.

. Сухой метод очистки: пылеосадительные камеры, инерционные пылеуловители, ротационные пылеуловители, центробежные пылеуловители, одиночные, групповые и батарейные циклоны, вихревые пылеуловители, фильтрующие пылеуловители, рукавные фильтры, рулонные фильтры, волокнистые фильтры фильтры с жесткими перегородками, фильтры с насыпным слоем, электрофильтры.

. Мокрый метод очистки: полые газопромыватели, насадоч-ные газопромыватели, тарельчатые (пенные) газопромыватели, ударно-инверционные газопромыватели, центробежные газопромыватели, динамические газопромыватели, скоростные газопромыватели (скрубберы Вентури), фильтры-туманоуловители, мокрые электрофильтры.

. Метод абсорбции: поверхностные абсорберы, барботажные абсорберы, распыливающие абсорберы, насадочные абсорберы.

. Адсорбционный метод: аппараты с неподвижным слоем, аппараты с движущимся и псевдоожиженным слоями, оборудование для термического и каталитического сжигания газообразных отходов .

Для хлебозавода перспективно использование абсорбционного метода очистки выбрасываемых газов.

Абсорбционные аппараты в зависимости от форм контакта газа (пара) и жидкостей делятся на абсорберы: пленочные, насадочные, бар-ботажные, распыливающие. Рассмотрев все виды абсорберов, выбираем насадочный абсорбер.

Насадочные аппараты отличаются простотой устройства, возможностью работы с агрессивными средами, созданием высокой удельной поверхности контакта фаз и коэффициентами массопередачи.

В насадочной колонне насадка укладывается на опорные решетки, имеющие отверстия или щели для прохождения газа и стока жидкости которая с помощью распределителя (разбрызгивателя) равномерно орошает насадочные тела и стекает вниз. По всей высоте слоя насадки равномерное распределение жидкости по сечению колонны обычно не достигается, поскольку из- за разного гидравлического сопротивления насадки и влияния пристеночных эффектов, она имеет тенденцию растекается от центральной части колонн к ее стенкам. Поэтому для улучшения смачивания насадки в колоннах большого диаметра насадку иногда укладывают слоями (секциями) высотой 2-3 метра и под каждой секцией, кроме нижней устанавливают перераспределители жидкости.

Основным назначением насадки является распределение пленки жидкости по всей поверхности для создания развитой поверхности межфазного пространства.

Эффективная насадка должна отвечать следующим требованиям: обладать большой поверхностью в единице объема; хорошо смачиваться орошающей жидкостью; оказывать малое гидравлическое сопротивление газовому потоку; равномерно распределять орошающую жидкость; обладать химической стойкостью к воздействию жидкости и газа, контактирующих в аппарате; иметь малый удельный вес; обладать высокой механической прочностью; иметь низкую стоимость.

Использование абсорбера позволит сократить на 20% выбросы загрязняющих веществ в атмосферу. Проведем анализ экономической эффективности от реализации предложенного инвестиционного проекта по внедрению оборудования, снижающего воздействие на окружающую среду.

Расчет прибыли от реализации приведен в табл.4.


Таблица 4. Расчет прибыли ОАО «Каравай» от реализации

№ п/п

Наименование показателей

Базовый период (год)

По периодам (годам) реализации проекта:




1

2

3

1

Выручка от реализации продукции

812116,6

879474,1

951470,3

1023466,6

2

Налоги, сборы, платежи, включаемые в выручку от реализации продукции

137646,9

149063,4

161266,2

173468,9

3

Выручка от реал. прод. (за минусом НДС, акцизов и иных обязательных платежей) (стр.1 - стр.2)

674469,7

730410,7

790204,1

849997,7

4

Затраты на производство и реализацию

214088,0

228901,8

244361,9

261629,0

5

Прибыль (убыток) от реализации (стр.3 - стр.4 - стр.6)

460381,7

501508,9

545842,3

588368,7

6

Налоги и сборы, выплачиваемые из прибыли

127663,8

139068,4

151362,1

163154,6

7

Расходы и платежи из прибыли

103056,0

93394,5

83733,0

74071,5

8

Сумма льготы по налогу на прибыль

-

-

-

-

9

Прибыль (убыток) к распределению

229661,8

269046,0

310747,2

351142,6


Налоговые отчисления из выручки рассчитаны исходя из ставки налога на добавленную стоимость в размере 18%.

Налоговые отчисления из прибыли рассчитаны исходя из ставки налога на имущество в размере 1% от остаточной стоимости основных фондов, налога на прибыль - по ставке 20% от балансовой прибыли за вычетом величины налога на недвижимость.

По статье "расходы из прибыли" указана величина платежей по проекту, которая складывается из основного долга по проекту и процентов за пользование заемными средствами.

Как видно из данных табл.4. проект является рентабельным, так как выручка от реализации выпускаемой продукции после уплаты налогов из выручки покрывает издержки производства, а получаемой прибыли после уплаты налогов, установленных действующим законодательством в области налогообложения достаточно для погашения заемных средств и процентов за пользование ими.

Так, величина прибыли от реализации после уплаты налоговых платежей составит:

в базовом году - 460381,7 руб.;

в 1 год реализации проекта - 501508,9 руб.;

во 2 год реализации проекта - 545842,3 руб.;

в 3 (заключительный) год реализации проекта - 588368,7 руб..

Следует заметить, что величина прибыли увеличивается с учетом длительности осуществления проекта, при исходных параметрах увеличения себестоимости используемых сырья, материалов, расходов на оплату труда в условиях неизменного объема производства. Данный момент является принципиально важным, так как он косвенно подтверждает целесообразность инвестирования средств в предлагаемый проект.

Далее на основании расчетных данных произведем прогнозные расчеты потока денежных средств по ОАО «Каравай» при реализации предлагаемого проекта, полученные данные поместим в табл.5.

Как видно из данных табл.5., основным источником потока денежных средств являются поступления от реализации производимой продукции в рамках реализации предлагаемого проекта. Необходимо отметить устойчивое положительное сальдо потока денежных средств по текущей (операционной) деятельности в течение всего периода реализации проекта, что свидетельствует о наличии собственных средств предприятия, полученных в результате реализации проекта в необходимом объеме.

Таблица 5. Расчет потока денежных средств ОАО «Каравай»

№ п/п

Наименование показателей

Базовый период (год)

По периодам (годам) реализации проекта:




1

2

3

I. ТЕКУЩАЯ (ОПЕРАЦИОННАЯ) ДЕЯТЕЛЬНОСТЬ

1.1

Приток:





1.1.1

Выручка от реализации продукции

812116,6

879474,1

951470,3

1023466,6

1.1.2

Прирост кредиторской задолженности

0,0

1535,9

1575,8

1715,1

1.1.3

Прочие поступления по текущей деятельности

0,0

0,0

0,0

1.1.4

Итого приток денежных средств

812116,6

879474,1

951470,3

1023466,6

1.2

Отток:





1.2.1

Затраты на производство и реализацию продукции (за вычетом амортизации)

188324,0

205714,2

223493,0

242847,0

1.2.2

НДС

123882,2

134157,1

145139,5

156122,0

1.2.3

Отчисления и сборы в бюджетные целевые фонды

13764,7

14906,3

16126,6

17346,9

1.2.4

Налоги, платежи, уплачиваемые из прибыли

127663,8

139068,4

151362,1

163154,6

1.2.5

Расходы и платежи из прибыли

103056,0

93394,5

83733,0

74071,5

1.2.6

Прирост оборотных активов

0,0

6347,5

6785,1

10285,3

1.2.7

Прочие расходы по текущей деятельности

0,0

0,0

0,0

0,0

1.2.8

Итого отток денежных средств

556690,8

593588,0

626639,4

663827,3

1.3

Сальдо потока денежных средств по текущей (операц.) деятельности (стр.1.1.4 - 1.2.11)

255425,8

285886,1

324830,9

359639,3

II. ИНВЕСТИЦИОННАЯ ДЕЯТЕЛЬНОСТЬ

2.1

Приток:





2.1 1

Поступления денежных средств от реализации основных фондов и немат. активов

0,0

0,0

0,0

0,0

2.1 2

Прочие доходы от инвестиционной деятельности

0,0

0,0

0,0

0,0

2.1 3

Итого приток денежных средств по инвестиционной деятельности (стр.2.1 1 + стр.2.1 2)

0,0

0,0

0,0

0,0

2.2

Отток:





2.2.1

Капитальные затраты без НДС

258026,5

0,0

0,0

0,0

2.2.2

Долгосрочные финансовые вложения

0,0

0,0

0,0

0,0

2.2.3

Другие расходы по инвестиционной деятельности

0,0

0,0

0,0

0,0

2.2.4

Итого отток денежных средств по инвестиц. деятельности (сумма строк 2.2.1-2.2.3)

258026,5

0,0

0,0

0,0

2.3

Сальдо потока денежных средств по инвестиционной деятельности (стр.2.1 3-стр.2.2.4)

-258026,5

0,0

0,0

0,0

2.4

Накопительный остаток по стр.2.3

0,0

0,0

0,0

0,0

III. ФИНАНСОВАЯ ДЕЯТЕЛЬНОСТЬ

3.1

Приток:





3.1 2

Заемные и привлеченные средства по проекту

257640,0

0,0

0,0

0,0

3.1 4

Краткосрочные кредиты, займы

0,0

0,0

0,0

0,0

3.1 7

Итого приток денежных средств по финансовой деятельности (сумма стр.3.1 1-3.1 6)

257640,0

0,0

0,0

0,0

3.2

Отток:





3.2.1

Погашение основного долга по проекту

64410,0

64410,0

64410,0

64410,0

3.2.2

Погашение процентов по займам по проекту

38646,0

28984,5

19323,0

9661,5

3.2.10

Итого отток денежных средств по финансовой деятельности

103056,0

93394,5

83733,0

74071,5

3.3

Сальдо потока денежных средств по финансовой деятельности

154584,0

-93394,5

-83733,0

-74071,5

4

Итого приток денежных средств

915172,6

972868,6

1035203,3

1097538,1

5

Итого отток денежных средств (сумма строк 1.2.11, 2.2.4 и 3.2.10)

917773,2

686982,5

710372,4

737898,8

6

Излишек (дефицит) денежных средств

-2600,6

285886,1

324830,9

359639,3

7

Накопительный остаток (дефицит) денежных средств (по стр.6)

0,0

283285,5

38944,8

34808,3


Оценка эффективности инвестиций базируется на сопоставлении ожидаемого чистого дохода от реализации проекта с инвестированным в проект капиталом.

В основе метода лежит вычисление чистого потока, наличности, определяемого как разность между чистым доходом от реализации продукции (далее - чистый доход) по проекту и суммой общих инвестиционных затрат и платы за кредиты (займы), связанной с осуществлением капитальных затрат по проекту.

На основании чистого потока наличности рассчитываются основные показатели оценки эффективности инвестиций: чистый дисконтированный доход (ЧДД); индекс рентабельности (доходности) (ИР); внутренняя норма доходности (ВНД); динамический срок окупаемости.

Для расчета этих показателей применяется коэффициент дисконтирования, который используется для приведения будущих потоков и оттоков денежных средств на шаге t к начальному периоду времени. При этом дисконтирование денежных потоков осуществляется с момента начала финансирования инвестиций.

Коэффициент дисконтирования:

 (1)

где Д - ставка дисконтирования (норма дисконта);

t - год реализации проекта.

Чистый дисконтированный доход (ЧДД) характеризует интегральный эффект от реализации проекта и определяется как величина, полученная дисконтированием (при постоянной ставке процента отдельно для каждого года) разницы между всеми годовыми оттоками и притоками реальных денег, накапливаемых в течении горизонта расчета проекта:

 (2)

где Пt - чистый поток наличности за период (год) t = l,2,3…Т;

Т - горизонт расчета;

Д - ставка дисконтирования.

Формулу по расчету ЧДД можно представить в следующем виде:

ЧДД = П (0) + П (1)* К1 + П (2)* К2 +…+ П (Т)*Кт (3)

где Кt - коэффициент дисконтирования.

Чистый дисконтированный доход показывает абсолютную величину чистого дохода, приведенной к началу реализации проекта и должен иметь положительное значение, иначе инвестиционный проект нельзя рассматривать как эффективный.

Внутренняя норма доходности (ВНД) - интегральный показатель, рассчитываемый нахождением ставки дисконтирования, при которой стоимость будущих поступлений равна стоимости инвестиций (ЧДД=0).

ВНД определяется исходя из следующего соотношения:

, (4)

где Ип - стоимость общих инвестиционных затрат и платы за кредиты (займы), связанной с осуществлением капитальных затрат по проекту, за расчетный период (горизонт расчета).

При заданной инвестором норме дохода на вложенные средства, инвестиции оправданы, если ВНД равна или превышает установленный показатель. Этот показатель также характеризует "запас прочности" проекта, выражающийся в разнице между ВНД и ставкой дисконтирования (в процентном исчислении).

Индекс рентабельности (доходности) (ИР):

 (5)

ДИ - дисконтированная стоимость общих инвестиционных затрат и платы за кредиты (займы), связанной с осуществлением капитальных затрат по проекту, за расчетный период (горизонт расчета). Инвестиционные проекты эффективны при ИР более 1. Срок окупаемости служит для определения степени рисков реализации проекта и ликвидности инвестиций. Различают простой срок окупаемости и динамический. Простой срок окупаемости проекта - это период времени, по окончании которого чистый объем поступлений (доходов) перекрывает объем инвестиций (расходов) в проект, и соответствует периоду, при котором накопительное значение чистого потока наличности изменяется с отрицательного на положительное. Расчет динамического срока окупаемости проекта осуществляется по накопительному дисконтированному чистому потоку наличности. Динамический срок окупаемости в отличие от простого учитывает стоимость капитала и показывает реальный период окупаемости. Если горизонт расчета проекта превышает динамический срок окупаемости на три и более года, то для целей оценки эффективности проекта расчет ЧДД, ИР и ВНД осуществляется за период, равный динамическому сроку окупаемости проекта плюс один год. В таком случае за горизонт расчета Т, используемый в формулах расчета ЧДД, ИР, ВНД, принимается этот период.

Уровень безубыточности (УБ):

 (6).

Маржинальная (переменная) прибыль - выручка от реализации за минусом условно-переменных издержек и налогов из выручки.

Таблица 7. Расчет чистого потока наличности и показателей эффективности проекта

№ п/п

Виды доходов и затрат, наименование показателей

Базовый период (год)

По периодам (годам) реализации проекта




1

2

3

1

2

3

4

5

6

1

ОТТОК НАЛИЧНОСТИ





1.1

Общие инвестиционные затраты по проекту без НДС

х

0,0

397,8

3360,8

1.2

Плата за кредиты (займы), связанная с осуществлением инвестиц. затрат по проекту

х

28984,5

19323,0

9661,5

2

Полный отток (стр.1.1 + стр.1.2)

х

28984,5

19720,8

13022,3

3

ПРИТОК НАЛИЧНОСТИ

-2600,6

285886,1

324830,9

359639,3

4

Чистый доход по проекту (стр.3.1 - стр.3.2)

х

269046,0

310747,2

351142,6

5

Сальдо потока (чистый поток наличности - ЧПН) (стр.4 - стр.2)

х

240061,5

291026,4

338120,3

7

Приведение будущей стоимости денег к их текущей стоимости Коэффициент дисконтирования (при ставке дисконтирования 10%)

1,000

0,909

0,826

0,751

8

Дисконтированный отток (стр.2 х стр.7)

х

26349,5

16298,2

9783,8

9

Дисконтированный приток (стр.4 х стр.7)

х

244587,3

256815,9

263818,6

10

Дисконтированный ЧПН (стр.9 - стр.8)

х

218237,7

240517,7

254034,8

11

То же, нарастающим итогом (по стр.10) - чистый дисконтированный доход (ЧДД)

х

244587,3

256815,9

263818,6

12. Показатели эффективности проекта

12.1

Чистый дисконтированный доход (ЧДД) (по стр.11)

765221,8

12.2

Простой срок окупаемости проекта (по стр.6)

1,64

12.3

Динамический срок окупаемости проекта (по стр.11)

1,68

12.6

Внутренняя норма доходности (ВНД) (по стр.5)

41,85

12.7

Индекс доходности (ИД) (по стр.8 и стр.11)

3,87

12.9

Уровень безубыточности

39,5

35,0

31,1

25,6


По результатам реализации проекта величина чистого дисконтированного дохода составит 765221,8 тыс. руб., что более чем в 2 раза превышает величину привлекаемых заемных средств. Простой срок окупаемости при этом составит 1,64 года, динамический срок окупаемости составит 1,68 лет. Внутренняя норма доходности составит 41,85%, индекс доходности составит 3,87. Значение уровня безубыточности будет составлять от 39,5% в базовом году до 25,6% в заключительном году реализации проекта при этом оно будет постепенно снижаться.

Таким образом, по результатам проведенного анализа эффективности предлагаемого инвестиционного проекта можно сделать заключение, что он полностью удовлетворяет критериям целесообразности реализации инвестиционных проектов. Следовательно, реализация предлагаемого проекта представляется целесообразной как с точки зрения ресурсосбережения, переработки отходов собственного производства и уменьшения вредного воздействия на окружающую среду, так и с точки зрения экономической эффективности и может быть успешно реализован на предприятии.

Заключение

Подводя итоги работы можно сделать следующие выводы. Развитие финансовых механизмов невозможно без реализации государственной экологической политики, направленной на экономическое стимулирование природопользователей в осуществлении необходимых природоохранных мероприятий. В соответствии с законодательством экономическое стимулирование может осуществляться путем установления льгот по кредитованию мероприятий по охране окружающей среды за счет средств республиканского и местных бюджетов, а также ускоренной амортизации оборудования и других объектов, предназначенных для охраны и оздоровления окружающей среды.

В ходе исследования был рассмотрен проект природоохранных мероприятий на ОАО «Каравай». Экономические результаты от реализации природоохранных инвестиционных мероприятий заключаются в экономии или предотвращении потерь природных ресурсов, живого и овеществленного труда в производственной и непроизводственной сферах народного хозяйства, а также в сфере личного потребления.

Поэтому специфической особенностью экологически природоохранных инвестиций является тот аспект, что данные инвестиции в большинстве случаев не приносят положительных прямых экономических эффектов. При этом сопутствующие - социальный и экологический эффекты от реализации инвестиционных проектов такого рода могут быть значительными.

В настоящее время на ОАО «Каравай» проводится инвестиционная деятельность, направленная на снижение вредного воздействия на окружающую среду.

По результатам реализации проекта величина чистого дисконтированного дохода составит 765221,8 тыс. руб., что более чем в 2 раза превышает величину привлекаемых заемных средств. Простой срок окупаемости при этом составит 1,64 года, динамический срок окупаемости составит 1,68 лет. Внутренняя норма доходности составит 41,85%, индекс доходности составит 3,87. Значение уровня безубыточности будет составлять от 39,5% в базовом году до 25,6% в заключительном году реализации проекта при этом оно будет постепенно снижаться.

Следовательно реализация предлагаемого проекта представляется целесообразной как с точки зрения ресурсосбережения, переработки отходов собственного производства и уменьшения вредного воздействия на окружающую среду, так и с точки зрения экономической эффективности и может быть успешно реализован на предприятии.

Список использованной литературы

.Анисимов А.В. Прикладная экология и экономика природопользования. М.: Феникс, 2007. - 400 с.

.Бобылев С.Н., Ходжаев А.Ш. Экономика природопользования. М.: Инфра-М, 2007. - 279 с.

.Гирусов Э.В и др. Экология и экономика природопользования. М.: Закон и право, ЮНИТИ, 2006. - 322 с.

.Глушкова В.Г., Макар С.В. Экономика природопользования: учебное пособие. М.: Гардарики, 2007. - 225 с.

.Драгомирецкий И.И., Кантор Е.Л., Маховикова Г.А. Экономика природопользования: Учебник для ВУЗов. М.: Вектор, 2005. - 378 с.

.Игнатов В.Г., Кокин А.В. Экология и экономика природопользования. М.: Феникс, 2009. - 280 с.

.Лукьянчиков Н.Н., Потравный И.М. Экономика и организация природопользования. М.: Юнити, 2007. - 279 с.

.Пегов С.А. Экологическое прогнозирование В условиях социально-экономического кризиса // Известия РАН, сер. геогр., 2005, № 5

.Сергиенко О.И. Экономика природопользования. М.: Феникс, 2009. - 344 с.

.Холина В.Н. Экономика природопользования. СПб.: ПИТЕР, 2005. - 400 с.

Похожие работы на - Эффективность природоохранных мероприятий ОАО 'Каравай'

 

Не нашли материал для своей работы?
Поможем написать уникальную работу
Без плагиата!
Без нейросетей!