Расчет цифрового полосового вокодера

  • Вид работы:
    Курсовая работа (т)
  • Предмет:
    Информатика, ВТ, телекоммуникации
  • Язык:
    Русский
    ,
    Формат файла:
    MS Word
    688,41 Кб
  • Опубликовано:
    2012-10-27
Вы можете узнать стоимость помощи в написании студенческой работы.
Помощь в написании работы, которую точно примут!

Расчет цифрового полосового вокодера

Введение

Постановка задачи

Цифровая обработка сигналов (ЦОС, DSP - англ. digital signal processing) - преобразование сигналов, представленных в цифровой форме.

Любой непрерывный (аналоговый) сигнал s(t) может быть подвергнут дискретизации по времени и квантованию по уровню (оцифровке), то есть представлен в цифровой форме. Если частота дискретизации сигнала Fd не меньше, чем удвоенная наивысшая частота в спектре сигнала Fmax (то есть ), то полученный дискретный сигнал s(k) эквивалентен сигналу s(t) (см. теорему Котельникова). При помощи математических алгоритмов s(k) преобразуется в некоторый другой сигнал s1(k) имеющий требуемые свойства. Процесс преобразования сигналов называется фильтрацией, а устройство, выполняющее фильтрацию называется фильтр. Поскольку отсчёты сигналов поступают с постоянной скоростью Fd, фильтр должен успевать обрабатывать текущий отсчет до поступления следующего (чаще - до поступления следующих n отсчётов, где n - задержка фильтра), то есть обрабатывать сигнал в реальном времени. Для обработки сигналов (фильтрации) в реальном времени применяют специальные вычислительные устройства - цифровые сигнальные процессоры.

Вокодер (английские voice+coder -буквально кодировщик голоса) это устройство, позволяющее синтезировать речь на основе минимальной информации, некоторого кода. Так же под Вокодером подразумевается устройство, преобразующее живую речь в такой код- сжимающий ее. Вокодер позволяет существенно (примерно в 10 раз) уплотнить линию связи при незначительном ухудшении качества передачи.

Его работа основывается на том обстоятельстве что человеческая речь состоит из незначительного числа частотных составляющих -формант.

С появлением цифровых БИС а так же универсальных ЭВМ стало возможным построение ЦИФРОВЫХ аппаратных и программных вокодеров . На входе такого вокодера речь с помощью аналогово-цифрового преобразователя преобразовывается в цифровую форму. Далее выполняется ее спектральный или иной анализ с помощью определенных алгоритмов обработки. Этот анализ позволяет существенно сжать цифровой поток получаемый с АЦП.

1. Классификация вокодеров по способу анализа и синтеза речи

 речеэлементные

параметрические.

В речеэлементных вокодерах при кодировании распознаются произносимые элементы речи (например, фонема) и на выход кодера подаются только их номера. В декодере эти элементы создаются по правилам речеобразования или берутся из памяти декодера.

Фонемные вокодеры предназначены для получения предельной компрессии речевых сигналов. Область применения фонемных вокодеров - линии командной связи, управление и говорящие автоматы информационно-справочной службы. В таких вокодерах происходит автоматическое распознавание слуховых образов, а не определение параметров речи и, соответственно, теряются все индивидуальные особенности диктора.

Параметрический вокодер представляет собой устройство, которое совершает так называемое параметрическое компандирование речевых сигналов.

Компрессия речевых сигналов в кодере осуществляется в анализаторе, который выделяет с речевого сигнала медленно меняющиеся параметры. В декодере при помощи местных источников сигналов, которые управляются принятыми параметрами, синтезируется речевой сигнал.

В параметрических вокодерах с речевого сигнала выделяют два типа параметров и по этим параметрам в декодере синтезируют речь:

Параметры, которые характеризуют источник речевых колебаний (генераторную функцию) - частота основного тона, ее изменение во времени, моменты появления и исчезновения основного тона (огласованные или гортанные звуки), шумового сигнала (шипящие и свистящие звуки);

Параметры, которые характеризуют огибающую спектра речевого сигнала.

В декодере, соответственно, по заданным параметрам генерируются основной тон, шум, а затем пропускаются через гребенку полосовых фильтров для восстановления огибающей спектра речевого сигнала.

По принципу определения параметров фильтровой функции различают вокодеры:

полосные(канальные);

формантные;

ортогональные.

В полосных вокодерах спектр речи делится на 7 - 20 полос (каналов) аналоговыми или цифровыми полосовыми фильтрами. Большее число каналов в вокодере дает большую натуральность и разборчивость. С каждого полосового фильтра сигнал поступает на детектор для определения среднего уровня. В формантных вокодерах огибающая спектра речи описывается комбинацией формант (резонансных частот голосового тракта). Основные параметры формант

центральная частота, амплитуда и ширина спектра. В ортогональных вокодерах огибающая мгновенного спектра разлагается на составные части в ряд по выбранной системе ортогональных базисных функций. Рассчитанные коэффициенты этого разложения передаются на приемную сторону.

В данной курсовой работе предполагается реализация цифрового полосового вокодера использованием БИХ-фильтров(Рис.1).

Рис.1.Структура БИХ-фильтра.

БИХ фильтр - фильтр с бесконечной импульсной характеристикой (Рекурсивный фильтр) или IIR-фильтр (IIR сокр. от infinite impulse response - бесконечная импульсная характеристика) - линейный электронный фильтр, использующий один или более своих выходов в качестве входа, то есть образует обратную связь. Основным свойством таких фильтров является то, что их импульсная переходная характеристика имеет бесконечную длину во временной области, а передаточная функция имеет дробно-рациональный вид.

Примерами БИХ-фильтров являются фильтр Чебышева, фильтр Баттерворта, Фильтр Калмана и фильтр Бесселя.

2. Разработка функциональной схемы вокодера

Основная задача процесса кодирования в вокодере - определить спектр сигнала, мощности в каждом диапазоне частот за достаточно длинный отрезок времени, в который существует форманта. На передающей стороне аналоговый сигнал поступает на аналогоцифровое устройство преобразования (АЦП). После этого он проходит ряд цифровых фильтров, каждый из которых выделяет узкую полосу. Чем меньше полоса, тем лучше будет качество речи на приемном конце. Но чем больше информации о частотных полосах, тем больше придется передавать информации по цифровому тракту. Далее используются устройства, измеряющие и кодирующие значение мощности спектра в каждом диапазоне частот. В дополнение к информации о спектре вокодеры определяют характер возбуждения (гласный или звонкий согласный, в отличие от глухого согласного) и частоту основного тона для гласных или звонких согласных звуков.

На рисунках 2 и 3 изображена функциональная схема полосового вокодера.

Рис.2. Кодер

Полученная информация передается на приемный конец, где она используется для управления цифровым генератором. Он представляет память, где хранятся временные отсчеты частот, из которых необходимо выбрать нужную по частоте и мощности. Возбуждение гласных происходит с помощью генератора импульсов, который открывает на определенное время генерацию основного тона. Возбуждение глухих звуков имитируется шумовым генератором.

Рис.3. Декодер

ЦФ-цифровой фильтр

ГИ-генератор импульсов

ГШ-генератор шума

3. Расчет параметров и характеристик набора цифровых полосовых фильтров

Исходные данные для расчета:

1.   Частота дискретизации                                         fд = 8 кГц

2.       Показатель прямоугольности АЧХ                                               α = 1

.        Число частотных каналов                                                    10

4.       Уровень неравномерности АЧХ в полосе пропускания     3 дБ

.        Уровень подавления в зоне непрозрачности                      40 дБ

Нужно отметить, что для расчета частоты среза в полосе пропускания и в зоне непрозрачности АЧХ всех фильтров должны пересекаться на уровне -3 дБ, как показано на рисунке 4.

Рис.4. АЧХ набора фильтров

Рисунок 5. АЧХ НЧ фильтра

Расчет частот среза для низкочастотного (НЧ) фильтра:


Решив данную систему уравнений, получим:


Рисунок 6. АЧХ НЧ фильтра

Рисунок 7. Импульсная характеристика НЧ фильтра

Рассчитаем частоты среза для полосового фильтра:

fц= 2*i*fс1,

fц - центральная частота фильтра.

fс1- частота среза в полосе пропускания НЧ фильтра.

i- номер фильтра.

fн1 = fц - fc2; fп1 = fц - fc1; fп2 = fц + fc1; fн2 = fц + fc2.

Рисунок 8. АЧХ полосового фильтра

Полученные в результате расчета данные сведем в таблицу:

Частоты пропускания, Гц

Центральная частота фильтра, Гц


fн1

fн2

fп1

fп2

1

0

840

210

630

420

2

420

1260

630

1050

840

3

840

1680

1050

1470

1260

4

1260

2100

1470

1890

1680

5

1680

2520

1890

2310

2100

6

2100

2940

2310

2730

2520

7

2520

3360

2730

3150

2940

8

2940

3780

3150

3570

3360

9

3360

4200

3570

3990

3780

цифровой вокодер фильтр полосовой

Рисунок 9. АЧХ полосового фильтра

Рисунок 10. Импульсная характеристика полосового фильтра

4. Разработка структурной схемы и алгоритма работы вокодера

 

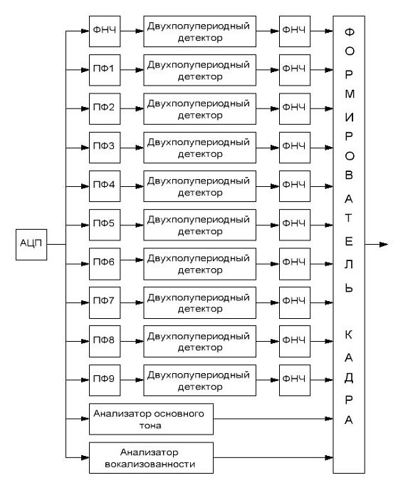
Рисунок 11. Структурная схема полосового вокодера

Алгоритм работы вокодера:

Набор полосовых фильтров (ПФ1-ПФ9) с последовательно включенным детектором и ФНЧ производят оценку спектральной огибающей речевого сигнала на текущем сегменте. Именно эта информация передается в канал связи вместо временных отсчетов временного сигнала. Сжатие как раз и достигается за счет того, что число параметров, характеризующих спектральную огибающую, значительно меньше числа временных отсчетов речевого сигнала.

Анализатор основного тона определяет частоту основного тона в полученном кадре.

Анализатор вокализованности определяет вокализованный ли сигнал или нет.

С помощью формирователя кадра данные объединяются в определенную структуру - выходной пакет.

. Оценка степени сжатия

Исходные данные для расчета:

1.   Частота дискретизации            fд = 8 кГц

2.       Разрядность АЦП                 n = 8 бит

.        Длина кадра                                    l = 30 мс

4.       Длина i-го частотного канала        li = [8 - log2 i]

На вход вокодера данные поступают со скоростью:

v = n* fд = 64 кбит/с

За счет использования буфера на входе вокодера скорость будет определяться длиной кадра:

Nвх = n * l * fд = 8*8*103*30*10-3 = 1920 бит

Рассчитаем число бит, которыми будет кодироваться каждый частотный канал:

1.  [8 - log2 1] = 8

2.       [8 - log2 2] = 7

.        [8 - log2 3] = 6

.        [8 - log2 4] = 6

.        [8 - log2 5] = 5

.        [8 - log2 6] = 5

.        [8 - log2 7] = 5

.        [8 - log2 8] = 5

.        [8 - log2 9] = 4

.        [8 - log2 10] = 4

Учитывая длину каждого частотного канала, получим общее количество бит на выходе полосового вокодера:

Nвых = 8 + 7 + 6 + 6 + 5 + 5 + 5 + 5 + 4 + 4 = 55 бит

Признак тон/шум кодируется 1 битом. Период основного тона, в случае вокализованного фрагмента сигнала кодируется 5 - 6 битами.

Таким образом, длина кадра, который будет передаваться в канал равна:

 

L = 1 + 6 + 55 = 62 бита

Степень сжатия вокодера в данном случае будет равна:

 раз

Заключение

В ходе выполнения данной курсовой работы был рассчитан цифровой полосовой вокодер. Были рассчитаны цифровые фильтры, входящие в состав полосового вокодера, а так же была проведена оценка степени сжатия.

Степень сжатия получилась довольно высокой (степень сжатия равна 30), поэтому есть вероятность того, что представления сигнала на выходе вокодера окажутся неточными, вследствие чего необходимо принимать следующие меры по улучшения качества сигнала:

Увеличить количество фильтров (чем больше, тем лучше), что позволит более качественно оценить огибающую спектра сигнала на выходе вокодера.

При использовании большего числа фильтров потребуется использовать полифазную или пирамидальную структуру, которые позволят значительно снизить вычислительные затраты.

Список использованной литературы

. Берлин А.Н. Коммутация в системах и сетях связи. - М.: Эко - Трендз, 2006. - 344 с.

. Рабинер Л.Р., Шафер Р.В. Цифровая обработка речевых сигналов: Пер. с англ. / под ред. М.В.Назарова и Ю.Н.Прохорова. - М.: радио и связь, 1981. - 496 с.

3. Шелухин О.И., Лукьянов Н.Ф. Цифровая обработка и передача речи. - М.: Радио и связь, 2000. - 454 с.

Похожие работы на - Расчет цифрового полосового вокодера

 

Не нашли материал для своей работы?
Поможем написать уникальную работу
Без плагиата!
Без нейросетей!